|
|
(21), (22) Заявка: 2008110781/06, 20.03.2008
(24) Дата начала отсчета срока действия патента:
20.03.2008
(46) Опубликовано: 27.05.2009
(56) Список документов, цитированных в отчете о поиске:
НЕФТЕПРОМЫСЛОВОЕ ОБОРУДОВАНИЕ. Справочник. – М.: НЕДРА, 1990, с.168. RU 2333387 C2, 10.09.2008. US 3058308 A, 16.10.1962. US 4198820 A, 22.04.1980. US 4691511 А, 08.09.1987.
Адрес для переписки:
618703, Пермский край, Добрянский р-н, п. Полазна, ул. Малиновая, 9, А.П. Чебунину
|
(72) Автор(ы):
Чебунин Анатолий Прокопьевич (RU)
(73) Патентообладатель(и):
Чебунин Анатолий Прокопьевич (RU)
|
(54) НАЗЕМНЫЙ СИЛОВОЙ АГРЕГАТ ГЛУБИННОГО СКВАЖИННОГО НАСОСА, ПРЕИМУЩЕСТВЕННО ГИДРОПОРШНЕВОГО ИЛИ СТРУЙНОГО, ДЛЯ ПОДЪЕМА ЖИДКОСТИ ИЗ СКВАЖИНЫ С ИСПОЛЬЗОВАНИЕМ ЭНЕРГИИ РАБОЧЕЙ ЖИДКОСТИ
(57) Реферат:
Изобретение относится к области нефтедобычи и может быть использовано при эксплуатации нефтедобывающих скважин, оборудованных глубинными гидропоршневыми или струйными насосами, передача энергии которым от наземных агрегатов осуществляется непрерывно движущими потоками рабочей жидкости. Агрегат состоит из станка-качалки 2, установленного на раме 3, и силового поршневого (плунжерного) насоса 4, устройства 5 для подготовки рабочей жидкости, а также системы трубопроводов, объединяющих их в единое целое. В эксплуатационную скважину 1 спущены две концентричные колонны насосно-компрессорных труб (НКТ) 6 и 7, из которых внутренняя колонна 6 предназначена для подачи рабочей жидкости высокого давления в глубинный агрегат. Он состоит из глубинного поршневого гидродвигателя 8 и глубинного гидропоршневого (или струйного) насоса 9. Содержит внешнюю колонну НКТ 7. Подготовленная рабочая жидкость по трубопроводу 12 низкого давления поступает на прием 13 силового насоса 4 и далее в эксплуатационную скважину 1. Газ и оставшаяся жидкость – по трубе 14 в нефтесборный коллектор. Под рамой 3 жестко закреплен силовой поршневой насос 4. Всасывающая часть 13 силового насоса 4 соединена с трубопроводом 12 рабочей жидкости низкого давления, а выкид 21 силового насоса 4 связан с колонной НКТ 6. Гидродвигатель 8 имеет жесткую связь с насосом 9. Станок-качалка 2 снабжен сдвоенной канатной подвеской 30, которая через подвеску 31 связана гибкой связью 32 с направляющим блоком 33 и жестко закреплена на нем одним концом в фиксаторе 34. Полированный шток 20 через зажим 35 также соединен спаренной гибкой двойной связью 36 с направляющим блоком 33. На наружной поверхности направляющего блока 33 выполнены три желобка. Средний предназначен для наматывания-разматывания гибкой связи 32, а два боковых – для наматывания-разматывания гибкой связи 36. Повышается эффективность и надежность работы наземного силового агрегата глубинных скважинных насосов добывающих скважин с различными, в т.ч. с малыми объемами добычи нефти, за счет обеспечения регулирования режимов добычи, при одновременном уменьшении его износа и повышения надежности работы всего агрегата. 21 з.п. ф-лы, 4 ил.
Изобретение относится к области нефтедобычи и может быть использовано при эксплуатации нефтедобывающих скважин, оборудованных глубинными гидропоршневыми или струйными насосами, передача энергии которым от наземных агрегатов осуществляется непрерывно движущими потоками рабочей жидкости, несущими потенциальную и кинетическую энергию. В качестве рабочей жидкости в большинстве случаев используется сырая нефть, получаемая из продукции скважины.
С увеличением периода нефтедобычи на старых месторождениях растет доля скважин с малым дебитом добычи. Кроме того, растет число месторождений со скважинами с малыми начальными дебитами. Также растет число глубоких скважин с большим отклонением ствола от вертикали. Исходя из этого, изменяются и требования к оборудованию для добычи нефти из скважин на указанных месторождениях. Эта ситуация поставила задачу использования при добыче нефти менее производительного оборудования (индивидуальная добыча жидкости в пределах 0,5-2-30-40 м3/сутки) с необходимым различным развиваемым рабочим давлением (10-30 МПа и более), причем способного к регулированию режимов добычи и рабочих давлений в широких диапазонах без смены оборудования и без ремонта скважин. В настоящее время отсутствует простое оборудование с такими возможностями.
Добывающие скважины с малыми дебитами и большими глубинами, как правило, не участвуют в процессе разработки месторождения из-за низких экономических показателей эксплуатации этих скважин. Наиболее эффективны для эксплуатации таких скважин установки гидропоршневых насосов (УГН) или установки струйных насосов (УСН), состоящие из скважинных гидропоршневых (или струйных) насосов и поверхностного (наземного) оборудования для подготовки и подачи рабочей жидкости к этим насосам.
Наиболее важной частью наземного оборудования является наземный силовой агрегат, состоящий из привода и силового насоса. В качестве наземного силового насоса в УГН (УСН) обычно применяют многоплунжерные быстроходные (200-400 мин-1) высокого давления (16-30 МПа) насосы, причем каждый из них имеет наборы плунжеров и сальников различных диаметров, позволяющих ступенчато изменять подачу насосов в широком диапазоне. Но существующие наземные силовые насосы в УГН (УСН) имеют высокую стоимость, низкие показатели надежности в работе и сложности в регулировании подач.
Поэтому задачей изобретения является разработка поверхностного силового агрегата, состоящего из привода и силового насоса, с более высокими экономическими показателями и более высокой надежностью, для вовлечения в добычу скважин с малыми дебитами, глубоким залеганием и вовлечения в разработку слабопроницаемых коллекторов (с низкими экономическими показателями), с обеспечением более высоких темпов отбора и более высоких коэффициентов нефтеотдачи.
Известна наземная установка для подготовки и подачи рабочей жидкости к скважинным гидропоршневым (струйным) насосам, состоящая из устройства для подготовки рабочей жидкости, силовых насосов высокого давления с электроприводами, распределительной гребенки, которая служит для направления рабочей жидкости под заданным давлением с требуемым расходом к гидропоршневым (струйным) насосам, силового и контрольно-регулирующего электрооборудования (Справочник «Нефтепромысловое оборудование», М., «Недра», 1990 г., стр.168). В качестве наземных силовых насосов используют трех- или пятиплунжерные насосы высокого давления со специальным исполнением гидроблока, рассчитанные на продолжительную непрерывную работу с минимальным обслуживанием. Указанная известная наземная установка принимается за прототип.
Недостатками этой известной установки являются:
– Наличие дорогих сложных силовых насосов;
– Необходимость установки силовых насосов в укрытии;
– Невозможность регулирования подачи и давления силового насоса без замены его внутренних рубашек и диаметра поршня, т.е. без остановки и текущего ремонта;
– Недостаточный КПД силового насоса, который не превышает 0,8-0,71;
– При наличии механических примесей в рабочей жидкости, которые всегда присутствуют в добываемой жидкости, сокращается срок службы рабочих пар и гидравлической части силовых насосов, увеличивается время, затрачиваемое на обслуживание и текущий ремонт оборудования, т.е. увеличиваются капитальные и эксплуатационные расходы;
– Низкая экономичность при установке на одиночных скважинах.
Технический результат, достигаемый предлагаемым изобретением, заключается в повышении эффективности и надежности работы наземного силового агрегата глубинных скважинных насосов добывающих скважин с различными, в т.ч. с малыми объемами добычи нефти, за счет обеспечения регулируемости режимов добычи вплоть до малых объемов, без смены наземного насосного оборудования или замены его внутренних рубашек и диаметров поршней, при одновременном уменьшении его износа и повышении надежности работы всего агрегата.
Указанный технический результат достигается предлагаемым наземным силовым агрегатом глубинного скважинного насоса, преимущественно гидропоршневого или струйного, для подъема жидкости из скважины с использованием энергии рабочей жидкости, включающим установленные с возможностью взаимодействия привод и насос, всасывающая часть которого предназначена для забора рабочей жидкости, а выкид – для ее подачи к глубинному скважинному насосу, при этом согласно изобретению в качестве привода агрегат содержит привод скважинного штангового насоса с подвеской, в качестве насоса – силовой поршневой насос, жестко соединенный с приводом скважинного штангового насоса, размещенный горизонтально или наклонно и содержащий цилиндр и плунжер с полированным штоком, при этом агрегат дополнительно снабжен направляющим блоком с гибкими связями, выполненным, по меньшей мере, с двумя желобками, один из которых предназначен для наматывания-разматывания одной гибкой связи, а другой – для разматывания-наматывания другой гибкой связи, при этом гибкие связи являются раздельными, ориентированы под углом друг к другу и одним концом зафиксированы на направляющем блоке, а другим, соответственно, – на подвеске привода скважинного штангового насоса и полированном штоке.
В качестве привода скважинного штангового насоса с подвеской он содержит балансирный или безбалансирный станок-качалку, или безбалансирный высокопрофильный мачтовый привод штанговых глубинных насосов, например безбалансирный цепной привод скважинного штангового насоса марки ПЦ 80-6,1.
Привод скважинного штангового насоса содержит как минимум гибкую канатную подвеску, подвеску устьевого полированного штока, устьевой полированный шток и устьевой сальник.
В качестве поршневого насоса агрегат содержит одноцилиндровый насос.
В качестве поршневого насоса агрегат содержит многоцилиндровый насос.
Полированный шток одноцилиндрового поршневого насоса снабжен узлом для возвращения плунжера насоса в исходное положение.
В качестве узла для возвращения плунжера насоса в исходное положение используют систему упругих или тяговых с грузом элементов, размещенных снаружи или внутри поршневого насоса.
Одноцилиндровый поршневой насос снабжен всасывающим и нагнетательным клапанами.
Направляющий блок агрегата жестко соединен с приводом скважинного штангового насоса через раму.
Длина наматываемых и разматываемых гибких связей на направляющий блок составляет как менее, так и более одной длины его окружности.
Направляющий блок выполнен в виде цельной детали круглой или равномерной, или неравномерной эллипсоидной формы.
Направляющий блок выполнен в виде составной детали круглой и/или равномерной, или неравномерной эллипсоидной формы.
При размещении поршневого насоса наклонно его выкид располагается выше уровня всасывающей части для исключения скапливания свободного газа в выкиде насоса, для обеспечения максимального коэффициента наполнения насоса и обеспечения более легкого и надежного возврата плунжера насоса в исходное положение на прием насоса.
Выкид поршневого насоса снабжен двойным сальниковым устройством.
На трубопроводе высокого давления, связанного с выкидом силового поршневого насоса, дополнительно размещены воздушный нагнетательный компенсатор и обратный клапан.
При использовании в качестве силового поршневого насоса многоцилиндрового дифференциального насоса на трубопроводе высокого давления между воздушным нагнетательным компенсатором и обратным клапаном дополнительно размещено автоматическое запорное устройство.
В многоцилиндровом дифференциальном насосе плунжер состоит из двух плунжеров разного диаметра, внутренние полости которых гидравлически соединены между собой.
Для создания возвращающей силы плунжера в исходное положение в многоцилиндровом насосе диаметр плунжера на выкиде насоса больше диаметра плунжера на приеме насоса.
Полость насоса между плунжерами многоцилиндрового насоса соединена гидравлически с трубопроводом рабочей жидкости низкого давления для создания возвращающей силы для возвращения плунжера в исходное положение.
Агрегат дополнительно снабжен узлом обогрева насоса и трубопроводов, связанных с ним.
Агрегат дополнительно снабжен узлом смазки насоса.
Направляющий блок может крепиться таким образом, что подвеска привода скважинного штангового насоса и гибкая связь между направляющим блоком и подвеской могут располагаться как вертикально, так и с некоторым углом от вертикали.
Достижение поставленного технического результата обеспечивается за счет следующего.
Благодаря использованию в качестве привода применяемых для добычи нефти приводов скважинного штангового насоса, например, станка-качалки или других приводов, применяемых для добычи нефти, обеспечивается увеличение длины хода плунжера наземного силового насоса до 3-6 и более метров против применяемых в настоящее время с электроприводом обычных наземных силовых насосов с длиной хода плунжера не более 15-20 см и уменьшение числа двойных ходов плунжера насоса в предлагаемом агрегате до 1-15 в минуту против обычных 200-400 двойных ходов в минуту насоса в известном агрегате, что на порядок уменьшает абразивный износ деталей силового насоса, а следовательно, кратно увеличивается надежность работы его насосной пары (цилиндр-плунжер) и клапанов. Также увеличение длины хода плунжера в предлагаемом агрегате против обычных силовых насосов уменьшает относительный объем вредного пространства (объем, который может заполнять газ) и увеличивает коэффициент подачи силового насоса. Также для заявляемого силового агрегата не потребуется укрытие, что снижает капитальные затраты.
Кроме того, применение в конструкции предлагаемого агрегата серийно выпускаемого оборудования для добычи нефти по новому направлению повышает стандартизацию и общую надежность работы оборудования, удешевляет затраты на производство и текущее обслуживание. Кроме того, силовой поршневой насос (одноцилиндровый или многоцилиндровый) при данной схеме оборудования является достаточно простым, надежным, дешевым и легко заменяемым по сравнению со стандартными поршневыми силовыми насосами.
Использование тихоходного стандартного поршневого насоса (типа скважинных насосов исполнения НВ2Б с параметрами подачи 3-220-330 м3/сут или видоизмененных на их основе, или типа стандартных плунжерных насосов с расположением всасывающего и нагнетательного клапанов с одной стороны насоса) с приводом, например, от станка-качалки обусловлено более высоким КПД по сравнению с применяемыми плунжерными (поршневыми) насосами: КПД штангового плунжерного насоса и привода – станка-качалки = 0,94-0,9 против 0,8-0,71 у стандартных плунжерных насосов, что в 1,2-1,4 раза снижает потребляемую электроэнергию. Кроме того, стоимость используемого в предлагаемом агрегате поршневого насоса кратно меньше стоимости силовых насосов, применяемых в настоящее время для обеспечения эксплуатации гидропоршневых или струйных глубинных насосов.
Расположение силового насоса, жестко связанного с приводом скважинного штангового насоса (например, с его рамой), дает жесткое компактное расположение оборудования. Благодаря тому, что горизонтальный поршневой насос жестко закреплен на раме привода скважинного штангового насоса, обеспечивается компактное расположение всего оборудования и образуется жесткая единая система элементов, которая позволяет создать надежную насосную систему, гарантированно работающую и центрируемую.
Благодаря некоторому более высокому расположению выкида силового насоса по сравнению с всасывающей частью при наклонном размещении насоса свободный газ, который может быть принесен рабочей жидкостью, не накапливается в выкидной части насоса, а постоянно откачивается насосом и, как следствие, автоматически поддерживается максимально высокий коэффициент подачи насоса, а также уменьшаются усилия, необходимые для возвращения плунжера насоса в исходное положение при ходе назад к всасывающей части (приему) силового насоса.
Соединение подвески (она может быть канатной, цепной) привода скважинного штангового насоса и штока плунжера силового поршневого насоса независимыми раздельными автономными гибкими связями с направляющим блоком, которые одним концом жестко закреплены на указанном направляющем блоке, обеспечивает достаточно длительную надежность работы этих гибких связей во времени.
Снабжение выкида насоса двойным сальниковым устройством, состоящим из внутреннего сальника, работающего на перепаде давлений больше, чем давление закачки рабочей жидкости в добывающую скважину (в 10-35 и более МПа), промежуточной полости для скапливания утечек закачиваемой рабочей жидкости с линией для отвода просочившейся рабочей жидкости в линию рабочей жидкости низкого давления и внешнего сальника, работающего на перепаде давлений больше, чем давление в трубопроводе рабочей жидкости низкого давления, так, чтобы закачиваемая рабочая жидкость высокого давления с выкида насоса уходила в трубопровод высокого давления и далее в нефтедобывающую скважину, а просочившаяся в промежуточную полость сальникового устройства рабочая жидкость по отводной линии уходила в трубопровод рабочей жидкости низкого давления и далее на прием насоса, при этом внутренний сальник предотвращает возможность утечек рабочей жидкости вдоль движущегося полированного штока с выкида насоса в промежуточную полость, а внешний сальник предотвращает возможность утечек рабочей жидкости вдоль движущегося полированного штока из промежуточной полости в атмосферу, в целом позволяет создать работоспособное сальниковое устройство, способное работать длительное время.
Введение в конструкцию предлагаемой системы воздушного компенсатора на линии рабочей жидкости с выкида насоса способствует снижению колебаний давления в выкидной линии по сравнению с работой насоса без воздушного компенсатора и повышает надежность работы всего оборудования.
Введение в конструкцию предлагаемой системы узла для возвращения плунжера одноцилиндрового поршневого насоса в исходное положение сообщает всей системе возможность устойчиво функционировать.
Введение в конструкцию предлагаемого системы обратного клапана на выкидной линии насоса сообщает устройству безопасность работ при нарушении герметичности оборудования до обратного клапана.
Направляющий блок может быть выполнен в виде цельной детали, которая в свою очередь может быть выполнена круглой формы или эллипсоидной формы (для изменения скорости движения плунжера при закачке рабочей жидкости высокого давления и при его возврате в исходное положение, при изменении неравномерности движения плунжера, и как следствие, для снижения нагрузок и их неравномерности на подвеску привода скважинного штангового насоса), в том числе дуги эллипсов могут быть разной формы (т.е. равномерной или неравномерной эллипсоидной формы).
Кроме того, направляющий блок может быть выполнен в виде составной детали, имеющей круглую и/или эллипсоидную форму (например, для одной гибкой связи круглая часть направляющего блока, для другой – эллипсоидная). Также направляющий блок может быть сменным.
Для предотвращения выхода из строя насосного оборудования и трубопроводов из-за замерзания рабочей жидкости и продукции скважины в холодное время года предлагаемый наземный агрегат может быть дополнительно снабжен узлом обогрева насоса и трубопроводов. Также можно предусмотреть ручной или автоматический слив рабочей жидкости из насосного оборудования при пониженной температуре и прекращении работ.
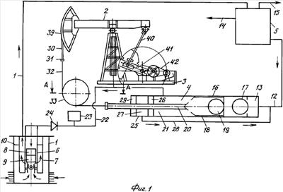
Предлагаемый наземный силовой агрегат, обеспечивающий подачу рабочей жидкости к глубинным скважинным гидропоршневым или струйным насосам, приведен в виде общей схемы на фиг.1 для одноцилиндрового насоса и разрез А-А на фиг.2, и в виде общей схемы на фиг.3 для многоцилиндрового дифференциального насоса и разрез А-А на фиг.4.
В частности, в качестве примера рассмотрим установку наземного силового агрегата для подготовки и подачи рабочей жидкости к глубинным гидропоршневым или струйным насосам с открытой системой циркуляции рабочей жидкости, без пакера и с двумя концентричными колоннами насосно-компрессорных труб (НКТ) в скважине, из которых внутренняя колонна требуется для подачи рабочей жидкости высокого давления на глубинный насос, а внешняя – для подъема смеси продукции скважины и отработанной рабочей жидкости на поверхность, при этом в качестве привода рассмотрим станок-качалку, которую обычно применяют в качестве привода скважинного штангового насоса, с двухплечным балансиром с канатной подвеской с четырехзвенным кривошипно-коромысловым преобразующим механизмом, и в дальнейшем этот привод будем обозначать как станок-качалка.
В целом установка для подъема жидкости из скважины содержит эксплуатационную скважину 1 с двумя колоннами НКТ и глубинным гидропоршневым насосным агрегатом (ГПНА) или струйным насосом (СН), наземный силовой агрегат глубинного скважинного насоса, состоящий из привода, например, станка-качалки 2, установленного на раме 3, и силового поршневого (плунжерного) насоса 4, устройство 5 для подготовки рабочей жидкости, а также системы трубопроводов, объединяющих их в единое целое. В эксплуатационную скважину 1 спущены две концентричные колонны насосно-компрессорных труб (НКТ) 6 и 7, из которых внутренняя колонна 6 предназначена для подачи рабочей жидкости высокого давления в глубинный агрегат, состоящий из глубинного поршневого гидродвигателя 8, имеющего золотниковое устройство для реверсирования хода поршня, и глубинного гидропоршневого насоса 9, а внешняя колонна НКТ 7 предназначена для подъема смеси продукции скважины и отработанной рабочей жидкости. Гидродвигатель 8 имеет жесткую механическую связь с глубинным гидропоршневым насосом 9, объединен с ним в единый глубинный агрегат, установленный ниже динамического уровня 10 жидкости. Вместо ГПНА может устанавливаться также струйный насос. На поверхность по колонне НКТ 7 поднимается продукция скважины, откачиваемая ГПНА (или струйным насосом) и отработанная рабочая жидкость, и далее по нефтепроводу 11 смешанный поток направляется в устройство 5 для подготовки рабочей жидкости. В устройстве 5 происходит подготовка рабочей жидкости путем отделения газа и механических примесей, а также, в случае необходимости, путем дозирования в жидкость тех или иных реагентов для предотвращения различных осложнений, например ингибиторов коррозии, парафиноотложений, солеотложений, деэмульгаторов и пр. Подготовленная рабочая жидкость по трубопроводу 12 низкого давления поступает на прием 13 силового насоса 4 и далее в эксплуатационную скважину 1, а газ и оставшаяся жидкость – по трубе 14 в нефтесборный коллектор. В случае необходимости газ по газовой линии 15 направляется в газосборный коллектор или на факел.
Под рамой 3 горизонтально или с более высоким расположением выкида жестко закреплен силовой поршневой насос 4 (например, типа скважинных одноцилиндровых насосов исполнения НВ2Б или какой-либо другой со следующими параметрами: подача 3-220-330 м3/сут; давление на выходе до 25-35 МПа; мощность электродвигателя станка-качалки до 100 и более кВт), содержащий цилиндр 16 с всасывающим подпружиненным клапаном 17, плунжер 18 с нагнетательным подпружиненным клапаном 19 и полированным штоком 20. Всасывающая часть 13 силового насоса 4 соединена с трубопроводом 12 рабочей жидкости низкого давления, а выкид (выкидная часть) 21 силового насоса 4 связан, в свою очередь, через трубопровод 22 рабочей жидкости высокого давления, воздушный эксплуатационный компенсатор 23 и обратный клапан 24 с колонной НКТ 6 в эксплуатационной скважине 1. По колонне НКТ 6 рабочая жидкость высокого давления поступает в глубинный поршневой гидродвигатель 8, имеющий золотниковое устройство для возвратно-поступательного движения поршня двигателя. Гидродвигатель 8 имеет жесткую механическую связь с глубинным гидропоршневым насосом 9, благодаря чему этот поршневой насос приводится в действие и проводит откачку пластовой жидкости. После этого отработанная жидкость из гидродвигателя 8 и откачиваемая пластовая жидкость из насоса 9 смешиваются и по колонне 7 поднимаются на поверхность. На выкиде 21 силового насоса 4 для его герметизации установлено сальниковое устройство 25, состоящее из внутреннего сальника 26 для предотвращения утечек из выкидной части 21 насоса 4 в полость 27 сальника 25, полости 27 для скапливания утечек рабочей жидкости с выкида насоса с отводной линией 28 для отвода утечек рабочей жидкости из полости 27 в трубопровод рабочей жидкости низкого давления 12 и далее на прием 13 насоса 4 и внешнего сальника 29 для предотвращения утечек рабочей жидкости из полости 27 в атмосферу. Станок-качалка (привод) 2 снабжен сдвоенной канатной подвеской 30, которая через подвеску 31 (типа подвески устьевого штока) связана гибкой связью 32 (например, тросом, канатом, пластинчатой цепью) с направляющим блоком 33 и жестко закреплена на нем одним концом в фиксаторе 34. При этом блок 33 может крепиться таким образом, что канатная подвеска 30 и гибкая связь 32 могут располагаться как вертикально, так и с некоторым углом от вертикали. Полированный шток 20 через зажим 35 также соединен спаренной гибкой двойной связью 36 с направляющим блоком 33. Одни концы гибкой связи 36 также жестко закреплены на направляющем блоке 33 в фиксаторах 37. При этом направляющий блок 33, имеющий длину окружности, преимущественно, не менее максимальной длины хода станка-качалки, выполнен с возможностью наматывания на него и разматывания с него указанных гибких связей 32 и 36, преимущественно, на длину не более одного оборота с целью исключения истирания этих гибких связей. В преимущественном варианте выполнения на наружной поверхности направляющего блока 33 выполнены три желобка, средний из которых предназначен для наматывания-разматывания одной гибкой связи, например гибкой связи 32, а два боковых – для наматывания-разматывания другой гибкой связи, например гибкой связи 36, и в рабочем, и в нерабочем состояниях системы гибкая связь 32 является частично намотанной – частично размотанной на блоке 33, а гибкая связь 36 частично размотанной – частично намотанной. Полированный шток 20 плунжера 18 снабжен узлом 38 для возвращения плунжера 18 в исходное положение, например упругими элементами типа резины или пружинами, закрепленными с одной стороны на зажиме 35 полированного штока 20 и с другой стороны на корпусе силового насоса 4 или на раме 3 станка-качалки (привода) 2. Узел 38 может располагаться также или внутри насоса, или с выходом наружу. Возвращению в исходное положение плунжера 18 также способствует некоторое более низкое положение всасывающей части 13 насоса 4 относительно выкидной части 21.
Предлагаемый наземный силовой агрегат с одноцилиндровым поршневым насосом работает следующим образом.
При ходе головки балансира 39 станка-качалки (привода) 2 вверх происходит разматывание гибкой связи 32 с направляющего блока 33 с одновременным наматыванием на него гибкой связи 36 и передачей движения на плунжер 18 силового насоса 4 через полированный шток 20, связанный гибкой связью 36 с направляющим блоком 33. При этом также растягиваются упругие элементы узла 38 для возвращения плунжера 18 в исходное положение. В результате передвижения плунжера 18 силового насоса 4 закрывается нагнетательный клапан 19 и рабочая жидкость из цилиндра 16 над плунжером 18 силового насоса 4 с выкидной части 21 его поступает в трубопровод 22 высокого давления и затем через компенсатор давлений 23 и обратный клапан 24 в эксплуатационную скважину 1, в колонну НКТ 6 и далее в гидродвигатель 8. При этом открывается всасывающий клапан 17 и рабочая жидкость из трубопровода низкого давления 12 поступает в цилиндр 16 под плунжер 18 силового насоса 4. При ходе головки балансира 39 станка-качалки 2 вниз с помощью упругих элементов узла 38 через полированный шток 20 плунжер 18 силового насоса 4 возвращается в исходное положение. При этом открывается нагнетательный клапан 19 плунжера 18 и закрывается всасывающий клапан 17 и рабочая жидкость, ранее поступившая из трубопровода низкого давления 12 под плунжер 18, перетекает через плунжер 18 в выкидную часть 21 силового насоса 4 и становится готовой для закачки в колонну НКТ эксплуатационной скважины и далее в ГПНА (или струйный насос). При этом при ходе полированного штока 20 в исходное положение происходит разматывание гибкой связи 36 на направляющем блоке 33 и одновременно наматывание гибкой связи 32 на направляющий блок 33. И далее цикл закачки рабочей жидкости в эксплуатационную скважину 1 колонну НКТ 6 повторяется. Учитывая, что в предлагаемом наземном силовом агрегате с помощью изменения положения шатуна 40 станка-качалки 2 на кривошипе 41 можно варьировать в среднем в 2-2,5 раза длину хода головки балансира 39 хода станка-качалки 2, а следовательно, и силового насоса 4, а с помощью клиноременной передачи 42 можно изменять до 3 раз в минуту число двойных качаний головки балансира 39, а следовательно, и число двойных ходов насоса 4, то в итоге можно в 6-8 раз изменять производительность силового насоса 4 без его замены, благодаря чему можно обеспечивать разные режимы и производительность закачки рабочей жидкости без замены насосного оборудования и без перемещения всего агрегата. В случае замены силового насоса 4 на насос другой производительности (что можно сделать в течение нескольких часов без привлечения значительных сил, а также без глушения и ремонта эксплуатационной скважины) диапазон производительности предлагаемого наземного силового агрегата, обеспечивающего закачку рабочей жидкости в эксплуатационную скважину, можно еще более расширить.
В результате использования предлагаемого наземного силового агрегата можно производно варьировать объем закачки рабочей жидкости от 3-20 м3/сут до 20-220 м3/сут и более при давлениях закачки от 35 МПа и менее для разных типоразмеров насосов и типоразмеров приводов, в частности станков-качалок, как в одну, так и в несколько скважин.
Использование предлагаемого наземного силового агрегата для закачки рабочей жидкости в эксплуатационную скважину с целью добычи нефти с помощью многоцилиндрового дифференциального насоса имеет свои особенности. Указанный многоцилиндровый дифференциальный силовой насос 43 (фиг.3 и фиг.4) горизонтально или с более верхним расположением выкида жестко закреплен на раме 3 станка-качалки 2. В качестве такого силового насоса 43 может быть использован насос типа скважинных насосов 1-СП-57/45 со следующими параметрами: подача 3 – 220-330 м3/сут; давление на выходе до 25-35 МПа; мощность электродвигателя станка-качалки до 100 и более кВт. Многоцилиндровый дифференциальный насос 43 содержит цилиндр 44 на приеме насоса 43 с всасывающим подпружиненным клапаном 17, цилиндр 45 на выкиде насоса 43 и имеющий диаметр больше, чем цилиндр 44 на приеме насоса 43. Цилиндры 44 и 45 соединены переводником 46. В цилиндре 44 насоса 43 перемещается нагнетательный плунжер 47 с нагнетательным подпружиненным клапаном 48. В цилиндре 45 насоса 43 перемещается возвратный плунжер 49 без клапана и с полированным штоком 50. Плунжер 49 имеет диаметр больше, чем диаметр у плунжера 47. Внутренние полости плунжеров 49 и 47 гидравлически связаны между собой с помощью трубы 51 и образуют подвижный дифференциальный плунжер 52 в виде системы плунжеров. Полость 53 между цилиндрами 44 и 45 для поддержания в ней давления, равного давлению в трубопроводе 12 рабочей жидкости низкого давления, гидравлически связана по отводной трубке 54 с отводной линией 28 и далее с трубопроводом 12 рабочей жидкости низкого давления и всасывающей частью 13 насоса 43. Станок-качалка (привод скважинного штангового насоса) 2 снабжен сдвоенной канатной подвеской 30, которая через подвеску 31 (типа подвески устьевого штока) связана гибкой связью 32 (например, тросом, канатом) с направляющим блоком 33 и жестко закреплена на нем одним концом в фиксаторе 34. Полированный шток 50 дифференциального насоса 43 через зажим 35 полированного штока также соединен спаренной гибкой двойной связью 36 с направляющим блоком 33. Одни концы гибкой связи 36 также жестко закреплены на направляющем блоке 33 в фиксаторах 37. При этом направляющий блок 33, имеющий длину окружности преимущественно не менее максимальной длины хода станка-качалки, выполнен с возможностью наматывания на него и разматывания с него указанных гибких связей 32 и 36, преимущественно на длину не более одного оборота, с целью исключения истирания этих гибких связей. Для возвращения подвижного дифференциального плунжера 52 дифференциального насоса 43 в исходное положение на плунжер 49 действует гидравлическое усилие F, равное произведению перепада давлений на выкиде и приеме насоса 43 на разницу площадей возвратного 49 и нагнетательного 47 плунжеров. Возвращению в исходное положение дифференциального плунжера 52 также способствует некоторое более низкое положение всасывающей части 13 насоса 43 относительно выкидной части 21. Кроме того, для надежного возврата в исходное положение дифференциального плунжера 52 на трубопроводе 22 рабочей жидкости высокого давления между компенсатором давления 23 и обратным клапаном 24 дополнительно устанавливается автоматическое запорное устройство (задвижка) 55, которое автоматически открывается при определенном давлении, например при давлении, равном 0,5 давления закачки рабочей жидкости в трубопроводе 22 высокого давления до автоматического запорного устройства 55. Запорное устройство 55 (совместно с компенсатором давлений 23) необходимо для поддержания достаточного давления на выкиде дифференциального насоса 43 для гарантированного возврата дифференциального плунжера в исходное положение. При этом необходимо, чтобы компенсатор давлений 23 кроме снижения пульсации давления также имел достаточный объем сжатого газа и рабочей жидкости для надежного возврата подвижного дифференциального плунжера 52 в исходное положение.
Предлагаемый наземный силовой агрегат с дифференциальным многоцилиндровым насосом 43 работает следующим образом.
При ходе головки балансира 39 станка-качалки 2 вверх происходит разматывание гибкой связи 32 с направляющего блока 33 с одновременным наматыванием на него гибкой связи 36 и передачей движения на подвижный дифференциальный плунжер 52 насоса 43 через полированный шток 50, связанный гибкой связью 36 с направляющим блоком 33. При этом также для возвращения дифференциального плунжера 52 в исходное положение возникает гидравлическая сила F, равная произведению перепада давлений на выкиде и приеме насоса 43 на разницу площадей плунжеров 49 и 47. В результате передвижения дифференциального плунжера 52 закрывается нагнетательный клапан 48 и рабочая жидкость из цилиндра 45 насоса 43 с выкидной части 21 насоса 43 поступает в трубопровод 22 высокого давления и затем через компенсатор давлений 23, автоматически работающее запорное устройство 55 и обратный клапан 24 в эксплуатационную скважину 1 в колонну НКТ 6 и далее в ГПНА или струйный насос. При этом открывается всасывающий клапан 17 и рабочая жидкость из трубопровода низкого давления 12 поступает в цилиндр 44 насоса 43. При ходе головки балансира 39 станка-качалки 2 вниз действующая гидравлическая сила в полости 53 между цилиндрами возвращает дифференциальный плунжер 52 в исходное положение на прием насоса 43. При этом открывается нагнетательный клапан 48 плунжера 47, закрывается всасывающий клапан 17 и рабочая жидкость из приемного цилиндра 44 перетекает через дифференциальный плунжер 52 в выкидной цилиндр 45 (в выкидную часть 21) насоса 43 и становится готовой для закачки в колонну НКТ 6 и далее гидродвигатель 8. При этом при ходе полированного штока 50 в исходное положение происходит разматывание гибкой связи 36 на направляющем блоке 33, и одновременно наматывание гибкой связи 32 на направляющий блок 33. И далее цикл закачки рабочей жидкости в эксплуатационную скважину 1 повторяется.
Кроме рассмотренных схем с использованием силовых насосов ГПНА или струйного глубинного насоса могут быть применены в нефтедобыче и другие схемы, но с использованием при этом конструкции заявляемого наземного агрегата.
Конструктивные узлы предлагаемого наземного силового агрегата являются традиционными, имеющимися на нефтедобывающих предприятиях и предприятиях нефтяного машиностроения. Их объединение в один агрегат требует минимальных затрат.
Применение данного изобретения при добыче нефти позволяет решить проблему эффективной, экономной и надежной системы создания поверхностного оборудования для ГПНА (струйной) эксплуатации скважин, как для группы скважин, так и в индивидуальном варианте, индивидуального подхода к каждой конкретной эксплуатационной скважине в зависимости от ее добычи, что бывает крайне необходимо при грамотной рациональной эксплуатации месторождений.
Кроме того, данный наземный агрегат позволит вовлекать в эксплуатацию и увеличивать коэффициент нефтеотдачи и темпы отбора нефти малопродуктивных, с ограниченными условиями добычи горизонтов и небольших месторождений, где в настоящее время экономически невыгодно применение добычи нефти существующими известными способами эксплуатации.
Кроме того, предлагаемый наземный силовой агрегат позволяет снизить капитальные вложения и эксплуатационные затраты при добыче нефти, дает максимально высокий коэффициент полезного действия оборудования, т.к. не требует использования дорогостоящего и сложного оборудования, изменение производительности насоса осуществляется без дополнительных ресурсов, замена силовых насосов и их переустановка в зависимости от их производительности может проводиться без ремонтов и практически без остановок эксплуатационных скважин, т.е. такая замена проводится малыми силами с малыми затратами.
Кроме того, предлагаемый агрегат позволяет на основе существующих типоразмерных рядов силовых поршневых насосов (типа скважинных насосов исполнения НВ2Б) и типоразмерных рядов станков-качалок или других поверхностных приводов, функционально предназначенных для работы скважинных штанговых глубинных насосов, при минимальных затратах разработать и создать принципиально новый типоразмерный ряд насосных установок для гидропоршневой (или струйной) эксплуатации нефтяных скважин для добычи нефти. А применение дифференциальных (многоцилиндровых) насосов (типа штанговых насосов 1-СП-57/45) позволяет повысить надежность работы всей системы по добыче нефти.
Формула изобретения
1. Наземный силовой агрегат глубинного скважинного насоса, преимущественно гидропоршневого или струйного, для подъема жидкости из скважины с использованием энергии рабочей жидкости, включающий установленные с возможностью взаимодействия привод и насос, всасывающая часть которого предназначена для забора рабочей жидкости, а выкид – для ее подачи к глубинному скважинному насосу, отличающийся тем, что в качестве привода агрегат содержит привод скважинного штангового насоса с подвеской, в качестве насоса – силовой поршневой насос, жестко соединенный с приводом скважинного штангового насоса, размещенный горизонтально или наклонно и содержащий цилиндр и плунжер с полированным штоком, при этом агрегат дополнительно снабжен направляющим блоком с гибкими связями, выполненным, по меньшей мере, с двумя желобками, один из которых предназначен для наматывания-разматывания одной гибкой связи, а другой – для разматывания-наматывания другой гибкой связи, при этом гибкие связи являются раздельными, ориентированы под углом друг к другу и одним концом зафиксированы на направляющем блоке, а другим, соответственно, – на подвеске привода скважинного штангового насоса и полированном штоке.
2. Агрегат по п.1, отличающийся тем, что в качестве привода скважинного штангового насоса с подвеской он содержит балансирный или бесбалансирный станок-качалку или бесбалансирный высокопрофильный мачтовый привод штанговых глубинных насосов, например бесбалансирный цепной привод скважинного штангового насоса марки ПЦ 80-6,1.
3. Агрегат по п.1 или 2, отличающийся тем, что привод скважинного штангового насоса содержит как минимум гибкую канатную подвеску, подвеску устьевого полированного штока, устьевой полированный шток и устьевой сальник.
4. Агрегат по п.1, отличающийся тем, что в качестве поршневого насоса он содержит одноцилиндровый насос.
5. Агрегат по п.1, отличающийся тем, что в качестве поршневого насоса он содержит многоцилиндровый насос.
6. Агрегат по п.1 или 4, отличающийся тем, что полированный шток одноцилиндрового поршневого насоса снабжен узлом для возвращения плунжера насоса в исходное положение.
7. Агрегат по п.6, отличающийся тем, что в качестве узла для возвращения плунжера насоса в исходное положение используют систему упругих или тяговых с грузом элементов, размещенных снаружи или внутри поршневого насоса.
8. Агрегат по п.4, отличающийся тем, что одноцилиндровый поршневой насос снабжен всасывающим и нагнетательным клапанами.
9. Агрегат по п.1, отличающийся тем, что направляющий блок жестко соединен с приводом скважинного штангового насоса через раму.
10. Агрегат по п.1, отличающийся тем, что длина наматываемых и разматываемых гибких связей на направляющий блок составляет как менее, так и более одной длины его окружности,
11. Агрегат по п.1, отличающийся тем, что направляющий блок выполнен в виде цельной детали круглой или равномерной или неравномерной эллипсоидной формы.
12. Агрегат по п.1, отличающийся тем, что направляющий блок выполнен в виде составной детали круглой, и/или равномерной, или неравномерной эллипсоидной формы.
13. Агрегат по п.1, отличающийся тем, что при размещении поршневого насоса наклонно его выкид располагается выше уровня всасывающей части для исключения скапливания свободного газа в выкиде насоса, для обеспечения максимального коэффициента наполнения насоса и обеспечения более легкого и надежного возврата плунжера насоса в исходное положение на прием насоса.
14. Агрегат по п.1, отличающийся тем, что выкид поршневого насоса снабжен двойным сальниковым устройством.
15. Агрегат по п.1, отличающийся тем, что на трубопроводе высокого давления, связанного с выкидом силового поршневого насоса, дополнительно размещены воздушный нагнетательный компенсатор и обратный клапан.
16. Агрегат по п.1, отличающийся тем, что при использовании в качестве силового поршневого насоса многоцилиндрового дифференциального насоса на трубопроводе высокого давления между воздушным нагнетательным компенсатором и обратным клапаном дополнительно размещено автоматическое запорное устройство.
17. Агрегат по п.5, отличающийся тем, что в многоцилиндровом дифференциальном насосе плунжер состоит из двух плунжеров разного диаметра, внутренние полости которых гидравлически соединены между собой.
18. Агрегат по п.17, отличающийся тем, что для создания возвращающей силы плунжера в исходное положение в многоцилиндровом насосе диаметр плунжера на выкиде насоса больше диаметра плунжера на приеме насоса.
19. Агрегат по п.17, отличающийся тем, что полость насоса между плунжерами соединена гидравлически с трубопроводом рабочей жидкости низкого давления для создания возвращающей силы для возвращения плунжера в исходное положение.
20. Агрегат по п.1, отличающийся тем, что он дополнительно снабжен узлом обогрева насоса и трубопроводов, связанных с ним.
21. Агрегат по п.1, отличающийся тем, что он дополнительно снабжен узлом смазки насоса.
22. Агрегат по п.1, отличающийся тем, что направляющий блок может крепиться таким образом, что подвеска привода скважинного штангового насоса и гибкая связь между направляющим блоком и подвеской могут располагаться как вертикально, так и с некоторым углом от вертикали.
РИСУНКИ
|
|