|
|
(21), (22) Заявка: 2007113654/06, 14.09.2005
(24) Дата начала отсчета срока действия патента:
14.09.2005
(30) Конвенционный приоритет:
14.09.2004 US 60/609,725
(43) Дата публикации заявки: 10.11.2008
(46) Опубликовано: 27.05.2009
(56) Список документов, цитированных в отчете о поиске:
SU 1677351 A1, 15.09.1991. RU 2152527 C1, 10.07.2000. RU 2163684 C1, 27.02.2001. JP 3267574 A, 28.11.1991. US 3657877 A, 11.12.1967.
(85) Дата перевода заявки PCT на национальную фазу:
16.04.2007
(86) Заявка PCT:
US 2005/032778 20050914
(87) Публикация PCT:
WO 2006/031907 20060323
Адрес для переписки:
191186, Санкт-Петербург, а/я 230, “АРС-ПАТЕНТ”, пат.пов. М.В.Хмаре, рег. 771
|
(72) Автор(ы):
ШОЭЛЛ Гарри (US)
(73) Патентообладатель(и):
САЙКЛОН ПАУЭР ТЕКНОЛОДЖИЗ, ИНК (US)
|
(54) ДВИГАТЕЛЬ С РЕГЕНЕРАЦИЕЙ ТЕПЛА
(57) Реферат:
Изобретение относится к паровым двигателям. Предложенный двигатель с регенерацией тепла использует воду как в качестве рабочей жидкости, так и в качестве смазочного материала. Во время работы вода подается насосом из собирающего поддона через змеевик вокруг выпускного отверстия цилиндра, в результате чего вода предварительно нагревается паром, выпускаемым из цилиндра. Затем предварительно нагретая вода поступает в парогенератор и нагревается с помощью камеры сгорания, чтобы выработать перегретый пар высокого давления. Воздух предварительно нагревается в теплообменнике, а затем смешивается с топливом из топливного распылителя. Запальная свеча зажигает распыленное топливо, а внутри камеры сгорания создана центрифуга из пламени и жара. Скорость и крутящий момент двигателя регулируются системой коромысла и кулачка, которая открывает игольчатый клапан для впуска перегретого пара высокого давления в цилиндр, внутри которого имеется поршень возвратно-поступательного хода. Поданный пар расширяется во взрывном воздействии на верх поршня при высоком давлении, что заставляет поршень двигаться вниз, причем поршень с помощью передачи приводного усилия поворачивает присоединенные кривошипный кулачок и коленчатый вал. Отработавший пар направляется через центробежный конденсатор, имеющий систему плоских пластин. Охлаждающий воздух от воздуходувок циркулирует через плоские пластины, чтобы перевести пар в жидкое состояние. Конденсированная вода возвращается в собирающий поддон для последующего использования с целью генерирования пара. Рассмотрен способ получения энергии в двигателе. Изобретение обеспечивает повышение КПД и эффективность двигателя, путем обеспечения регенерации тепла и работы двигателя при критических давлении и температуре. 4 н. и 8 з.п. ф-лы, 14 ил.
Область техники, к которой относится изобретение
Настоящее изобретение относится к паровому двигателю, более конкретно к двигателю с регенерацией тепла, который использует воду в качестве рабочей среды, а также смазочного материала, при этом двигатель является высокоэффективным, безвредным для окружающей среды и пригодным для использования многих видов топлива.
Уровень техники
Озабоченность состоянием окружающей среды подтолкнула к дорогостоящим комплексным технологическим предложениям конструкции двигателя. Например, технология с топливным элементом обеспечивает преимущество работы на чистом сжигаемом водороде. Однако стоимость и размер двигателей на топливных элементах, а также стоимость создания, хранения и доставки топливного водорода несоразмерно перекрывает экологические преимущества. В качестве дополнительного примера можно отметить, что работающие без загрязнений электромобили ограничены небольшой номенклатурой, и их приходится постоянно перезаряжать электричеством, вырабатываемым угольными, дизельными или атомными электростанциями. Газовые турбины хотя и чистые, но работают на постоянной скорости. В небольших объемах, строить, эксплуатировать и реконструировать газовые турбины дорого. Дизельные и работающие на газе двигатели внутреннего сгорания имеют высокий коэффициент полезного действия; они легкие и относительно недорогие в изготовлении, но создают значительный объем загрязняющих веществ, опасных для окружающей среды и здоровья всего населения, и, кроме того, специфичны в отношении горючего.
Оригинальный паровой двигатель с циклом Ренкина был изобретен Джеймсом Уаттом более 150 лет назад. Современные паровые двигатели с циклом Ренкина для передачи перегретого пара на двигатель и далее на конденсатор используют трубы. Одиночные трубы, используемые для транспортировки перегретого пара к двигателю, имеют большую площадь открытой поверхности, что ограничивает уровни давления и температур. Менее желательные низкие величины давления и температур, при которых вода может легко изменить свое состояние с жидкого на газообразное, вызывают необходимость наличия сложной системы контроля. Хотя паровые двигатели, как правило, громоздки и неэффективны, они обычно бывают экологически чистыми. Паровые двигатели имеют разные уровни коэффициента полезного действия, который колеблется в пределах от 5% на старых моделях паровых установок до 45% в современных установках. В отличие от них, двухтактные двигатели внутреннего сгорания работают приблизительно с КПД 17%, тогда как четырехтактные двигатели внутреннего сгорания обеспечивают коэффициент полезного действия приблизительно до 25%. С другой стороны дизельные двигатели внутреннего сгорания обеспечивают КПД до 35%.
Раскрытие изобретения
Ввиду вышеизложенного первоочередная задача настоящего изобретения заключается в создании компактного двигателя, работающего с высоким коэффициентом полезного действия.
Дополнительная задача настоящего изобретения заключается в создании компактного и высокоэффективного двигателя, который обеспечивает регенерацию тепла и работает при сверхкритическом давлении (3200 фунтов) и высокой температуре (1200 градусов по Фаренгейту).
Еще одна задача настоящего изобретения заключается в создании высокоэффективного и компактного двигателя, который является безопасным для окружающей среды и использует внешнее сгорание, циклонную форсунку (форсунку с вихревым пламенем) и водяную смазку.
Еще одна задача настоящего изобретения заключается в создании компактного и высокоэффективного парового двигателя, который может работать на многих видах топлива, в результате чего двигатель сжигает любой из различного рода источников топлива, а также их сочетаний.
Еще одна задача настоящего изобретения заключается в создании высокоэффективного и компактного парового двигателя, который является легким, не имеет отдельной системы водяного охлаждения и не производит вибрационного шума и шума выхлопа.
Еще одна задача настоящего изобретения заключается в создании высокоэффективного и компактного парового двигателя, который не требует трансмиссии.
Эти и другие задачи настоящего изобретения становятся более понятными в связи с детальным описанием и прилагаемыми чертежами.
Таким образом, в первом аспекте изобретения предлагается двигатель, содержащий конденсатор, включающий систему разнесенных пластин с охлаждаемыми воздухом поверхностями и поддон под системой разнесенных пластин для сбора жидкого конденсата; парогенератор, включающий, по меньшей мере, одну форсунку, выполненную с возможностью сжигания подаваемого топлива, и камеру сгорания, сообщающуюся с, по меньшей мере, одной форсункой для генерирования тепла в указанной камере сгорания; главный привод двигателя в сборе, содержащий, по меньшей мере, один цилиндр, поршень, установленный с возможностью перемещения в цилиндре, включающий в себя поршневую головку, выполненную и установленную с возможностью совершения возвратно-поступательного движения в цилиндре, коленчатый вал, кривошипный кулачок, закрепленный на коленчатом валу с возможностью совместного вращения, шатун, присоединенный шарнирно между поршнем и кривошипным кулачком, и инжекторный клапан, выполненный с возможностью переключения между закрытым положением и открытым положением для выпуска порции пара под давлением в верхнюю часть цилиндра; паропровод для подачи пара в инжекторный клапан с целью его впуска в цилиндр после кратковременного открытия инжекторного клапана; насос для подачи воды из поддона через паропровод, причем паропровод включает в себя участок, расположенный в камере сгорания и выполненный с открытой областью поверхности в камере сгорания для обеспечения теплопередачи с целью изменения агрегатного состояния воды в паропроводе с жидкости на пар для его подачи в инжекторный клапан; выпускной канал передачи для подачи отработавшего пара из, по меньшей мере, одного цилиндра в конденсатор, в котором отработавший пар изменяет свое агрегатное состояние на жидкость перед сбором в поддоне; и теплообменник для предварительного нагрева всасываемого воздуха перед подачей в камеру сгорания, причем теплообменник выполнен с возможностью использования тепловой энергии отработавших газов, выпускаемых из камеры сгорания.
Главный привод двигателя предпочтительно включает ряд цилиндров, каждый из которых имеет поршень и поршневую головку, установленные с возможностью перемещения в цилиндре; ряд шатунов, каждый из которых шарнирно прикреплен к поршню соответствующего цилиндра; и ряд инжекторных клапанов, каждый из которых выполнен с возможностью выпуска порции пара под давлением в соответствующий цилиндр после установки инжекторного клапана в открытое положение.
Парогенератор предпочтительно содержит, по меньшей мере, одну воздуходувку для подачи потока воздуха в камеру сгорания; топливный распылитель для направления подаваемого топлива в распыленном тумане в поток воздуха; и воспламенитель для поджигания распыленного топливного тумана.
Указанный участок паропровода может включать ряд отводных линий в камере сгорания.
В предпочтительном варианте двигатель дополнительно содержит делительный клапан на узле соединения однолинейной части паропровода и отводных линий, причем делительный клапан выполнен и установлен с возможностью выравнивания давления потока пара между рядом отводных линий.
Цилиндры могут быть расположены в радиальной конфигурации.
В следующем предпочтительном варианте двигатель дополнительно содержит ряд клапанов пространства сжатия, каждый из которых установлен с возможностью работы с соответствующим цилиндром, причем клапаны пространства сжатия выполнены и установлены с возможностью уменьшения давления пара в цилиндрах на малых оборотах двигателя, при этом каждый клапан пространства сжатия выполнен и установлен с возможностью поддержания более высокого давления пара в цилиндрах на больших оборотах двигателя.
В еще одном предпочтительном варианте двигатель дополнительно содержит толкатель, входящий в процессе работы во взаимодействие с инжекторным клапаном; и подпружиненное коромысло, входящее в процессе работы во взаимодействие с толкателем для кратковременного открытия инжекторного клапана.
В наиболее предпочтительном варианте двигатель дополнительно содержит кулачковую шайбу, смонтированную с возможностью перемещения на коленчатом валу; выступ, выступающий из указанной кулачковой шайбы в наружном направлении; и следящий элемент дросселя, входящий в процессе работы в контакт с кулачковой шайбой и толкателем, причем следящий элемент дросселя выполнен и установлен с возможностью побуждения толкателя преодолевать сопротивление инжекторного клапана, после вхождения следящего элемента дросселя в контакт с выступом на кулачковой шайбе, для кратковременного открытия инжекторного клапана по мере вращения кулачковой шайбы.
Во втором аспекте изобретения предлагается двигатель, содержащий конденсатор, включающий систему разнесенных пластин с охлаждаемыми воздухом поверхностями и поддон под системой разнесенных пластин для сбора жидкого конденсата; камеру сгорания; по меньшей мере, один цилиндр; поршень, установленный с возможностью перемещения в цилиндре, включающий в себя поршневую головку, выполненную и установленную с возможностью совершения возвратно-поступательного движения в цилиндре; коленчатый вал; кривошипный кулачок, закрепленный на коленчатом валу с возможностью совместного вращения; шатун, присоединенный шарнирно между поршнем и кривошипным кулачком; инжекторный клапан, выполненный с возможностью переключения между закрытым положением и открытым положением для выпуска порции пара под давлением в верхнюю часть цилиндра; толкатель, взаимодействующий в процессе работы с инжекторным клапаном; подпружиненное коромысло, входящее в процессе работы во взаимодействие с толкателем для кратковременного открытия инжекторного клапана; паропровод для подачи пара в инжекторный клапан с целью его впуска в цилиндр после кратковременного открытия инжекторного клапана; насос для подачи воды из поддона через паропровод, причем паропровод включает в себя разветвленный участок труб, собранных в пучок в камере сгорания, при этом указанный пучок труб имеет открытый участок поверхности в камере сгорания для обеспечения теплопередачи с целью изменения агрегатного состояния воды в паропроводе с жидкости на пар и нагревания пара до температуры, при которой образуется перегретый пар для его подачи в инжекторный клапан; выпускной канал передачи для подачи отработавшего пара из, по меньшей мере, одного цилиндра в конденсатор, в котором отработавший пар изменяет свое агрегатное состояние на жидкое перед сбором в поддоне; и теплообменник для предварительного нагрева всасываемого воздуха перед подачей в камеру сгорания, причем теплообменник выполнен с возможностью использования тепловой энергии отработавших газов, выпускаемых из камеры сгорания.
В третьем аспекте изобретения предлагается двигатель, содержащий конденсатор, включающий систему разнесенных пластин с охлаждаемыми воздухом поверхностями и поддон под системой разнесенных пластин для сбора жидкого конденсата; камеру сгорания; узел генерирования тепла для сжигания подаваемого топлива и создания центрифуги из горячего воздуха и пламени в камере сгорания; главный привод двигателя в сборе, содержащий, по меньшей мере, один цилиндр, поршень, установленный с возможностью перемещения в цилиндре, включающий поршневую головку, выполненную и установленную с возможностью совершения возвратно-поступательного движения в цилиндре, коленчатый вал, кривошипный кулачок, закрепленный на коленчатом валу с возможностью совместного вращения, шатун, присоединенный шарнирно между поршнем и кривошипным кулачком, инжекторный клапан, выполненный с возможностью переключения между закрытым положением и открытым положением для выпуска порции пара под давлением в верхнюю часть цилиндра, толкатель, взаимодействующий в процессе работы с инжекторным клапаном, и подпружиненное коромысло, входящее в процессе работы во взаимодействие с толкателем для кратковременного открытия инжекторного клапана; паропровод для подачи пара в инжекторный клапан с целью его впуска в цилиндр после кратковременного открытия инжекторного клапана; насос для подачи воды из поддона через паропровод, причем паропровод включает в себя участок, проходящий через камеру сгорания таким образом, что вода и пар в пределах указанного участка паропровода нагреваются в результате воздействия температуры в камере сгорания с образованием пара в паропроводе для подачи в инжекторный клапан и в цилиндр после открытия инжекторного клапана; первый теплообменник для предварительного нагрева всасываемого воздуха перед его поступлением в камеру сгорания, причем первый теплообменник выполнен с возможностью использования тепла отработавших газов, выпускаемых из камеры сгорания; и второй теплообменник для нагрева воды в паропроводе перед ее поступлением на указанный участок паропровода в камере сгорания, причем второй теплообменник выполнен с возможностью использования тепла пара, выходящего из, по меньшей мере, одного цилиндра.
В четвертом аспекте изобретения предлагается способ получения энергии в двигателе, имеющем, по меньшей мере, один цилиндр, поршень, установленный с возможностью перемещения в цилиндре, включающий поршневую головку для совершения возвратно-поступательного движения в цилиндре, коленчатый вал, кривошипный кулачок, закрепленный на коленчатом валу с возможностью совместного вращения, и шатун, присоединенный шарнирно между поршнем и кривошипным кулачком, включающий следующие этапы: нагнетание жидкости из резервуара по одной или более линиям, ведущим к инжекторному клапану на, по меньшей мере, одном цилиндре; генерирование тепла в камере сгорания путем сжигания смеси воздуха и топлива; направление участка одной или более линий через камеру сгорания для обеспечения воздействия тепла камеры сгорания на жидкость, нагнетаемую через одну или более линии; производство пара на указанном участке одной или более линий в результате воздействия тепла камеры сгорания; впуск пара в цилиндр против поршневой головки для принудительного выполнения поршнем рабочего хода вниз с поворотом кривошипного кулачка и коленчатого вала; предварительный нагрев всасываемого воздуха перед подачей в камеру сгорания с использованием тепла отработавших газов, выпускаемых из камеры сгорания; предварительный нагрев жидкости, проходящей через одну или более линии до поступления на указанный участок в камере сгорания; передача отработавшего пара из цилиндра в конденсатор; конденсация отработавшего пара для образования жидкости; и передача жидкости в резервуар.
Настоящее изобретение предлагает компактный и высокоэффективный двигатель, который использует воду в качестве рабочей жидкости, а также смазочного вещества. Двигатель состоит, в основном, из конденсатора, парогенератора и главной секции двигателя, имеющей клапаны, цилиндры, поршни, толкатели, главный подшипник, кулачки и распределительный вал. Окружающий воздух вводится в конденсатор с помощью всасывающих воздуходувок. Перед поступлением воздуха в топку циклона его температура повышается в два этапа. На первом этапе воздух от воздуходувок подается на конденсатор. На следующем этапе воздух направляется от конденсатора через теплообменники, в которых воздух нагревается прежде, чем он поступает на парогенератор. В парогенераторе подогретый воздух смешивается с топливом из топливной форсунки. Форсунка сжигает топливо, распыленное в центрифуге, заставляя тяжелые топливные элементы двигаться к наружным сторонам топки, в которой они потребляются. Более горячие и легкие газы двигаются через небольшой пучок труб (трубный пучок). Цилиндры двигателя расположены радиально по отношению к головкам цилиндра и клапанам, проходящим в циклонную топку. Значение температуры в пучке труб поддерживаются на уровне 1200 градусов по Фаренгейту. Пучок труб, передающих пар, проходит через топку и подвергается воздействию высоких температур. В топке пар находится в перегретом состоянии под давлением, достигающем и поддерживаемом приблизительно на уровне 3200 фунтов.
Отработавший пар направляется через первичный змеевик, который служит также для предварительного нагрева воды в генераторе. Отработавший пар направляется затем через конденсатор в центробежную систему компрессионной конденсации, состоящую из плоских пластин с многоярусным расположением. Охлаждающий воздух циркулирует через плоские пластины, нагревается в выпускном теплообменнике и выходит в топку. Этот цикл с промежуточным перегревом воздуха играет большую роль для повышения эффективности и получения большей компактности двигателя.
Скорость и крутящий момент двигателя регулируются конструкцией коромысла и кулачка, которые служат для открытия и закрытия клапана игольчатого типа в головке двигателя. Когда клапан открыт, пар под высоким давлением и при высокой температуре подается в цилиндр с возможностью расширения в виде взрыва поверх поршня высокого давления. Использование трех и более поршней позволяет осуществлять самозапуск.
Краткое описание чертежей
Для более полного понимания сущности настоящего изобретения следует обратиться к нижеследующему подробному описанию, представленному совместно с прилагаемыми чертежами, где:
Фиг.1 представляет собой общую схему, иллюстрирующую поток воздуха через двигатель согласно изобретению;
Фиг.2 представляет собой общую схему, иллюстрирующую поток воды и пара через двигатель;
Фиг.3 представляет собой вид сбоку (вертикальная проекция) в поперечном разрезе, иллюстрирующий основные компоненты двигателя;
Фиг.4 представляет собой вид сверху в частичном поперечном разрезе, сделанном вдоль плоскости линии 4-4 на Фиг.3;
Фиг.5 представляет собой вид сверху в частичном поперечном разрезе, сделанном вдоль плоскости линии 5-5 на Фиг.3;
Фиг.6 представляет собой изолированный вид сверху кривошипного диска в сборе;
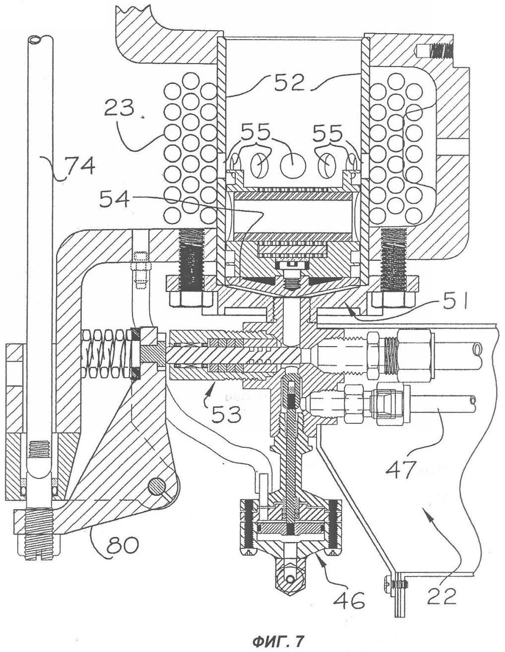
Фиг.7 представляет собой изолированный поперечный разрез, показывающий предохранительный клапан регулирования давления в сборе, инжекторный клапан в сборе и головку цилиндра;
Фиг.8 представляет собой схему рабочего хода поршня;
Фиг.9 представляет собой поперечный разрез механизма управления дроссельной заслонкой и механизма синхронизации двигателя в сборе, работающих для движения вперед на малой скорости;
Фиг.10 представляет собой поперечный разрез механизма управления дроссельной заслонкой и механизма синхронизации двигателя в сборе, работающие для движения вперед на высокой скорости;
Фиг.11 представляет собой поперечный разрез механизма управления дроссельной заслонкой и механизма синхронизации двигателя в сборе, работающие для движения назад;
Фиг.12 представляет собой вид сверху делительного клапана;
Фиг.13 представляет собой поперечный разрез делительного клапана, выполненный вдоль линии 13-13 на Фиг.12, иллюстрирующий расходный клапан (дроссель) в делителе; и
Фиг.14 представляет собой вид сверху в частичном вырезе, показывающий многофазный первичный (топливоподкачивающий) насос и коллектор для систем насосов низкого давления и высокого давления двигателя.
Одинаковые ссылочные номера относятся к одинаковым деталям, изображенным на нескольких видах чертежей.
Осуществление изобретения
Настоящее изобретение относится к радиальному паровому двигателю, который в целом на всех чертежах обозначен позицией 10. Со ссылкой на Фиг.1 и 2 можно видеть, что двигатель 10 включает парогенератор 20, конденсатор 30 и главную секцию 50 двигателя, содержащую цилиндры 52, инжекторные клапаны 53, которые могут быть выполнены в виде игольчатых клапанов, поршни 54, толкатели 74, кривошипный кулачок 61 и коленчатый вал 60, проходящий в осевом направлении через центр секции двигателя.
В процессе работы окружающий воздух вводится в конденсатор 30 с помощью всасывающих воздуходувок 38. Перед поступлением в циклонную топку 22 (далее называемую “камера сгорания”) температура воздуха повышается в два этапа. Конденсатор 30 представляет собой плоский пластинчатый динамический конденсатор с плоскими пластинами 31 многоярусного (послойного) размещения, окружающими внутреннюю сердцевину. Такая конструкция динамического конденсатора 30 создает возможность многократного прохождения пара с тем, чтобы усилить функцию конденсации. На первом этапе воздух поступает в конденсатор 30 от воздуходувок 38 и циркулирует над конденсаторными пластинами 31, чтобы охладить наружные поверхности пластин и конденсировать отработавший пар, циркулирующий в пластинах. Говоря точнее, пар, выходящий из выпускных каналов 55 цилиндров 52, проходит через змеевики предварительного нагрева, окружающие цилиндры. Пар попадает в сердцевину конденсатора, в котором центробежная сила, возникающая из-за вращения распределительного вала, продвигает пар во внутренние полости конденсаторных пластин 31. По мере перехода пара в жидкое состояние, он поступает в уплотненные отверстия, находящиеся на краю конденсаторных пластин. Конденсированная жидкость капает через сборные каналы в поддон 34, находящийся возле основания конденсатора. Насос 92 высокого давления возвращает жидкость из поддона 34 конденсатора к змеевикам 23 в камере сгорания, завершая жидкий цикл двигателя. Многоярусное расположение конденсаторных пластин 31 обеспечивает большую площадь поверхности для максимизации теплопередачи в относительно компактном объеме. Центробежная сила крыльчатки коленчатого вала, которая циклически продвигает конденсирующийся пар на охлаждающие пластины 31, наряду с конструкцией многоярусных пластин, обеспечивает систему многократного прохождения пара, которая является значительно более эффективной по сравнению с обычными конденсаторами однопроходной конструкции.
Кожух (экран) 12 двигателя является изолированным покрытием, которое ограждает узел камеры сгорания и поршня. Кожух 12 содержит воздуховоды 32, проводящие воздух от конденсатора 30, в котором он предварительно нагревается, к воздухозаборной части воздухо-воздушных теплообменников 42, в которых воздух нагревается дополнительно. Выходя из теплообменников 42, этот всасываемый нагретый воздух поступает в узлы распылителя/запальной свечи в форсунке 40, где он сгорает в камере сгорания. Кожух включает в себя также обратные каналы, которые забирают выхлопные газы от сгорания на верхнем центре камеры сгорания и отводят эти газы назад через выпускную часть воздухо-воздушных теплообменников 42. Кожух двигателя способствует повышению КПД и получению большей компактности двигателя благодаря сохранению тепла, достигаемому за счет его изоляции, обеспечивая необходимую систему воздуховодов для течения воздуха двигателя и предоставляя теплообменники, забирающие тепло отходящего газа.
Вода на пути ее подачи от насоса поддона конденсатора в камеру сгорания перекачивается через один или более главный подающий паропровод 21 на каждый цилиндр. Главный паропровод 21 проходит через змеевик 23 предварительного нагрева, который обмотан вокруг каждой юбки цилиндра, примыкающей к выпускным отверстиям этого цилиндра. Пар, выходящий из выпускных отверстий, отдает тепло этому змеевику, что повышает температуру воды, проходящей через змеевик в направлении камеры сгорания. Соответственно, при отдаче тепла змеевикам предварительного нагрева, отработавший пар начинает процесс охлаждения на своем пути через эти змеевики, прежде чем войти в конденсатор. Размещение этих змеевиков рядом с выпускными отверстиями цилиндров сохраняет тепло, которое в противном случае уходило бы в систему. Таким образом, данное размещение способствует увеличению суммарного КПД двигателя.
На следующем этапе воздух проходит через теплообменники 42, в которых, прежде чем поступить в парогенератор 20 (см. Фиг.2 и 3), воздух нагревается. В парогенераторе 20 подогретый воздух смешивается с топливом из топливного распылителя 41 (см. Фиг.5). Запальная свеча 43 зажигает распыленное топливо в центрифуге, заставляющей тяжелые топливные элементы двигаться к наружным сторонам камеры сгорания 22, в которой они потребляются. Камера сгорания 22 выполнена в виде цилиндра, который охватывает кругообразно намотанный змеевик из собранных в плотный пучок 24 труб, образующих часть паропроводов, ведущих к соответствующим цилиндрам. Собранные в пучок 24 трубы нагреваются горящим топливом форсунки сгорания 40 в сборе, включающей в себя воздуходувки 38, топливный распылитель 41 и запальную свечу 43 (см. Фиг.4). Форсунки 40 устанавливаются на противоположных сторонах стенки круглой камеры сгорания и регулируются таким образом, чтобы направить пламя по спирали. Благодаря кручению пламени вокруг камеры сгорания пучок 24 труб в виде змеевика периодически “омывается” теплом газа сгорания, который циркулирует при его движении к центру пучка 24. Температура в пучке 24 труб поддерживается приблизительно на уровне 1200 градусов по Фаренгейту. Пучок 24 труб переносит пар и подвергается воздействию высоких температур, возникающих от сгорания, при этом пар перегревается, а его давление поддерживается приблизительно на уровне 3200 фунтов на квадратный дюйм. Горячий газ выходит через отверстие, расположенное в верхнем центре круглой крыши цилиндрической камеры сгорания. Центробежное движение газов, выделяющихся при горении, заставляет более тяжелые несгоревшие частицы, находящиеся во взвешенном состоянии в газах, аккумулироваться на наружной стенке камеры сгорания, где они сгорают, что способствует получению более чистого выхлопа. Эта циклоническая циркуляция газов, выделяющихся при горении в камере сгорания, создает в двигателе более высокий коэффициент полезного действия. В частности, многократные проходы пучка 24 труб в виде змеевика делают возможным большее тепловое насыщение по отношению к количеству израсходованного топлива. Более того, форма кругообразно закрученного пучка позволяет иметь большие длины труб, помещаемых в камере сгорания ограниченных габаритов, чем это имеет место в обычном котле. Кроме того, благодаря разделению линии подачи паропровода каждого цилиндра на две или более линии у входа в камеру сгорания (т.е. в пучке труб), воздействию газов, выделяющихся при горении, подвергается большая площадь поверхности труб, что способствует лучшей теплопередаче, так что жидкость можно нагревать, достигая более высоких значений температур и давления, что еще более улучшает коэффициент полезного действия двигателя.
По мере выхода воды одинарная линия 21 змеевика предварительного нагрева каждого отдельного цилиндра на ее пути к камере сгорания разветвляется на две или более линии 28 на цилиндр, образуя часть пучка труб, который состоит из змеевиковых (спиральных) пучков 24 всех этих разветвленных линий 28 для всех цилиндров, как это описано выше. Как видно на Фиг.3, эти многопроводные линии 28 идентичны в отношении поперечного сечения и длины. В то время как при статическом режиме такое уравнивание объемов и производительности между одинарной “питающей” линией 21 и разветвленными линиями 28 было бы сбалансированным, при динамическом режиме сверх критических высоких температур и высоких давлений относительные расходы в отводных линиях могут оказаться несбалансированными, что потенциально может привести к перегреву, а возможно и к разрушению стенки трубы с более низким расходом. Делительный клапан 26, размещенный возле присоединения одинарной линии 21 к многопроходным линиям 28, уравнивает расход в отводных линиях (см. Фиг.3, 12 и 13). Делительный клапан 26 минимизирует турбулентность в области места присоединения путем образования не прямоугольного “Т”-образного пересечения, а “T”-образного пересечения с узкой вершиной. Корпус этого “Y”-образного соединения содержит клапаны 27 регулирования расхода, которые делают возможным беспрепятственное протекание текучей среды в направлении парогенератора 20 через каждую из отводных линий 28, но позволяют “сбрасывать” любое постепенно нарастающее избыточное давление в одной линии назад в предохранительный клапан (регулятор давления) 46 с тем, чтобы не допустить избыточного давления на систему.
Как это наилучшим образом видно на Фиг.5, цилиндры 52 двигателя расположены радиально по отношению к головкам 51 цилиндров и инжекторным клапанам 53, проходящим в циклонную топку. Кулачок 70 двигает толкатели 74 (см. Фиг.5), чтобы регулировать открытие паровых инжекторных клапанов 53. При более высоких скоростях двигателя паровые инжекторные клапаны 53 полностью открываются с тем, чтобы подавать пар в цилиндры 52, что вызывает проталкивание поршневых головок 54 радиально внутрь. Движение поршневых головок 54 заставляет шатуны 56 двигаться радиально внутрь так, чтобы поворачивать кривошипный диск 61 и коленчатый вал 60. Как показано на Фиг.6, каждый шатун 56 присоединен к кривошипному диску 61. Точнее говоря, внутренняя круглая поверхность тяги шатуна снабжена подшипниковым кольцом 59 для зацепления вокруг втулки 63 на кривошипном диске 61. В предпочтительном варианте осуществления изобретения кривошипный диск 61 образован из подшипникового материала, который окружает наружную поверхность тяги шатуна, обеспечивая, таким образом, двухсторонний подшипник для передачи нагрузки от поршня. Шатуны 56 приводятся в движение этим кривошипным диском 61. Эти шатуны устанавливаются на равных интервалах по периметру кольцевого подшипника. Нижние части двухсторонних подшипников, присоединяющие шатуны поршней к кривошипному диску 61, сконструированы так, чтобы они ограничивали угловой прогиб шатунов 56 с тем, чтобы выдерживать зазор между всеми шестью шатунами в течение одного полного поворота коленчатого вала 60. Центр кривошипного диска 61 присоединяется скобой к коренной шейке 62 коленчатого вала, которая смещена от центральной оси коленчатого вала 60. В то время как нижние концы шатунов 56 вращаются по кругу вокруг кривошипного диска 61, смещение коренной шейки 62 коленчатого вала, на которой движется кривошипный диск 61, создает геометрию, которая заставляет результирующие вращения этих шатунов перемещаться по эллиптической траектории. Такая уникальная геометрия предоставляет работе двигателя два преимущества. Во-первых, в процессе рабочего хода каждого поршня шатун поршня находится на одной вертикальной оси с движением ведущего поршня, передавая тем самым полную силу хода. Во-вторых, смещение между шатунами 56 и кривошипным диском 61, смещение между кривошипным диском и коренной шейкой 62 коленчатого вала и смещение коренной шейки 62 коленчатого вала по отношению к самому коленчатому валу 60, совместно создают плечо рычага, которое увеличивает силу каждого отдельного рабочего хода без увеличения расстояния, на которое перемещается поршень. Схема, изображающая этот уникальный рабочий ход, представлена на Фиг.8. Соответственным образом увеличивается и механический КПД. Такая конструкция обеспечивает также увеличение времени поступления и выпуска пара.
Со ссылкой на Фиг.7, на малых скоростях двигателя паровые инжекторные клапаны 53 частично закрываются, и клапан 46 пространства сжатия открывается для сброса давления, чтобы выпустить пар из цилиндров 52. Клапаны 46 пространства сжатия регулируются числом оборотов двигателя в минуту. Клапан 46 пространства сжатия является инновацией, которая повышает коэффициент полезного двигателя как на малых, так и на высоких скоростях. Минимизация пространства сжатия в цилиндре 52 является преимущественной для эффективности двигателя, поскольку она уменьшает объем перегретого пара, требуемого для заполнения пространства, уменьшает контактную поверхность пара, которая поглощает тепло, которое, в противном случае, было бы использовано во взрывном расширении рабочего хода, а также, благодаря созданию более высокой степени сжатия в меньшей по объему камере, дополнительно увеличивает температуру поступившего пара. Однако более высокая степень сжатия, возникающая в связи с меньшей величиной пространства, при малых оборотах двигателя имеет неблагоприятный эффект появления обратного давления (противодавления) против подаваемой порции перегретого пара. Назначение клапана 46 пространства сжатия заключается в том, чтобы уменьшить степень сжатия в цилиндре на малых оборотах двигателя, сохраняя высокую степень сжатия на больших скоростях поршня, при которых эффект противодавления минимален. Клапан 46 пространства сжатия управляет впускным отверстием в трубку 47, которая проходит от цилиндра в камеру сгорания 22. Он имеет гидропривод от низконапорной насосной системы первичного многофазного водяного насоса 90 с приводом от двигателя. На малых оборотах клапан 46 пространства сжатия открывает трубку 47. С добавлением инкрементного объема трубки 47 к объему цилиндра 52, общее пространство сжатия увеличивается, в результате чего уменьшается степень сжатия. Порция пара, втекающая в трубку, дополнительно нагревается камерой 22 сгорания, которая окружает герметичную трубку 47, испаряясь обратно в цилиндр 52, где она содействует общему расширению пара рабочего хода на малой скорости. На более высоких оборотах насосная система работающего от двигателя насоса 90, которая гидравлическим путем активирует клапан пространства сжатия, создает давление, чтобы, тем самым, закрыть клапан 46 пространства сжатия, уменьшая общий объем сжатия и увеличивая степень сжатия цилиндра для эффективной работы двигателя на более высоких скоростях. Клапан 46 пространства сжатия повышает КПД двигателя, работающего как на малых скоростях, так и на больших скоростях.
Пар при сверхкритическом давлении поступает в цилиндры 52 двигателя посредством механически связанного дроссельного механизма, действующего на паровом инжекторном клапане 53. Чтобы противостоять температуре 1200° по Фаренгейту, инжекторные клапаны 53 в нижней части их штоков охлаждаются водой, подаваемой по трубам от конденсатора 30, и возвращаемой в него обратно с помощью насоса 96 системы жидкой смазки. Вдоль середины штоков клапанов ряд лабиринтовых уплотнений, или пазов в штоке клапана, совместно с уплотнительными кольцами и нижними кромочными самоподжимными уплотнениями создают уплотнение между каждым штоком клапана и стаканом, внутри которого перемещается клапан. Это изолирует и отделяет охлаждающую жидкость, протекающую мимо верха штока клапана, а давление 3200 фунтов на кв. дюйм – это приблизительно то давление, которое имеется на головке и седле каждого клапана. Удаление инжекторного клапана 53, а также регулировка зазора его гнезда могут быть выполнены по резьбе, выполненной на станке в верхнем корпусе клапана в сборе. Инжекторный клапан 53, впускающий перегретый пар, жестко закрывается пружиной 82 в каждом коромысле 80 клапана, смонтированном на наружной части корпуса двигателя. Каждая пружина 82 оказывает давление, достаточное для того, чтобы держать инжекторный клапан 53 закрытым при статическом режиме.
Движение открытия каждого клапана вызывается кулачковой шайбой 84, смонтированной на коленчатом валу. Выступ 85 на кулачковой шайбе заставляет следящий элемент 76 дросселя “проталкивать” по одному толкателю 74 на цилиндр 52. Каждый толкатель 74 выходит из-под центра радиально сконфигурированного шестицилиндрового двигателя наружу к коромыслу 80 игольчатого клапана. Сила следящего элемента 76 дросселя на толкателе 74 преодолевает давление закрытия, создаваемое пружиной, и открывает инжекторный клапан 53. Контакт между следящим элементом, коромыслом 80 и толкателем 74 устанавливается посредством резьбовой регулировочной розетки, смонтированной на каждом коромысле 80 игольчатого клапана.
Управление дросселем на двигателе достигается путем изменения расстояния, на которое проходит каждый толкатель 74, с дополнительным расширением, открывающим игольчатый клапан на большую величину с тем, чтобы впустить больше перегретой текучей среды. Все шесть толкателей 74 проходят через кольцо 78 управления дросселем, которое вращается по дуге, смещаясь там, где внутренний конец каждого толкателя 74 опирается на рычаг каждого следящего элемента кулачка (см. Фиг.5). Если следящий элемент 76 не поднят кулачковым выступом 85, то все позиции вдоль следящего элемента, на которые опирается толкатель 74, являются, равным образом, “закрытыми”. Поскольку дуга кольца 78 управления дросселем смещена, то точка опоры толкателя 74 смещает плечо рычага за пределы и в сторону от точки опоры следящего элемента. Когда кулачковый выступ 85 проталкивает следящий элемент 76, длина дуги, которую проходит рычаг, увеличивается, продвигая тем самым толкатель 74 клапана дальше и открывая в большей степени инжекторный клапан 53. Одиночный рычаг, присоединенный к кольцу дросселя и проходящий к наружной части корпуса двигателя, используется для смещения дуги кольца дросселя, становясь, таким образом, дросселем двигателя.
Со ссылкой на Фиг.9-11, регулирование синхронизации двигателя достигается путем перемещения кулачковой шайбы 84. Регулирование синхронизации двигателя переносит момент, в который перегретая текучая среда впрыскивается в каждый поршень, и укорачивает продолжительность такого впрыскивания по мере увеличения числа оборотов двигателя. Движение кулачковой шайбы 84 “кверху” в сторону коренной шейки 62 коленчатого вала изменяет длительность выдержки времени, подвергая следящий элемент 76 воздействию нижней части кулачковой шайбы 84, где профиль выступа 85 кулачка постепенно уменьшается. Поворот той же самой кулачковой шайбы 84 изменяет выбор того времени, когда кулачковый выступ инициирует впуск пара в цилиндр(ы). Вращение кулачковой шайбы 84 достигается посредством муфтовой оси 88 кулачкового вала, которая крепится к кулачковой муфте 86. Ось 88 кулачкового вала проходит через криволинейную вертикальную прорезь в кулачковой шайбе 84, так что по мере того, как кулачковая шайба 84 под действием гидравлического давления поднимается, возникает скручивающее действие между кулачковой шайбой 84 и поршнем кулачковой муфты 86, и при этом кулачковая шайба 84 и выступ 85 частично поворачиваются. Эти два движения кулачковой шайбы активируются поршнем кулачковой муфты 86, который заделывается к коленчатому валу 60 и поворачивается с ним. Говоря точнее, ось кулачка коленчатого вала 87, которая крепится к коленчатому валу 60, проходит через отверстие в кулачковой шайбе и вертикальную прорезь на поршне кулачковой муфты. Это делает возможным вертикальное (т.е. продольное) движение кулачковой шайбы 84 и кулачковой муфты 86 относительно коленчатого вала, но не делает невозможным поворот кулачковой муфты 86 и коленчатого вала 60 относительно друг друга (из-за вертикальной прорези), так что кулачковая муфта 86 вращается с коленчатым валом. Водяная насосная система с приводом от коленчатого вала обеспечивает гидравлическое давление для вытягивания этого поршня кулачковой муфты 86. По мере увеличения числа оборотов в минуту гидравлическое давление растет. Это вытягивает поршень кулачковой муфты 86 и поднимает кулачковую шайбу 84, подвергая, таким образом, профили более высоких оборотов на выступе 85 действию следящего(их) элемента(ов) кулачка 76. Уменьшенные скорости двигателя соответственно уменьшают гидравлическое давление на поршень кулачковой муфты 86, а уплотненная цилиндрическая пружина 100 втягивает поршень кулачковой муфты 86 и саму кулачковую шайбу 84.
Нормальное положение регулятора дросселя – это малая скорость движения вперед. По мере того как кольцо 78 дросселя впускает пар в поршень, кривошип начинает медленно вращаться в направлении вперед. Большая протяженность (продолжительность) действия кулачкового выступа 85 позволять впускать пар в цилиндры 52 за больший период времени. Как описано ранее, эллиптическая траектория шатунов создает высокий уровень крутящего момента, тогда как поступление пара в цилиндр продолжается более длительный период времени и через более длинное плечо рычага в фазу следующего цилиндра, делая, таким образом, возможным движение с автоматическим пуском.
По мере продвижения кольца 78 дросселя в цилиндр поступает больше пара, что позволяет увеличить число оборотов в минуту. Когда число оборотов увеличивается, насос 90 обеспечивает гидравлическое давление для подъема кулачковой шайбы 84 до высокой скорости движения вперед. Кулачковая шайба 84 двигается в две фазы, поднимая кулачок с тем, чтобы уменьшить протяженность действия кулачкового выступа и перенести хронометраж кулачка. Это происходит постепенно по мере того, как число оборотов увеличивается до предварительно заданного значения. Рычаг переключения передач 102 подпружинен на тяге 104 переключения передач, чтобы муфта 86 могла поднимать кулачковую шайбу 84.
Чтобы изменить направление движения двигателя на обратное, двигатель необходимо остановить, закрыв дроссель. Реверсирование двигателя не заканчивается выбором шестерни коробки передач, а выполняется путем изменения хронометража (синхронизации). Говоря точнее, реверсирование двигателя осуществляется путем толкания тяги 104 переключения передач с тем, чтобы поднять кулачковую муфту 86 до коленчатого вала 60, поскольку ось 88 кулачкового вала проходит в спиралевидном пазу в кулачковой шайбе, заставляя кривошип продвигать кулачок мимо верхней мертвой точки. Теперь двигатель будет работать задним ходом, поскольку поршень толкает кривошипный диск под углом относительно коленчатого вала в направлении обратного вращения. Такое смещающее движение изменяет только синхронизацию, а не продолжительность действия кулачкового выступа, направленного на открытие клапана. Это будет создавать полный крутящий момент и самозапуск при движении задним ходом. При движении задним ходом высокая скорость не нужна.
Отработавший пар направляется через первичный змеевик, который служит также для того, чтобы подогревать воду в генераторе 20. Затем отработавший пар направляется через конденсатор 30, в центробежную систему компрессионной конденсации. Как отмечалось выше, охлаждающий воздух циркулирует через плоские пластины, нагревается в выпускном теплообменнике 42 и направляется на форсунку 40. Этот цикл с промежуточным перегревом пара очень способствует повышению коэффициента полезного действия и достижению компактности двигателя.
Потребности двигателя в обеспечении водой обслуживаются многофазным насосом 90, который включает в себя три насосные системы. Одна из них представляет собой насосную систему 92 высокого давления, смонтированную рядом с тем же корпусом. Насосная система 94 среднего давления создает давление воды для активирования клапана объема камеры сгорания, а также давление воды для управления механизмом синхронизации кулачка. Насосная система 96 низкого давления обеспечивает смазывание и охлаждение двигателя. Агрегат высокого давления перекачивает воду из поддона 34 конденсатора через шесть отдельных линий 21, мимо змеевиков камеры сгорания 22 к каждому из шести инжекторных клапанов 53, которые подают перегретую текучую среду к шпиндельной головке двигателя. Эта высоконапорная секция многофазного насоса 90 содержит радиально расположенные поршни, которые очень похожи на конфигурацию больших шпиндельных головок двигателя. Линия подачи воды, отходящая от каждого из поршней водяного насоса, соединяется коллектором 98, который присоединен к регулятору, используемому совместно всеми шестью подающими линиями и предусмотренному для выравнивания и регулирования давления подачи воды на шесть поршней шпиндельной головки. Все насосные субагрегаты в многофазном насосе имеют привод от центрального вала. Этот приводной вал насоса присоединен к главному коленчатому валу 60 двигателя с помощью механической муфты. Когда двигатель останавливается, воду качает вспомогательный электродвигатель, поддерживая давление воды, необходимое для перезапуска двигателя.
Хотя настоящее изобретение представлено и описано в соответствии с предпочтительным и практическим вариантом его осуществления, нельзя не отметить возможность отклонения от рассматриваемого здесь раскрытия в рамках существа и объема настоящего изобретения.
Перечень компонентов
10. Двигатель.
12. Кожух двигателя.
20. Парогенератор.
21. Паропровод (питающая линия).
22. Камера сгорания/циклонная топка.
23. Змеевик предварительного нагрева вокруг каждого цилиндра.
24. Пучок труб (змеевик труб), состоящий из отводных линий для всех цилиндров.
26. Делительный клапан.
27. Клапан регулирования расхода.
28. Отводные линии, выходящие из (выделенные от) главной питающей линии.
30. Конденсатор.
31. Плоские пластины.
32. Всасывающие воздуховоды.
34. Поддон/Чаша сбора конденсата.
38. Воздуходувки.
40. Топливная форсунка сгорания.
41. Топливный распылитель.
42. Теплообменники.
43. Запальная свеча.
46. Клапан пространства сжатия для сброса давления.
47. Трубки пространства сжатия.
50. Главный двигатель в сборе.
51. Головки цилиндра.
52. Цилиндры.
53. Паровые инжекторные клапаны.
54. Поршневые головки.
55. Выпускные отверстия на цилиндрах.
56. Шатуны.
59. Подшипниковое кольцо на внутренней стороне тяги шатуна.
60. Коленчатый вал.
61. Кривошипный диск.
62. Коренная шейка коленчатого вала.
63. Втулка на кривошипном диске для присоединения шатуна.
76. Следящий элемент дросселя.
74. Толкатели клапана.
78. Кольцо управления дросселем.
80. Коромысла клапана.
82. Пружина на коромыслах клапана.
84. Кулачковая шайба.
85. Выступ на кулачковой шайбе.
86. Поршень кулачковой муфты.
87. Ось кулачка коленчатого вала.
88. Ось кулачка муфты (муфтовая ось кулачкового вала).
90. Первичный многофазный насос.
92. Насосная система высокого давления.
94. Насосная система среднего давления.
96. Насосная система низкого давления.
98. Насосный коллектор.
100. Цилиндрическая пружина для отвода поршня кулачковой муфты.
102. Рычаг переключения передач.
104. Тяга переключения передач.
106. Муфта переключения передач.
Формула изобретения
1. Двигатель, содержащий конденсатор, включающий систему разнесенных пластин с охлаждаемыми воздухом поверхностями и поддон под системой разнесенных пластин для сбора жидкого конденсата; парогенератор, включающий, по меньшей мере, одну форсунку, выполненную с возможностью сжигания подаваемого топлива, и камеру сгорания, сообщающуюся с, по меньшей мере, одной форсункой для генерирования тепла в указанной камере сгорания; главный привод двигателя в сборе, содержащий, по меньшей мере, один цилиндр, поршень, установленный с возможностью перемещения в цилиндре, включающий в себя поршневую головку, выполненную и установленную с возможностью совершения возвратно-поступательного движения в цилиндре, коленчатый вал, кривошипный кулачок, закрепленный на коленчатом валу с возможностью совместного вращения, шатун, присоединенный шарнирно между поршнем и кривошипным кулачком, и инжекторный клапан, выполненный с возможностью переключения между закрытым положением и открытым положением для выпуска порции пара под давлением в верхнюю часть цилиндра; паропровод для подачи пара в инжекторный клапан с целью его впуска в цилиндр после кратковременного открытия инжекторного клапана; насос для подачи воды из поддона через паропровод, причем паропровод включает в себя участок, расположенный в камере сгорания и выполненный с открытой областью поверхности в камере сгорания для обеспечения теплопередачи с целью изменения агрегатного состояния воды в паропроводе с жидкости на пар для его подачи в инжекторный клапан; выпускной канал передачи для подачи отработавшего пара из, по меньшей мере, одного цилиндра в конденсатор, в котором отработавший пар изменяет свое агрегатное состояние на жидкость перед сбором в поддоне; и теплообменник для предварительного нагрева всасываемого воздуха перед подачей в камеру сгорания, причем теплообменник выполнен с возможностью использования тепловой энергии отработавших газов, выпускаемых из камеры сгорания.
2. Двигатель по п.1, отличающийся тем, что главный привод двигателя включает ряд цилиндров, каждый из которых имеет поршень и поршневую головку, установленные с возможностью перемещения в цилиндре; ряд шатунов, каждый из которых шарнирно прикреплен к поршню соответствующего цилиндра; и ряд инжекторных клапанов, каждый из которых выполнен с возможностью выпуска порции пара под давлением в соответствующий цилиндр после установки инжекторного клапана в открытое положение.
3. Двигатель по п.2, отличающийся тем, что парогенератор содержит, по меньшей мере, одну воздуходувку для подачи потока воздуха в камеру сгорания; топливный распылитель для направления подаваемого топлива в распыленном тумане в поток воздуха; и воспламенитель для поджигания распыленного топливного тумана.
4. Двигатель по п.2, отличающийся тем, что указанный участок паропровода включает ряд отводных линий в камере сгорания.
5. Двигатель по п.4, отличающийся тем, что дополнительно содержит делительный клапан на узле соединения однолинейной части паропровода и отводных линий, причем делительный клапан выполнен и установлен с возможностью выравнивания давления потока пара между рядом отводных линий.
6. Двигатель по п.2, отличающийся тем, что цилиндры расположены в радиальной конфигурации.
7. Двигатель по п.2, отличающийся тем, что дополнительно содержит ряд клапанов пространства сжатия, каждый из которых установлен с возможностью работы с соответствующим цилиндром, причем клапаны пространства сжатия выполнены и установлены с возможностью уменьшения давления пара в цилиндрах на малых оборотах двигателя, при этом каждый клапан пространства сжатия выполнен и установлен с возможностью поддержания более высокого давления пара в цилиндрах на больших оборотах двигателя.
8. Двигатель по п.1, отличающийся тем, что дополнительно содержит толкатель, входящий в процессе работы во взаимодействие с инжекторным клапаном; и подпружиненное коромысло, входящее в процессе работы во взаимодействие с толкателем для кратковременного открытия инжекторного клапана.
9. Двигатель по п.8, отличающийся тем, что дополнительно содержит кулачковую шайбу, смонтированную с возможностью перемещения на коленчатом валу; выступ, выступающий из указанной кулачковой шайбы в наружном направлении; и следящий элемент дросселя, входящий в процессе работы в контакт с кулачковой шайбой и толкателем, причем следящий элемент дросселя выполнен и установлен с возможностью побуждения толкателя преодолевать сопротивление инжекторного клапана, после вхождения следящего элемента дросселя в контакт с выступом на кулачковой шайбе, для кратковременного открытия инжекторного клапана по мере вращения кулачковой шайбы.
10. Двигатель, содержащий конденсатор, включающий систему разнесенных пластин с охлаждаемыми воздухом поверхностями и поддон под системой разнесенных пластин для сбора жидкого конденсата; камеру сгорания; по меньшей мере, один цилиндр; поршень, установленный с возможностью перемещения в цилиндре, включающий в себя поршневую головку, выполненную и установленную с возможностью совершения возвратно-поступательного движения в цилиндре; коленчатый вал; кривошипный кулачок, закрепленный на коленчатом валу с возможностью совместного вращения; шатун, присоединенный шарнирно между поршнем и кривошипным кулачком; инжекторный клапан, выполненный с возможностью переключения между закрытым положением и открытым положением для выпуска порции пара под давлением в верхнюю часть цилиндра; толкатель, взаимодействующий в процессе работы с инжекторным клапаном; подпружиненное коромысло, входящее в процессе работы во взаимодействие с толкателем для кратковременного открытия инжекторного клапана; паропровод для подачи пара в инжекторный клапан с целью его впуска в цилиндр после кратковременного открытия инжекторного клапана; насос для подачи воды из поддона через паропровод, причем паропровод включает в себя разветвленный участок труб, собранных в пучок в камере сгорания, при этом указанный пучок труб имеет открытый участок поверхности в камере сгорания для обеспечения теплопередачи с целью изменения агрегатного состояния воды в паропроводе с жидкости на пар и нагревания пара до температуры, при которой образуется перегретый пар для его подачи в инжекторный клапан; выпускной канал передачи для подачи отработавшего пара из, по меньшей мере, одного цилиндра в конденсатор, в котором отработавший пар изменяет свое агрегатное состояние на жидкое перед сбором в поддоне; и теплообменник для предварительного нагрева всасываемого воздуха перед подачей в камеру сгорания, причем теплообменник выполнен с возможностью использования тепловой энергии отработавших газов, выпускаемых из камеры сгорания.
11. Двигатель, содержащий конденсатор, включающий систему разнесенных пластин с охлаждаемыми воздухом поверхностями и поддон под системой разнесенных пластин для сбора жидкого конденсата; камеру сгорания; узел генерирования тепла для сжигания подаваемого топлива и создания центрифуги из горячего воздуха и пламени в камере сгорания; главный привод двигателя в сборе, содержащий, по меньшей мере, один цилиндр, поршень, установленный с возможностью перемещения в цилиндре, включающий поршневую головку, выполненную и установленную с возможностью совершения возвратно-поступательного движения в цилиндре, коленчатый вал, кривошипный кулачок, закрепленный на коленчатом валу с возможностью совместного вращения, шатун, присоединенный шарнирно между поршнем и кривошипным кулачком, инжекторный клапан, выполненный с возможностью переключения между закрытым положением и открытым положением для выпуска порции пара под давлением в верхнюю часть цилиндра, толкатель, взаимодействующий в процессе работы с инжекторным клапаном, и подпружиненное коромысло, входящее в процессе работы во взаимодействие с толкателем для кратковременного открытия инжекторного клапана; паропровод для подачи пара в инжекторный клапан с целью его впуска в цилиндр после кратковременного открытия инжекторного клапана; насос для подачи воды из поддона через паропровод, причем паропровод включает в себя участок, проходящий через камеру сгорания таким образом, что вода и пар в пределах указанного участка паропровода нагреваются в результате воздействия температуры в камере сгорания с образованием пара в паропроводе для подачи в инжекторный клапан и в цилиндр после открытия инжекторного клапана; первый теплообменник для предварительного нагрева всасываемого воздуха перед его поступлением в камеру сгорания, причем первый теплообменник выполнен с возможностью использования тепла отработавших газов, выпускаемых из камеры сгорания; и второй теплообменник – для нагрева воды в паропроводе перед ее поступлением на указанный участок паропровода в камере сгорания, причем второй теплообменник выполнен с возможностью использования тепла пара, выходящего из, по меньшей мере, одного цилиндра.
12. Способ получения энергии в двигателе, имеющем, по меньшей мере, один цилиндр, поршень, установленный с возможностью перемещения в цилиндре, включающий поршневую головку для совершения возвратно-поступательного движения в цилиндре, коленчатый вал, кривошипный кулачок, закрепленный на коленчатом валу с возможностью совместного вращения, и шатун, присоединенный шарнирно между поршнем и кривошипным кулачком, включающий следующие этапы: нагнетание жидкости из резервуара по одной или более линиям, ведущим к инжекторному клапану на, по меньшей мере, одном цилиндре; генерирование тепла в камере сгорания путем сжигания смеси воздуха и топлива; направление участка одной или более линий через камеру сгорания для обеспечения воздействия тепла камеры сгорания на жидкость, нагнетаемую через одну или более линии; производство пара на указанном участке одной или более линий в результате воздействия тепла камеры сгорания; впуск пара в цилиндр против поршневой головки для принудительного выполнения поршнем рабочего хода вниз с поворотом кривошипного кулачка и коленчатого вала; предварительный нагрев всасываемого воздуха перед подачей в камеру сгорания с использованием тепла отработавших газов, выпускаемых из камеры сгорания; предварительный нагрев жидкости, проходящей через одну или более линии до поступления на указанный участок в камере сгорания; передача отработавшего пара из цилиндра в конденсатор; конденсация отработавшего пара для образования жидкости; и передача жидкости в резервуар.
РИСУНКИ
|
|