|
|
(21), (22) Заявка: 2006109499/06, 27.08.2004
(24) Дата начала отсчета срока действия патента:
27.08.2004
(30) Конвенционный приоритет:
27.08.2003 AU 2003904633
(43) Дата публикации заявки: 10.10.2007
(46) Опубликовано: 27.05.2009
(56) Список документов, цитированных в отчете о поиске:
DE 19512531 A1, 24.10.1996. US 3800760 A, 02.04.1974. RU 2096662 С1, 20.11.1997. SU 1564390, 15.05.1990.
(85) Дата перевода заявки PCT на национальную фазу:
27.03.2006
(86) Заявка PCT:
AU 2004/001165 20040827
(87) Публикация PCT:
WO 2005/021933 20050310
Адрес для переписки:
129090, Москва, ул. Б.Спасская, 25, стр. 3, ООО “Юридическая фирма Городисский и Партнеры”, пат.пов. С.А.Дорофееву, рег. 146
|
(72) Автор(ы):
ТРАПАЛИС Яннис (AU)
(73) Патентообладатель(и):
Кей Си Ар ТЕКНОЛОДЖИЗ ПТИ ЛТД (AU)
|
(54) РОТОРНОЕ УСТРОЙСТВО (ВАРИАНТЫ)
(57) Реферат:
Изобретение относится к роторным устройствам. Роторное устройство содержит корпус, образующий кольцевую закрытую камеру с внутренней стенкой, двухкулачковый симметричный ротор, вершины которого находятся на его центральной продольной оси, впускной и выпускной каналы, первое и второе направляющие средства. Ротор установлен с возможностью такого вращения с эксцентриситетом внутри камеры, при котором вершины постоянно касаются внутренней стенки камеры, в результате чего между каждым из кулачков и внутренней стенкой камеры создаются полости последовательно увеличивающегося и уменьшающегося объема. Ротор установлен на едином валу, который проходит через противоположные торцы камеры. Центр вала смещен к центральной оси камеры. На валу установлено первое направляющее средство, представляющее собой блок, предназначенный для осуществления возвратно-поступательного перемещения относительно паза, выполненного в роторе, в результате чего блок и вал обеспечивают вращение с эксцентриситетом ротора. Второе направляющее средство взаимодействует с первым. Предназначено для направления ротора и при работе обеспечивает постоянный герметичный контакт вершин с внутренней стенкой, в результате чего центр ротора перемещается в камере по круговой траектории. Центр второго направляющего средства смещен относительно центральной оси камеры. Обеспечивается высокая термодинамическая эффективность и экономическая эффективность производства, простота конструкции, герметичность и износостойкость. 6 н. и 20 з.п. ф-лы, 18 ил.
Настоящее изобретение относится к роторному устройству такого типа, который содержит двухкулачковый ротор, приводимый с эксцентриситетом внутри закрытой камеры для сжатия или расширения текучей среды, находящейся внутри камеры.
Роторное устройство применяется во всех типах машин, включая гидравлические насосы, газовые компрессоры, газовые расширители и роторные двигатели. Один из примеров роторных устройств раскрыт в публикации DE 19514531 A1.
В настоящее время предлагается большое количество различных типов роторных устройств, предназначенных для работы в насосах, компрессорах, расширителях и роторных двигателях. Большинство известных роторных устройств нашли ограниченное применение в упомянутых выше областях, и неизвестно ни одного роторного устройства, которое могло бы успешно использоваться во всех этих областях.
Один из типов роторного устройства содержит двухкулачковый двояковыпуклый ротор (или лопатку), установленный с возможностью вращения в кольцевой камере, которая имеет кругло-конхоидальную форму. Вращательное движение двухкулачкового ротора необходимо тщательно контролировать для обеспечения того, что вершины этого ротора постоянно сохраняют скользящий и герметичный контакт с внутренней стенкой камеры, при одновременном постоянном изменении объема пространства между упомянутыми ротором и стенкой камеры. Имеющийся в камере впускной канал обеспечивает поступление текучей среды, которая, после ее сжатия ротором, выбрасывается через выпускной канал.
В одном из известных роторных устройств расположенный снаружи коленчатый вал проходит через одну из торцевых крышек камеры и служит опорой ротору. Приводной механизм вращает коленчатый вал, таким образом, вращая ротор внутри камеры. Перемещение ротора направляется системой зубчатых колес, установленной на одном из торцов двояковыпуклого ротора. Недостатком такой конструкции является то, что система зубчатых колес не может адекватно воспринимать обусловленные вибрацией высокие напряжения и нагрузки, возникающие в данном устройстве при работе.
В роторных устройствах описанного выше типа, у которых центр масс ротора вращается с эксцентриситетом, неизбежно возникает перекос или тяговое усилие в одном направлении. Несмотря на увеличение жесткости корпуса камеры и установку вращающихся противовесов, усложнение конструкции, например, использование направляющего средства на основе системы зубчатых колес, расположенных с одной из боковых сторон ротора, или же применение других вариантов, приводящих к нарушению симметрии машины, по-прежнему неспособно обеспечить противодействие обычно имеющему место перекосу устройства и, следовательно, вызывает нарушение баланса при его работе.
В другом типе известных роторных устройств используются пальцы, проходящие через пазы, при этом взаимное расположение пазов с пальцами таково, что возвратно-поступательное перемещение со скольжением пальцев внутри пазов обеспечивает вращение ротора внутри камеры с эксцентриситетом. Однако такое решение является конструктивно слабым с точки зрения восприятия постоянных напряжений, возникающих в результате вибрации в обычных условиях эксплуатации насосов, компрессоров, расширителей, двигателей и т.п. Пальцы, каждый из которых в течение одного цикла работы ротора принимает на себя полную нагрузку от движущегося ротора, не способны противостоять неоднократному нагружению и могут разрушаться в результате среза.
Что касается двигателей внутреннего сгорания, то в них успешно используется только конструкция ротора, предложенная Ванкелем. Однако даже двигатель Ванкеля имеет тот недостаток, что низкий термодинамический КПД, являющийся результатом вращения трехкулачкового ротора в эпитрохоидальной камере, позволяет использовать этот двигатель только при высоких оборотах и в транспортных средствах с небольшим весом. Степень сжатия является низкой, так как в верхней мертвой точке при достижении максимального сжатия в двигателе форма ротора не повторяет форму эпитрохоидальной камеры, в результате чего между ротором и стенкой камеры остаются два небольших зазора с находящимся в них несжатым топливом. Неспособность ротора обеспечить контакт с камерой особенно заметна на низких оборотах. Герметизация трехкулачкового ротора в камере такой формы также особенно затруднительна.
Во всех роторных устройствах определенное отсутствие термодинамической эффективности обусловлено трудностями в обеспечении хорошей герметизации камеры. Так как во многих известных роторных устройствах сложные по форме роторы при перемещении часто следуют сложной форме камеры, то необходимо, чтобы концевые уплотнения, расположенные на вершинах ротора, меняли свое положение относительно ротора. Во многих случаях при работе ротора нагрузки воспринимаются именно концевыми уплотнениями, что повышает вероятность их износа и возникновения утечек. Применение дополнительных средств, таких как системы зубчатых колес и пазы, увеличивает количество областей, в которых может происходить утечка текучей среды, при этом установка уплотнений может оказаться неэффективной из-за размера и расположения этих дополнительных средств. Очевидно, что чем более сложной является форма ротора и камеры, тем большие трудности возникают при герметизации камеры. Кроме того, более сложные конструкции с большим числом элементов являются более дорогими, и их труднее изготавливать и обслуживать.
Кроме того, часто роторные устройства обладают другими термодинамическими недостатками, связанными с трудностью эффективного охлаждения ротора. Проблемы охлаждения могут, в свою очередь, привести к трудностям при поддержании целостности металла, в особенности металла ротора, который может нагреваться до высоких температур.
Износ деталей устройства и, в частности, средств привода ротора, таких как системы зубчатых колес и системы пазов, является общей проблемой, приводящей к заклиниванию этих устройств. Основная причина этого заключается в том, что во многих конструкциях движущиеся элементы вынуждены воспринимать большие локальные нагрузки, или же воспринимать неравномерные нагрузки, приводящие к неравномерному износу разных зон элемента. Это, в свою очередь, создает дополнительные вибрации, усиливающие износ за счет повышения нагрузок на ослабленные места.
Таким образом, существует необходимость в усовершенствованном роторном устройстве, которое будет обеспечивать высокую термодинамическую эффективность при его использовании в качестве двигателя, создающего такую степень сжатия, которая позволит его использовать в качестве подходящего источника энергии во всех типах транспортных средств. Данное устройство должно обеспечивать экономическую эффективность его производства, обладать хорошими характеристиками герметичности и износостойкости, а также легко воспринимать максимальные нагрузки при работе в качестве насоса, компрессора, двигателя или тому подобного.
Согласно первому объекту настоящего изобретения создано роторное устройство, содержащее: корпус, образующий по существу кольцевую закрытую камеру с внутренней стенкой; двухкулачковый симметричный ротор, вершины которого находятся на его центральной продольной оси, причем ротор установлен с возможностью такого вращения с эксцентриситетом внутри камеры, при котором вершины постоянно касаются внутренней стенки камеры, в результате чего между каждым из кулачков и внутренней стенкой камеры создаются полости последовательно увеличивающегося и уменьшающегося объема, при этом ротор установлен на едином валу, который проходит через противоположные торцы камеры, причем центр вала смещен к центральной оси камеры, при этом на валу установлено первое направляющее средство, представляющее собой блок, предназначенный для осуществления возвратно-поступательного перемещения относительно паза, выполненного в роторе, в результате чего блок и вал обеспечивают вращение с эксцентриситетом ротора; отстоящие впускной и выпускной каналы, предназначенные для подачи и выпуска текучей среды из полостей; и второе направляющее средство, взаимодействующее с первым направляющим средством, для направления ротора и при работе обеспечения постоянного герметичного контакта вершин с внутренней стенкой, в результате чего центр ротора перемещается в камере по круговой траектории, причем центр второго направляющего средства смещен к центральной оси камеры.
Предпочтительно, второе направляющее средство представляет собой направляющие элементы, конструкция которых обеспечивает такие ответные контактные поверхности, что нагрузки, возникающие при контакте этих направляющих элементов, распределяются по этим элементам равномерно.
Предпочтительно, второе направляющее средство содержит: круглый направляющий диск, установленный, по меньшей мере, на одном из торцов кольцевой камеры; и соответствующую круглую выемку на одной стороне ротора для размещения направляющего диска, причем центр этой выемки расположен в центре ротора, а ее размер превышает размер направляющего диска, чтобы обеспечить вращение круглой выемки вокруг направляющего диска.
Предпочтительно, центр направляющего диска смещен относительно центральной оси камеры.
Предпочтительно, центр направляющего диска расположен посередине между центральной осью камеры и осевым центром вала.
Предпочтительно, выполнено два направляющих диска, по одному с каждого торца камеры, причем диски размещены в соответствующих круглых выемках, выполненных на каждой из торцевых поверхностей ротора.
Предпочтительно, паз расположен вдоль продольной оси ротора.
Предпочтительно, геометрическая форма корпуса и ротора может быть рассчитана исходя из диаметра камеры и величины смещения вала относительно центра камеры.
Предпочтительно, центр ротора перемещается по круговой траектории, в результате чего центр траектории смещается на середину между центральной осью камеры и осевым центром вала.
Предпочтительно, вершины ротора снабжены уплотнениями с принудительным смещением, которые установлены в канавках, выполненных в вершинах, постоянно контактирующих с внутренней стенкой камеры.
Предпочтительно, уплотнения представляют собой уплотнения, поджатые пружиной.
Предпочтительно, текучая среда, находящаяся в полостях, проходит в канавки и прижимает уплотнения к внутренней стенке камеры.
Предпочтительно, форма ротора и/или форма камеры изменена для соответствия заданным механическим параметрам.
Предпочтительно, форма направляющего диска и/или круглой выемки изменена для соответствия заданным механическим параметрам.
Предпочтительно, параметры представляют собой увеличение зазоров, изменение скоростей потока или размеры выемки, используемой в виде камеры сгорания.
Предпочтительно, форма камеры выполнена круглой или конхоидальной.
Согласно второму объекту настоящего изобретения создан механизм, содержащий описанное выше роторное устройство, выполняющий подачу, расширение, сжатие или сжигание во внутренней камере текучей среды.
Согласно третьему объекту настоящего изобретения создано роторное устройство, содержащее: корпус, образующий по существу кольцевую закрытую камеру с внутренней стенкой; двухкулачковый симметричный ротор, вершины которого находятся на его центральной продольной оси, причем ротор установлен с возможностью такого вращения с эксцентриситетом внутри камеры, при котором вершины постоянно касаются внутренней стенки камеры, в результате чего между каждым из кулачков и внутренней стенкой камеры создаются полости последовательно увеличивающегося и уменьшающегося объема, при этом ротор установлен на едином валу, который проходит через противоположные торцы камеры, и на котором установлено первое направляющее средство, представляющее собой блок, предназначенный для осуществления возвратно-поступательного перемещения относительно паза, выполненного в роторе, в результате чего блок и вал обеспечивают вращение с эксцентриситетом ротора; отстоящие впускной и выпускной каналы, предназначенные для подачи и выпуска текучей среды из полостей; и второе направляющее средство, взаимодействующее с первым направляющим средством, для направления ротора и при работе обеспечения постоянного герметичного контакта вершин с внутренней стенкой, в результате чего центр ротора перемещается в камере по круговой траектории, при этом второе направляющее средство содержит: круглый направляющий диск, установленный на, по меньшей мере, одном из торцов кольцевой камеры; и соответствующую круглую выемку на одной стороне ротора для размещения направляющего диска, причем центр выемки расположен в центре ротора, а ее размер превышает размер направляющего диска для обеспечения вращения круглой выемки вокруг направляющего диска.
Согласно четвертому объекту настоящего изобретения создано роторное устройство, содержащее: корпус, образующий по существу кольцевую закрытую камеру с внутренней стенкой; двухкулачковый симметричный ротор, вершины которого находятся на его центральной продольной оси, причем ротор установлен с возможностью такого вращения с эксцентриситетом внутри камеры, при котором вершины постоянно касаются внутренней стенки камеры, в результате чего между каждым из кулачков и внутренней стенкой камеры создаются полости последовательно увеличивающегося и уменьшающегося объема, при этом ротор установлен на едином валу, который проходит через противоположные торцы камеры и на котором установлено первое направляющее средство, представляющее собой блок, предназначенный для осуществления возвратно-поступательного перемещения относительно паза, выполненного в роторе, в результате чего блок и вал обеспечивают вращение с эксцентриситетом ротора; отстоящие впускной и выпускной каналы, предназначенные для подачи и выпуска текучей среды из полостей; и второе направляющее средство, взаимодействующее с первым направляющим средством, для направления ротора и при работе обеспечения постоянного герметичного контакта вершин с внутренней стенкой, в результате чего центр ротора перемещается в камере по круговой траектории, при этом второе направляющее средство содержит: круглый направляющий диск, который установлен на, по меньшей мере, одном из торцов кольцевой камеры и центр которого смещен относительно центральной оси камеры; и соответствующую круглую выемку на одной стороне ротора для размещения направляющего диска, причем центр выемки расположен в центре ротора, а ее размер превышает размер направляющего диска для обеспечения ограниченного перемещения ротора на диске.
Согласно пятому объекту настоящего изобретения создано. роторное устройство, содержащее: корпус, образующий по существу кольцевую закрытую камеру с внутренней стенкой; двухкулачковый симметричный ротор, вершины которого находятся на его центральной продольной оси, причем ротор установлен с возможностью такого вращения с эксцентриситетом внутри камеры, при котором вершины постоянно касаются внутренней стенки камеры, в результате чего между каждым из кулачков и внутренней стенкой камеры создаются полости последовательно увеличивающегося и уменьшающегося объема, при этом ротор установлен с использованием системы раздельных валов, включающей в себя первый вал, проходящий через один из торцов камеры, и второй вал, проходящий через другой торец этой камеры, при этом первый вал имеет первый блок, предназначенный для осуществления возвратно-поступательного перемещения относительно первого паза, который расположен вдоль продольной оси ротора, а второй вал имеет второй блок, предназначенный для осуществления возвратно-поступательного перемещения относительно второго паза, расположенного перпендикулярно первому пазу, при этом блоки и валы обеспечивают вращение с эксцентриситетом ротора, в результате чего центр ротора перемещается в камере по круговой траектории, причем нагрузка от ротора последовательно воспринимается каждым блоком и валом; и отстоящие впускной и выпускной каналы, предназначенные для подачи и выпуска текучей среды из полостей.
Предпочтительно, оси первого и второго валов выровнены и смещены друг от друга.
Предпочтительно, осевой центр одного из валов выровнен с центральной осью камеры.
Предпочтительно, центр круговой траектории перемещения ротора смещен к центральной оси камеры.
Предпочтительно, центр круговой траектории расположен посередине между центральной осью камеры и осевым центром вала, который не совпадает с центральной осью.
Согласно шестому объекту настоящего изобретения создан механизм, содержащий роторное устройство согласно первому объекту настоящего изобретения и балансировочное устройство, предназначенное для балансировки перемещения ротора в роторном устройстве.
Предпочтительно, балансировочное устройство совершает два цикла вращения за один оборот ротора.
Далее настоящее изобретение будет описано посредством примера со ссылкой на прилагаемые чертежи, на которых:
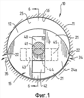
фиг.1 – вид сверху первого варианта роторного устройства, соответствующего настоящему изобретению, когда ротор находится в верхней мертвой точке камеры;
фиг.2 – устройство с фиг.1 в положении, когда ротор смещен на 30° в направлении против часовой стрелки;
фиг.3 – устройство с фиг.1 в положении, когда ротор смещен на 60° в направлении против часовой стрелки;
фиг.4 – устройство с на фиг.1 в положении, когда ротор смещен на 90° в направлении против часовой стрелки;
фиг.5 – устройство с фиг.1 в положении, когда ротор смещен на 135° в направлении против часовой стрелки;
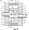
фиг.6 – поперечное сечение первого варианта роторного устройства по линии 6-6 с фиг.1, при этом фиг.1 представляет собой поперечное сечение по линии 1-1 с этого чертежа;
фиг.7 – вид сверху второго варианта роторного устройства, соответствующего настоящему изобретению, когда ротор находится в верхней мертвой точке камеры;
фиг.8 – устройство с фиг.7 в положении, когда ротор смещен на 30° в направлении против часовой стрелки;
фиг.9 – устройство с фиг.7 в положении, когда ротор смещен на 60° в направлении против часовой стрелки;
фиг.10 – устройство с фиг.7 в положении, когда ротор смещен на 90° в направлении против часовой стрелки;
фиг.11 – устройство с фиг.7 в положении, когда ротор смещен на 135° в направлении против часовой стрелки;
фиг.12 – поперечное сечение второго варианта роторного устройства по линии 12-12 с фиг.7, при этом фиг.7 представляет собой поперечное сечение по линии 7-7 с этого чертежа;
фиг.13а – вид в перспективе одного из вариантов ротора роторного устройства, иллюстрирующий форму блока и паза;
фиг.13b – вид в перспективе одного из вариантов геометрической формы блока и паза роторного устройства;
фиг.13с – вид в перспективе другого варианта геометрической формы блока и паза роторного устройства;
фиг.13d – две альтернативных формы камеры, соответствующей вариантам реализации настоящего изобретения;
фиг.14 – поперечное сечение второго варианта роторного устройства, используемого как воздушный компрессор;
фиг.15 – сечение балансировочного груза, показанного на фиг.14;
фиг.16 – вид спереди балансировочного груза;
фиг.17 – график, иллюстрирующий зависимость объема полости от угла поворота вала в одном из вариантов роторного устройства;
и
фиг.18 – вид в увеличенном масштабе вершины ротора на корпусе роторного устройства.
На фиг.1 и 2 показаны два варианта роторного устройства 10, подходящего для использования во множестве областей применения, включая гидравлические насосы, газовые компрессоры, газовые расширители и роторные двигатели. В обоих вариантах устройство 10 содержит ротор, размещенный в закрытой камере, который вращается с эксцентриситетом, что приводит к последовательному увеличению и уменьшению размера закрытых пространств в упомянутой камере, в результате чего происходит всасывание текучей среды в камеру через впускной канал и ее расширение или сжатие, в зависимости от положения впускного и выпускного каналов, а также в зависимости от режима работы этих каналов (т.е. каналы работают как постоянно открытые клапаны, либо как клапаны с изменяющимся с течением времени проходным сечением). После чего упомянутая текучая среда выпускается через выпускной канал.
В обоих вариантах, показанных на чертежах, роторное устройство 10 содержит корпус 11 с по существу кольцевой камерой 12. Камера 12 образована внутренней стенкой 16 камеры и торцевыми крышками 13 корпуса, конструкция которых отличается в разных вариантах (см. фиг.6 и 12). Каждая из торцевых крышек 13 служит опорой для вала, установленного в ней на подшипнике 14. Хотя в описанных здесь вариантах используется один вал с блоком или составной вал, проходящий через обе крышки, понятно, что конструкция ротора, в частности, во втором варианте реализации настоящего изобретения, может быть такой, что данное устройство может успешно функционировать при использовании одного вала с блоком, который проходит только через одну торцевую крышку 13.
Внутри камеры 12 расположен двухкулачковый двояковыпуклый ротор. Ротор симметричен относительно большой продольной оси 20 и перпендикулярной ей малой оси 23. Пересечение большой и малой осей определяет центральную ось 30 ротора. Большая продольная ось 20 ротора проходит через место соединения двух кулачков 21, а именно – через вершины 22 ротора. Два симметричных кулачка 21 проходят вдоль большой оси 20 и сходятся к упомянутым вершинам. Подпружиненные концевые уплотнения (не показаны) проходят от вершин в направлении внутренней стенки 16 камеры и постоянно контактируют с упомянутой стенкой. Использование работающей на сжатие пружины в конструкции концевых уплотнений помогает избежать небольших зазоров между стенкой 16 камеры и вершинами 22 ротора, которые могут быть обусловлены дефектами стенки камеры или ее конструкцией.
Торцевые поверхности 24а и 24b ротора параллельны друг другу и при перемещении ротора движутся в непосредственной близости (с небольшим зазором) к неподвижным торцевым крышкам 13 корпуса 11. Зазор между каждой из торцевых поверхностей и близлежащей торцевой крышкой 13 должен обеспечивать беспрепятственное перемещение ротора, но при этом не допускать утечку текучей среды в пространство между ротором и торцевыми крышками. Перемещению ротора и герметизации зазоров для предотвращения утечки способствует установка уплотнений с боковых сторон ротора и введение смазки между торцевыми крышками 13 и торцевыми поверхностями 24а и 24b.
Ротор способен вращаться внутри камеры 12 с эксцентриситетом, скользя по кругло-конхоидальной траектории таким образом, что вершины постоянно скользят по внутренней стенке 16 камеры и находятся с ней в герметичном контакте, создавая закрытые полости 25 вблизи каждого кулачка 21, которые последовательно увеличиваются и уменьшаются в объеме при каждом обороте ротора 15. Установленные на вершинах концевые уплотнения предотвращают перетекание текучей среды между полостями 25. Изменение объема закрытых полостей 25 является следствием того, что при вращении внутри камеры ротор 15 перемещается по кругло-конхоидальной траектории. То есть центральная ось 30 ротора не остается неподвижной относительно камеры 12, а перемещается по круговой траектории, называемой центроидой 33, имеющей центр 31, который смещен относительно центральной оси 32 камеры.
В первом варианте роторного устройства с раздельными валами, показанном на фиг.1-6, центр 31 находится между осями 46 и 47 соответственно первого вала 41 и второго вала 44. Во втором варианте роторного устройства с прямым валом, показанном на фиг.7-12, центр 31 находится между центральной осью 32 камеры 12 и осью 57 единого вала 50.
Когда центр 31 центроиды ротора смещен относительно центральной оси 32 камеры, ротор скользит и вращается с эксцентриситетом относительно камеры и, таким образом, создает две расположенные друг против друга полости с непрерывно изменяющимися объемами. Сечения, показанные на фиг.2-5 и фиг.8-11, иллюстрируют соответственно геометрическую взаимосвязь элементов первого и второго вариантов реализации настоящего изобретения. В частности, отчетливо видны центроида 33 ротора и ее центр 31.
Здесь рассмотрена по существу кольцевая камера. Хотя кольцевая камера может считаться вполне подходящей, в некоторых зонах она может создавать нежелательную нагрузку на вершины ротора и, в частности, на концевые уплотнения при вращении ротора. Чтобы уменьшить эту нагрузку, камера может иметь некруглое сечение и может быть выполнена такой формы, которая соответствует точной траектории, описываемой вершинами реального ротора, а именно кругло-конхоидальной формы. В данном случае такая форма не будет существенно отличаться от круглой, но, тем не менее, при такой форме камеры нагрузки на концевые уплотнения и проблемы, которые могут возникнуть при наличии изменяющихся нагрузок на концевые уплотнения, могут быть если не преодолены, то, по меньшей мере, практически минимизированы.
На фиг.1 и 7 показаны выходящие на внутреннюю стенку 16 камеры впускной канал 34 и выпускной канал 35, которые расположены на расстоянии друг от друга. Небольшое изменение расстояния между каналами изменяет давление текучей среды в камере и временные характеристики работы устройства, позволяя его применять в различных областях. Любая подобная модификация может определяться в соответствии с желаемым применением данного устройства в качестве двигателя, насоса, компрессора, расширителя и т.п. Хотя допускается, чтобы при открытии одного канала другой канал оставался не полностью закрытым, в общем случае в любой момент времени полость сообщается только с одним каналом.
В процессе работы, если текучая среда не подвергается предварительному сжатию, то она поступает в полость в результате разрежения, обусловленного увеличением размера этой полости, и, следовательно, создания отрицательного градиента давления. Как только полость начинает уменьшаться в размере, впускной канал закрывается, и для выпуска сжатой текучей среды открывается выпускной канал. Данный процесс происходит за половину оборота ротора, и выпуск может рассматриваться как импульс. Таким образом, за один оборот ротора происходит два импульса. В общем случае нет необходимости в применении впускного клапана, так как вакуума, создаваемого при увеличении размера полости, достаточно для всасывания текучей среды. Чтобы предотвратить обратное поступление текучей среды в камеру, в выпускном канале может быть использован обратный клапан.
В ином случае, если текучая среда подвергается предварительному сжатию, то происходит следующее: после поступления в увеличивающуюся в объеме полость заданного количества текучей среды впускной канал закрывается. Давление текучей среды заставляет полость увеличиваться в размере, таким образом, создавая крутящий момент для приведения в движение одного или более валов. Когда полость начинает уменьшаться в размере, открывается канал, который позволяет выпускать увеличенную в объеме текучую среду.
Точность вращения ротора с эксцентриситетом внутри камеры является важной с точки зрения обеспечения скольжения вершин ротора в герметичном контакте с внутренней стенкой камеры и предотвращения утечки текучей среды из полостей 25. Хотя использование в конструкции концевых уплотнений пружин, которые работают на сжатие, допускает определенный диапазон перемещения, при разработке конструкции вершин ротора особое внимание должно быть уделено тому, чтобы вершины скользили по внутренней стенке без существенного трения, то есть только касались этой стенки или находились на расстоянии от нее, но не были прижаты к внутренней стенке, что вызвало бы износ упомянутых вершин. Конструктивные особенности описанных здесь первого и второго вариантов роторного устройства обеспечивают точную траекторию вращения с эксцентриситетом, по которой перемещаются вершины ротора, не создавая существенного трения.
Кроме того, несмотря на вращение с эксцентриситетом находящиеся в контакте элементы тех вариантов устройства, где применяются раздельные валы, позволяют этому устройству равномерно и плавно воспринимать нагрузки, возникающие при вращении ротора. В варианте с прямым валом по существу вся нагрузка воспринимается одним валом с блоком, что устраняет необходимость в использовании сложных опорных конструкций для находящихся в контакте элементов.
Как первый, так и второй варианты устройства содержат ведущие средства или же, в случае использования этого устройства в качестве двигателя или газового расширителя, ведомые средства. Оба варианта также содержат направляющие средства. В первом варианте раздельные валы работают и как ведущие средства, и как направляющие средства. В варианте с прямым валом имеется специальное направляющее средство. В обоих вариантах наличие ведущих/ведомых средств и/или направляющих средств приводит к тому, что центр ротора перемещается в камере по круговой траектории (т.е. по центроиде).
В первом варианте реализации настоящего изобретения, показанном на фиг.1-6 (вариант с раздельными валами), ведущее средство содержит первый и второй узлы, состоящие из блока и вала. Первый прямоугольный блок 40 закреплен на конце первого вала 41 устройства 10 и установлен для возвратно-поступательного перемещения в первом удлиненном пазе 42, выполненном на одной из торцевых поверхностей 24а ротора. Первый паз 42 параллелен малой оси 23 ротора и расположен вдоль этой оси. Ось первого вала 41 проходит через центр 46 (фиг.2). Второй прямоугольный блок 43 установлен на конце второго вала 44 и размещен во втором удлиненном пазе 45 (фиг.2), выполненном на противоположной торцевой поверхности 24b ротора. Второй удлиненный паз расположен под прямым углом к упомянутому первому пазу, то есть расположен вдоль большой оси 20. Центр 47 находится на оси второго вала 44. Как первый, так и второй валы 41 и 44, которые, как упомянуто выше, установлены на подшипниках в торцевых крышках 13 камеры 12, размещены таким образом, что ось одного вала, а именно первого вала 41, совпадает с центральной осью 32 камеры, а ось другого вала, а именно второго вала 44, смещена относительно упомянутой центральной оси 32. Степень смещения зависит от размера камеры, который определяется расстоянием между двумя валами и формой ротора. На сечении устройства, показанном на фиг.6, отчетливо показаны смещенные раздельные валы и расположенные перпендикулярно друг другу пары блок-паз.
При вращении первого или второго валов 41 и 44 или их обоих, ротор 15 приводится во вращение в камере за счет линейного, возвратно-поступательного перемещения пазов относительно соответствующих блоков. Вращение вала (валов) и одновременное взаимодействие раздельных валов, имеющих блоки, заставляет ротор 15 вращаться с эксцентриситетом в камере 12 со скольжением, но при этом управляемым образом, в результате чего вершины ротора перемещаются вдоль внутренней стенки 16 камеры с небольшим зазором.
В результате расположения двух пазов под прямым углом блоки 40 и 43 позиционируют ротор внутри камеры с такой точностью, которая позволяет вершинам 22 при перемещении следовать форме внутренней стенки 16 этой камеры. Что касается кулачков 21, то в процессе вращения они принимают такие положения, что их расстояние относительно близлежащей области внутренней стенки камеры последовательно уменьшается или увеличивается.
На фиг.1-5 показана половина оборота ротора с интервалом сначала 30°, а затем, от фиг.4 к фиг.5 и обратно к фиг.1, с интервалом 45°.
На фиг.1 показано начало оборота, когда произошло всасывание текучей среды в первую закрытую полость 25а и ротор изолировал эту полость как от впускного канала 34, так и от выпускного канала 35. Такое положение ротора соответствует верхней мертвой точке. В частности, первый прямоугольный блок 40 находится у верхнего торца первого паза 42, в то время как второй блок 43 находится по центру второго паза 45, на равном расстоянии от концов этого паза. Взаимное вращение одного или обоих валов 41 и 44 с блоками заставляет пазы скользить относительно соответствующих блоков, что приводит к вращению ротора 15 с эксцентриситетом внутри камеры 12.
На фиг.2-5 показано вращение ротора 15 и возвратно-поступательное перемещение со скольжением первого и второго пазов относительно соответствующих блоков. Для ясности впускной и выпускной каналы на фиг.2-5 не показаны, но можно представить себе, что при возникновении второй закрытой полости 25b в нижней части камеры (см. фиг.2) вблизи второго кулачка 21b текучая среда всасывается во вторую полость 25b через впускной канал под действием разрежения, возникающего в этой увеличивающейся в объеме полости.
Одновременно с этим текучая среда, находящаяся в первой закрытой полости 25а вблизи первого кулачка 21а ротора, принудительно выпускается через выпускной канал 35. Следовательно, при каждом обороте устройство всасывает, сжимает и выбрасывает текучую среду дважды, то есть на один оборот приходится два импульса. Таким образом, процессы, происходящие с одной стороны ротора, идентичны процессам, происходящим с противоположной его стороны, но со смещением фазы 180°.
На фиг.7-12 показан второй вариант реализации настоящего изобретения (вариант с одним валом). Элементы, аналогичные элементам первого варианта реализации настоящего изобретения, обозначены теми же ссылочными позициями. Согласно второму варианту реализации настоящего изобретения роторное устройство содержит один вал 50 с блоком, имеющий продольную ось 57 и проходящий через все устройство от одной торцевой крышки 13 камеры до другой. Единый вал 50 проходит через ротор 15, и с его помощью внутри ротора размещен ведущий блок 51.
В этом варианте реализации настоящего изобретения ведущее средство содержит только ведущий блок 51, размещенный в удлиненном пазу 52 для осуществления возвратно-поступательного перемещения со скольжением. Паз 52 расположен вдоль большой оси ротора и вытянут по его ширине. При вращении вала 50 паз перемещается относительно ведущего блока 51, приводя ротор во вращение с эксцентриситетом внутри камеры. Что касается вала 50, то он смещен относительно центральной оси 32 камеры, чтобы обеспечить смещение ротора относительно этой камеры, в результате чего образуются закрытые полости изменяющегося объема.
Данный вариант роторного устройства включает в себя направляющие средства, обеспечивающие вращение ротора внутри камеры с эксцентриситетом. Направляющее средство содержит два круглых направляющих диска 53, выступающих внутрь камеры 12 от торцевых крышек 13 корпуса. На фиг.12 эти выступающие направляющие диски 53 показаны наилучшим образом. Диски 53 либо могут быть выполнены за одно целое с торцевыми крышками 13, либо могут быть изготовлены отдельно и независимо прикреплены к упомянутым торцевым крышкам. Диски образованы переходом 54, отделяющим эти диски от окружающей каждый из дисков углубленной кольцевой области 55.
На обеих торцевых поверхностях 24а и 24b ротора выполнены круглые выемки 56, соответствующие направляющим дискам 53, но превышающие их по размеру. Круглые выемки 56, расположенные с обоих торцов ротора, предназначены для размещения соответствующего направляющего диска 53, расположенного на близлежащей торцевой крышке 13. Так как круглые выемки 56 по диаметру превышают диски 53, то ротор 15 может перемещаться вокруг дисков, но при этом его смещение ограничено и определяется разницей в диаметрах дисков и круглых выемок. Разница в диаметрах зависит от смещения оси 57 вала 50 относительно центральной оси 32 камеры. Это расстояние, в свою очередь, определяется степенью изменения объема полостей в конкретной области применения. В результате совместного использования смещенного вала и смещения ротора, требующихся для обеспечения непрерывного скольжения вершин вдоль внутренней стенки камеры, центр круглых дисков 53 находится между центральной осью камеры и осью вала 50. Поэтому центр направляющих дисков 53 также смещен относительно центральной оси 32 камеры и, кроме того, совпадает с центром 31 для траектории движения центра ротора. Если говорить более подробно, в результате совместного направляющего действия дисков, находящихся в контакте с выемками, и того, что центры направляющих дисков 53 совпадают с центром 31, вращение ротора происходит без возникновения какой-либо значительной нагрузки на направляющие элементы.
Ограничение в перемещении, устанавливаемое направляющим средством вместе с парой блок-паз, приводит к созданию точной конхоидальной траектории движения вершин ротора, при которой эти вершины, обеспечивая герметичный контакт, постоянно следуют форме внутренней стенки 16 камеры. В действительности траектория, возникающая при естественном перемещении ротора внутри камеры, когда вершины постоянно скользят вдоль ее внутренней стенки, обусловлена конфигурацией совместно действующих направляющих средств. Разумеется, необходимо понимать, что направляющие средства могут функционировать при наличии только одного направляющего диска, а размещение дисков на каждой из торцевых крышек является предпочтительным, так как оно обеспечивает сбалансированное и симметричное перемещение ротора.
На фиг.12 показаны диски 53, размещенные в круглых выемках 56 в роторе. Перемещение ротора ограничивается переходами 54 дисков, упирающимися в стенки круглых выемок.
На фиг.7-11 проиллюстрирована половина оборота ротора с теми же интервалами, которые показаны для первого варианта реализации настоящего изобретения. А именно, на фиг.8, 9, 10 и 11 показан ротор, соответственно повернутый на 30°, 60°, 90° и 135° относительно положения, соответствующего верхней мертвой точке и показанного на фиг.7. Что касается вала 50 с блоком, то можно видеть, что он установлен со смещением относительно центра направляющих дисков 53 и центральной оси 32 камеры 12, чтобы обеспечить требуемую траекторию вращения ротора.
На фиг.8-11 схематично показан ротор 15, поворачивающийся в камере 12, причем такое перемещение обеспечивается при помощи удлиненного паза 52, совершающего возвратно-поступательное перемещение со скольжением относительно вращающегося ведущего блока 51. Дополнительные ограничения на такое перемещение накладываются круглой выемкой 56 в роторе, движение которой ограничивается направляющим диском 53. Как описано выше для первого варианта реализации настоящего изобретения, центр ротора (находящийся на его центральной оси 30) перемещается по центроиде 33 вокруг центра 31. Центр 30 ротора находится в точке пересечения большой и малой осей этого ротора, показанных на фиг.8-11 (это также применимо к фиг.2-5). На фиг.8-11 видно, что при вращении ротора с эксцентриситетом внутри камеры центр 30 ротора движется по траектории 33. Кроме того, можно видеть, что центр центроиды 33 ротора совпадает с центром направляющего диска 53.
Преимущество, получаемое от использования направляющих дисков, состоит в том, что они позволяют прямому валу с блоком проходить через всю камеру от одной торцевой крышки 13 до другой, а также обеспечивают восприятие валом всей нагрузки, возникающей при вращении, при том, что диски работают только в качестве направляющих средств. Это предотвращает какой-либо перекос ротора и уменьшает вибрации в устройстве. В результате конструкция данного устройства является более простой по сравнению с известными, так как не требуется применения работающих в напряженном режиме роликовых подшипников для устранения нарушения соосности вала и люфта, возникающих в результате перекоса роторов. Меньшее количество деталей и более простая конструкция снижают общие затраты на изготовление данного устройства.
В дополнение к этому круглые диски, направляемые при помощи круглых выемок, обеспечивают такую конструкцию, при которой коэффициент износа при взаимодействии ротора и камеры существенно уменьшается, так как нагрузки в контакте между диском и выемкой равномерно распределяются по упомянутым диску и выемке. То есть все точки по окружности направляющего диска 53 подвергаются равномерному износу, и все точки на внутренней периферийной поверхности круглой выемки 56 также подвергаются равномерному износу. Причина заключается в том, что оба элемента имеют контактирующие поверхности, формы которых совпадают, или же являются близкими, а именно – окружностями, вращающимися в окружности большего диаметра. Другими словами, все точки на направляющем диске остаются в контакте с круглой выемкой в течение одинакового количества времени, в результате чего износ уменьшается до пренебрежимо малого уровня, при этом возникающий износ равномерно распределяется по окружности данных элементов. Этого не происходит при использовании пары элементов с отличающейся формой, например цилиндрического элемента в пазу с параллельными стенками, где определенные точки на поверхности элемента или паза контактируют с соответствующими точками на поверхности паза или элемента в течение разных периодов времени, что в конечном итоге приводит к повреждению во время работы.
Как показано на фиг.1-12, иллюстрирующих оба варианта реализации настоящего изобретения, пары блок – удлиненный паз представляют собой блок, соединенный с валом, который имеет прямоугольную форму и скользит внутри паза соответственно прямоугольной формы. Поверхность блока и внутренняя поверхность паза представляют собой поверхности после механической обработки, которые имеют жесткий допуск, чтобы обеспечить максимальную и плавную передачу энергии от вращающегося вала. Внутренняя поверхность паза может иметь специальное покрытие, уменьшающее трение.
Установленный на валу блок и паз, имеющий соответствующую опорную поверхность, на фиг.13а показаны в том виде, как они расположены в роторе. Однако нет необходимости в том, чтобы блок и опорная поверхность паза имели прямоугольную форму, и они могут иметь другую, соответствующую друг другу форму. Например, на фиг.13b и 13с показаны соответственно сочетания вал с блоком/опорная поверхность паза, имеющие цилиндрическую и шестиугольную форму. В этих вариантах реализации настоящего изобретения вал 71 проходит через блок 72, который скользит в пазе ротора по опорной поверхности 73, имеющей соответствующую форму. Пара блок-паз может быть выполнена любой геометрической формы, при условии, что опорные поверхности представляют собой совпадающие поверхности, прошедшие механическую обработку, которые в любой момент времени обеспечивают постоянный и равномерный скользящий контакт. Форма пары блок-паз может выбираться таким образом, чтобы лучше соответствовать возможностям производства и/или ограниченности пространства в роторном устройстве в различных областях применения.
Кроме того, близкая к круглой форма устройства является оптимальной для ряда механизмов. Однако форма устройства может быть модифицирована, если ее модификация в большей степени подходит для конкретного механизма. Конхоидальная траектория, описываемая ротором, и соответствующая форма камеры являются результатом комбинации влияния, оказываемого в качестве направляющих средств смещенным валом и блоком, расположенным в соответствующем пазу, и (во втором варианте реализации настоящего изобретения) круглыми дисками, расположенным на торцах крышек камеры, которые размещены в соответствующих выемках, выполненных на торцевых поверхностях ротора. Изменение формы любого из этих элементов приводит к изменению характера перемещения и формы траектории. Форма ротора и форма корпуса также могут быть модифицированы, чтобы лучше отвечать конкретному назначению.
Например, корпус может быть выполнен круглой или конхоидальной формы. Конхоидальная форма корпуса выбирается для того, чтобы более полно соответствовать траектории движения вершин ротора при их скольжении вдоль внутренней стенки камеры. Такая форма обеспечивает минимальный зазор между вершинами ротора и стенкой камеры в любой точке. На фиг.13d показан профиль 77 конхоидальной камеры, наложенный на профиль 78 кольцевой камеры. Хотя конхоидальный профиль является по существу кольцевым, различия в данных профилях очевидны. Другие модификации включают изменения формы торцевых крышек корпуса и формы торцевых поверхностей ротора. Такие модификации могут более полно отвечать назначению механизма, содержащего роторное устройство и могут, например, оптимизировать нагрузки на опорные поверхности, приводить к увеличению зазора, изменению скоростей потока, оптимизировать временные характеристики работы каналов, обеспечивать использование размещенных в углублениях камер сгорания и т.п.
В отличие от многих известных роторных устройств оба варианта предлагаемого устройства легко выдерживают нагрузки и имеют хорошую сбалансированность, так как все нагрузки, возникающие при вращении, равномерно распределяются по ведущим средствам. Чтобы дополнительно снизить вибрации до пренебрежимо малого уровня, для эффективной балансировки ротора можно использовать вращающиеся противовесы. Вибрации ротора возникают из-за того, что центр масс ротора совершает два оборота за каждый оборот ротора. Чтобы противодействовать этой вибрации, применяется балансировочное устройство, вращающееся с той же скоростью и с тем же количеством оборотов, что и центр масс ротора, а именно совершающее два оборота при одном обороте ротора и вала. Этого можно достичь, используя систему зубчатых колес с передаточным отношением 1:2.
Балансировочное устройство показано на фиг.14-16, которые иллюстрируют вариант роторного устройства 10 с прямым валом, работающего в качестве воздушного компрессора. В воздушном компрессоре, показанном на фиг.14, роторное устройство 10 приводится в действие ведущим валом 90 и ограничено боковыми крышками 91. Ведущий вал 90 вращается на основном подшипнике 98, а ротор 93 скользит относительно ведущего вала 90 на подшипнике скольжения 99. Ротор 93 размещен в корпусе 92 роторного устройства, который содержит охлаждающие ребра 94, выступающие из корпуса снаружи в радиальном направлении. Кольцедержатель 95 расположен в круглых выемках 96, выполненных в роторе 93, и предназначен для размещения утопленных подшипников (кольцевых) и маслосъемных колец. Маслосъемные кольца используются для предотвращения поступления охлаждающего масла из внутренних полостей ротора в камеру сжатия, выполняя ту же функцию, которую они выполняют в поршневых двигателях или роторно-поршневых двигателях Ванкеля. Кольцедержатели вращаются вокруг дисков, задавая траекторию перемещения ротора вместе с парой блок вала – паз ротора. Выемки 96 в роторе с установленными в них кольцедержателями вращаются вокруг неподвижных направляющих дисков 97.
Балансировочное устройство содержит балансировочный груз 63, в котором выполнено отверстие 67, позволяющее устанавливать этот груз при помощи подшипника на валу 50 ротора для его вращения вокруг упомянутого вала таким образом, что он совершает два оборота при каждом обороте вала 50. На фиг.16 видно, что основная масса балансировочного груза 63 находится ниже отверстия 67, и этот груз имеет полукруглую форму.
Балансировочный груз 63 прикреплен винтами к зубчатому колесу 68 для груза, которое также установлено на подшипнике для вращения на валу со скоростью, в два раза превышающей скорость вала. Зубчатое колесо 68 для груза приводится в действие соответственно большой и малой шестернями 64а и 64b. Большая и малая шестерни установлены соосно на ведомом валу 65. Большая шестерня 64а по размеру в два раза больше малой шестерни 64b, и вместе они обеспечивают передаточное отношение 1:2, необходимое для приведения балансировочного груза во вращение с той же скоростью, что и центр масс ротора. Малая шестерня 64b приводится в действие ведущей шестерней 66, которая установлена на валу 50 ротора и вращается вместе с ним.
Приведение в действие балансировочного груза 63 таким способом позволяет ему вращаться в унисон и противодействовать неуравновешенным силам, создаваемым центром масс ротора 15. С точки зрения использования роторного устройства в качестве воздушного компрессора, балансировочное устройство в действительности требуется только для воздушных компрессоров с большим рабочим объемом, где вибрации являются значительными. Воздушные компрессоры, имеющие небольшую производительность, например ниже 300 см3 за один цикл, обычно не имеют значительной вибрации.
Решение об использовании балансировочных устройств дополнительно зависит от массы ротора и его материалов. Более легкий ротор с меньшей вероятностью будет создавать значительную вибрацию, чем более тяжелый ротор.
Однако в общем случае вибрация, создаваемая предлагаемым роторным устройством, является низкой по сравнению с другими типами роторных устройств. В данном устройстве можно легко достичь превосходного баланса. Это связано с тем, что эксцентриситет перемещения центра масс ротора является очень низким по сравнению, например, с данной характеристикой для поршня в цилиндре, имеющем аналогичную емкость.
Геометрия роторных устройств такова, что она уменьшает вибрацию устройства, снижает износ, устраняет области высоких механических напряжений и в целом продлевает срок службы устройства. Кроме того, при использовании варианта с прямым валом устройство содержит только два важных рабочих элемента внутри камеры, а именно паз, скользящий относительно блока, и выемки, перемещающиеся вокруг неподвижных дисков, что уменьшает сложность данного устройства.
Геометрические формы корпуса и ротора могут быть рассчитаны для достижения оптимального эффекта в зависимости от области применения роторного механизма на основе анализа кинематики роторных устройств.
При анализе кинематики роторного устройства могут быть получены математические уравнения, описывающие и таким образом позволяющие реализовать на практике геометрию ротора и корпуса. Такие математические уравнения могут быть заложены в компьютерную программу, которая рассчитывает координаты, необходимые для изготовления ротора и корпуса. Геометрические формы могут быть вычислены, используя, по меньшей мере, требуемые значения максимального радиуса камеры и величины смещения первого вала относительно центра корпуса. При проведении геометрических вычислений может также учитываться требуемый зазор между ротором и корпусом.
Отличительной особенностью данного роторного устройства является то, что оно работает в гармоническом цикле, при котором объем обрабатываемой порции является простой синусоидальной функцией угла поворота вала . В математике графическое представление простого колебательного движения, а также движения точки, перемещающейся по окружности, соответствует синусоиде. Простая синусоидальная природа цикла расширения-сжатия, создаваемого роторным устройством, упрощает разработку и анализ механизмов или машин, в состав которых входит предлагаемое устройство. Такие эксплуатационные характеристики, как обрабатываемый объем, давление подачи и крутящий момент, могут быть вычислены как функция угла поворота вала. На фиг.17 показана синусоидальная зависимость объема от угла поворота вала ° для роторного устройства при его использовании в качестве воздушного компрессора. Можно ожидать, что простота устройства и, как следствие, простой гармонический цикл его работы благоприятно отразятся на рабочих характеристиках и эффективности машин, созданных на его основе. Кроме создания уплотнений на вершинах ротора, соответствующие способы обеспечения герметичности применяются к оставшейся части роторного устройства. В варианте с одним валом круглые выемки 56 подходят для размещения масляных уплотнений круглого сечения, которые являются более эффективными с точки зрения герметизации и которые легче устанавливать по сравнению с уплотнениями некруглого сечения. Небольшой размер дисков и соответствующий размер выемок в теле ротора обеспечивают более легкую герметизацию и большую свободу применения устройства в различных областях. Способы обеспечения газонепроницаемости также можно легко использовать в предлагаемом устройстве при его применении в качестве двигателя. Очевидно, что в данной области применения устройства система герметизации вершин и торцевые уплотнения совместно с системой каналов и клапанов способствуют эффективной герметизации камеры для осуществления процессов сгорания топлива.
В случае использования его в качестве воздушного компрессора, в роторном устройстве можно устанавливать простые и недорогие воздушные уплотнения. Уплотнения используются на вершинах, а также на торцевых поверхностях ротора для создания эффективной трехмерной системы уплотнений с целью увеличения термодинамического и эксплуатационного КПД компрессора. Для сравнения, такая степень герметизации не может быть использована в компрессорах винтового и пластинчатого типа, в которых герметичность обеспечивается исключительно за счет очень жестких допусков и заполнения маслом для создания условий герметичности при работе с порциями воздуха.
Эффективная герметизация, используемая в предлагаемом роторном устройстве, позволяет сжимать воздух до очень высоких давлений даже при низких или умеренных скоростях мотора. В дополнение к эффективной герметизации созданию высоких давлений способствует то, что ротор подходит очень близко к корпусу в верхней мертвой точке. Это выгодным образом позволяет обеспечить переменную производительность при изменении скорости и высоких давлениях. Большинство обычных воздушных компрессоров основано на использовании высоких скоростей вращения для сжатия воздуха до высоких давлений.
Однонаправленное перемещение ротора внутри камеры при использовании данного устройства в качестве двигателя позволяет эффективным образом создавать очень высокую турбулентность, необходимую для быстрого и равномерного сгорания воздушно-топливной смеси. Это приводит к низкому уровню выделения выхлопных газов.
Кроме того, чтобы избежать проблем, связанных с проникновением масла в камеру, а также с целью эффективного охлаждения ротора, используются масляные уплотнения, расположенные на торцевых поверхностях ротора. На фиг.14 изображены масляные каналы 69, обеспечивающие поступление масла к поверхностям скольжения и подшипникам на валу и блоке, которые используются для охлаждения данного устройства при его использовании в воздушном компрессоре. Для отделения масла от водно-масляного конденсата в сжатом воздухе в воздушном компрессоре необходимо установить только стандартные масляные и водяные фильтры. Поэтому для успешной работы устройства нет необходимости в том, чтобы такие компоненты как масляный насос, маслоотделитель, фильтры и средства контроля, используемые для смазки и охлаждения ротора, имели сложную конструкцию. Для сравнения, высокая стоимость изготовления сложных средств контроля и системы обработки масла/воздуха для компрессоров винтового и пластинчатого типа повышают их стоимость производства и цену.
Фиг.18 представляет собой вид в увеличенном масштабе подпружиненного уплотнения 80, расположенного в вершине 81 ротора 15. Уплотнения 80 установлены на пружинах 84 внутри продольных канавок 82, которые выполнены с использованием механической обработки в вершинах 81 ротора, и удерживаются в них при помощи дисков 83. В варианте реализации настоящего изобретения, который показан на фиг.18, ротор вращается в направлении по часовой стрелке, и уплотнение 80 контактирует с внутренней поверхностью корпуса. Этот контакт является надежным, так как существует постоянно, и когда при сжатии газ G поступает в канавку, он давит на концевое уплотнение снизу, заставляя его выходить из канавки и контактировать с корпусом. В то же время концевое уплотнение 80 также контактирует с боковой стороной упомянутой канавки, предотвращая протекание текучей среды мимо уплотнения по его периферии и обеспечивая эффективную герметизацию. Этот непрерывный контакт уплотнения с корпусом не только обеспечивает более высокую степень герметизации камеры, но также обуславливает минимальный износ уплотнения и корпуса. При такой конструкции не происходит резкого изменения величины сил, действующих на уплотнение.
“Близкая к кольцевой” конструкция корпуса ротора также способствует эффективной герметизации устройства. Форма корпуса соответствует траектории движения вершины ротора, в результате чего находящееся в вершине уплотнение скользит эффективным образом, не создавая каких-либо отрицательных сил в контакте с корпусом. Положительные силы, создаваемые концевым уплотнением, означают, что в устройстве имеют место пренебрежимо малые потери сжатого воздуха при его работе при любых скоростях двигателя. Для сравнения корпус роторно-поршневого двигателя Ванкеля, который по форме похож на цифру “8”, испытывает воздействие отрицательных сил вблизи от сужения и, как следствие, теряет сжатый воздух в этом месте.
Преимущество, предоставляемое круговым или конхоидальным профилем корпуса, заключается в том, что в нем отсутствуют проблемы, имеющие место в корпусах других роторных устройств, например “следы дребезжания”. Потеря контакта концевых уплотнений в суженой части корпуса двигателя Ванкеля означает, что при восстановлении контакта уплотнения резко ударяют в корпус, создавая эффект, известный как “следы дребезжания”. С предлагаемым роторным устройством этого не происходит, так как уплотнения никогда не теряют контакта с корпусом.
Роторное устройство, используемое в воздушных компрессорах, не содержит всасывающих клапанов, а содержит только всасывающие каналы. Всасывающие каналы всегда находятся в корпусе ротора. Однако установка выпускных клапанов в выпускных каналах может сделать работу компрессора более эффективной. Выпускные каналы могут быть размещены либо в корпусе ротора, либо в каждой из торцевых крышек. С точки зрения обеспечения наилучших эксплуатационных характеристик важно тщательно выбирать расположение выпускных каналов (с клапанами или без) относительно вращающегося ротора. То, что всасывающие каналы постоянно находятся при атмосферном давлении, обеспечивает высокий коэффициент подачи компрессора, чему дополнительно способствует нагнетательная подача, осуществляемая ротором. Одно из преимуществ размещения клапанов в выпускном канале заключается в улучшении охлаждения за счет того, что текучая среда постоянно протекает в одном направлении, и тепло рассеивается в клапанной системе канала.
Симметричность обоих вариантов предлагаемого устройства позволяет ему работать с минимальной вибрацией, при том что силы, возникающие при вращении тела ротора, равномерно распределяются и последовательно воспринимаются всеми точками этого ротора. Другими словами, нет такой области ротора, которая воспринимает большую нагрузку, чем любая другая его область, что привело бы к возникновению зоны концентрации структурных напряжений. Как описано выше, для балансировки ротора и уменьшения вибрации до абсолютного минимума могут быть использованы противовесы, либо применены другие способы уравновешивания.
Роторное устройство находит свое применение во множестве областей, включая гидравлические, вакуумные и масляные насосы, газовые компрессоры и расширители, а также двигатели. Получаемая высокая степень сжатия вместе с небольшим весом и компактностью конструкции обеспечивает существенные преимущества по сравнению с известными устройствами.
Если рассмотреть, например, использование любого из вариантов данного роторного устройства в качестве двигателя внутреннего сгорания, то можно представить, что если ротор находится в верхней мертвой точке, где он смещен по существу на периферию камеры (как показано на фиг.1 и 7), значит ранее был осуществлен впуск, в результате чего в полости имеется воздушно-топливная смесь, которую надо сжать. Данную ситуацию можно считать аналогичной перемещению поршня в направлении верхней мертвой точки в такте сжатия в поршневом двигателе.
Часть периферии ротора может быть удалена для создания камеры, которая, в указанном выше положении, может находиться непосредственно под свечой или другим устройством зажигания. Кроме того, в указанном выше положении либо самим ротором могут быть перекрыты каналы, ведущие во внутреннюю полость камеры, либо могут быть закрыты клапаны, связанные с этими каналами.
При осуществлении зажигания начинают выполняться рабочий такт и такт выпуска, и ротор приводится во вращение. Кулачок ротора, находящийся вблизи внутренней стенки камеры, начинает удаляться от этой стенки из-за перемещения ротора, вызванного процессом сгорания в полости. В это время открывается выпускной канал, и давление газа и несгоревшего топлива в полости обеспечивает эффективный выброс выхлопных газов, которые выходят через выпускной канал.
Использование данного устройства в качестве двухтактного двигателя может стать более эффективным в случае применения отдельного нагнетателя, в предпочтительном случае – роторного нагнетателя. В этом случае впускной канал находится под давлением, в результате чего (при наличии соответствующей системы каналов и клапанов) порция воздушно-топливной смеси может подаваться в камеру без такта впуска, при этом установка такого нагнетателя также способствует полному удалению продуктов сгорания. В этом случае при каждом обороте ротора имеют место два импульса двухтактного источника энергии.
Таким образом, можно видеть, что в двухтактной версии двигатель обладает более высокой эффективностью по сравнению с поршневым двигателем благодаря частоте рабочих тактов.
Кроме того, очевидно, что пазы и кольцевые выемки делают ротор по сути полым, и так как доступ из внутреннего пространства ротора к торцевым крышкам может быть обеспечен через пазы или же через отверстия, например, расположенные вблизи этих пазов, то смазку и охлаждение двигателя, соответствующего настоящему изобретению, можно осуществлять простой подачей масла в центр ротора. В качестве альтернативы можно сделать полым один из валов, в результате чего ротор будет частично или полностью заполняться маслом, и масло может быть удалено через один или оба паза, или через отверстия, и, как следствие, будет происходить хороший перенос тепла от ротора к маслу. Кроме того, направляющие диски и торцевые крышки камеры могут быть снабжены каналами (например, в области подшипников) для слива масла. Масло затем будет поступать в картер или аналогичное устройство. Может также оказаться предпочтительной установка радиатора для охлаждения этого масла либо на входе, либо на выходе картера. Из картера масло может откачиваться для осуществления его рециркуляции. Когда масло проходит вдоль торцевых поверхностей ротора, оно также обеспечивает смазку уплотнений.
Чтобы обеспечить эффективность смазывания уплотнений, можно применять обычные способы, которые включают использование топливно-масляной смеси для введения масла в камеру сгорания, или способ впрыска масла с контролируемой потерей, при котором масло вводится напрямую в камеру.
Геометрия предлагаемого устройства такова, что оно обладает большой площадью поверхности, которая обеспечивает эффективное рассеивание тепла и улучшенные характеристики охлаждения. Это оказывается чрезвычайно выгодным с точки зрения общей эффективности работы устройства, в частности при его работе на открытом воздухе, например в качестве воздушного компрессора, имеющего охлаждающие ребра.
Хотя выше были рассмотрены рабочие элементы роторного двигателя, не вдаваясь в подробное описание механизма и работы, очевидно, что эта же конструкция может быть одинаково успешно использована в качестве объемного насоса. Если объем полости между ротором и стенкой камеры увеличивается, когда вершина ротора проходит мимо впускного канала, текучая среда, находящаяся в этом канале, будет всасываться в камеру. При последующем вращении, когда кулачок ротора перемещается ближе к внутренней стенке камеры, давление в текучей среде возрастает, и она может подаваться под давлением из выпускного канала, который размещен должным образом. Опять-таки следует отметить, что при работе в качестве насоса на каждый оборот ротора приходится два импульса подачи текучей среды, что повышает эффективность этого устройства как насоса.
Очевидно, как кратко упоминалось ранее, что конкретное расположение каналов и клапанов (если таковые имеются) и, разумеется, типы клапанов могут существенно меняться в зависимости от того, используется ли данное устройство как роторный двигатель или как насос, и от конкретных условий его работы, а также от используемой текучей среды.
Кроме того, если данное устройство используется в качестве роторного двигателя, то в зависимости от расчетной скорости вращения двигателя расположение каналов будет выбираться таким образом, чтобы обеспечить наиболее эффективный впуск и выпуск при требуемой скорости работы.
Роторное устройство успешно работает при использовании почти всех типов соответствующих материалов. Оно не требует применения сложных процессов при изготовлении корпуса или какой-либо финишной обработки. Устройство без проблем можно изготовить из таких материалов, как чугун. Если вес является значимым фактором, то более предпочтительными являются более легкие материалы и композиты.
Для управления этим устройством и его эксплуатации не требуется сложных электронных средств управления. Что касается компрессоров, то во многих известных машинах используются контрольные и рабочие средства управления для контроля нагрева, содержания влаги, загрязнения воздуха маслом, скорости мотора и подачи воздуха, вибрации, подачи масла, влажности и т.п. В своей простейшей форме предлагаемое устройство, используемое в качестве воздушного компрессора, практически не требует применения ни одного из подобных средств управления, за исключением стандартного реле давления воздуха для отключения питания в определенных условиях нагрузки. Дополнительные средства управления могут быть важны только для больших компрессоров, имеющих более высокую производительность, но любые подобные средства будут стандартными и широко распространенными.
Хотя в данном описании роторное устройство и его работа описаны в наиболее простой форме, понятно, что при его реализации на практике возможны различные изменения, очевидные специалисту в данной области техники.
Кроме того, виды топливных систем, применяемых при использовании этого устройства в качестве роторного двигателя, не описаны, но очевидны специалистам в данной области техники. Например, источником топлива может быть в зависимости от требований либо карбюратор, либо система впрыска топлива.
Выше были описаны некоторые области применения роторного устройства. Теперь рассмотрим более подробно эти и дополнительные примеры.
Роторное устройство находит применение в качестве пневматического двигателя, так как сжатый воздух может быть использован для работы этого устройства как двигателя. Роторное устройство можно применять фактически во всех типах расширителей текучей среды. Они включают двигатели Ренкина, использующие пар или органическую текучую среду, двигатели Стирлинга, регулирующие вентили для жидкого охладителя, воздухоохладители, пневматические стартеры, расширители природного газа, системы очистки от примесей тяжелых металлов и т.п.
Принципы роторного устройства можно использовать в системах любого уровня от микроуровня до макроуровня. На микроуровне предлагаемое роторное устройство обладает превосходными характеристиками для его применения в микромашинах. Например, один и тот же тип роторного устройства может быть использован как для микродвигателя, так и для стандартного полноразмерного двигателя. Его простая геометрия с плоской, а не объемной, конструкцией и небольшое количество деталей (отсутствие зубчатых механизмов) означает, что на микроуровне роторное устройство относительно просто изготовить, и это устройство требует минимального обслуживания при работе. Герметизация ротора эффективна даже на микроуровне, так как контакт вершин ротора с корпусом всегда является принудительным. Эффективная герметизация необходима для высокой производительности. Даже на микроуровне легко достичь высоких степеней сжатия, что обеспечивает эффективное сжатие, зажигание и сгорание при использовании устройства в качестве микродвигателя.
Роторное устройство подходит для работы со многими типами топлива, включая водород и этанол. В качестве двигателя данное устройство может работать при очень низких и очень высоких скоростях.
На макроуровне это роторное устройство можно использовать в качестве двигателя внутреннего сгорания или другого двигателя с расширением текучей среды, который одновременно способен работать как электрический генератор. При установке соответствующих магнитов в роторе и катушек в корпусе такой электрический генератор может быть включен в состав двигателя.
Данное роторное устройство с его потенциалом по созданию высоких степеней сжатия открывает возможности для использования в качестве топлива природного газа и водорода. Роторное устройство обладает значительным потенциалом как водородный двигатель, так как в нем отсутствуют участки местного перегрева и оно характеризуется превосходным охлаждением.
Характеристики охлаждения данного устройства являются следствием следующего: большой величины отношения площади поверхности к объему; того факта, что каждая порция воздуха обрабатывается на всей протяженности внутренней поверхности камеры в корпусе; канал впуска воздуха находится на удалении от выпускных клапанов и постоянно открыт, в результате чего остается ненагретым; при установке клапана на выпускном канале сжатый воздух быстро выпускается в резервуар, чтобы предотвратить утечку или обратное поступление горячего сжатого воздуха в компрессор; внутри вала выполнены тракты подачи масла для дополнительного охлаждения; и в отличие от турбин и винтовых компрессоров данное устройство не перемешивает и не “режет” воздух, что привело бы к появлению кинетической энергии и нагреву воздуха.
Может оказаться очень выгодным применение роторного устройства в качестве нагнетателя в автомобиле.
Специалистам в данной области техники понятно, что может быть осуществлено множество модификаций, которые, однако, не будут выходить за пределы сущности и объема настоящего изобретения.
В приведенной далее формуле изобретения и приведенном выше описании, за исключением случаев, когда в контексте требуется иное с точки зрения определенного стиля или необходимого смысла, слово “содержать” и его производные, например “содержит” или “содержащий”, используется во включительном смысле, т.е. для указания наличия указанных элементов, но не подразумевая исключения наличия или добавления дополнительных элементов в различных вариантах реализации настоящего изобретения.
Формула изобретения
1. Роторное устройство, содержащее корпус, образующий по существу кольцевую закрытую камеру с внутренней стенкой, двухкулачковый симметричный ротор, вершины которого находятся на его центральной продольной оси, причем ротор установлен с возможностью такого вращения с эксцентриситетом внутри камеры, при котором вершины постоянно касаются внутренней стенки камеры, в результате чего между каждым из кулачков и внутренней стенкой камеры создаются полости последовательно увеличивающегося и уменьшающегося объема, при этом ротор установлен на едином валу, который проходит через противоположные торцы камеры, причем центр вала смещен к центральной оси камеры, при этом на валу установлено первое направляющее средство, представляющее собой блок, предназначенный для осуществления возвратно-поступательного перемещения относительно паза, выполненного в роторе, в результате чего блок и вал обеспечивают вращение с эксцентриситетом ротора, отстоящие впускной и выпускной каналы, предназначенные для подачи и выпуска текучей среды из полостей, и второе направляющее средство, взаимодействующее с первым направляющим средством, для направления ротора и при работе обеспечения постоянного герметичного контакта вершин с внутренней стенкой, в результате чего центр ротора перемещается в камере по круговой траектории, причем центр второго направляющего средства смещен относительно центральной оси камеры.
2. Роторное устройство по п.1, в котором второе направляющее средство представляет собой направляющие элементы, конструкция которых обеспечивает такие ответные контактные поверхности, что нагрузки, возникающие при контакте этих направляющих элементов, распределяются по этим элементам равномерно.
3. Роторное устройство по п.1 или 2, в котором второе направляющее средство содержит круглый направляющий диск, установленный, по меньшей мере, на одном из торцов кольцевой камеры, и соответствующую круглую выемку на одной стороне ротора для размещения направляющего диска, причем центр этой выемки расположен в центре ротора, а ее размер превышает размер направляющего диска, чтобы обеспечить вращение круглой выемки вокруг направляющего диска.
4. Роторное устройство по п.3, в котором центр направляющего диска смещен относительно центральной оси камеры.
5. Роторное устройство по п.4, в котором центр направляющего диска расположен посередине между центральной осью камеры и осевым центром вала.
6. Роторное устройство по п.3, в котором выполнено два направляющих диска, по одному с каждого торца камеры, причем диски размещены в соответствующих круглых выемках, выполненных на каждой из торцевых поверхностей ротора.
7. Роторное устройство по п.1, в котором паз расположен вдоль продольной оси ротора.
8. Роторное устройство по п.1, в котором геометрическая форма корпуса и ротора может быть рассчитана, исходя из диаметра камеры и величины смещения вала относительно центра камеры.
9. Роторное устройство по п.1, в котором центр ротора перемещается по круговой траектории, в результате чего центр траектории смещается на середину между центральной осью камеры и осевым центром вала.
10. Роторное устройство по п.1, в котором вершины ротора снабжены уплотнениями с принудительным смещением, которые установлены в канавках, выполненных в вершинах, постоянно контактирующих с внутренней стенкой камеры.
11. Роторное устройство по п.10, в котором уплотнения представляют собой уплотнения, поджатые пружиной.
12. Роторное устройство по п.10, в котором текучая среда, находящаяся в полостях, проходит в канавки и прижимает уплотнения к внутренней стенке камеры.
13. Роторное устройство по п.1, в котором форма ротора и/или форма камеры изменена для соответствия заданным механическим параметрам.
14. Роторное устройство по п.3, в котором форма направляющего диска и/или круглой выемки изменена для соответствия заданным механическим параметрам.
15. Роторное устройство по п.13 или 14, в котором параметры представляют собой увеличение зазоров, изменение скоростей потока или размеры выемки, используемой в виде камеры сгорания.
16. Роторное устройство по п.13, в котором форма камеры выполнена круглой или конхоидальной.
17. Механизм, содержащий роторное устройство по п.1, выполняющий подачу, расширение, сжатие или сжигание во внутренней камере текучей среды.
18. Роторное устройство, содержащее корпус, образующий по существу кольцевую закрытую камеру с внутренней стенкой, двухкулачковый симметричный ротор, вершины которого находятся на его центральной продольной оси, причем ротор установлен с возможностью такого вращения с эксцентриситетом внутри камеры, при котором вершины постоянно касаются внутренней стенки камеры, в результате чего между каждым из кулачков и внутренней стенкой камеры создаются полости последовательно увеличивающегося и уменьшающегося объема, при этом ротор установлен на едином валу, который проходит через противоположные торцы камеры и на котором установлено первое направляющее средство, представляющее собой блок, предназначенный для осуществления возвратно-поступательного перемещения относительно паза, выполненного в роторе, в результате чего блок и вал обеспечивают вращение с эксцентриситетом ротора, отстоящие впускной и выпускной каналы, предназначенные для подачи и выпуска текучей среды из полостей, и второе направляющее средство, взаимодействующее с первым направляющим средством, для направления ротора и при работе обеспечения постоянного герметичного контакта вершин с внутренней стенкой, в результате чего центр ротора перемещается в камере по круговой траектории, при этом второе направляющее средство содержит круглый направляющий диск, установленный на, по меньшей мере, одном из торцов кольцевой камеры, и соответствующую круглую выемку на одной стороне ротора для размещения направляющего диска, причем центр выемки расположен в центре ротора, а ее размер превышает размер направляющего диска для обеспечения вращения круглой выемки вокруг направляющего диска.
19. Роторное устройство, содержащее корпус, образующий по существу кольцевую закрытую камеру с внутренней стенкой, двухкулачковый симметричный ротор, вершины которого находятся на его центральной продольной оси, причем ротор установлен с возможностью такого вращения с эксцентриситетом внутри камеры, при котором вершины постоянно касаются внутренней стенки камеры, в результате чего между каждым из кулачков и внутренней стенкой камеры создаются полости последовательно увеличивающегося и уменьшающегося объема, при этом ротор установлен на едином валу, который проходит через противоположные торцы камеры, и на котором установлено первое направляющее средство, представляющее собой блок, предназначенный для осуществления возвратно-поступательного перемещения относительно паза, выполненного в роторе, в результате чего блок и вал обеспечивают вращение с эксцентриситетом ротора, отстоящие впускной и выпускной каналы, предназначенные для подачи и выпуска текучей среды из полостей, и второе направляющее средство, взаимодействующее с первым направляющим средством, для направления ротора и при работе обеспечения постоянного герметичного контакта вершин с внутренней стенкой, в результате чего центр ротора перемещается в камере по круговой траектории, при этом второе направляющее средство содержит круглый направляющий диск, который установлен на, по меньшей мере, одном из торцов кольцевой камеры и центр которого смещен относительно центральной оси камеры, и соответствующую круглую выемку на одной стороне ротора для размещения направляющего диска, причем центр выемки расположен в центре ротора, а ее размер превышает размер направляющего диска для обеспечения ограниченного перемещения ротора на диске.
20. Роторное устройство, содержащее корпус, образующий по существу кольцевую закрытую камеру с внутренней стенкой, двухкулачковый симметричный ротор, вершины которого находятся на его центральной продольной оси, причем ротор установлен с возможностью такого вращения с эксцентриситетом внутри камеры, при котором вершины постоянно касаются внутренней стенки камеры, в результате чего между каждым из кулачков и внутренней стенкой камеры создаются полости последовательно увеличивающегося и уменьшающегося объема, при этом ротор установлен с использованием системы раздельных валов, включающей в себя первый вал, проходящий через один из торцов упомянутой камеры, и второй вал, проходящий через другой торец этой камеры, при этом первый вал имеет первый блок, предназначенный для осуществления возвратно-поступательного перемещения относительно первого паза, который расположен вдоль продольной оси ротора, а второй вал имеет второй блок, предназначенный для осуществления возвратно-поступательного перемещения относительно второго паза, расположенного перпендикулярно первому пазу, при этом блоки и валы обеспечивают вращение с эксцентриситетом ротора, в результате чего центр ротора перемещается в камере по круговой траектории, причем нагрузка от ротора последовательно воспринимается каждым блоком и валом, и отстоящие впускной и выпускной каналы, предназначенные для подачи и выпуска текучей среды из полостей.
21. Роторное устройство по п.20, в котором оси первого и второго валов выровнены и смещены друг от друга.
22. Роторное устройство по п.21, в котором осевой центр одного из валов выровнен с центральной осью камеры.
23. Роторное устройство по п.20, в котором центр круговой траектории перемещения ротора смещен к центральной оси камеры.
24. Роторное устройство по п.23, в котором центр круговой траектории расположен посередине между центральной осью камеры и осевым центром вала, который не совпадает с центральной осью.
25. Механизм, содержащий роторное устройство по п.1 и балансировочное устройство, предназначенное для балансировки перемещения ротора в роторном устройстве.
26. Механизм по п.25, в котором балансировочное устройство совершает два цикла вращения за один оборот ротора.
РИСУНКИ
|
|