|
|
(21), (22) Заявка: 2006141103/03, 20.11.2006
(24) Дата начала отсчета срока действия патента:
20.11.2006
(43) Дата публикации заявки: 27.05.2008
(46) Опубликовано: 27.05.2009
(56) Список документов, цитированных в отчете о поиске:
SU 417612 А, 23.07.1974. SU 8459615 А, 05.09.1981. SU 1250910 A2, 15.08.1986. SU 1408059 A1, 07.07.1988. SU 1756768 A1, 23.08.1992. RU 2007561 C1, 15.02.1994. RU 2086928 C1, 10.08.1997. RU 2095564 C1, 10.11.1997. RU 2097552 C1, 27.11.1997. RU 2115892 C1, 20.07.1998. RU 2203397 C2, 27.04.2003. RU 2232268 C1, 10.07.2004. US 4801936 A, 31.01.1989. GB 1090652 A, 15.11.1967. DE 3443135 A1, 28.05.1986.
Адрес для переписки:
450077, г.Уфа, ул. Чернышевского, 145, УГАЭС, патентный отдел, Л.И. Каралкиной
|
(72) Автор(ы):
Шаньгин Евгений Сергеевич (RU), Фалин Вячеслав Владимирович (RU)
(73) Патентообладатель(и):
Государственное образовательное учреждение высшего профессионального обучения Уфимская государственная академия экономики и сервиса (ГОУВПО УГАЭС) (RU)
|
(54) СПОСОБ ИЗМЕРЕНИЯ УРОВНЯ СКВАЖИННОЙ ЖИДКОСТИ И РАЗДЕЛА ДВУХ СРЕД С РАЗЛИЧНОЙ ПЛОТНОСТЬЮ
(57) Реферат:
Изобретение относится к измерительной технике и может быть использовано для замера уровня нефти и воды в затрубном пространстве глубинно-насосной скважины. Техническим результатом изобретения является повышение точности измерения и расширение функциональных возможностей. Для этого осуществляют спуск измерительного прибора в скважину на тросе и измеряют натяжения и глубины спуска троса. При достижении измеряемых уровней прибор создает динамический рывок троса. При достижении раздела нефти и воды также следует рывок троса. Глубину спуска троса в момент рывков фиксируют на поверхности, определяя таким образом глубину уровня скважинной жидкости и толщину слоя нефти. При этом рывки троса при достижении измерительным прибором измеряемых уровней осуществляют путем последовательного отпускания двух грузов, размещенных в корпусе прибора. Причем отпускание первого груза производят при достижении уровня жидкости, а второго – при достижении раздела нефти и воды. Замок, удерживающий первый груз, отпускает его при воздействии на замок любой жидкости, а замок, удерживающий второй груз, отпускает его при воздействии на замок только воды. Глубина уровня нефти и воды определяется по расстоянию между динамическими рывками при спуске прибора на тросе. 3 ил.
Изобретение относится к измерительной технике и может быть использовано для замера уровня нефти и воды в затрубном пространстве глубинно-насосной скважины.
Известен способ определения уровня жидкости в затрубном пространстве глубинно-насосной скважины путем выпуска с последующим определением объема части газа из затрубного пространства и измерения давления оставшегося в затрубном пространстве скважины газа [Авт. свид. SU 1346774, Е21В 47/12, БИ 39, 1987 г.].
Недостатком известного способа является его сложность, связанная с необходимостью измерения объема выпущенного газа, для этого нужно создать нормальные условия, невысокая точность измерения давления оставшегося в скважине газа, значительный объем вычислений.
Наиболее близким к заявляемому является способ измерения, реализованный в виде устройства для последовательного замера уровня жидкости и определения положения забоя скважины, заключающийся в том, что в скважину опускают трос, к концу которого крепят гирьку, соединенную с поплавком рычажным замком, при соприкосновении поплавка с поверхностью жидкости трос провисает, что фиксируется на поверхности динамометрической системой. После этого гирька отцепляется от поплавка и падает на уровень забоя, что также фиксирует динамометрическая система. По длине троса в моменты ослабления его натяжения определяют глубину уровня жидкости и положения забоя [Авт. свид. SU 417612, Е21В 47/04, БИ 8, 1974 г.].
Недостатками этого способа, принятого в качестве прототипа, являются невысокая точность измерения, обусловленная необходимостью фиксировать момент ослабления натяжения троса, а также недостаточные функциональные возможности, связанные с невозможностью определять уровень раздела двух сред, например воды и нефти.
Задача, на решение которой направлено заявляемое изобретение, – повышение точности измерения и расширение функциональных возможностей.
Поставленная задача решаяется тем, что в способе измерения уровня скважинной жидкости и раздела двух сред с различной плотностью, включающем спуск в скважину на тросе измерительного прибора с нижним грузом с удерживающим замком и измерение натяжения и глубины спуска троса при достижении прибором измеряемых уровней, в отличии от прототипа измерительный прибор оснащают верхним грузом с удерживающим замком, размещают верхний и нижний грузы с удерживающими замками в корпусе измерительного прибора, при достижении уровня скважинной жидкости и при достижении раздела нефти и воды измерительный прибор создает динамические рывки троса путем последовательного опускания и нижнего, и верхнего грузов, при этом удерживающий замок нижнего груза отпускает его при воздействии на удерживающий замок любой жидкости – нефти или воды, а удерживающий замок верхнего груза отпускает его при воздействии на удерживающий замок только воды, в момент рывков фиксируют глубину спуска троса на поверхности, определяя таким образом глубину уровня скважинной жидкости и толщину слоя нефти, при этом избирательную чувствительность верхнего и нижнего удерживающих замков обеспечивают подбором материала элемента замка, удерживающего его в закрытом состоянии.
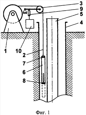
На фиг.1 представлена схема измерения. На фиг.2 показан прибор, реализующий предлагаемый способ. На фиг.3 представлена динамограмма, по которой определяют измеряемые уровни.
На лебедке 1 (фиг.1) намотан трос 2, который через мерный ролик 3 спускается в пространство между обсадной трубой 4 и насосно-компрессорной трубой 5. К концу троса 2 прикреплен измерительный прибор 6, снабженный замками верхнего груза 7 и нижнего груза 8. Рычаг мерного ролика 3 опирается на датчик натяжения троса 9, соединенный с динамометром 10. В измерительном приборе 6 помещены верхний груз 11 и нижний груз 12 (фиг.2).
Измерение уровней жидкости и раздела «нефть-вода» производится следующим образом.
Снаряженный измерительный прибор 6 опускают в межтрубное пространство на тросе 2. С помощью измерительного ролика 3 производят измерение глубины спуска троса. Замок нижнего груза 8 отпускает груз 12 тогда, когда пересекает границу раздела «газ-жидкость». Груз 12 падает под воздействием гравитации, его соединительные элементы (например, штифты) скользят по продольному пазу в корпусе прибора 6 (фиг.1). Ударившись о нижний уровень паза, груз 12 резко дергает трос 2. Рывок фиксируется через датчик 9 динамометром 10. Одновременно фиксируется глубина спуска троса 2 мерным роликом 3. При дальнейшем спуске прибора 6 на тросе 2 преодолевается слой нефти и соприкосновение верхнего замка 7 груза 11 приводит к освобождению груза 11, который падает вниз и ударяется о верхний торец груза 12. Динамометр 10 и мерный ролик 3 фиксируют глубину спуска троса 2 в момент второго рывка.
Избирательная чувствительность замков 7 и 8 обеспечивается подбором материала элемента замка, удерживающего его в закрытом состоянии. Например, нижний замок 8 должен реагировать на любую жидкость – нефть или воду. Тогда удерживающий элемент необходимо выполнить из материалов, чувствительных к обеим жидкостям, например сахар и полистирол. Верхний замок должен реагировать только на воду и не реагировать на нефть. Применяется только сахар или любой водорастворимый материал.
На основании полученных временных засечек компьютером строится динамограмма, на которой отмечается глубина уровня разделов «газ-жидкость» и «нефть-вода» (фиг.3).
По сравнению с приборами аналогичного назначения предложенный способ измерения обладает следующими преимуществами:
– простотой процесса измерения, не требующего спуска в скважину электроных приборов, не требуется электропитания, результаты измерения получаются в режиме реального времени;
– простотой конструкции устройства, реализующего предлагаемый способ, надежностью работы;
– повышенной точностью измерения, составляющего 0,5-0,8 м или погрешностью, не превышающей 0,1%.
Формула изобретения
Способ измерения уровня скважинной жидкости и раздела двух сред с различной плотностью, включающий спуск в скважину на тросе измерительного прибора с нижним грузом с удерживающим замком и измерение натяжения и глубины спуска троса при достижении прибором измеряемых уровней, отличающийся тем, что измерительный прибор оснащают верхним грузом с удерживающим замком, размещают верхний и нижний грузы с удерживающими замками в корпусе измерительного прибора, при достижении уровня скважинной жидкости и при достижении раздела нефти и воды измерительный прибор создает динамические рывки троса путем последовательного отпускания и нижнего и верхнего грузов, при этом удерживающий замок нижнего груза отпускает его при воздействии на удерживающий замок любой жидкости – нефти или воды, а удерживающий замок верхнего груза отпускает его при воздействии на удерживающий замок только воды, в момент рывков фиксируют глубину спуска троса на поверхности, определяя таким образом глубину уровня скважинной жидкости и толщину слоя нефти, при этом избирательную чувствительность верхнего и нижнего удерживающих замков обеспечивают подбором материала элемента замка, удерживающего его в закрытом состоянии.
РИСУНКИ
MM4A – Досрочное прекращение действия патента СССР или патента Российской Федерации на изобретение из-за неуплаты в установленный срок пошлины за поддержание патента в силе
Дата прекращения действия патента: 21.11.2008
Извещение опубликовано: 27.07.2010 БИ: 21/2010
|
|