|
(21), (22) Заявка: 2007143152/03, 21.11.2007
(24) Дата начала отсчета срока действия патента:
21.11.2007
(46) Опубликовано: 27.05.2009
(56) Список документов, цитированных в отчете о поиске:
RU 2295632 С1, 20.03.2007. RU 94021154 А1, 20.08.1996. RU 2253009 С1, 27.05.2005. RU 2182652 С1, 20.05.2002. RU 2170344 С1, 10.07.2001. RU 2170342 С1, 10.07.2001. RU 2182652 С1, 20.05.2002. RU 2270332 С1, 20.02.2006. US 5133410 А, 28.07.1992. US 4784449 А, 29.11.1988. КАЛИНИН А.Г. и др. Бурение наклонных скважин. – М.: Недра, 1990, с.281-282.
Адрес для переписки:
367015, Республика Дагестан, г.Махачкала, пр. имама Шамиля, 70, ГОУ ВПО ДГТУ, отдел интеллектуальной собственности
|
(72) Автор(ы):
Умариев Темирлан Магомедович (RU)
(73) Патентообладатель(и):
ГОСУДАРСТВЕННОЕ ОБРАЗОВАТЕЛЬНОЕ УЧРЕЖДЕНИЕ ВЫСШЕГО ПРОФЕССИОНАЛЬНОГО ОБРАЗОВАНИЯ “ДАГЕСТАНСКИЙ ГОСУДАРСТВЕННЫЙ ТЕХНИЧЕСКИЙ УНИВЕРСИТЕТ” (ДГТУ) (RU)
|
(54) СПОСОБ РАЗРАБОТКИ УГЛЕВОДОРОДНОЙ ЗАЛЕЖИ
(57) Реферат:
Изобретение относится к нефтедобывающий промышленности, в частности к способам разработки углеводородных залежей. Обеспечивает повышение эффективности способа при его реализации на слоисто-неоднородных пластах с низкопроницаемым прослоем в верхней части и высокопроницаемым в нижней, за счет интенсификации выработки нефти из высокопроницаемого прослоя. Сущность изобретения: способ включает разбуривание залежи по всему разрезу вертикальными добывающими и нагнетательными скважинами, закачку воды через нагнетательные и отбор нефти через добывающие. Согласно изобретению залежь дополнительно разбуривают горизонтальной скважиной, вытянутой между добывающей и нагнетательной скважинами, которую размещают в низкопроницаемом прослое ближе к кровле. Разработку залежи осуществляют поэтапно. На первом этапе в водонагнетательных скважинах вскрывают только нижнюю высокопроницаемую часть пласта, в которую производят закачку воды, а в добывающих – верхнюю низкопроницаемую, через которую производят отбор нефти. Закачку-отбор производят до полного заводнения высокопроницаемой части сплошного водяного зеркала. После этого переходят ко второму этапу разработки, на котором пускают в эксплуатацию на нефть горизонтальные скважины и продолжают закачку воды в высокопроницаемую часть пласта. При этом добывающие скважины прекращают эксплуатировать на нефть и вскрывают их в нижней высокопроницаемой части, через которую начинают закачку воды. 2 з.п. ф-лы, 1 ил.
Изобретение относится к нефтегазодобывающей промышленности, в частности к способам разработки углеводородных залежей.
Известен способ разработки углеводородной залежи, включающий разбуривание залежи нагнетательными и добывающими скважинами, закачку воды через нагнетательные и добычу нефти через добывающие /1/.
Недостатком способа является низкий коэффициент извлечения нефти, поскольку способ не предусматривает мер по снижению остаточного целикообразования.
Наиболее близким к предлагаемому является выбранный в качестве прототипа способ разработки углеводородной залежи, включающий разбуривание залежи нагнетательными и добывающими скважинами закачку воды через нагнетательные и добычу нефти через добывающие /2/.
Недостатком известного способа является то, что в условиях слоисто-неоднородного пласта, когда верхняя часть пласта имеет худшие фильтрационно-емкостные характеристики по сравнению с нижней, в ней остается остаточный целик нефти, выработка которого происходит крайне медленно и при высокой обводненности добываемой продукции. Подтверждением этому являются поставленные ранее /3, 4/ и приведенные в материалах заявки результаты эксперимента.
Целью изобретения является повышение эффективности способа при его реализации на слоисто-неоднородных пластах с низкопроницаемым прослоем в верхней части и высокопроницаемым в нижней. Поставленная цель достигается за счет интенсификации выработки нефти из низкопроницаемого прослоя.
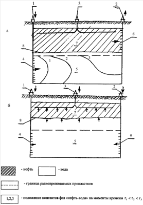
Реализация способа проясняется на чертеже. Залежь разбуривают нагнетательными 1 и добывающими 2 и горизонтальными 3 скважинами. Нагнетательные скважины 1 вскрывают перфорацией 4 в высокопроницаемой части 5 пласта, а добывающие скважины 2 с перфорацией 6 в низкопроницаемой части 7 пласта. Таким образом, закачка воды осуществляется через интервалы 4, а отбор нефти через интервалы 6. Такая технология обеспечивает, как это видно из результатов наблюдений в /3, 4/, которые приведены в материалах заявки, образование сплошного водяного зеркала 8 вдоль горизонтального контакта «нефть-вода» по напластованию.
В свою очередь образование сплошного водяного зеркала вдоль горизонтального контакта «нефть-вода» в дальнейшем, при субвертикальном вытеснении нефти водой, обеспечивает достижение максимального коэффициента охвата. Для реализации этой положительной динамики на втором этапе разработки пускают в эксплуатацию на нефть горизонтальные скважины 3, а в добывающих скважинах 2 вскрывают перфорацией 9 высокопроницаемую часть 5 пласта и начинают закачку через нее воды, а отбор нефти через интервалы 6 прекращают. При этом через нагнетательные скважины 1 продолжают закачку воды в высокопроницаемую часть 5 пласта через интервал перфорации 4.
Величину депрессии на горизонтальной скважине устанавливают из выражения:
Рпл-Рc н·hН,
где (Рпл-Рс) – депрессия, Па,
Рпл – пластовое давление, Па,
Рс – давление на горизонтальной скважине, Па,
н – удельный вес нефти, н/м3,
hН – средняя толщина нефтенасыщенной зоны, м.
Установка величины депрессии из указанного выражения позволяет исключить локальные прорывы воды к интервалу вскрытия добывающей горизонтальной скважины 3.
В результате обеспечивается устойчивое субвертикальное вытеснение нефти водой. Опережающее заводнение низкопроницаемой части с закачкой и отбором через вертикальные скважины избавляет от необходимости бурения дополнительных горизонтальных скважин для заводнения нижней высокопроницаемой части пласта.
Обычная нефтегазодобывающая практика состоит в бурении горизонтальных скважин и в нижней и в верхней частях пласта, заводнении нижней части и отборе нефти – из верхней. В предлагаемом техническом решении опережающее заводнение осуществляется через вертикальные скважины в нижней высокопроницаемой части пласта, что позволит снизить энергетические затраты на обустройство залежи за счет исключения затрат на капитальное строительство дополнительных горизонтальных скважин.
Закачка воды через нагнетательные скважины 1 в нижнюю высокопроницаемую часть пласта и отбор нефти через скважины 2 – из верхней обеспечивает опережающее заводнение первой, ускоряет переход к этапу вертикального вытеснения нефти и сокращает тем самым сроки разработки залежи. Размещения интервалов вскрытия 6 добывающих скважин 2 первоначально в низкопроницаемой части 7 дополнительно к указанному выше обеспечивает предотвращение образования обратного конуса «нефть-в-воду» на линии отбора, нежели в том случае, если бы отбор нефти через скважины 2 (в целях ускорения образования сплошного водяного зеркала) производился бы из нижней высокопроницаемой части пласта.
Двустороннее заводнение нижней высокопроницаемой части пласта через скважины 1 и 2 на втором этапе с одновременным отбором пластовых флюидов по всей длине горизонтальной скважины обеспечивает равномерное поднятие контакта «вода-нефть» и снижает возможность локальных прорывов воды к интервалу отбора. Этому же способствует направление вытеснения вертикально вверх по всей длине пласта.
Изложенное позволяет сделать вывод о соответствии заявляемого технического решения критерию «существенные отличия».
Немаловажное значение имеет также момент перехода от первого этапа разработки ко второму, который определяется следующим образом.
Очевидно, что для обеспечения стабильных эксплуатационных показателей горизонтальной скважины, необходимо иметь характеристики дренируемой зоны, которые не менялись бы в процессе разработки залежи. В случае же реализации предлагаемого способа при переходе контактом «нефть-вода» границы прослоев различной проницаемости могла бы возникнуть необходимость в изменении эксплуатационного режима работы горизонтальной скважины. Для устранения такой необходимости горизонтальные скважины запускают в эксплуатацию после прохождения контактом «нефть-вода» границы разнопроницаемых слоев.
В качестве примера реализации способа приводится элемент разработки со следующими исходными данными:
длина элемента (расстояние между нагнетательной и добывающей скважинами в=500 м;
ширина а=300 м;
толщина низкопроницаемой части h1=10 м;
высокопроницаемой h2=10 м;
пористость первой m1=0,10;
второй m2=0,30;
приемистость нагнетательной скважины Q=100 т/сут;
плотность нефти и воды соответственно н=0,8 г/см2 и в=1,0 г/см2;
коэффициент извлечения нефти КИН=0,5.
Тогда извлекаемые запасы из низкопроницаемой части
Q1= н·a·в·m1·h1·КИН=300·500·0,1·10·0,5·0,8=0,6·105 m
Из высокопроницаемой части
Q2= ·а·в·m2 h2·КИН=300·500·0,3·10·0,5·10·0,8=1,8·105 m, и
Заводнение нижней части произойдет за время

Через это время начинают второй этап разработки.
Приемистости добывающих скважин 2, которые вскрывают во втором этапе в нижней высокопроницаемой части принимают как для скважин 1 Qнаг=100 т/сут, тогда сроки разработки низкопроницаемого верхнего прослоя:

Депрессия на горизонтальной добывающей скважине:
(Pпл-Pc) 0,8·104 н/м3·10 м=0,8·105 Па.
ЛИТЕРАТУРА
1. Коршак А.А. и др. Основы нефтегазового дела, г. Уфа, Дизайнполиграфарвис, 2002 г., с.155.
2. Павленко В.П. Эксплуатация залежей нефти. М., 2003, с.28 (прототип).
3. Умариев Т.М. Исследование структуры пластовых потерь нефти в слоисто-неоднородном пласте. Сборник «Нефтепромысловое дело». М., ВНИИОЭНТ, 1992 г.
4. Еникеев В.Р. Анализ разработки девонских залежей Туймазинского месторождения. Обзорная информация. Серия: «Нефтепромысловое дело», вып.18 (107), М., 1985, с.53.
Формула изобретения
1. Способ разработки углеводородной залежи с верхним низкопроницаемым и нижним высокопроницаемым слоями, включающий разбуривание залежи по всему разрезу вертикальными добывающими и нагнетательными скважинами, закачку воды через нагнетательные и отбор нефти через добывающие, отличающийся тем, что залежь дополнительно разбуривают горизонтальной скважиной, вытянутой между добывающей и нагнетательной скважинами, которую размещают в низкопроницаемом прослое ближе к кровле, а разработку залежи осуществляют поэтапно, при этом на первом этапе в водонагнетательных скважинах вскрывают только нижнюю высокопроницаемую часть пласта, в которую производят закачки воды, а в добывающих – верхнюю низкопроницаемую, через которую производят отбор нефти, причем закачку-отбор производят до полного заводнения высокопроницаемой части сплошного водяного зеркала, после чего переходят ко второму этапу разработки, на котором пускают в эксплуатацию на нефть горизонтальные скважины и продолжают закачку воды в высокопроницаемую часть пласта, при этом добывающие скважины прекращают эксплуатировать на нефть и вскрывают их в нижней высокопроницаемой части, через которую начинают закачку воды.
2. Способ разработки углеводородной залежи по п.1, отличающийся тем, что временным разделом между первым и вторым этапами с образованием водяного зеркала считают момент перемещения сплошного контакта «нефть-вода» выше границы раздела между низко- и высокопроницаемыми слоями.
3. Способ разработки углеводородной залежи по п.1, отличающийся тем, что величину депрессии на горизонтальной скважине устанавливают из выражения Рпл-Рс н·hH где (Рпл-Рс) – величина депрессии, Па; Рпл – пластовое давление, Па; Рс – давление на горизонтальной скважине, Па;
н – удельный вес нефти, н/м; hH – средняя по залежи толщина нефтенасыщенного слоя, м.
РИСУНКИ
|