|
|
(21), (22) Заявка: 2007130562/03, 09.08.2007
(24) Дата начала отсчета срока действия патента:
09.08.2007
(46) Опубликовано: 27.05.2009
(56) Список документов, цитированных в отчете о поиске:
RU 2059061 C1, 27.04.1996. SU 697697 A, 15.11.1979. SU 1783111 A1, 23.12.1992. RU 2007552 C1, 15.02.1994. RU 2185497 C1, 20.07.2002. RU 2282714 C1, 27.08.2006. US 3720262 А, 13.03.1973.
Адрес для переписки:
246050, Республика Беларусь, г.Гомель, а/я 82, С.В. Громыко
|
(72) Автор(ы):
Родионов Вячеслав Иванович (BY), Демяненко Николай Александрович (BY), Пысенков Виктор Геннадьевич (BY)
(73) Патентообладатель(и):
Республиканское унитарное предприятие “Производственное объединение “Белоруснефть” (BY)
|
(54) УСТРОЙСТВО ДЛЯ ГИДРОПЕСКОСТРУЙНОЙ ПЕРФОРАЦИИ СКВАЖИН
(57) Реферат:
Изобретение относится к нефтяной промышленности и может быть использовано при разработке нефтяных месторождений с использованием гидроразрыва пласта. Технический результат – повышение надежности и эффективности работы устройства. Устройство для гидропескоструйной перфорации скважин состоит из корпуса перфоратора с осевым каналом и боковыми отверстиями, в которых закреплены насадки. Сверху к корпусу жестко прикреплена двухступенчатая втулка, расположенная в двухступенчатой муфте. Устройство посредством муфты закреплено на колонне НКТ. Между ступенями втулки и муфты образована кольцевая герметичная полость, заполненная маслом. Снизу к корпусу прикреплен узел центрирующих элементов. Он включает в себя осевой канал с седлом под рабочий шар и сдвоенные вертикальные ребра, в которых выполнены вертикальные пазы. Между каждой парой ребер на осях установлены упругие дугообразные пластины, постоянно контактирующие с обсадной колонной скважины. На концах осей закреплены втулки, размещенные в пазах, которые имеют длину, обеспечивающую перемещение в них втулок на величину удлинения колонны НКТ от пульсаций давления рабочей жидкости. 2 ил.
Изобретение относится к нефтяной промышленности и может быть использовано при разработке нефтяных месторождений с использованием гидроразрыва пласта.
Известен пескоструйный перфоратор [1], состоящий из корпуса с осевым каналом, боковыми отверстиями с расположенными в них насадками, расположенного ниже корпуса хвостовика с центратором.
Недостатком данного перфоратора является то, что центрирующие ребра не удерживают устройство в процессе гидропескоструйной перфорации скважины от поперечных колебаний (поворотов вокруг оси), возникающих от действия пульсаций давления в перфорационной жидкости, и вибраций, обусловленных упругими свойствами колонны НКТ и кривизной скважины. Амплитуда поперечных колебаний во многих случаях больше амплитуды продольных колебаний устройства. Это приводит к нарушению процесса создания перфорационных каналов в стенке скважины из-за непроизводительного действия отклоняемой в поперечном направлении струи перфорационной жидкости, что снижает эффективность работы устройства.
Известно также устройство для гидроразрыва пласта [2], включающее НКТ, перфоратор с перфорационными отверстиями, расположенными в одной вертикальной плоскости, размещенный выше перфоратора на НКТ якорный узел, состоящий из корпуса, установленных в корпусе перпендикулярно его оси поршней, на концах которых имеются упорные элементы в виде салазок.
Недостатком данного устройства является то, что механизм выдвижения центрирующих и стабилизирующих от поворота салазок подвержен абразивному действию перфорационной жидкости, подаваемой под давлением в перфоратор. Это приводит к износу и заклиниванию механизма выдвижения и соответственно к снижению надежности работы устройства. Жесткая связь устройства с НКТ позволяет передавать на механизм стабилизации от поворота значительные нагрузки от поперечных колебаний колонны НКТ, что может приводить к его поломкам и снижению надежности работы. Расположение якорного узла выше перфоратора препятствует также циркуляции перфорационной жидкости, снижая эффективность работы устройства по перфорации скважины.
Наиболее близким по технической сущности и выполняемым функциям к заявляемому изобретению является устройство для гидравлической перфорации скважины [3], включающее корпус перфоратора с осевым каналом, боковыми отверстиями, насадки, помещенные в боковых отверстиях, двухступенчатую втулку, жестко соединенную с корпусом перфоратора выше насадок, узел выдвижных центрирующих элементов, закрепленный на корпусе перфоратора ниже насадок, кольцевую полость, при этом узел выдвижных центрирующих элементов выполнен в виде маслонаполненной камеры с осевым и радиальными каналами, в последних из которых установлены стаканы с прямоугольными стенками внутри и отверстиями на дне, и подпружиненных цилиндров с торцевым буртиком, скобами и роликами между скобами, помещенных в стаканах.
Недостатком данного устройства является то, что стесненные условия скважины и соответственно небольшие поперечные размеры устройства не позволяют изготавливать прочным узел выдвижных центрирующих роликов, испытывающих значительные нагрузки для обеспечения центрирования устройства в скважине, что снижает надежность устройства. Сложная конструкция узла выдвижных центрирующих элементов также снижает надежность работы устройства.
Гашение пульсаций давления и удлинений НКТ для предотвращения разрушения или разгерметизации является актуальной задачей, когда имеет место жесткая фиксация перфоратора, а при свободном его возвратно-поступательном перемещении гашение пульсаций давления снижает надежность и эффективность работы устройства.
Сложное устройство гашения пульсаций давления, работающее в среде высокоабразивной жидкости, снижает надежность работы устройства. Одновременно гашение пульсаций давления перфорационной жидкости отрицательно сказывается на эффективности процесса перфорации скважины, так как пульсации давления создают пульсации скоростного напора струй перфорационной жидкости, истекающей из сопел. Пульсирующие струи перфорационной жидкости увеличивают неравномерность распределения перового давления и напряжений в породе, что приводит к более интенсивному разрушению породы пласта и повышению эффективности процесса перфорации.
Задачей изобретения является повышение надежности и эффективности работы устройства.
Поставленная задача решается за счет того, что в устройстве для гидропескоструйной перфорации обсадной колонны скважин, включающем корпус перфоратора с осевым каналом, боковыми отверстиями, насадки, помещенные в боковых отверстиях, двухступенчатую втулку, жестко соединенную с корпусом перфоратора выше насадок, узел центрирующих элементов, закрепленный на корпусе перфоратора ниже насадок, кольцевую полость, согласно изобретению содержится двухступенчатая муфта, в которой размещена двухступенчатая втулка, кольцевая полость расположена между ступенями муфты и втулки, заполнена маслом и является герметичной, при этом верхняя часть муфты выполнена с возможностью жесткого крепления к колонне насосно-компрессорных труб, узел центрирующих элементов содержит осевой канал и состоит, по меньшей мере, из трех сдвоенных вертикальных ребер с выполненными в них попарно расположенными вертикальными пазами, в которых между ребер на осях посредством втулок с возможностью постоянного контакта с обсадной колонной закреплены упругие пластины, причем длина пазов соизмерима с величиной удлинения колонны насосно-компрессорных труб от пульсации давления рабочей жидкости в ней.
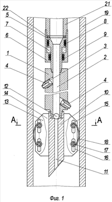
На фиг.1 изображен вертикальный разрез устройства, на фиг.2 – сечение А-А на фиг.1.
Устройство для гидропескоструйной перфорации скважин состоит из корпуса 1 перфоратора с осевым каналом 2 и боковыми отверстиями 3, в которых закреплены насадки 4. Сверху к корпусу 1 жестко прикреплена двухступенчатая втулка 5, расположенная в двухступенчатой муфте 6, при этом между ступенями втулки 5 и муфты 6 образована кольцевая герметичная полость 7, заполненная маслом. Герметичность кольцевой полости 7 обеспечена уплотнительными элементами 8 и 9. Снизу к корпусу 1 прикреплен узел центрирующих элементов 10, включающий осевой канал 11 с седлом под рабочий шар 12 и сдвоенные вертикальные ребра 13 и 14, в которых выполнены вертикальные пазы 15 и 16. Между каждой парой ребер 13 и 14 на осях 17 установлены упругие дугообразные пластины 18, постоянно контактирующие с обсадной колонной 19 скважины. На концах осей 17 закреплены втулки 20, размещенные в пазах 15 и 16. Пазы 15 и 16 имеют длину, обеспечивающую перемещение в них втулок 20 на величину удлинения колонны НКТ 21 от пульсаций давления рабочей жидкости.
Устройство посредством муфты 6 закреплено на колонне НКТ 21. Между торцами втулки 5 и НКТ 21 установлена шайба 22, изготовленная из упругого материала.
Устройство для гидропескоструйной перфорации скважин работает следующим образом.
Устройство на колонне НКТ 21 спускают в интервал перфорации скважины, где оно центрируется ребрами 13 и 14 и упруго контактирующими с обсадной колонной 19 пластинами 18. За счет силы трения, возникающей в зоне контакта с обсадной колонной 19, пластины 18 перемещаются на втулках 20 в пазах 15 и 16 в крайнее верхнее положение. Вес устройства, закрепленного посредством муфты 6 на колонне НКТ 21, воспринимается маслом, заполняющим кольцевую полость 7. Таким образом, устройство висит на масляной подушке. Для компенсации температурного расширения масла, находящегося в кольцевой полости, служит шайба 22.
После спуска устройства, обвязки устья, опрессовки НКТ и восстановления круговой циркуляции сбрасывают рабочий шар 12 в седло узла центрирующих элементов 10. Насосными агрегатами по колонне НКТ 21 прокачивают под давлением рабочую жидкость, которая через насадки 4 направляется на стенки обсадной колонны 19, прорезая ее и образуя перфорационные каналы в породе пласта. При этом колонна НКТ 21 под действием давления рабочей жидкости удлиняется, перемещая устройство в нижнее положение. Пластины 18 на втулках 20 при удлинении колонны НКТ 21 находятся по-прежнему в верхней части пазов 15 и 16.
Насосные агрегаты при подаче рабочей жидкости создают пульсации давления, под действием которых колонна НКТ 21 испытывает продольные и поперечные колебания, передаваемые на жестко закрепленную на ней муфту 6. Под действием продольных колебаний, вызванных удлинением и сжатием колоны НКТ 21, устройство осуществляет возвратно-поступательные перемещения вдоль обсадной колонны, так как перемещения колонны НКТ 21 передаются через несжимаемую маслонаполненную кольцевую полость 7.
Поперечные крутильные колебания колонны НКТ 21, воспринимаемые муфтой 6, вызывают повороты муфты 6 вокруг оси, амплитуда которых зачастую бывает больше амплитуды ее продольных перемещений. Эти повороты передаются на втулку 5 только в виде незначительного по величине момента сил трения между ступенями муфты 6 и втулки 5, причем маслонаполненная полость 7, на которую опирается втулка 5 с закрепленным на ней перфоратором, практически до минимума снижает силы трения. Момент сил трения между ступенями муфты 6 и втулки 5 воспринимается моментом сил трения упругих пластин 18, постоянно контактирующих с обсадной колонной 19, и удерживающим устройство от проворота. Величина сил трения, достаточная для удержания устройства от проворота, определяется жесткостью и упругими свойствами пластин 18, создающих силы прижатия к обсадной колонне 19.
Таким образом, устройство совершает только возвратно-поступательные перемещения вдоль обсадной колонны 19. При этом, как было отмечено выше, при удлинении колонны НКТ 21 пластины 18 на втулках 20 устанавливаются в верхней части пазов 15 и 16. При сокращении длины колонны НКТ 21 пластины 18, прижатые к обсадной колонне 19, за счет сил трения скольжения остаются неподвижными, а устройство свободно перемещается вверх за счет длины пазов 15 и 16, обеспечивающих перемещение устройства относительно пластины 18, закрепленной на осях 17 посредством втулок 20, прокатывающихся в пазах 15 и 16. Трение качения втулок 20 в пазах 15 и 16 значительно ниже трения скольжения пластин 18 по обсадной колонне 19.
Струи перфорационной жидкости, истекающие из насадок устройства, совершают только возвратно-поступательные перемещения вдоль обсадной колонны, прорезают в обсадной колонне щелевой канал увеличенной длины, обеспечивающей как дополнительное снижение сопротивления возвратных потоков, так и увеличение площади фильтрации перфорируемого канала. При этом пульсации давления создают пульсации скоростного напора струй перфорационной жидкости, истекающей из насадок. Пульсирующие струи перфорационной жидкости позволяют более интенсивно разрушать породу пласта и получать более глубокие перфорационные каналы, что увеличивает эффективность работы устройства.
После выполнения щелевых каналов в интервале продуктивного пласта подачу перфорационной жидкости прекращают и подают воду в затрубное пространство для вымыва рабочего шара 12. Затем производят промывку забоя скважины.
Размещение двухступенчатой втулки в муфте с образованием герметичной кольцевой маслонаполненной полости позволило:
– значительно снизить поперечные нагрузки на узел центрирующих элементов от крутильных колебаний колонны НКТ, что повысило надежность работы устройства;
– увеличить пульсации давления рабочей жидкости и амплитуду удлинений колонны НКТ, что повышает эффективность работы устройства за счет пульсирующих струй рабочей жидкости.
Выполнение узла центрирующих элементов с осевым каналом позволило обеспечить восстановление круговой циркуляции жидкости перед работой и промывку скважины после завершения перфорации, что позволило повысить эффективность работы устройства.
Выполнение узла центрирующих элементов, состоящих из сдвоенных вертикальных ребер с выполненными в них вертикальными пазами, в которых между ребер на осях посредством втулок с возможностью постоянного контакта с обсадной колонной закреплены упругие пластины, позволило упростить конструкцию устройства и обеспечить только возвратно-поступательное перемещение перфоратора, что повысило надежность и эффективность работы устройства.
Выполнение длины пазов, соизмеримой с величиной удлинения колонны НКТ от пульсаций давления рабочей жидкости, позволило обеспечить неподвижное положение упругих пластин относительно обсадной колонны в процессе перфорации при возвратно-поступательных колебаниях устройства. Это снижает износ упругих пластин и повышает надежность работы устройства.
Источники информации
1. Временная инструкция по гидропескоструйному методу перфорации и вскрытию пласта. Министерство нефтедобывающей промышленности СССР. Всесоюзный нефтегазовый научно-исследовательский институт. М. 1967 г., с.17-20.
2. RU 2007552 С1, МПК Е21В 43/24, опубл. 15.02.94 г.
3. RU 2059061 С1, МПК Е21В 43/114, опубл. 27.04.946 г.
Формула изобретения
Устройство для гидропескоструйной перфорации скважин, включающее корпус перфоратора с осевым каналом, боковыми отверстиями, насадки, помещенные в боковых отверстиях, двухступенчатую втулку, жестко соединенную с корпусом перфоратора выше насадок, узел центрирующих элементов, закрепленный на корпусе перфоратора ниже насадок, кольцевую полость, отличающееся тем, что содержит двухступенчатую муфту, в которой размещена двухступенчатая втулка, кольцевая полость расположена между ступенями муфты и втулки, заполнена маслом и является герметичной, при этом верхняя часть муфты выполнена с возможностью жесткого крепления к колонне насосно-компрессорных труб, узел центрирующих элементов содержит осевой канал и состоит, по меньшей мере, из трех сдвоенных вертикальных ребер с выполненными в них вертикальными пазами, в которых между ребер на осях посредством втулок с возможностью постоянного контакта с обсадной колонной закреплены упругие пластины, причем длина пазов соизмерима с величиной удлинения колонны насосно-компрессорных труб от пульсации давления рабочей жидкости в ней.
РИСУНКИ
|
|