|
(21), (22) Заявка: 2007138815/03, 18.10.2007
(24) Дата начала отсчета срока действия патента:
18.10.2007
(46) Опубликовано: 27.05.2009
(56) Список документов, цитированных в отчете о поиске:
RU 2004114932 А, 27.10.2005. RU 2068492 С1, 27.10.1996. RU 2129652 С1, 27.04.1999. RU 2114284 С1, 27.06.1998. RU 2120026 С1, 10.10.1998. US 4295795 А, 20.10.1981.
Адрес для переписки:
614107, г.Пермь, ул. Быстрых, 14, кв.115, А.Н. Фоканову
|
(72) Автор(ы):
Курочкин Максим Васильевич (RU), Узбеков Данис Махмудович (RU), Жеребцов Владимир Васильевич (RU), Нагиев Али Тельман Оглы (RU)
(73) Патентообладатель(и):
Общество с ограниченной ответственностью “Позитрон” (RU)
|
(54) СПОСОБ ДОБЫЧИ НЕФТИ
(57) Реферат:
Способ добычи нефти включает подачу химреагента в насосно-компрессорные трубы через каналы погружного насоса с обратным клапаном на выходе. Техническим результатом изобретения является повышение эффективности добычи нефти. При вынужденном отключении погружного насоса добычу нефти продолжают созданием противодавления пластовой жидкости в насосно-компрессорных трубах через каналы погружного насоса с обратным клапаном на выходе закачкой в затрубное пространство скважины горячей аэрированной жидкости. 1 ил.
Изобретение относится к нефтяной промышленности, точнее к способам добычи нефти.
Известен способ добычи нефти, включающий подачу химреагента в насосно-компрессорные трубы через каналы погружного насоса с обратным клапаном на выходе (см. RU заявку на изобретение 2004114932 А, Е21В 37/06, Е21В 41/02 на «Способ подачи реагента в скважину», опубл. 2005.10.27).
По своим признакам и достигаемому результату этот способ наиболее близок к заявляемому и принят за прототип.
При этом способе добычи химреагент дозировочным насосом подается к погружному насосу, которым всасывается вместе с пластовой жидкостью, и затем нагнетается в насосно-компрессорные трубы через каналы погружного насоса с обратным клапаном на выходе.
Противодавление пластовой жидкости в насосно-компрессорных трубах при этом способе создается через обратный клапан напором нагнетаемой погружным насосом пластовой жидкости.
Недостаток этого способа добычи заключается в низкой эффективности из-за долговременных перерывов процесса добычи при вынужденных отключениях погружного насоса, например при ремонте его наземного оборудования, и интенсивных солевых, асфальтосмолопарафиновых отложениях и продуктов коррозии при этом в элементах скважины, значительно снижающих эффективность добычи при ее возобновлении.
Задачей изобретения является повышение эффективности добычи нефти.
Эта задача решается усовершенствованием способа добычи нефти, включающего подачу химреагента в насосно-компрессорные трубы через каналы погружного насоса с обратным клапаном на выходе.
Усовершенствование состоит в том, что при вынужденном отключении погружного насоса добычу нефти продолжают созданием противодавления пластовой жидкости в насосно-компрессорных трубах через каналы погружного насоса с обратным клапаном на выходе газлифтом или другим известным способом, например закачкой аэрированной жидкости; противодавление пластовой жидкости в насосно-компрессорных трубах через каналы погружного насоса с обратным клапаном создают закачкой в затрубное пространство скважины горячей аэрированной жидкости.
Продолжение добычи нефти при вынужденном отключении погружного насоса созданием противодавления пластовой жидкости в насосно-компрессорных трубах через каналы погружного насоса с обратным клапаном на выходе газлифтом или другим известным способом позволяет устранить простои скважины при отключении погружного насоса и усиленные солевые, асфальтосмолопарафиновые отложения и накопление продуктов коррозии в ней и тем самым повысить эффективность добычи нефти.
Создание противодавления пластовой жидкости в насосно-компрессорных трубах через каналы погружного насоса с обратным клапаном закачкой в затрубное пространство горячей аэрированной жидкости обеспечивает улучшенное удаление солевых, асфальтосмолопарафиновых отложений и продуктов коррозии.
Ниже, со ссылкой на прилагаемый чертеж, дается описание предлагаемого способа.
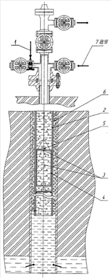
Способ добычи нефти включает подачу химреагента 1 в насосно-компрессорные трубы 2 через каналы 3 погружного насоса 4 с обратным клапаном 5 на выходе из погружного насоса 4 в насосно-компрессорные трубы 2.
При вынужденном отключении погружного насоса 4 (например, при ремонте наземного оборудования) добычу нефти продолжают созданием противодавления пластовой жидкости в насосно-компрессорных трубах 2 через каналы 3 погружного насоса 4 с обратным клапаном 5 газлифтом, т.е. закачкой в затрубное пространство 6 газа (воздуха) 7 или другим известным способом, например закачкой в затрубное пространство 6 аэрированной жидкости 8, которые с химреагентом 1 и пластовой жидкостью скважины проходят по каналам 3 отключенного погружного насоса 4, приподнимая обратный клапан 5, входят в насосно-компрессорные трубы 2 и перемещаются по ним к устью скважины (чем сокращаются вынужденные простои скважины и уменьшаются солевые, асфальтосмолопарафиновые отложения и продукты коррозии в ней).
В варианте исполнения способа противодавление пластовой жидкости в насосно-компрессорных трубах 2 через каналы 3 погружного насоса 4 создают закачкой в затрубное пространство 6 горячей, например, с температурой >35°С аэрированной жидкости 9 (чем в совокупности с химреагентом обеспечивается улучшенное удаление вышеназванных отложений и продуктов коррозии).
Способ добычи нефти по изобретению, благодаря продолжению добычи при отключенном погружном насосе и снижению солевых, асфальтосмолопарафиновых отложений и коррозии в элементах скважины при этом, характеризуется по сравнению с прототипом большей эффективностью.
Формула изобретения
Способ добычи нефти, включающий подачу химреагента в насосно-компрессорные трубы через каналы погружного насоса с обратным клапаном на выходе, отличающийся тем, что при вынужденном отключении погружного насоса добычу нефти продолжают созданием противодавления пластовой жидкости в насосно-компрессорных трубах через каналы погружного насоса с обратным клапаном на выходе закачкой в затрубное пространство скважины горячей аэрированной жидкости.
РИСУНКИ
|