|
|
(21), (22) Заявка: 2007138241/03, 15.10.2007
(24) Дата начала отсчета срока действия патента:
15.10.2007
(46) Опубликовано: 27.05.2009
(56) Список документов, цитированных в отчете о поиске:
RU 2041349 C1, 09.08,1995. SU 563486 A1, 30.06.1977. SU 866144 A1, 23.09.1981. SU 994686 A1, 07.02.1983. SU 1509513 A1, 23.09.1989. US 3177703 A, 13.04.1965. Справочник «Освоение и ремонт нефтяных и газовых скважин под давлением». – М.: Недра, 1982, с.46-51.
Адрес для переписки:
614990, г.Пермь, ул. Ленина, 62, ООО “ЛУКОЙЛ-ПЕРМЬ”, отдел производственных проектов и программ, Г.И. Селезневой
|
(72) Автор(ы):
Князев Александр Рафаилович (RU), Савич Анатолий Данилович (RU), Фокин Александр Петрович (RU), Черных Ирина Александровна (RU)
(73) Патентообладатель(и):
Общество с ограниченной ответственностью “ЛУКОЙЛ-ПЕРМЬ” (RU)
|
(54) СПОСОБ ГЕРМЕТИЗАЦИИ УСТЬЯ СКВАЖИНЫ И УСТРОЙСТВО ДЛЯ ЕГО ОСУЩЕСТВЛЕНИЯ
(57) Реферат:
Изобретение относится к оборудованию для герметизации устья скважин и может быть использовано при проведении геофизических исследований в горизонтальных скважинах с избыточным давлением на устье с помощью геофизических приборов, присоединенных к колонне НКТ малого диаметра и спускаемых в скважину на геофизическом кабеле вместе с колонной НКТ. Герметизацию устья скважины при прохождении через устье приборов и труб осуществляют трубным превентором и трубными герметизаторами. Для герметизации устья скважины при прохождении через него геофизического кабеля используют кабельный превентор и присоединяемый лубрикатор. Переход от герметизации одними элементами оборудования к герметизации другими элементами оборудования осуществляют с использованием специального трехмуфтового патрубка, располагая его таким образом, что закрытые плашки трубного превентора находятся между двумя нижними муфтами патрубка, а верхняя муфта находится над верхним фланцем трубных герметизаторов. Изобретение расширяет технические возможности проведения исследований горизонтальных скважин и повышает надежность герметизации устья скважин при проведении этих исследований. 2 н. и 3 з.п. ф-лы, 3 ил.
Изобретение относится к оборудованию для герметизации устья скважин и может быть использовано при проведении геофизических исследований в горизонтальных скважинах с избыточным давлением на устье.
Известен лубрикатор, предназначенный для обеспечения спуска и подъема скважинных приборов на кабеле или проволоке без разгерметизации устья скважины («Техническая инструкция по проведению геофизических исследований и работ приборами на кабеле в нефтяных и газовых скважинах», РД 153-39.0-072-01, МЭРФ, М., 2001, с.231-233), устанавливаемый на буферной задвижке фонтанной арматуры действующих скважин. Основными элементами лубрикатора являются переходник для соединения с буферной задвижкой, шлюзовая камера для размещения прибора, состоящая из свинченных между собой секционных труб и снабженная вентилем для сброса давления, и уплотнительное устройство для герметизации кабеля (герметизатор кабеля), представляющее собой комбинацию уплотнителей, изолирующих лубрикаторную полость от окружающего пространства. Кроме того, лубрикатор может включать кабельный превентор для аварийного перекрытия скважины с кабелем, имеющий форму цилиндра с размещенной в нем парой цилиндрических плашек с торцевыми уплотнениями для герметизации скважинной полости от лубрикаторной, ловушку для индикации входа прибора в лубрикатор при подъеме и предотвращения падения прибора в скважину.
Спуск прибора в скважину через лубрикатор осуществляют следующим образом. На устье скважины, закрытом с помощью буферной задвижки, устанавливают кабельный превентор. Лубрикатор со шлюзовой камерой и предварительно пропущенным через него кабелем с кабельным наконечником поднимают над устьем скважины и к кабельному наконечнику присоединяют геофизический прибор. Присоединенный прибор затягивают в шлюзовую камеру. Лубрикатор с прибором в шлюзовой камере монтируют на кабельном превенторе и выравнивают давление в скважине и шлюзовой камере с помощью буферной задвижки и устройства выравнивания давления (перепускного клапана) кабельного превентора. Открывают кабельный превентор и буферную задвижку и спускают прибор в скважину. При подъеме прибор затягивают в шлюзовую камеру, закрывают буферную задвижку, закрывают кабельный превентор, стравливают давление в шлюзовой камере, демонтируют лубрикатор. Кабельный превентор закрывают также при ремонте лубрикатора и при длительных остановках в работе.
При спуске нескольких приборов, соединенных гибкими связями, например, отрезками кабеля, приборы последовательно помещаются в лубрикатор (патент РФ 2041349 «Устройство для спуска приборов в скважину с высоким давлением», МПК Е21В 47/01, дата публ. 09.08.1995 г.), при этом герметизация скважинной полости от шлюзовой камеры производится с помощью кабельного превентора, когда гибкая связь расположена напротив плашек кабельного превентора.
Недостатком указанного способа и устройства является невозможность их использования при спуске-подъеме на кабеле длинномерных геофизических приборов, не помещающихся в шлюзовую камеру, сборок, состоящих из нескольких, соединенных жесткими разъемами геофизических приборов, сборок, состоящих из геофизических приборов и труб, в частности насосно-компрессорных труб (НКТ), а также приборов, диаметр которых превышает размер внутреннего канала шлюзовой камеры или кабельного превентора.
Известна компоновка оборудования герметизации устья скважины (Справочник «Освоение и ремонт нефтяных и газовых скважин под давлением», Москва, изд. «Недра», 1982 г., с.46-51), применяемая фирмой «Бейкер» для спуска-подъема колонны труб. Компоновка включает установленные в последовательности снизу вверх трубный превентор с глухими плашками, аварийный превентор с трубными плашками и нижний и верхний рабочие превенторы, между которыми установлен стояк, образующий шлюзовую камеру. Боковые отводы верхнего рабочего превентора сообщаются со скважиной и выкидом кранами сброса давления. В верхней части компоновки соосно установлен корпус трубного герметизатора.
Компоновка работает следующим образом. Глухие плашки трубного превентора перекрывают устье скважины при монтажных и демонтажных работах. Конструкция аварийного превентора с трубными плашками позволяет кратковременно посадить на его плашки колонну труб и заменить элементы устьевого оборудования над превентором. Стояк образует шлюзовую камеру для перепуска элементов колонны, диаметры которых превышают диаметры труб. Поднятие колонны труб осуществляют при открытых аварийном, трубном и нижнем рабочем превенторе и закрытом верхнем рабочем превенторе до расположения негабаритного элемента в стояке (шлюзовой камере) или до упора соединительной муфты поднимаемых труб в плашки верхнего рабочего превентора. Затем нижний рабочий превентор закрывают, давление в стояке (шлюзовой камере) стравливают при помощи крана сброса давления на выкид, верхний рабочий превентор открывают и колонну труб поднимают до упора негабаритного элемента в плашки нижнего рабочего превентора. Далее закрывают верхний рабочий превентор, закрывают кран сброса давления на выкид, открывают кран, соединяющий шлюзовую камеру со скважиной, при этом давление в стояке (шлюзовой камере) поднимается и становится равным межколонному, открывают нижний рабочий превентор и колонну поднимают выше, повторяя описанную последовательность действий. Спуск колонны осуществляется в обратной последовательности.
Недостатком данной компоновки оборудования герметизации устья скважины является невозможность использования ее при спуске-подъеме оборудования на геофизическом кабеле.
Наиболее близким к предлагаемому изобретению по технической сущности и достигаемому техническому результату является способ герметизации устья скважины при использования комплекта оборудования для промывки скважин (ТУ 00221801.002-92), предназначенного для спуска труб под давлением и герметизации устья при размыве гидратно-парафиновых пробок в НКТ неагрессивными средами. Комплект оборудования включает установленные соосно снизу вверх трубный превентор, служащий для герметизации устья и удержания колонны труб с помощью плашек, трубный герметизатор с набором герметизирующих элементов, верхний фланец для установки на него шлипсовой катушки, шлипсовую катушку, служащую для удержания колонны НКТ за счет силы трения между подпружиненными клиньями и поверхностью трубы от возможного перемещения вверх под действием скважинного давления, а также хомут, конструктивно идентичный шлипсовой катушке и служащий для передачи усилия проталкивания (удержания) от строп на колонну спускаемых труб. Недостатком указанного комплекта оборудования является невозможность его использования при спуске в скважину сборки приборов и труб на геофизическом кабеле.
Для доставки сборки, состоящей из нескольких соединенных жесткими разъемами геофизических приборов (в частном случае – одного геофизического прибора), в горизонтальную скважину используют колонну НКТ малого диаметра (33 мм или 42 мм), проталкивающую приборы в горизонтальный участок скважины. Для осуществления электрической связи с приборами используют устройство осуществления электрической связи (УОЭС), располагаемое между колонной НКТ и сборкой приборов, при этом кабель с кабельным наконечником пропускают через внутренний канал спущенных в скважину НКТ до стыковки со специальным разъемом УОЭС. Колонну НКТ с приборами механически присоединяют к кабелю с помощью специального зажима.
Целью предлагаемого изобретения является усовершенствование способа герметизации устья скважины при проведении геофизических исследований с помощью геофизических приборов, присоединенных к колонне НКТ малого диаметра и спускаемых в скважину на кабеле вместе с колонной НКТ.
Технический результат заключается в расширении технических возможностей при проведении геофизических исследований горизонтальных скважин под давлением, а также в повышении надежности герметизации устья скважины при этих исследованиях, в частности, при пропускании через устье скважины приборов, колонны НКТ, кабеля, а также при осуществлении перехода между пропусканием через устье скважины приборов и НКТ и пропусканием через устье скважины кабеля.
Указанный технический результат достигается благодаря тому, что после спуска в скважину с помощью талевой системы, шлипсовой катушки и хомута через блок превенторов и герметизаторов (БПГ) необходимого количества НКТ с геофизическими приборами, к верхней части спущенных НКТ присоединяют специальный трехмуфтовый патрубок, останавливают спуск-подъем сборки в момент, когда между двумя нижними, близко расположенными друг к другу муфтами специального трехмуфтового патрубка, располагаются герметизирующие плашки трубного превентора БПГ, закрывают их, герметизируя таким образом устье скважины и фиксируя спускаемые трубы от осевого перемещения, устанавливают на БПГ лубрикаторный блок с пропущенным через него предварительно и соединенным электрически со сборкой приборов и механически с колонной НКТ геофизическим кабелем, выравнивают давление в БПГ и лубрикаторном блоке, и далее продолжают спуск в скважину сборки геофизических приборов и колонны НКТ на геофизическом кабеле.
Устройство для герметизации устья скважины при спуске-подъеме сборки геофизических приборов и колонны НКТ в скважину содержит блок превенторов и герметизаторов (БПГ), шлипсовую катушку, хомут с пластиной, лубрикаторный блок, специальный трехмуфтовый патрубок, рукав высокого давления, вентили для стравливания и выравнивания давления, манометры.
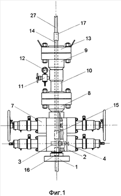
На фиг.1-3 представлено устройство для реализации предлагаемого способа герметизации устья скважины.
На фиг.1 показан БПГ в момент нахождения в его внутреннем сквозном канале трехмуфтового патрубка.
На фиг.2 показано устройство в конфигурации, реализующей способ герметизации устья скважины при прохождении через него приборов и колонны НКТ.
На фиг.3 показано устройство в конфигурации, реализующей способ герметизации устья скважины при прохождении через него кабеля.
Блок превенторов и герметизаторов (фиг.1) включает установленные последовательно снизу вверх нижний фланец 1, трубный превентор 2 с герметизирующими плашками 3, перепускным клапаном 4, вентилем 5 и манометром 6 (фиг.2), кабельный превентор 7, имеющий перепускной клапан, трубные герметизаторы 8 и 9 и удлинительный патрубок 10 с вентилем 11 и манометром 12, верхний фланец 13.
На фиг.1 показан также трехмуфтовый патрубок 14 в положении, при котором нижние муфты 15 и 16 расположены так, что между ними находятся плашки 3 трубного превентора 2, а верхняя муфта 17 расположена над фланцем 13. Трехмуфтовый патрубок 14 используют для реализации заявляемого способа при переходе от герметизации устья при пропускании через него приборов и труб к герметизации устья при пропускании через него кабеля, и при обратном переходе.
Для реализации способа герметизации устья скважины при пропускании через устье геофизических приборов и НКТ, к фланцу 13 устройства (фиг.2) присоединяют шлипсовую катушку 18, а на спускаемую НКТ или прибор надевают хомут 19 с пластиной 20, посредством которых на них передают усилие проталкивания (при подъеме – усилие удержания) от строп (не показано).
Для реализации способа герметизации устья скважины при пропускании через него геофизического кабеля, к фланцу 13 устройства (фиг.3) присоединяют лубрикаторный блок, в который входят собранные соосно герметизатор кабеля 21, шлюзовая камера 22, переходный патрубок 23 с присоединенным рукавом высокого давления 24, вентилем 25 и манометром 26. Рукав высокого давления 24 другим концом соединен с вентилем 5 и при открывании вентиля 5 обеспечивает выравнивание давления в полости над плашками 3 трубного превентора 2 и в полости шлюзовой камеры 22. Вентиль 25 служит для стравливания давления в шлюзовой камере 22.
Заявляемый способ герметизации устья скважины при спуске в скважину на кабеле сборки геофизических приборов, присоединенных к колонне НКТ, с использованием заявляемого устройства реализуют следующим образом:
– на устье скважины, закрытом с помощью задвижки, монтируют БПГ;
– к верхнему фланцу 13 БПГ присоединяют шлипсовую катушку 18;
– на нижней из спускаемых в скважину НКТ закрепляют хомут 19 и присоединяют к ней сборку геофизических приборов через УОЭС;
– поднимают собранные элементы над устьем скважины и опускают приборы в скважину до задвижки, пропуская при этом через шлипсовую катушку и БПГ;
– приводят в рабочее состояние шлипсовую катушку 18, хомут 19 и другое оборудование принудительного спуска-подъема труб;
– открывают центральную задвижку, переходя на герметизацию устья трубными герметизаторами 8 и 9, и производят спуск, используя шлипсовую катушку, хомут и другое оборудование принудительного спуска труб, а также талевую систему, производя при этом необходимое наращивание труб НКТ;
– после спуска необходимого количества НКТ, к последней из них присоединяют специальный трехмуфтовый патрубок 14, а к нему технологическую трубу 27 и останавливают спуск в момент, когда между двумя нижними муфтами 15 и 16 патрубка 14 окажутся плашки 3 трубного превентора, а верхняя муфта этого патрубка окажется над верхним фланцем 13 БПГ;
– закрывают герметизирующие плашки 3 трубного превентора 2, герметизируя скважину и фиксируя трубы от несанкционированного перемещения;
– отсоединяют от БПГ шлипсовую катушку 18, закрепляют ее вместе с хомутом 19 на технологической трубе 27, отсоединяют технологическую трубу от сборки;
– опускают кабель с кабельным наконечником, предварительно пропущенные через лубрикаторный блок, внутрь колонны труб до стыковки с УОЭС;
– прикрепляют колонну НКТ, находящуюся в скважине, к геофизическому кабелю с помощью кабельного зажима;
– на место шлипсовой катушки, на верхний фланец 13 БПГ герметично устанавливают лубрикаторный блок;
– присоединяют рукав высокого давления 24 лубрикаторного блока к вентилю 5 трубного превентора, открывают вентиль 5, соединяя полость шлюзовой камеры лубрикаторного блока с полостью над плашками трубного превентора;
– частично открывают трубный превентор 2 так, чтобы сработал клапан выравнивания давления 4;
– после выравнивания давления раздвигают плашки 3 трубного превентора, полностью освобождая трубы из зацепления, и закрывают вентиль 5;
– продолжают дальнейший спуск в скважину колонны НКТ с присоединенными приборами на кабеле.
Способ герметизации устья скважины при подъеме сборки геофизических приборов, присоединенных к колонне НКТ, из скважины с использованием заявляемого устройства реализуют следующим образом:
– движение подвески приборов и колонны НКТ на кабеле останавливают в момент, когда верхняя муфта 14 трехмуфтового патрубка 13 оказывается над фланцем 10, а между муфтами 15 и 16 располагаются плашки 3 трубного превентора;
– закрывают трубный превентор 2, открывают последовательно вентили 5, 25 и 11, стравливая давление во всех полостях выше плашек трубного превентора, затем закрывают вентили 5, 25 и 11 и отсоединяют рукав высокого давления 24 от вентиля 5;
– отсоединяют лубрикатор от фланца 10;
– отсоединяют кабель от НКТ и УОЭС, вынимают его из труб;
– поднимают над устьем технологическую НКТ 26 с закрепленными на ней шлипсовой катушкой 17 и хомутом 18 и присоединяют к трехмуфтовому патрубку 13;
– присоединяют к фланцу 10 шлипсовую катушку 17, приводят ее в рабочее состояние, приводят в рабочее состояние хомут 18 и остальное оборудование принудительного спуска-подъема труб;
– открывают трубный превентор 2, переходя на герметизацию устья трубными герметизаторами 8 и 9;
– осуществляют подъем колонны НКТ и сборки приборов, используя талевую систему и оборудование принудительного спуска-подъема труб;
– останавливают подъем в момент, когда низ прибора оказывается над центральной задвижкой;
– закрывают центральную задвижку;
– стравливают давление между трубными герметизаторами и в полости трубного превентора с помощью вентилей 5 и 11;
– извлекают из скважины нижнюю НКТ и прибор;
– демонтируют БПГ.
Скважинные геофизические приборы и сборки геофизических приборов могут иметь габариты, не позволяющие использовать последовательность действий, приведенную выше. В случае, если длина сборки приборов, включая УОЭС, превышает размер для их размещения в полости между центральной задвижкой и БПГ, а также, возможно, имеются негерметизируемые участки в виде окон, в которых размещены датчики, центраторов и мест соединения элементов сборки, указанный способ имеет следующие особенности реализации:
– в начале процесса спуска и в конце процесса подъема роль НКТ при герметизации и удержании выполняет корпус прибора;
– в процессе проталкивания приборов, при подходе негерметизируемого участка к верхнему трубному герметизатору 9, останавливают спуск и стравливают давление между трубными герметизаторами с помощью вентиля 11;
– после стравливания давления закрывают вентиль 11 и продолжают спуск в скважину;
– в процессе подъема приборов, при подходе негерметизируемого участка к верхнему трубному герметизатору 9, когда негерметизируемый участок полностью расположен между трубными герметизаторами 8 и 9, останавливают спуск и стравливают давление между трубными герметизаторами с помощью вентиля 11;
– после стравливания давления закрывают вентиль 11 и продолжают подъем. Расстояние между трубными герметизаторами 8 и 9, которое определяет длину удлинительного патрубка 10, выбирают таким, чтобы оно было несколько больше длины любого негерметизируемого участка сборки и меньше расстояния между соседними негерметизируемыми участками.
В случае, если в сборке геофизических приборов имеется прибор, который может быть размещен между центральной задвижкой и БПГ, но не может быть пропущен через БПГ из-за большого диаметра, указанный способ имеет следующие особенности реализации:
– если прибор большого диаметра является единственным в сборке, то до монтажа БПГ через внутренний канал БПГ пропускают нижнюю НКТ колонны, фиксируют ее плашками трубного превентора, присоединяют к нижней трубе через УОЭС геофизический прибор, а затем поднимают собранные элементы над устьем, опускают геофизический прибор в скважину и присоединяют БПГ к устью; при подъеме после закрытия центральной задвижки стравливают давление с помощью вентилей 5 и 11, фиксируют нижнюю НКТ плашками трубного превентора, отсоединяют БПГ от устья, поднимают БПГ с нижней НКТ и прибором над устьем и укладывают на мостки, отсоединяют прибор от НКТ, извлекают НКТ из БПГ;
– если выше прибора большого диаметра необходимо расположить другие приборы сборки, то роль нижней НКТ выполняет очередной прибор сборки, при этом УОЭС присоединяется между верхним геофизическим прибором и нижней НКТ.
Кабельный превентор 7 закрывают при ремонте установленного лубрикаторного блока. Трубный и кабельный превенторы закрывают также при перерывах в работе и при опасных ситуациях. Стравливание и выравнивание давлений с помощью вентилей производят только при остановках спуска – подъема геофизических приборов и труб. После операций стравливания и выравнивания давлений вентили закрывают. Контроль давлений осуществляют с помощью манометров.
Предлагаемый способ герметизации устья скважины и устройство для его осуществления использует ОАО «Пермнефтегеофизика» для проведения геофизических и гидродинамических исследований на геофизическом кабеле в эксплуатационных и бурящихся горизонтальных скважинах месторождений ООО «ЛУКОЙЛ-ПЕРМЬ». Оборудование изготовлено на рабочее давление 35 МПа с использованием колонны НКТ диаметром 33 мм.
Формула изобретения
1. Способ герметизации устья скважины при спуске-подъеме в нее на геофизическом кабеле подвески, состоящей из колонны насосно-компрессорных труб (НКТ) и присоединенной к колонне НКТ сборки геофизических приборов, включающий установку на устье скважины блока превенторов и герметизаторов (БПГ), в состав которого входят трубный превентор, трубный герметизатор и верхний фланец, применение шлипсовой катушки и хомута для проталкивания при спуске и удержания при подъеме колонны насосно-компрессорных труб (НКТ), выравнивание давления в полостях установленного оборудования с помощью перепускных клапанов и вентилей, отличающийся тем, что, с целью осуществления перехода от герметизации устья скважины при спуске-подъеме колонны НКТ со сборкой геофизических приборов к герметизации устья скважины при прохождении через него геофизического кабеля, к которому присоединена колонна НКТ, а также для осуществления обратного перехода, к верхней трубе спускаемой-поднимаемой колонны НКТ присоединяют специальный трехмуфтовый патрубок, размещают его при описанных переходах так, что между двумя его нижними, близко расположенными муфтами, находятся плашки трубного превентора, а верхняя муфта патрубка располагается при этом над верхним фланцем БПГ, при этом при закрытых плашках трубного превентора при спуске устанавливают (при подъеме снимают) на верхний фланец БПГ вместо шлипсовой катушки лубрикатор с предварительно пропущенным через него и сквозь внутренний канал колонны НКТ, а также уже соединенным со сборкой геофизических приборов и колонной НКТ геофизическим кабелем, при этом с целью герметизации устья скважины при ремонте лубрикатора в состав БПГ включают кабельный превентор.
2. Способ по п.1, отличающийся тем, что, с целью герметизации устья при прохождении через него сборки геофизических приборов, имеющей негерметизируемые участки, в состав БПГ включают дополнительный трубный герметизатор и удлинительный патрубок, соединяющий два трубных герметизатора, при этом расстояние между трубными герметизаторами выбирают таким, чтобы оно было не меньше, чем длина любого из негерметизируемых участков сборки, и не больше, чем расстояние между любыми соседними негерметизируемыми участками.
3. Способ по п.1, отличающийся тем, что, с целью герметизации устья скважины при спуске-подъеме в скважину геофизического прибора, имеющего диаметр, больший внутреннего диаметра сквозного проходного канала БПГ, и длину, меньшую, чем расстояние от БПГ до центральной задвижки, перед монтажем БПГ на устье скважины, через внутренний канал БПГ пропускают нижнюю трубу колонны НКТ, фиксируют ее плашками трубного превентора, присоединяют к ней геофизический прибор, поднимают собранные элементы над устьем скважины, опускают прибор в скважину и присоединяют блок превенторов и герметизаторов к устью скважины.
4. Устройство герметизации устья скважины, включающее блок превенторов и герметизаторов (БПГ), в состав которого входят трубный превентор, трубный герметизатор и верхний фланец, шлипсовую катушку, хомут, перепускные клапаны, вентили и манометры, отличающееся тем, что устройство дополнительно содержит кабельный превентор в составе БПГ, специальный трехмуфтовый патрубок, присоединяемый к последней из спускаемых-поднимаемых труб колонны НКТ, и лубрикатор, содержащий не менее одного герметизатора кабеля, шлюзовую камеру и переходный патрубок с присоединенным к нему рукавом высокого давления.
5. Устройство по п.4, отличающееся тем, что, с целью герметизации устья скважины при прохождении через него сборки геофизических приборов, имеющих негерметизируемые участки, содержит в БПГ не менее двух трубных герметизаторов и удлинительный патрубок между ними, длина которого не меньше, чем длина любого из негерметизируемых участков сборки геофизических приборов, и не больше, чем расстояние между любыми соседними негерметизируемыми участками.
РИСУНКИ
|
|