|
|
(21), (22) Заявка: 2007125115/12, 02.07.2007
(24) Дата начала отсчета срока действия патента:
02.07.2007
(43) Дата публикации заявки: 20.03.2008
(46) Опубликовано: 27.05.2009
(56) Список документов, цитированных в отчете о поиске:
SU 420487 A1, 27.08.1974. RU 2290343 C1, 27.12.2006. US 2003217513 A1, 27.11.2003. JP 2004204451 A1, 22.07.2004.
Адрес для переписки:
188992, Ленинградская обл., г. Светогорск, ул. Красноармейская, 20, кв.33, А.М.Гультяеву
|
(72) Автор(ы):
Гультяев Александр Михайлович (RU)
(73) Патентообладатель(и):
Гультяев Александр Михайлович (RU)
|
(54) УСТРОЙСТВО ДЛЯ ОТКРЫВАНИЯ КРЫШКИ ЛЮКА
(57) Реферат:
Устройство для открывания крышки люка содержит рычаг, который закреплен на крышке и связан с держателем. Рычаг выполнен Г-образной формы и имеет паз. Держатель установлен в пазу с возможностью перемещения и стопорения винтом. Рычаг выполнен с возможностью кругового движения относительно крепящихся к поверхности петель. Технический результат, достигаемый при реализации данного изобретения, заключается в расширении эксплуатационных возможностей устройства, используемого для открывания и тяжелых крышек. 2 ил.
Изобретение относится к устройствам для открывания крышки люка.
Наиболее близким аналогом данного изобретения является устройство для открывания крышки люка, содержащее рычаг, закрепленный на крышке и связанный с держателем (SU 420487 А1, 27/08/1974).
Известное устройство не может быть использовано для открывания тяжелых крышек люка, что относится к его недостатку.
Технический результат, достигаемый при реализации данного изобретения, заключается в расширении эксплуатационных возможностей устройства, используемого для открывания и тяжелых крышек.
Указанный технический результат достигается тем, что в устройстве для открывания крышки люка, содержащем рычаг, закрепленный на крышке и связанный с держателем, согласно изобретению рычаг выполнен Г-образной формы и имеет паз, а держатель установлен в пазу с возможностью перемещения и стопорения винтом, при этом рычаг выполнен с возможностью кругового движения относительно крепящихся к поверхности петель.
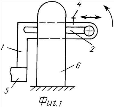
Изобретение поясняется чертежами, где на фиг.1 представлено устройство для открывания крышки люка; на фиг.2 – то же, вид сверху.
Устройство содержит Г-образный рычаг 1, в котором имеется паз 2 для перемещения вставленного в него держателя 3. Последний стопорится винтом 4, а рычаг крепится к крышке 5. На неподвижной поверхности закреплены петли 6, относительно которых рычаг может совершать круговое движение.
При открывании крышки 5 отвинчивается стопорный винт 4 и подвижный держатель 3, находящийся в пазу 2, отводится до упора. Воздействуя на держатель, Г-образный рычаг 1 можно привести в круговое движение относительно петель 6, в результате чего закрепленная на конце рычага крышка легко открывается.
Формула изобретения
Устройство для открывания крышки люка, содержащее рычаг, закрепленный на крышке и связанный с держателем, отличающееся тем, что рычаг выполнен Г-образной формы и имеет паз, а держатель установлен в пазу с возможностью перемещения и стопорения винтом, при этом рычаг выполнен с возможностью кругового движения относительно крепящихся к поверхности петель.
РИСУНКИ
|
|