|
(21), (22) Заявка: 2007109545/03, 02.05.2007
(24) Дата начала отсчета срока действия патента:
02.05.2007
(43) Дата публикации заявки: 10.11.2008
(46) Опубликовано: 27.05.2009
(15) Информация о коррекции:
Версия коррекции № 1 (
Изобретение относится к области строительства и может быть использовано в конструкциях плавательных бассейнов. Из известных конструкций наиболее близкой по технической сущности к заявленному объекту является плавательный бассейн согласно заявке на изобретение 2005103445, по которой принято решение о выдаче патента на изобретение. Плавательный бассейн содержит герметичный резервуар и переливной желоб, расположенный по его периметру и используемый в качестве системы самоочистки воды в процессе пользования бассейном, включающий соединенное со стенками резервуара бассейна дно, заднюю стенку, крышки, имеющие расположенные с их внутренней стороны решетки V-образной в их поперечном сечении формы. Внутри переливного желоба размещены переливной коврик и фильтрующий материал. Возникающие при пользовании бассейном волны перекатываются через верхнюю кромку наклонной полки, обращенной к переливному желобу стороны V-образной решетки, проходят через фильтровальную сетку и по поверхности плавающего переливного коврика скатываются в переливной желоб, поднимая уровень воды в нем относительно уровня воды в резервуаре бассейна. Чем активнее пользование бассейном, тем больше становится разница в уровнях воды и тем интенсивнее ее движение через фильтрующий материал и возвращение очищенной в резервуар бассейна. Корпус бассейна изготовлен из цельных по длине его сторон досок, соединенных по углам резервуара бассейна и переливного желоба в крестообразный замок с накладными брусками, прижатыми угловыми стяжками. Стенки резервуара бассейна опираются на установленные в середине каждой из них опорные столбы, стянутые между собой стальными тросами.
Недостатком данной конструкции является малая эффективность системы самоочистки воды в случае нерегулярного или редкого пользования бассейном.
Технической задачей настоящего изобретения является обеспечение необходимой степени очистки воды в условиях нерегулярного или редкого пользования бассейном и упрощение его обслуживания.
Решением технической задачи является плавательный бассейн с использованием специальной пленки из поливинилхлорида в качестве внутреннего гидроизоляционного покрытия, содержащий резервуар из цельных по длине его сторон досок, соединенных между собой посредством крестообразного замка с накладными снаружи брусками, каждая сторона которого опирается на установленные в ее середине опорные столбы, стянутые попарно перекрестно стальными тросами, и расположенный по периметру резервуара переливной желоб, используемый в качестве системы самоочистки воды в процессе пользования бассейном, включающий соединенное со стенками резервуара дно, заднюю стенку, крышки, имеющие расположенные с их внутренней стороны решетки V-образной в их поперечном сечении формы, внутри которого размещены переливной коврик и фильтрующий материал, отличающийся тем, что в угловых частях резервуара установлены емкости для размещения фильтрующего материала треугольной в поперечном сечении формы, две стороны которых прилегают к стенкам резервуара бассейна и закреплены к торцевой полке задней стенки переливного желоба, а вдоль верхней кромки третьей стенки снаружи закреплен угольник, внешняя поверхность полки которого расположена на уровне дна переливного желоба и покрыта слоем поливинилхлорида, а ее торцевые поверхности прилегают к стенкам резервуара бассейна, дно емкости снабжено отверстием с установленным в него стаканом для размещения по меньшей мере в одной из емкостей погружного центробежного электронасоса, над дном, с промежутком к нему, установлена дренажная решетка, над которой размещен фильтрующий материал, например, в виде трех слоев пенополиуретана с разными размерами сквозных пор, торцевые поверхности которых плотно прилегают к стенкам емкости, при этом внутренняя кромка переливного коврика соединена с обеспечением герметичности с гидроизоляционной пленкой из поливинилхлорида вдоль кромки дна переливного желоба и прижата сверху нижней обрамляющей планкой решетки с фильтровальной сеткой, размещенной над переливным желобом. На стягивающие опорные столбы стальные тросы в месте их перекрещивания установлена опора, состоящая из четырех изогнутых по радиусу до четверти круга прутков, соединенных между собой под прямым углом при виде сверху, нижние концы которых опираются на соответствующие тросы и скреплены с ними с помощью хомутиков, а на изогнутые по радиусу верхние концы которых закреплена сферической формы крышка с расположенными по ее периметру отверстиями с возможностью крепления к ним шнуров-растяжек, концы которых закреплены к установленным на опорные столбы перилам ограждения, которое используется одновременно для установки сверху бассейна пленочного покрытия в виде, например, четырехскатной крыши со свисающими вниз боковыми стенками, закрепленными к торцевой поверхности настила вокруг резервуара бассейна.
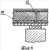
На Фиг.1 показан плавательный бассейн, вид сверху, на Фиг.2 – разрез А-А на Фиг.1, на Фиг.3 – разрез В-В на Фиг.1, на Фиг.4 – разрез С-С на Фиг.1. Бассейн состоит из резервуара 1 и расположенного по его периметру переливного желоба 2, включающего соединенное со стенками резервуара дно 3 и заднюю стенку 4, обращенных к переливному желобу 2 решеток 5, опирающихся нижней обрамляющей планкой 7 на кромку переливного коврика 8, закрепленного к гидроизоляционной пленке 9 вдоль кромки дна 3 переливного желоба 2. В угловых частях резервуара 1 установлены емкости 10, две стенки которых прилегают к стенкам резервуара 1 бассейна и закреплены к задней стенке 4 переливного желоба 2 планками 11. К верхней кромке третьей стенки емкости 10 закреплен угольник 12. Дно емкости 10 снабжено отверстием, в которое установлен стакан 13 с возможностью установки в него погружного центробежного электронасоса 14. На дно емкости 10 установлена дренажная решетка 15, на которую уложены три слоя фильтрующего материала 16. На стягивающие опорные столбы 17 тросы 18 в месте их перекрещивания установлена опора 19, состоящая из четырех изогнутых по радиусу до четверти круга и соединенных между собой под прямым углом при виде сверху ножек 20, закрепленных каждая к своему тросу 18 с помощью хомутиков 21. На вершине опоры 19 закреплена изогнутая вниз по сфере крышка 22, снабженная распложенными по периметру отверстиями для крепления растяжек. На опорные столбы 17 установлены перила 23 ограждения бассейна, которые используются одновременно для установки пленочного покрытия 24 бассейна, свисающие вниз части 25 которого закреплены к торцевой кромке настила 26 вокруг бассейна.
Плавательный бассейн работает следующим образом. Резервуар 1 бассейна и переливной желоб 2 наполняются водой немного выше уровня нижней обрамляющей планки 7 решетки 5. Возникающие при пользовании бассейном волны свободно перекатываются через планку 7, проходят сквозь решетку 5 с фильтровальной сеткой и по поверхности переливного коврика 8 скатываются в переливной желоб 2, поднимая уровень воды в нем относительно уровня воды в резервуаре 1 бассейна. Поднимаясь с уровнем воды и прижимаясь к поверхности решетки 5 с установленной на ней фильтровальной сеткой 6, переливной коврик 8 образует плотину, препятствующую возвращению воды в резервуар 1 бассейна. Чем активнее пользование бассейном, тем выше разница в уровнях воды и тем интенсивнее ее движение вдоль дна переливного желоба 2 к расположенным в угловых частях резервуара 1 емкостям 10, прохождение через фильтрующие материалы 16 и возвращение очищенной в резервуар 1 бассейна. Установленный в одной из емкостей 10 электронасос 14 не препятствует прохождению через него очищенной воды, так как его гидравлическое сопротивление незначительно. В случае нерегулярного или редкого пользования бассейном система самоочистки воды малоэффективна. Становится необходимым использование принудительной системы очистки. Включается установленный по меньшей мере в одной из емкостей 10 электронасос 14 и начинает откачивать очищенную воду, находящуюся в промежутке под дренажной решеткой 15. Возникающее там разрежение обеспечивает движение воды из переливного желоба 2 через фильтрующие материалы 16 к электронасосу 14, который сбрасывает очищенную воду в резервуар 1 бассейна. С понижением уровня воды в переливном желобе 2 относительно ее уровня в резервуаре 1 начинается ее движение самотеком из резервуара 1 в переливной желоб 2 и вдоль его дна снова к емкости 10 с фильтрующими материалами 16. Перелив воды в переливной желоб 2 из наиболее загрязненного верхнего слоя резервуара 1 бассейна по всему его периметру и сброс очищенной воды в средние слои резервуара обеспечивают высокую эффективность ее очистки, а размещение фильтрующего материала только в угловых частях резервуара упрощают обслуживание плавательного бассейна.
Формула изобретения
1. Плавательный бассейн с использованием специальной пленки из поливинилхлорида в качестве внутреннего гидроизоляционного покрытия, содержащий резервуар из цельных по длине его сторон досок, соединенных между собой посредством крестообразного замка с накладными снаружи брусками, каждая сторона которого опирается на установленные в ее середине опорные столбы, стянутые попарно перекрестно стальными тросами, и расположенный по периметру резервуара переливной желоб, используемый в качестве системы самоочистки воды в процессе пользования бассейном, включающий соединенное со стенками резервуара дно, заднюю стенку, крышки, имеющие расположенные с их внутренней стороны решетки V-образной в их поперечном сечении формы, внутри которого размещены переливной коврик и фильтрующий материал, отличающийся тем, что в угловых частях резервуара установлены емкости для размещения фильтрующего материала треугольной в поперечном сечении формы, две стороны которых прилегают к стенкам резервуара бассейна и закреплены к торцевой полке задней стенки переливного желоба, а вдоль верхней кромки третьей стенки снаружи закреплен угольник, внешняя поверхность полки которого расположена на уровне дна переливного желоба и покрыта слоем поливинилхлорида, а торцевые поверхности прилегают к стенкам резервуара бассейна, дно емкости снабжено отверстием с установленным в него стаканом для размещения по меньшей мере в одной из емкостей погружного центробежного электронасоса, над дном, с промежутком к нему, установлена дренажная решетка, на которую уложен фильтрующий материал, например, в виде трех слоев пенополиуретана с разными размерами сквозных пор, торцевые поверхности которых плотно прилегают к стенкам емкости, при этом внутренняя кромка переливного коврика соединена с обеспечением герметичности с гидроизоляционной пленкой вдоль кромки дна переливного желоба и поверхностью угольника и прижата сверху нижней обрамляющей планкой решетки с фильтровальной сеткой, размещенной над переливным желобом.
2. Плавательный бассейн по п.1, отличающийся тем, что на стягивающие опорные столбы стальные тросы в месте их перекрещивания установлена опора, состоящая из четырех изогнутых по радиусу до четверти круга прутков, соединенных между собой под прямым углом при виде сверху, концы которых опираются на соответствующие тросы и скреплены с ними с помощью хомутиков, а на изогнутые по радиусу верхние концы которых закреплена сферической формы крышка с расположенными по периметру отверстиями с возможностью крепления к ним шнуров – растяжек, концы которых закреплены к установленным на опорные столбы перилам ограждения, которое используются одновременно для установки сверху бассейна пленочного покрытия в виде, например, четырехскатной крыши со свисающими вниз боковыми стенками, закрепленными к торцевой поверхности настила вокруг бассейна.
РИСУНКИ
TH4A – Переиздание описания изобретения к патенту Российской Федерации
Причина переиздания: Коррекция графических материалов изобретения
Извещение опубликовано: 10.06.2010 БИ: 16/2010
|
|