|
|
(21), (22) Заявка: 2007116605/03, 02.05.2007
(24) Дата начала отсчета срока действия патента:
02.05.2007
(43) Дата публикации заявки: 20.11.2008
(46) Опубликовано: 27.05.2009
(56) Список документов, цитированных в отчете о поиске:
SU 1073394 A1, 15.02.1984. RU 2010094 C1, 30.03.1994. SU 1581819 A1, 15.06.1988. SU 998682 A1, 23.02.1983. JP 11006206 A, 12.01.1999.
Адрес для переписки:
160029, г.Вологда, Наб. 6-й Армии, 201 ОАО “СКДМ”
|
(72) Автор(ы):
Коноплев Андрей Владимирович (RU), Святков Александр Владимирович (RU), Шалагин Юрий Александрович (RU)
(73) Патентообладатель(и):
Открытое акционерное общество “Вологодский завод строительных конструкций и дорожных машин” (ОАО “СКДМ”) (RU)
|
(54) СОЕДИНЕНИЕ СТРОИТЕЛЬНЫХ ЭЛЕМЕНТОВ
(57) Реферат:
Изобретение относится к строительству и может быть использовано при изготовлении мобильных зданий различного функционального назначения. Технический результат изобретения заключается в повышении теплоизоляции здания. Соединение каркасов основания и покрытия, изготовленных из -образных профилей с деревянными стойками, включает попарную установку внутри профиля пластин с выступающими за полки профиля концами, фиксацию балок каркасов между пластинами, установку на балках стоек и их болтовое соединение посредством планок, расположенных одними сторонами на балках, а другими сторонами на стойках. По другому варианту внутри -образного профиля расположены уголковые элементы, на нижние горизонтальные стороны которых установлены балки. 2 н.п. ф-лы, 3 ил.
Изобретение относится к строительству и может быть использовано при изготовлении мобильных зданий различного функционального назначения.
Известна строительная конструкция, в которой нижнее и верхнее перекрытия соединены разъемными угловыми стойками, состоящими из средних элементов, входящих в стойки, которые установлены в конструкциях верхнего и нижнего перекрытий (Авторское свидетельство SU 998628, МПК Е04В 1/348, 1983 г.).
Такое решение характеризуется низкой устойчивостью конструкции при различного вида динамических нагрузках.
Известен блок-контейнер, содержащий металлический каркас из элементов пола, потолка и соединенных с ними сваркой угловых стоек. По концам стойки имеют соединенные через полки вставки, которые также жестко закреплены на каркасах панелей пола и потолка (Авторское свидетельство SU 1581819, МПК Е04В 1/348, 1988 г.).
Такое исполнение металлического каркаса блок-контейнера обеспечивает жесткость соединения строительных элементов, но сложно в изготовлении, а дополнительная установка вставок с внутренней стороны стоек снижает теплоизоляционные свойства стеновых ограждений.
В другой конструкции блок-контейнер изготовлен в форме сварного объемного каркаса из двух -образных в поперечном сечении погонных элементов, которые соединены стойками с образованием коробчатого сечения. При этом стойки установлены как по углам каркаса, так и по его длине (Патент RU 2010094, МПК Е04В 1/348, Е04В 1/24).
Такое техническое решение обеспечивает высокую прочность соединений, но наличие металлических стоек на угловых элементах каркаса и особенно между стеновыми ограждениями создает мостики холода, которые снижают теплоизоляционные характеристики сооружения.
Наиболее близким к предлагаемому решению относится сборная конструкция здания, в которой соединение нижнего и верхнего перекрытий осуществлено с помощью стоек с клиновидными концами, упирающимися в установленные на торцах перекрытий гнезда и дополнительно закрепленными в гнездах клиньями и стяжными элементами (Авторское свидетельство SU 1073394, МПК Е04В 1/348, 1984 г.).
Однако такое соединение строительных элементов характеризуется большой трудоемкостью сборки здания из-за многообразия типоразмеров крепежных элементов.
Целью изобретения является снижение металлоемкости, упрощение технологии изготовления каркаса и повышения теплоизоляции здания.
Указанная цель достигается тем, что соединение каркасов и покрытия со стойками осуществляется установкой внутри -образных профилей каркасов, попарных пластин, выступающих за полки профиля, с расположением между пластинами балок, которые соединены со стойками вертикальными планками, закрепленными на стойках и балках сквозными болтами.
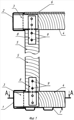
На фиг.1 изображено соединение каркасов основания и покрытия со стойками, на фиг.2 – разрез А-А по фиг.1, на фиг.3 – вариант соединения каркаса с балкой через угловой элемент.
Соединяемые строительные элементы (фиг.1 и 2) состоят из изготовленных -образных профилей каркасов основания 1 и покрытия 2, внутри которых сваркой закреплены пластины 3 с выступающими за профиль сторонами, на которых размещены отверстия для болтовых соединений. Между парными пластинами 3 установлены деревянные балки 4, на которых сверху каркаса покрытия 2 расположена панель покрытия 6, а снизу каркаса основания 1 – гофрированное покрытие 7. Деревянные стойки 5 установлены торцами на балках 4 каркасов основания и покрытия. Поверх пластин 3 и стоек 5 расположены вертикально планки 8, которые сквозными болтовыми соединениями 9 обеспечивают жесткую связь балок каркасов со стойками.
По другому варианту соединение балок с каркасами осуществлено (фиг.3) путем установки внутри -образного профиля уголковых элементов 10, нижние стороны 11, которых ориентированы параллельно полкам профиля каркасов. На эти стороны устанавливаются балки 4.
Сборку строительных элементов осуществляют следующим образом. С внутренней стороны -образного профиля с противоположных сторон каркасов 1 и 2 сваркой присоединяют попарно пластины 3 с выступающими за профиль сторонами, на которых размещены отверстия для болтовых соединений. Между парными пластинами 3 устанавливают балки 4, концы которых частично входят в -образный профиль. Затем со сторон пластин 3 накладывают планки 8 и через совмещенные отверстия планок, пластин и брусов пропускают сквозные болты 9. На балки 4 каркаса основания устанавливают стойки, которые жестко закрепляют с балками 4 болтовыми соединениями 9, проходящими через планки 8. Далее на торцы деревянных стоек 5 устанавливают каркас покрытия 2 и посредством болтовых соединений 9, проходящих через планки 8, жестко закрепляют стойки 5 с балками 4 каркаса покрытия 2.
По другому варианту (фиг.3) с внутренней стороны -образного профиля каркасов 1 и 2 закрепляют сваркой угловые элементы 10, на горизонтальные стороны 11 которых устанавливают балки 4. Такое решение позволяет усилить соединение каркаса с балкой за счет упора последнего в стенку профиля каркаса. Далее соединение строительных элементов производят аналогично вышеизложенному.
После соединения каркасов основания и покрытия посредством деревянных стоек устанавливают стеновые ограждения, производят заполнение пространств между балками теплоизоляционным материалом, устанавливают панели пола и осуществляют внутреннюю и внешнюю облицовку сооружения.
Таким образом, предлагаемое техническое решение соединения строительных элементов имеет небольшую металлоемкость, отличается простотой технологии сборки и обеспечивает повышенную теплоизоляцию сооружения.
Формула изобретения
1. Соединение строительных элементов, содержащих каркасы основания и покрытия из -образного профиля, внутри которого расположены попарно вертикальные пластины для фиксации балок, деревянных стоек и крепежных болтовых соединений, связывающих каркасы с балками и стойками, отличающееся тем, что установленные внутри -образного профиля пластины выступают за ширину полок профиля, а стойки с балками каркасов снабжены с двух сторон пластинами, которые жестко закреплены между собой сквозными болтовыми соединениями.
2. Соединение строительных элементов, содержащих каркасы основания и покрытия из -образного профиля, внутри которого расположены элементы для фиксации балок, деревянных стоек и крепежных болтовых соединений, связывающих каркасы с балками и стойками, отличающееся тем, что внутри -образного профиля установлены уголковые элементы, нижние стороны которых расположены параллельно полкам профиля.
РИСУНКИ
|
|