|
|
(21), (22) Заявка: 2007133618/02, 07.09.2007
(24) Дата начала отсчета срока действия патента:
07.09.2007
(30) Конвенционный приоритет:
11.01.2007 UA а200700274
(46) Опубликовано: 27.05.2009
(56) Список документов, цитированных в отчете о поиске:
SU 1544808 А1, 23.02.1990. SU 870437 А1, 07.10.1981. SU 817058 А1, 30.03.1981. SU 643087 А1, 15.01.1979. SU 1583447 А, 07.08.1990.
Адрес для переписки:
49027, Украина, г. Днепропетровск, ул. Дзержинского, 35-Б, корп.1, кв.13, А.Т.Неклеса
|
(72) Автор(ы):
Неклеса Анатолий Тимофеевич (UA), Новик Дмитрий Игоревич (UA)
(73) Патентообладатель(и):
Неклеса Анатолий Тимофеевич (UA)
|
(54) РАСПРЕДЕЛИТЕЛЬ ШИХТЫ ЗАГРУЗОЧНОГО УСТРОЙСТВА
(57) Реферат:
Изобретение относится к черной металлургии, в частности к загрузочным устройствам плавильных печей. Загрузочное устройство плавильной печи содержит два бункера с выпускными окнами и разгрузочную течку, выполненную в виде прямоугольного короба, в верхней части которого расположен потокоделитель. На внутренних противоположных стенках течки жестко закреплены пластины-отсекатели. Верхний ряд пластин-отсекалей образует щель со стенками потокоделителя. Два поворотных вала с жестко закрепленными пластинами смонтированы под потокоделителем с возможностью поворота в противоположные стороны от оси течки, а два других вала с горизонтальными пластинами – с возможностью поворота в направлении вектора движения материала. Между выпускными окнами бункеров и течкой установлены шиберы. Использование изобретения позволяет улучшить эксплуатационные характеристики устройства, а также повысить его надежность. 2 з.п. ф-лы, 2 ил.
Изобретение относится к черной металлургии, в частности к загрузочным устройствам плавильных печей.
Известен распределитель шихты загрузочного устройства доменной печи, содержащий закрепленную на вертикальной штанге по оси печи приводную воронку с распределительным лотком, содержащим днище и боковые стенки, согласно изобретению лоток выполнен закрытым, жестко соединен с воронкой и снабжен установленными равноудаленно одна от другой вдоль лотка и охватывающими его электромагнитными катушками, одна из которых непосредственно примыкает к воронке, при этом на боковых стенках лотка между электромагнитными катушками выполнены загрузочные отверстия (А.С. СССР 1583447, кл. С21В 7/20, заявл. 25.03.88, опубл. бюл. 29, 1990).
Однако конструкция предложенного распределителя шихты сложная, требует увеличения капитальных затрат на изготовление и последующее обслуживание его в процессе работы печи. Невозможен осмотр и ремонт закрытой части агрегата, что не дает возможность своевременно предупредить аварийную ситуацию и снижает его надежность.
Наиболее близким по технической сущности и достигаемому результату (прототип) принято загрузочное устройство доменной печи, содержащее шлюзовые бункера с шихтовыми затворами и газоуплотнительными клапанами, расположенный под ними накопительный бункер с цилиндрической течкой, согласно изобретению оно снабжено жестко соединенным с накопительным бункером и размещенным по радиусу цилиндрической течки перпендикулярно плоскости шихтовых бункеров вертикальным ребром, нижняя кромка которого выполнена трапециевидной расширяющейся книзу и размещена в полости цилиндрической течки, которая выполнена с возможностью поворота относительно ее продольной оси (А.С. СССР 1544808, кл. С21В 7/20, заявл. 29.02.88, опубл. бюл. 7, 1990).
Данное загрузочное устройство не обеспечивает регулирование производительности и порционной выдачи материала, т.к. конструкция не исключает зависания материла в накопительном бункере.
В основу изобретения поставлена задача усовершенствования распределителя шихты загрузочного устройства путем создания конструкции распределительных элементов, обеспечивающих расширение диапазона превращения непрерывного потока отдельных компонентов шихты в циклично-дискретный поток доз, и тем самым улучшить эксплуатационные характеристики устройства, повысить его надежность в условиях высоких температур.
Поставленная задача решается тем, что в распределителе шихты загрузочного устройства, содержащем бункеры с выпускными окнами и разгрузочную течку с элементами для формирования потока материала, согласно изобретению разгрузочная течка выполнена в виде прямоугольного короба, в верхней части которого между выпускными окнами бункеров расположен потокоделитель, выполненный в виде полого прямоугольного бруса, продольная ось которого совпадает с центральной осью течки, а на внутренних противоположных стенках по длине течки поярусно жестко закреплены наклонные к горизонтальной плоскости пластины-отсекатели, верхние из которых образуют щель со стенками потокоделителя, при этом течка снабжена системой распределительных элементов для формирования потоков материала из бункеров, выполненной в виде симметрично установленных относительно центральной оси течки поворотных валов с пластинами и приводом их разведения независимо один от другого на две рабочие позиции, из них два валы расположены в нижней части потокоделителя с вертикальным расположением пластин в исходном положении, а два других вала с горизонтальными пластинами разнесены в полости короба между верхними и нижними отсекателями таким образом, что оси валов находятся в одной плоскости с нижними торцами вертикальных пластин, причем валы с вертикально закрепленными пластинами смонтированы с возможностью поворота независимо один от другого в противоположные стороны от оси течки на угол, соизмеримый секторному углу, ограниченному шириной нижерасположенной горизонтальной пластины, а валы с горизонтальными пластинами смонтированы с возможностью поворота в направлении вектора движения материала.
Разработанная конструкция распределителя шихты загрузочного устройства исключает полное заполнение разгрузочной щели шихтой и ее прижатие к контактной поверхности за счет постепенного ссыпания компонентов шихты самостоятельными потоками, что способствует повышению производительности плавильной печи.
Наличие пластин-отсекателей способствует дополнительной интенсификации выгрузки и предотвращению зависания материалов, а вертикально установленные пластины, закрепленные на валах и расположенные под потокоделителем с возможностью их ограниченного поворота, обеспечивают порционную подачу материала, находящегося на горизонтальных пластинах в случае, когда во время плавки фактический уровень шихты в плавильной печи оказывается ниже заданного, что позволяет повысить стабильность хода плавки и тем самым увеличить производительность печи.
Кроме того, за счет установки в течке подвижных и неподвижных пластин осуществляется постоянное перемещение материала, что исключает его зависание.
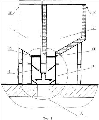
Сущность изобретения поясняется чертежами, где:
– на фиг.1 приведен общий вид загрузочного устройства;
– на фиг.2 – вид А на фиг.1.
Устройство содержит два бункера. Бункер 1 предназначен для загрузки угля, а бункер 2 выполнен футерованным и предназначен для загрузки горячих окатышей. Бункеры 1 и 2 в нижней части сопряжены с разгрузочной течкой 3, выполненной в виде прямоугольного короба. В верхней части течки 3 между выпускными окнами бункеров 1 и 2 расположен потокоделитель 4, выполненный в виде полого прямоугольного бруса, продольная ось которого совпадает с центральной осью течки 3. На внутренних противоположных стенках течки по всей ее длине жестко закреплены в несколько рядов наклонные к горизонтальной плоскости пластины-отсекатели 5. Оппозитно установленные верхние отсекатели 5 образуют щель со стенками потокоделителя 4. Разгрузочная течка снабжена системой распределительных элементов для формирования потоков материала из бункеров, выполненной в виде симметрично установленных относительно центральной оси поворотных валов с пластинами и приводом (не показан). Поворотные валы с пластинами установлены с возможностью их разведения независимо один от другого на две рабочие позиции, из них два вала 6 и 7 расположены в нижней части потокоделителя 4 с вертикальным расположением пластин 8 и 9 в исходном положении, а два других вала 10 и 11 с горизонтальными пластинами 12 и 13 разнесены в полости короба между верхними и нижними отсекателями 5 таким образом, что оси валов 10 и 11 находятся в одной плоскости. Валы 6 и 7 с вертикально закрепленными пластинами 8 и 9 смонтированы с возможностью поворота независимо один от другого в противоположные стороны от оси течки 3 на угол, соизмеримый секторному углу, ограниченному шириной горизонтальных пластин 12 и 13. Пластины 12 и 13 с валами 10 и 11 смонтированы с возможностью поворота в направлении вектора движения материала. Между выпускными окнами бункеров и течкой 3 установлены шиберы 14 и 15 для каждого бункера, а в верхней части каждого бункера установлен штуцер 16 для подачи газа. Прямоугольный короб течки 3 выполнен с двойными стенками для подачи охлаждающей жидкости.
Загрузочное устройство работает следующим образом.
При закрытых шиберах 14 и 15 в бункер 1 загружают уголь, а в футерованный бункер 2 загружают горячие окатыши. В соответствии с разработанной технологией плавки и с учетом загрузки компонентов шихты с различными весовыми соотношениями и плотностью предварительно устанавливают расходы угля и окатышей через разгрузочную течку для равномерного распределения шихты по количеству материала, что способствует повышению усреднения состава шихты. Горизонтальные пластины 12 и 13 могут устанавливаться под разными углами для изменения величины щели соответственно между вертикально расположенными пластинами 8 и 9.
При первоначальной загрузке плавильной печи одновременно углем и окатышами, в зависимости от крупности и объемов компонентов шихты, задают углы установки пластин 12 и 13, полученные экспериментальным путем. После открытия шиберов 14 и 15 в процессе гравитационного выпуска шихты из бункеров 1 и 2 по обе стороны разгрузочной течки 3 шихта попадает на пластины-отсекатели 5 и, изменяя направление, поступает на наклонные пластины 12 и 13 и сходит с них в выпускное отверстие течки. После полной загрузки печи шиберы 14 и 15 закрывают. В процессе плавки столб шихты уменьшается, и при необходимости производят дозагрузку шихтовых материалов. В бункеры загружают необходимый объем угля и окатышей. Включают подачу газа в бункеры через штуцеры 16 для выравнивания давления в системе бункер-печь и открывают шиберы 14 и 15. Пластины 12 и 13 расположены горизонтально. На этой стадии необходимо следить за тем, чтобы количество материала, поступающего из бункеров в разгрузочную течку, не превышало того количества, которое поступает на пластины 12 и 13. Соблюдение нужной пропорции поддерживают регулированием открывания шиберов. Материал собирается по длине пластин 12 и 13 и формируется под углом естественного откоса. Пластины, поворачиваясь с помощью механического привода, отсекают материал от рабочей поверхности пластин 12 и 13, и материал по наклонной пластине-отсекателю 5 перемещается к выпускному отверстию течки. Зависимость скорости подачи компонентов шихты в плавильную печь от частоты поворота вертикальных пластин определяется экспериментально путем просыпок загрузочного устройства.
Таким образом, использование распределителя шихты позволяет расширить технические возможности устройства путем регулировки величины расхода шихты, а также повысить стабильность хода плавки за счет своевременной компенсации опущенного уровня шихты в печи, способствует интенсификации выгрузки компонентов шихты из бункеров и предотвращению ее зависания, увеличивает производительность печи.
Формула изобретения
1. Распределитель шихты загрузочного устройства, содержащий бункеры с выпускными окнами и разгрузочную течку с элементами для формирования потока материала, отличающийся тем, что разгрузочная течка выполнена в виде прямоугольного короба, в верхней части которого между выпускными окнами бункеров расположен потокоделитель, выполненный в виде полого прямоугольного бруса, продольная ось которого совпадает с центральной осью течки, а на внутренних противоположных стенках по длине течки поярусно жестко закреплены наклонные к горизонтальной плоскости пластины-отсекатели, верхние из которых образуют щель со стенками потокоделителя, при этом течка снабжена системой распределительных элементов для формирования потоков материала из бункеров, выполненной в виде симметрично установленных относительно центральной оси течки поворотных валов с пластинами и приводом их разведения независимо один от другого на две рабочие позиции, из них два вала расположены в нижней части потокоделителя с вертикальным расположением пластин в исходном положении, а два других вала с горизонтальными пластинами разнесены в полости короба между верхними и нижними отсекателями таким образом, что оси валов находятся в одной плоскости с нижними торцами вертикальных пластин.
2. Распределитель шихты по п.1, отличающийся тем, что валы с вертикально закрепленными пластинами смонтированы с возможностью поворота независимо один от другого в противоположные стороны от оси течки на угол, соизмеримый секторному углу, ограниченному шириной нижерасположенной горизонтальной пластины.
3. Распределитель шихты по п.1, отличающийся тем, что валы с горизонтальными пластинами смонтированы с возможностью поворота в направлении вектора движения материала.
РИСУНКИ
|
|