|
|
(21), (22) Заявка: 2006124443/02, 10.07.2006
(24) Дата начала отсчета срока действия патента:
10.07.2006
(43) Дата публикации заявки: 20.01.2008
(46) Опубликовано: 20.05.2009
(56) Список документов, цитированных в отчете о поиске:
RU 2205345 С2, 27.05.2003. RU 2121641 C1, 10.11.1998. RU 2113675 C1, 20.06.1998. US 2006053671 A1, 16.03.2006. US 5845426 A, 08.12.1998. US 5697179 A, 16.12.1997. US 5566487 A, 22.10.1996.
Адрес для переписки:
125319, Москва, ул. Красноармейская, 27, кв.63, П.А.Борисову
|
(72) Автор(ы):
Борисов Петр Андреевич (RU)
(73) Патентообладатель(и):
Борисов Петр Андреевич (RU)
|
(54) ПИСТОЛЕТ-ПУЛЕМЕТ
(57) Реферат:
Изобретение относится к области стрелкового оружия. В пистолете-пулемете упор замедлителя установлен на направляющей с возможностью изменения своего положения на ней по высоте для изменения длины хода замедлителя и регулировки, тем самым, темпа стрельбы. Переводчик-предохранитель выполнен с возможностью блокирования шептала, а спусковой крючок и балансир снабжен выполняющим функции затворной задержки выступом для взаимодействия с подавателем магазина и выступом, взаимодействующим с шепталом для его поворота и освобождения затвора. Повышается кучность стрельбы, удобство и безопасность обращения с оружием при упрощении его конструкции. 1 ил.
Изобретение относится к области оружейной техники, в частности к пистолетам-пулеметам.
Известна конструкция пистолета-пулемета РМ-63, Польша, с ударниковым ударно-спусковым механизмом, инерциальным замедлителем и ведением огня с заднего шептала с применением выката (Бабак Ф.К. Индивидуальное стрелковое оружие, 2004 г., М., ООО “Издательство ACT”, стр.162-303). Основными недостатками такой конструкции являются зависимость темпа стрельбы от мощности применяемых патронов.
Задача данного изобретения состоит в создании ударно-спускового механизма, адаптированного под особенности сбалансированной схемы автоматики со свободным затвором, обеспечении возможности регулировки темпа стрельбы в зависимости от мощности применяемого патрона, индивидуальных особенностей стрелка и характера боевой задачи и повышении практической скорострельности оружия без увеличения технического темпа стрельбы. Достичь этого предполагается за счет применения останова затвора, совмещенного с переводчиком-предохранителем, применением инерциального замедлителя с регулируемой длиной хода грузика и особым характером работы автоматики, при котором основной деталью, взаимодействующей с предохранителем, шепталом и замедлителем является балансир, а не затвор. Такое решение позволяет более равномерно распределить нагрузки между затвором и балансиром и обеспечить возможность размещения всех деталей ударно-спускового механизма в рукоятке впереди магазина.
Сущность изобретения состоит в создании пистолета-пулемета, состоящего из ствола, ствольной коробки, свободного затвора, балансира, синхронизирующего узла, магазина, возвратной пружины и ударно-спускового механизма, состоящего из корпуса сборки, шептала, спускового крючка, переводчика-предохранителя, автоспуска, замедлителя, шайбы-упора замедлителя и закрепленного в затворе ударника, отличающегося тем, что балансир выполнен с возможностью контакта с шепталом, автоспуском и переводчиком-предохранителем, шайба-упор замедлителя выполнена с возможностью перемещения вдоль направляющей пружины замедлителя, на оси переводчика-предохранителя закреплена пружина и выполнен выступ для взаимодействия с шепталом, расположение которого выбрано из условия возможности спуска балансира с шептала при невыжатом спусковом крючке.
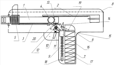
Изобретение состоит из ствола 1, затвора 2, балансира 3, синхронизирующего узла 4, возвратной пружины 5, ствольной коробки 6, магазина 7, крышки ствольной коробки 8, корпуса ударно-спускового механизма с направляющей для пружины замедлителя 9, спускового крючка 10, пружины спускового крючка 11, шептала 12, пружины шептала 13, автоспуска 14, двустороннего переводчика-предохранителя 15, замедлителя 16, пружины замедлителя 17 и регулировочной шайбы замедлителя 18.
Переводчик-предохранитель 15 во включенном состоянии блокирует спусковой крючок 10, балансир 3 и шептало 12 и имеет выступ 19 для взаимодействия с подавателем магазина при приходе его в крайнее верхнее положение. Переключение режимов огня осуществляется путем более энергичного нажатия на спусковой крючок 10, причем в начале своего хода он отжимает вниз автоспуск 14 с замедлителем 16, а затем высвобождает их.
После нажатия на спусковой крючок 11 он своим выступом опрокидывает шептало 12 и высвобождает находящийся в крайнем переднем положении балансир 3, который под действием возвратной пружины 5 начинает движение вперед и через синхронизирующий узел 4 увлекает за собой затвор 2. Происходит выстрел, после которого подвижная система откатывается назад, а затем начинает движение вперед. В начале периода своего наката балансир своим выступом 20 наносит удар по автоспуску – передающему рычагу замедлителя 14, приводит в действие замедлитель 16 и непосредственно вслед за этим становится на шептало 12. После срабатывания замедлителя 14 он опрокидывает шептало 12, высвобождает балансир 3 и затвор 2, который захватывает очередной патрон, досылает его в ствол и производит выстрел с выката. В режиме одиночного огня соударения балансира 3 с автоспуском 14 не происходит, поскольку автоспуск 14 и замедлитель 16 отжаты вниз выступом спускового крючка 10, и балансир 3 остается на шептале 12. По израсходовании патронов выступ подавателя магазина 7 поднимает переводчик-предохранитель 15, играющий роль останова затвора. При этом блокируется спусковой крючок 10 и шептало 12, что фиксирует подвижную систему в крайнем заднем положении и дает возможность открыть огонь сразу же после вставления нового магазина и отключения предохранителя 15.
Для безопасного спуска подвижной системы с шептала следует отвести вниз переводчик-предохранитель 15, который своим выступом 20 опрокинет шептало 12 и высвободит балансир 3, после чего переводчик-предохранитель 15 под действием своей пружины 21 вернется в исходное положение.
Регулировка темпа стрельбы осуществляется путем перемещения шайбы-упора пружины замедлителя 18 по направляющей пружины замедлителя, которая имеет винтовую резьбу. При перемещении шайбы вверх уменьшается длина его хода, за счет чего и возрастает темп стрельбы. При перемещении шайбы вниз длина хода замедлителя возрастает и темп стрельбы падает. Такое решение позволяет обеспечить стабильный темп стрельбы при использовании разноимпульсных патронов, а также расширяет тактические возвможности оружия за счет выбора оптимального темпа стрельбы для конкретной боевой задачи и в зависимости от индивидуальных особенностей стрелка.
Формула изобретения
Пистолет-пулемет, содержащий ствол, ствольную коробку, свободный затвор, балансир, синхронизирующий узел, магазин, возвратную пружину и ударно-спусковой механизм с ударником, состоящий из шептала, спускового крючка с пружиной, переводчика-предохранителя, автоспуска, замедлителя с пружиной и упором в виде шайбы, отличающийся тем, что упомянутый упор установлен на направляющей с возможностью изменения своего положения на ней по высоте для изменения длины хода замедлителя и регулировки тем самым темпа стрельбы, при этом переводчик-предохранитель выполнен с возможностью блокирования шептала и снабжен выполняющим функции затворной задержки выступом для взаимодействия с подавателем магазина и выступом, взаимодействующим с шепталом для его поворота и освобождения затвора.
РИСУНКИ
MM4A – Досрочное прекращение действия патента СССР или патента Российской Федерации на изобретение из-за неуплаты в установленный срок пошлины за поддержание патента в силе
Дата прекращения действия патента: 11.07.2009
Извещение опубликовано: 10.08.2010 БИ: 22/2010
|
|