|
(21), (22) Заявка: 2007106990/06, 26.02.2007
(24) Дата начала отсчета срока действия патента:
26.02.2007
(43) Дата публикации заявки: 10.09.2008
(46) Опубликовано: 20.05.2009
(56) Список документов, цитированных в отчете о поиске:
RU 2013746 C1, 30.05.1994. RU 2047077 С1, 27.10.1997. RU 1361454 А1, 07.01.1991. RU 2037121 С1, 09.06.1995. JP 57198988 С1, 06.12.1982.
Адрес для переписки:
620017, г.Екатеринбург, ул. Фронтовых бригад, 18, ЗАО “Уральский турбинный завод”
|
(72) Автор(ы):
Лесниченко Анатолий Яковлевич (RU), Ермоленко Дмитрий Иванович (RU), Гусев Александр Анатольевич (RU)
(73) Патентообладатель(и):
Закрытое акционерное общество “Уральский турбинный завод” (RU)
|
(54) ТЕПЛООБМЕННИК С ТЕПЛОВЫМИ U-ОБРАЗНЫМИ ТРУБАМИ
(57) Реферат:
Изобретение предназначено для теплообмена и может быть использовано в различных отраслях промышленности. Теплообменник содержит нижнюю часть корпуса с патрубками подвода и отвода греющей среды и верхнюю часть корпуса с патрубками подвода и отвода нагреваемой среды, верхнюю и нижнюю части тепловых труб, закрепленных соответственно в верхней и нижней трубных досках, между которыми образована общая камера тепловых труб. Теплообменник снабжен мановакуумметром и установленным перед ним вентилем. Общая камера тепловых труб сообщена с вентилем, соединенным с вакумной системой отсоса воздуха. Тепловые трубы выполнены U-образными. Изобретение обеспечивает регулирование давления в теловых трубах, исключение возможности кризиса теплоотдачи в испарителе и защиту от смешивания сред. 1 ил.
Изобретение относится к теплообменной аппаратуре и может быть использовано в энергетической, газовой, металлургической, химической и пищевой отраслях промышленности.
Известен теплообменный аппарат, содержащий корпус с тепловыми трубами, закрепленными в трубной доске, делящий корпус на два канала для потоков горячей и холодной сред (см., например, В.К.Зарипов, А.Н.Гердуни. Высокоэффективный компактный теплообменник-утилизатор на тепловых трубах. – Промышленная энергетика, 1, 1989, стр.37-39).
Известен теплообменный аппарат, в трубной доске которого содержится общая камера тепловых труб (см. RU 2013746, F28D 15/02).
Недостатками таких теплообменников являются:
– возможность кризиса теплоотдачи в испарителе при высоких радиальных тепловых потоках и запирания канала, препятствующего нормальной работе трубы;
– отсутствие регулирования давления в тепловых трубах и отсоса неконденсирующихся газов;
– отсутствие защиты от смешивания греющей и нагреваемой сред в случае разгерметизации соединения тепловые трубы – общая камера.
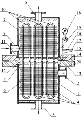
Предлагаемый теплообменный аппарат устраняет указанные недостатки. На чертеже показан продольный разрез предлагаемого теплообменника:
1 – нижняя часть корпуса;
2 – патрубок подвода греющей среды;
3 – патрубок отвода греющей среды;
4 – нижняя часть U-образных тепловых труб;
5 – нижняя трубная доска;
6 – пластины оребрения;
7 – верхняя часть корпуса;
8 – патрубок подвода нагреваемой среды;
9 – патрубок отвода нагреваемой среды;
10 – верхняя часть U-образных тепловых труб;
11 – верхняя трубная доска;
12 – общая камера тепловых труб;
13 – отверстие в верхней трубной доске;
14 – отверстие во фланце;
15 – трубка;
16 – регулирующий вентиль;
17 – система отсоса;
18 – мановакуумметр;
19 – вентиль;
20 – фланцы.
Теплообменник с тепловыми U-образными трубами содержит нижнюю часть корпуса 1 с патрубками подвода 2 и отвода 3 греющей среды, нижнюю часть U-образных тепловых труб 4 с промежуточным теплоносителем, закрепленных в нижней трубной доске 5 с насаженными пластинами оребрения 6. На нижнюю часть корпуса 1 устанавливается верхняя часть корпуса 7 с патрубками подвода 8 и отвода 9 нагреваемой среды, содержащей верхнюю часть оребренных тепловых труб 10, закрепленных в верхней трубной доске 11 с насаженными пластинами оребрения 6, аналогично нижней части корпуса. Между нижней 5 и верхней 11 трубными досками образована общая камера тепловых труб 12. Каждая половина теплообменника может быть изготовлена из различного материала соответственно физико-химическим свойствам сред.
Из общей камеры 12 тепловых труб через отверстия 13 и 14, трубку 15 и регулирующий вентиль 16 осуществляется отсос воздуха перед началом работы теплообменника с помощью системы отсоса 17.
С помощью мановакуумметра 18 осуществляется наблюдение за давлением в тепловых трубах. Для отключения мановакуумметра установлен вентиль 19.
Нижняя часть корпуса 1 соединяется с верхней частью корпуса 7 с помощью фланцев 20.
Если нагреваемой (охлаждающей) средой является окружающий воздух, то верхняя часть корпуса 7, кроме прижимного фланца 20, не ставится, а края пластин оребрения 6 ориентированы под углом к горизонту.
Теплообменник работает следующим образом. В период монтажа, перед установкой верхней части корпуса 7 на нижнюю часть корпуса 1, в нижнюю часть U-образных тепловых труб 4 заливается промежуточный теплоноситель. После окончательной сборки теплообменника, т.е. установки верхней части корпуса 7 на нижнюю часть корпуса 1, открывая вентили 16 и 19, соединяем незаполненную систему тепловых труб с вакуумной системой, отсасываем воздух, затем вентилем 16 отсоединяемся от вакуумной системы, закрывая его. Вентиль 19 перед мановакуумметром открыт для определения давления в тепловых трубах. Греющая среда поступает в нижнюю часть корпуса 1 через входной патрубок 2, отдает тепло промежуточному теплоносителю и уходит через выходной патрубок 3. При этом промежуточный теплоноситель кипит, и пары его поднимаются в верхнюю часть тепловых труб 10, где отдают тепло нагреваемой (охлаждающей) среде, конденсируются, конденсат промежуточного теплоносителя стекает в нижнюю часть тепловых труб 4 и процесс повторяется. Тепло конденсации паров промежуточного теплоносителя воспринимается нагреваемой (охлаждающей) средой, которая поступает через патрубок входа 8 верхней части корпуса 7, омывает теплообменную поверхность и покидает теплообменник через выходной патрубок 9.
Выполнение тепловых труб в виде U-образных исключает возможность кризиса теплоотдачи в испарителе при высоких радиальных тепловых потоках и запирание канала, т.к. образуются локальные контуры циркуляции в U-образных трубах.
Система регулирования давления в тепловых трубах, состоящая из регулирующего вентиля 16, мановакуумметра 17 и вентиля 19 позволяет регулировать давление в тепловых трубах, производить отсос неконденсирующихся газов, а также с помощью периодического отбора проб пара через вентиль 19 из общей камеры 12 делает возможным обнаружение проникновения греющей или нагреваемой среды в общую камеру 12 (случае разгерметизации соединения тепловые трубы – общая камера), что позволяет заранее предотвратить смешивание сред и избежать технологических и экологических проблем, например, в маслоохладителях – попадание масла в воду, сбрасываемую в водоем, и др.
Формула изобретения
Теплообменник с тепловыми трубами, содержащий нижнюю часть корпуса с патрубками подвода и отвода греющей среды и верхнюю часть корпуса с патрубками подвода и отвода нагреваемой среды, верхнюю и нижнюю части тепловых труб, закрепленных соответственно в верхней и нижней трубных досках, между которыми образована общая камера тепловых труб, отличающийся тем, что снабжен мановакуумметром и установленным перед ним вентилем, причем общая камера тепловых труб сообщена с вентилем, соединенным с вакуумной системой отсоса воздуха, а тепловые трубы выполнены U-образными.
РИСУНКИ
|