|
|
(21), (22) Заявка: 2007121525/06, 08.06.2007
(24) Дата начала отсчета срока действия патента:
08.06.2007
(43) Дата публикации заявки: 20.12.2008
(46) Опубликовано: 20.05.2009
(56) Список документов, цитированных в отчете о поиске:
US 3712760 А, 23.01.1973. RU 24544 U1, 10.08.2002. US 4543218 A, 24.09.1985. SU 892189 A, 23.12.1981.
Адрес для переписки:
423578, Республика Татарстан, г. Нижнекамск, пр. Химиков, 38, кв.1, Ф.М. Давлетшину
|
(72) Автор(ы):
Давлетшин Феликс Мубаракович (RU)
(73) Патентообладатель(и):
Давлетшин Феликс Мубаракович (RU)
|
(54) ВЕНТИЛЯТОРНАЯ ГРАДИРНЯ
(57) Реферат:
Изобретение относится к контактным охладителям, в частности к конструкции вентиляторной градирни, и может быть использовано на предприятиях химической и энергетической промышленности для охлаждения оборотной воды. Вентиляторная градирня содержит корпус с диффузором в верхней части, воздухозаборными окнами и бассейном в нижней части и каплеуловителем, водораспределительную систему и ороситель внутри корпуса, при этом в верхней части корпуса размещен электропривод лопастного колеса вентилятора, отличается тем, что в верхней части корпуса закреплены, по крайней мере, две параллельные балки, между которыми закреплены, по крайней мере, две поперечные балки с образованием центрального квадратного отверстия для монтажа над каплеуловителем электропривода лопастного колеса вентилятора, при этом электропривод выполнен в виде мотор-редуктора, размещенного в выполненной в виде прямоугольного параллелипипеда раме, состоящей из двух установленных друг на друга секций, каждая из которых образована выполненными из труб четырьмя стойками, скрепленными между собой посредством приваренных к ним металлических полос, расположенных в одной плоскости под острым углом друг к другу и жестко соединенных друг с другом и с соседними стойками посредством прямоугольных косынок, между собой секции зафиксированы относительно друг друга посредством приваренных к стойкам фланцев, соединенных между собой болтовыми соединениями, причем нижняя секция выполнена с квадратным основанием, по углам которого приварены косынки, в которых выполнены отверстия для крепления основания к балкам, образующим квадратное отверстие, а верхняя секция сверху выполнена с опорной металлической плитой с центральным отверстием, соосным оси диффузора градирни, и на опорной металлической плите закреплен металлический плоский круглый фланец, через центральное отверстие которого выведен вал подвешенного на круглом фланце мотор-редуктора электропривода лопастного колеса вентилятора, при этом отношение высоты рамы к ее ширине составляет от 1,4 до 1,8. В результате достигается повышение эффективности работы вентиляторной градирни за счет снижения затрат на сборку градирни, повышение качества сборки электропривода и упрощение обслуживания электропривода лопастного вентилятора градирни. 3 ил.
Изобретение относится к контактным охладителям, в частности к конструкции вентиляторной градирни, и может быть использовано на предприятиях химической и энергетической промышленности для охлаждения оборотной воды.
Известна вентиляторная градирня, содержащая корпус с диффузором в верхней части, воздухозаборными окнами и бассейном в нижней части и каплеуловителем, водораспределительную систему и ороситель внутри корпуса, при этом в корпусе установлен соосно диффузору водоподводящий вертикальный трубопровод водораспределительной системы, с упором на который установлен электропривод лопастного колеса вентилятора, включающий редуктор и расположенный рядом с ним на радиально расположенной балке электродвигатель, (см. патент US 4543218, кл. F28F 25/04, 24.09.1985).
Выполнение вентиляторной градирни с расположенным на вертикальном водоподводящем трубопроводе вентилятором приводит к аэродинамическим потерям, тем самым снижает эффективности работы данной градирни.
Наиболее близкой по технической сущности и достигаемому результату является вентиляторная градирня, содержащая корпус с диффузором в верхней части, воздухозаборными окнами и бассейном в нижней части и каплеуловителем, водораспределительную систему и ороситель внутри корпуса, при этом в верхней части корпуса размещен электропривод лопастного колеса вентилятора (см. US 3712760, кл. F28F 25/00, 23.01.1973).
Выполнение вентиляторной градирни с размещенным в верхней части корпуса электроприводом лопастного колеса вентилятора позволило упростить конструкцию вентиляторной градирни.
Однако выполнение электропривода лопастного колеса вентилятора в виде отдельных самостоятельно закрепленных на раме корпуса электродвигателя и редуктора, соединенных между собой посредством муфты, с одной стороны, упростило проведение регламентных и ремонтных работ электропривода, но, с другой стороны, привело к усложнению монтажных работ и необходимости отладки работы электропривода на месте монтажа.
Задачей настоящего изобретения является упрощение сборочно-монтажных работ.
Техническим результатом, достигаемым от реализации изобретения, является повышение эффективности работы вентиляторной градирни за счет снижения затрат на сборку градирни, повышение качества сборки электропривода и упрощение обслуживания электропривода лопастного вентилятора градирни.
Указанная задача решается, а технический результат достигается за счет того, что вентиляторная градирня содержит корпус с диффузором в верхней части, воздухозаборными окнами и бассейном в нижней части и каплеуловителем, водораспределительную систему и ороситель внутри корпуса, при этом в верхней части корпуса размещен электропривод лопастного колеса вентилятора и закреплены, по крайней мере, две параллельные балки, между которыми закреплены, по крайней мере, две поперечные балки с образованием центрального квадратного отверстия для монтажа над каплеуловителем электропривода лопастного колеса вентилятора, при этом электропривод выполнен в виде мотор-редуктора, размещенного в выполненной в виде прямоугольного параллелипипеда раме, состоящей из двух установленных друг на друга секций, каждая из которых образована выполненными из труб четырьмя стойками, скрепленными между собой посредством приваренных к ним металлических полос, расположенных в одной плоскости под острым углом друг к другу и жестко соединенных друг с другом и с соседними стойками посредством прямоугольных косынок, между собой секции зафиксированы относительно друг друга посредством приваренных к стойкам фланцев, соединенных между собой болтовыми соединениями, причем нижняя секция выполнена с квадратным основанием, по углам которого приварены косынки, в которых выполнены отверстия для крепления основания к балкам, образующим квадратное отверстие, а верхняя секция сверху выполнена с опорной металлической плитой с центральным отверстием, соосным оси диффузора градирни, и на опорной металлической плите закреплен металлический плоский круглый фланец, через центральное отверстие которого выведен вал подвешенного на круглом фланце мотор-редуктора электропривода лопастного колеса вентилятора, при этом отношение высоты рамы к ее ширине составляет от 1,4 до 1,8.
В ходе проведенного исследования работы вентиляторных градирен, в частности диффузоров вентиляторов градирен, была разработана такая конструкция электропривода лопастного колеса вентилятора, которая позволила создать модульную конструкцию электропривода, которая практически полностью может быть собрана вне градирни в заводских условиях, а потом в собранном виде установлена в балках в верхней части градирни, при этом конструкция электропривода за счет простой конструкции рамы и возможности установки и демонтажа как отдельно мотор-редуктора в собранном виде, так и вместе с рамой позволило значительно упростить проведение регламентных и ремонтных работ. Относительно легкая и технологически простая в изготовлении рама позволяет быстро проводить осмотр мотор-редуктора, что ускоряет процесс выявления внешних повреждений, в частности всякого рода негерметичностей и коррозионных повреждений.
Вторая задача, которая решена в данном изобретении, – возможность сборки градирни из конструктивно простых однотипных элементов конструкции, что приводит, с одной стороны, к упрощению сборки вентилятора градирни на месте ее установки, а с другой стороны, к унификации элементов конструкции вентиляторных градирен, рассчитанных на различную производительность, что в конечном итоге приводит к повышению качества сборки и снижению себестоимости изготовления и обслуживания вентиляторных градирен.
Указанного результата удалось добиться за счет того, что в верхней части шахты над каплеуловителем с помощью выполненных из проката, например из швеллеров, балок собирается простая по конструкции опора для рамы электропривода, содержащая, по крайней мере, две параллельные балки, между которыми закреплены, по крайней мере, две поперечные балки с образованием центрального квадратного отверстия для монтажа над каплеуловителем электропривода лопастного колеса вентилятора, а рама, в которой установлен мотор-редуктор, выполнена с квадратным основанием, по углам которого приварены косынки, в которых выполнены отверстия для крепления основания к балкам, образующим квадратное отверстие. В ходе анализа различных конструкций редукторов и электромоторов было установлено, что наилучших результатов с точки зрения размещения в корпусе связки электродвигатель-редуктор с образованием сборки мотор-редуктор при наименьшем количестве конструктивных элементов для его изготовления удалось добиться при отношении высоты рамы к ее ширине составляющем от 1,4 до 1,8.
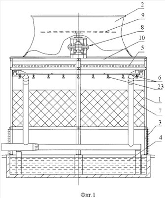
На фиг.1 представлен продольный разрез вентиляторной градирни.
На фиг.2 представлен вид сбоку на электропривод с установленным в нем мотор-редуктором.
На фиг.3 представлен вид А на фиг.2.
Вентиляторная градирня содержит корпус 1 с диффузором 2 в верхней части, воздухозаборными окнами 3 и бассейном 4 в нижней части и каплеуловителем 5, водораспределительную систему 6 и ороситель 7 внутри корпуса 1. В верхней части корпуса 1 размещен электропривод 8 лопастного колеса 9 вентилятора и закреплены, по крайней мере, две параллельные балки 10, между которыми закреплены, по крайней мере, две поперечные балки (не показаны) с образованием центрального квадратного отверстия для монтажа над каплеуловителем 5 электропривода 8 лопастного колеса 9 вентилятора.
Электропривод 8 выполнен в виде мотор-редуктора 11, размещенного в выполненной в виде прямоугольного параллелипипеда раме 12, состоящей из двух установленных друг на друга секций, каждая из которых образована выполненными из труб четырьмя стойками к 13, скрепленными между собой посредством приваренных к ним металлических полос 14, расположенных в одной плоскости под острым углом друг к другу и жестко соединенных друг с другом и с соседними стойками посредством прямоугольных косынок 15, между собой секции зафиксированы относительно друг друга посредством приваренных к стойкам 13 фланцев 16, соединенных между собой болтовыми соединениями. Нижняя секция выполнена с квадратным основанием 17, по углам которого приварены косынки 18, в которых выполнены отверстия 19 для крепления основания 17 к балкам 10, образующим квадратное отверстие. Верхняя секция сверху выполнена с опорной металлической плитой 20 с центральным отверстием, соосным оси диффузора 2 градирни, и на опорной металлической плите 20 закреплен металлический плоский круглый фланец 21, через центральное отверстие которого выведен вал 22 подвешенного на круглом фланце 21 мотор-редуктора 11 электропривода 8 лопастного колеса 9 вентилятора, при этом отношение высоты «Н» рамы 12 к ее ширине «В» составляет от 1,4 до 1,8.
Вращающееся от электропривода 8 лопастное колесо 9 вентилятора осуществляет подсос воздуха в корпус 1 через выполненные в нижней части корпуса 1 градирни воздухозаборные окна 3. Вода через водораспределительную систему 6 подается в разбрызгивающие сопла 23, откуда она в виде капель попадает на поверхность оросителя 7, заполняющего большую часть объема между бассейном 4 и разбрызгивающими соплами 19 водораспределительной системы 6, по которой вода в виде тонкой пленки стекает в бассейн 4. При этом стекающая пленка воды обдувается потоком воздуха, создаваемым лопастным колесом 9 вентилятора. Атмосферный воздух продувается через ороситель 7, что способствует его интенсивному насыщению испаряемой влагой по всей высоте оросителя 7 и интенсивному охлаждению воды. Нагретый воздух лопастным колесом 9 вентилятора через диффузор 2 выбрасывается в атмосферу, а каплеуловитель 5 препятствует уносу капель жидкости из градирни вместе с потоком воздуха, созданным лопастным колесом 9 вентилятора.
Настоящее изобретение может быть использовано в вентиляторных градирнях для охлаждения воды в водооборотных системах промышленных предприятий при непосредственном контакте охлаждаемой воды и охлаждающего ее воздуха.
Формула изобретения
Вентиляторная градирня, содержащая корпус с диффузором в верхней части, воздухозаборными окнами и бассейном в нижней части и каплеуловителем, водораспределительную систему и ороситель внутри корпуса, при этом в верхней части корпуса размещен электропривод лопастного колеса вентилятора, отличающаяся тем, что в верхней части корпуса закреплены, по крайней мере, две параллельные балки, между которыми закреплены, по крайней мере, две поперечные балки с образованием центрального квадратного отверстия для монтажа над каплеуловителем электропривода лопастного колеса вентилятора, при этом электропривод выполнен в виде мотор-редуктора, размещенного в выполненной в виде прямоугольного параллелипипеда раме, состоящей из двух установленных друг на друга секций, каждая из которых образована выполненными из труб четырьмя стойками, скрепленными между собой посредством приваренных к ним металлических полос, расположенных в одной плоскости под острым углом друг к другу и жестко соединенных друг с другом и с соседними стойками посредством прямоугольных косынок, между собой секции зафиксированы относительно друг друга посредством приваренных к стойкам фланцев, соединенных между собой болтовыми соединениями, причем нижняя секция выполнена с квадратным основанием, по углам которого приварены косынки, в которых выполнены отверстия для крепления основания к балкам, образующим квадратное отверстие, а верхняя секция сверху выполнена с опорной металлической плитой с центральным отверстием, соосным оси диффузора градирни, и на опорной металлической плите закреплен металлический плоский круглый фланец, через центральное отверстие которого выведен вал подвешенного на круглом фланце мотор-редуктора электропривода лопастного колеса вентилятора, при этом отношение высоты рамы к ее ширине составляет от 1,4 до 1,8.
РИСУНКИ
|
|