|
|
(21), (22) Заявка: 2007125516/06, 06.07.2007
(24) Дата начала отсчета срока действия патента:
06.07.2007
(46) Опубликовано: 20.05.2009
(56) Список документов, цитированных в отчете о поиске:
RU 2295095 C1, 10.03.2007. SU 1211536 A, 15.02.1986. SU 1395908 A1, 15.05.1988. RU 2236650 C1, 20.09.2004. GB 2078360 A, 06.01.1982. GB 2065500 A, 01.07.1981.
Адрес для переписки:
142110, Московская обл., г. Подольск, а/я 29
|
(72) Автор(ы):
Зиберт Генрих Карлович (RU), Зиберт Алексей Генрихович (RU), Валиуллин Илшат Минуллович (RU), Феоктистова Татьяна Михайловна (RU)
(73) Патентообладатель(и):
Закрытое акционерное общество “Центральное конструкторское бюро нефтегазовой промышленности” (ЗАО “ЦКБ НГП”) (RU), Зиберт Генрих Карлович (RU)
|
(54) СПОСОБ УТИЛИЗАЦИИ ТЕПЛА НИЗКОНАПОРНЫХ ПОТОКОВ И УСТАНОВКА ДЛЯ ЕГО РЕАЛИЗАЦИИ
(57) Реферат:
Группа изобретений относится к способам и устройствам утилизации тепла низконапорных потоков для нагрева текучих сред. Температуру промежуточного теплоносителя повышают эжектированием низконапорного горячего потока высоконапорным циркулирующим потоком промежуточного теплоносителя, охлаждают и отделяют охлажденный низконапорный поток от промежуточного жидкостного потока теплоносителя при давлении выше исходного низконапорного, после снятия тепла повышают давление промежуточного теплоносителя до первоначального, превращают энергию давления жидкостного промежуточного теплоносителя в тепловую энергию. В установку для утилизации тепла низконапорных потоков введен сепаратор, вход которого соединен с выходом смеси из эжектора, выход охлажденного низконапорного газа соединен с дымовой трубой, выход жидкого теплоносителя с насосом, а в качестве контактного устройства использован эжектор с патрубками входа высоконапорного теплоносителя и низконапорного горячего потока и выхода смеси. Изобретение обеспечивает повышение эффективности процесса утилизации тепла низконапорных потоков без увеличения гидравлических потерь на их утилизацию, увеличение количества тепла выше количества утилизируемого, снижение эксплуатационных и капитальных затрат на установку для осуществления способа, расширение диапазона применения. 2 н. и 6 з.п. ф-лы, 2 ил.
Изобретения относятся к способам и устройствам утилизации тепла низконапорных потоков для нагрева текучих сред, преимущественно для нагрева технологических потоков углеводородных газов, конденсатов, водных растворов гликолей или метанола, а также для нагрева теплоносителей промышленных и бытовых зданий и сооружений, например, продуктами сгорания печей, огневых подогревателей, сбросных теплых потоков жидкостей.
Известны способ и устройство по утилизации тепла дымовых газов трубчатых печей путем применения воздухоподогревателя для подогрева воздуха, поступающего в печь для горения топлива, либо установкой котлов-утилизаторов, позволяющих получить водяной пар для технологических нужд предприятия или жилого района. (А.И.Скобло, Ю.К.Молоканов, А.И.Владимиров, В.А.Щелкунов. Процессы и аппараты нефтегазопереработки и нефтехимии. М. НЕДРА. 2000, стр.548-552). Способ включает подачу воздуха в теплообменник под давлением, где он через стенку теплообменной поверхности нагревается уходящими газами от продуктов горения топлива. Устройство включает теплообменник, установленный на выходе из корпуса печи, трубное пространство которого по входу воздуха соединено с напорным патрубком вентилятора, а по выходу воздуха с горелкой печи. Межтрубное пространство теплообменника по входу соединено с выходом горячих продуктов горения из печи, а по выходу с дымовой трубой.
Недостатками этого способа и устройства являются:
– повышение гидравлического сопротивления печи по тракту продуктов горения, что ведет к увеличению габаритов печи и дымовой трубы;
– ограничение скорости дымовых газов перепадом давления на дымовой трубе;
– частичная утилизация тепла дымовых газов, только в количестве необходимом для нагрева воздуха на горение топлива, а при применении котлов утилизаторов происходит утилизация тепла дымовых газов только до температуры выше температуры пара;
– наличие вредных механических и газообразных выбросов в атмосферу;
– невозможность получения тепла больше утилизированного с низконапорных потоков;
– усложнение монтажа и ремонта теплообменника, установленного на большой высоте;
– большие габариты, материалоемкость, а следовательно, и капитальные затраты из-за низких скоростей низконапорных потоков и необходимости больших теплообменных поверхностей.
Известен способ нагрева текучих сред и устройство для его осуществления (патент 2295095, МПК F24H 1/10. В указанном способе теплом продуктов сгорания испаряют промежуточный теплоноситель (воду), парами воды разбавляют газы продуктов сгорания для снижения температуры их конденсации, смесью нагревают текучую среду, после чего нагреваемой средой из смеси конденсируют промежуточный теплоноситель.
Устройство включает камеру использования тепла радиации для испарения промежуточного теплоносителя, камеру утилизации тепла уходящей газовой смеси, змеевик конденсации промежуточного теплоносителя нагреваемой средой.
Недостатком данного способа и устройства являются:
– ограниченность температуры и количества тепла потоком продуктов сгорания;
– наличие выбросов механических примесей и продуктов сгорания выше температуры конденсации при атмосферном давлении;
– сложность применения для модернизации существующих печей (подогревателей).
– значительные габариты из-за низких скоростей утилизируемых потоков продуктов сгорания и паров промежуточного теплоносителя.
Задача, на решение которой направлена заявляемая группа изобретений, заключается в повышении эффективности процесса утилизации тепла низконапорных потоков без увеличения гидравлических потерь на их утилизацию, увеличение количества тепла выше количества утилизируемого, снижение эксплуатационных и капитальных затрат на установку для осуществления способа, расширение диапазона применения.
Единый технический результат при осуществлении группы изобретений по объекту – способу достигается тем, что в способе утилизации тепла низконапорных потоков, включающем использование тепловой энергии низконапорных потоков для нагрева принудительно циркулирующего потока промежуточного теплоносителя при их прямом контакте и последующего отбора тепла от промежуточного теплоносителя, температуру промежуточного теплоносителя повышают эжектированием низконапорного горячего потока высоконапорным циркулирующим потоком промежуточного теплоносителя, охлаждают и отделяют охлажденный низконапорный поток от промежуточного жидкостного потока теплоносителя при давлении выше исходного низконапорного, а после снятия тепла повышают давление промежуточного теплоносителя до первоначального, превращают энергию давления жидкостного промежуточного теплоносителя в тепловую энергию. Прямой контакт низконапорного потока с промежуточным теплоносителем осуществляют в паровой фазе, причем паровую фазу промежуточного теплоносителя образуют нагревом промежуточного жидкостного потока низконапорным потоком или подводят тепло от постороннего источника пара. Съем тепла с нагретого теплоносителя осуществляют до и (или) после повышения его давления. Отбор тепла с низконапорного потока осуществляют дополнительно контактом с частью охлажденного промежуточного теплоносителя. Нагретый промежуточный теплоноситель используют для нагрева воздуха, топлива подогревателей и (или) технологических и бытовых потоков.
Единый технический результат при осуществлении группы изобретений по объекту – устройство достигается тем, что в установке утилизации тепла низконапорных газов для осуществления предложенного способа, включающей камеру с линией отбора низконапорного потока, контактное устройство для смешения теплоносителя с горячим низконапорным потоком, теплообменник для снятия тепла от смеси теплоносителя с низконапорным потоком, насос для возврата охлажденного теплоносителя на контакт с низконапорным потоком, внедрен сепаратор, вход которого соединен с выходом смеси из эжектора, выход охлажденного низконапорного газа соединен с дымовой трубой, а выход жидкого теплоносителя с насосом, а в качестве контактного устройства использован жидкостный эжектор с патрубками входа высоконапорного теплоносителя и низконапорного горячего потока и выхода смеси. В верхней части сепаратора установлена насадка, при этом вход подачи охлажденного теплоносителя сепаратора соединен с выходом теплообменника. Штуцер насоса высоконапорного нагретого теплоносителя соединен с теплообменниками нагрева воздуха и (или) нагрева топлива подогревателя, нагрева технологических потоков, например испарения воды.
Заявителем и авторами не обнаружены аналогичные признаки, которые могли бы обеспечить повышение эффективности процесса утилизации тепла низконапорных потоков без увеличения гидравлических потерь на их утилизацию, увеличение количества тепла выше количества утилизируемого, снижение эксплуатационных и капитальных затрат на установку для осуществления способа, расширение диапазона применения.
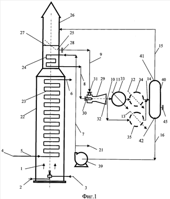
На фигуре 1 изображена схема, иллюстрирующая предлагаемый способ утилизации тепла низконапорных потоков, и установка для его осуществления с одной ступенью контакта в эжекторе.
На фигуре 2 изображена схема, иллюстрирующая предлагаемый способ утилизации тепла низконапорных потоков, и установка для его осуществления с двумя зонами контакта – в эжекторе и в сепараторе.
Объект – способ утилизации тепла низконапорных потоков осуществляется следующим образом.
Продукты сгорания 1, образованные, например, при сжигании топлива, подаваемого для сжигания по линии 2, в присутствии окислителя-воздуха, поступающего по линии 3, подают в качестве низконапорного горячего потока на нагрев продукта 4, который поступает для нагрева по линии 5 и отводится потребителю по линии 6. Низконапорный горячий поток используют для нагрева и испарения высоконапорного промежуточного теплоносителя (воды), который поступает в подогреватель по линии 7. Полученный водяной пар отбирают и подают по линии 8 в качестве активного потока для эжектирования горячего низконапорного потока (продукты сгорания 1), который по линии 9 отбирают из дымовой трубы, предотвращая их выброс в атмосферу.
Смесь, полученную в результате эжектирования низконапорного потока водяным паром, отбирают по линии 10 и охлаждают путем теплообмена, например топливом 11, воздухом 12, технологическим продуктовым потоком 13. Нагретые топливо и воздух используют для горения, направляя их в нагреватель по линиям 2 и 3 соответственно, а продуктовый поток 13 подают в линию 5. Охлажденную газожидкостную смесь по линии 14 направляют для разделения. Газовый поток, отделенный от промежуточного теплоносителя при давлении выше исходного низконапорного потока, отбирают по линии 15. Промежуточный теплоноситель после разделения отбирают и подают по линии 16, повышают его давление и направляют по линии 7 для испарения и последующей рециркуляции по линии 8 в качестве активного потока для эжектирования горячего низконапорного потока (продукты сгорания 1).
Количеством циркулирующего промежуточного теплоносителя вводят дополнительное требуемое тепло, превращая перепад давления на входе и выходе насоса в тепловую энергию, которая дополнительно к утилизированному теплу низконапорных газов повышает температуру промежуточного теплоносителя.
На фиг.2 изображен вариант способа утилизации тепла низконапорных газов, по которому смесь после эжектирования охлаждают холодным потоком 17, поступающим от потребителя тепла, и (или) дополнительно охлаждают отделенный в результате сепарации низконапорный поток перед отбором его по линии 15 частью циркулирующего промежуточного теплоносителя, который подают по линии 18 после его охлаждения. Паровую фазу, подаваемую по линии 19 в качестве активного потока для эжектирования горячего низконапорного потока, получают в испарителе 20 путем подвода тепла от постороннего источника к промежуточному теплоносителю. Подвод тепла осуществляют после повышения давления промежуточного теплоносителя, отбираемого после сепарации по линии 16, очищения его от примесей путем отбора жидкости через линию 21 на регенерацию и охлаждения. Система утилизации тепла подпитывается водой.
Пример.
Расход нагреваемого продукта (газа) в печи, м3/ч – 15320;
Температура нагреваемого продукта, С° – 20-50;
Давление нагреваемого продукта, МПа – 0,03;
Расход топливного газа, м3/ч – 225;
Расход промежуточного теплоносителя, кг/с – 5
Теплота сгорания топлива, кДж/м3 – 37500;
Количество воздуха, необходимого для сгорания топлива, м3/м3 – 10;
Коэффициент избытка воздуха, – 1,15;
Количество дымовых газов, м3/ч – 8300
Температура горения топлива, С° – 1820;
Температура дымовых газов, С° – 700;
Температура дымовых газов после подогрева продуктов и промежуточного теплоносителя, С° – 330;
Плотность дымовых газов с воздухом, кг/м3 – 1,28
Давление промежуточного теплоносителя на выходе из насоса
(входе в эжектор), МПа – 0,424;
Давление смеси на выходе из эжектора, МПа – 0,05;
Температура промежуточного теплоносителя на входе в
теплообменник, С° – (250-260);
Температура промежуточного теплоносителя на выходе из
теплообменника, С° – 40;
Температура выхода газа из сепаратора в дымовую трубу,
С° – (80-100);
Количество утилизируемого тепла продуктов сгорания,
кДж/м3 – 4500.
Количество вносимого тепла от срабатывания давления на
насосе, кВт – 2,5.
Объект устройство – установка для осуществления способа утилизации тепла низконапорных потоков содержит подогреватель 22 со змеевиком 23 для нагрева продукта, змеевиком 24 для превращения высоконапорного промежуточного теплоносителя из жидкой фазы в паровую, камеру 25, снабженную на выходе в дымовую трубу 26 заслонкой 27 и штуцером отбора низконапорных потоков 28, жидкостный эжектор 29 с патрубками входа 30 высоконапорного теплоносителя, патрубками входа 31 низконапорного горячего потока и патрубками выхода 32 смеси, теплообменники 33, 34, 35 (фиг.1) и 36, 37, 38 (фиг.2) для снятия тепла с нагретых смеси и промежуточного теплоносителя, насос 39 для возврата охлажденного теплоносителя на контакт с низконапорным потоком, сепаратор 40, вход которого соединен через теплообменники 33, 34 (фиг.1) или через теплообменник 36 (фиг.2) с выходом 32 эжектора 29, выход охлажденного низконапорного газа 41 соединен с трубой 26, а выход промежуточного теплоносителя 42 с насосом 39. Сепаратор 40 может быть снабжен насадкой 43 и входом для подачи охлажденного промежуточного теплоносителя 44, соединенного с теплообменником 37 (фиг.2). Для превращения высоконапорного теплоносителя из жидкой фазы в паровую предусмотрен паровой испаритель 20 (фиг.2). Сепаратор 40 снабжен штуцером 45 для подачи воды.
Устройство работает следующим образом.
Продукты сгорания 1, образованные в подогревателе 22, например, при сжигании топлива, подаваемого по линии 2, в присутствии окислителя-воздуха, поступающего по линии 3, подают в качестве горячего низконапорного потока на нагрев продукта 4 в змеевике 23. Горячий низконапорный поток используют и для нагрева и испарения высоконапорного промежуточного теплоносителя (воды) в змеевике 24 (фиг.1), расположенном в камере 25, которую отделяют от дымовой трубы 26 заслонкой 27. Промежуточный теплоноситель подают в змеевик 24 по линии 7 насосом 39. Паровую фазу (фиг.2) промежуточного теплоносителя, можно получить в испарителе 20 путем подвода тепла от постороннего источника. Подвод тепла осуществляют после повышения насосом 39 давления промежуточного теплоносителя, отбираемого из сепаратора 40 по линии 16, очищения его от примесей путем отбора жидкости через линию 21 на регенерацию и охлаждения в теплообменнике 38.
Высоконапорный промежуточный теплоноситель в виде пара подают в качестве активного потока по линии 8 (фиг.1) или по линии 19 (фиг.2) на патрубок входа 30 эжектора 29 для эжектирования горячего низконапорного потока, подаваемого из камеры 25 через штуцер 28 на второй вход 31 эжектора 29. После эжектирования нагретую смесь подают через патрубок выхода 32 эжектора 29 в теплообменники 33, 34, 35 (фиг.1) или 36 (фиг.2) для утилизации тепла смеси, при этом энергию давления превращают в тепловую энергию. В сепараторе 40 производят отделение из смеси газового потока, отделяют низконапорный поток от промежуточного теплоносителя при давлении выше исходного в камере 25. Дополнительно охлаждают отделенный в результате сепарации газовый поток перед отбором его из сепаратора 40 на насадке 43 частью циркулирующего промежуточного теплоносителя, который подают для орошения на вход 44 сепаратора 40 по линии 18 после его охлаждения в теплообменниках 38 и 37 (фиг.2). Отделенный газовый поток с выхода 41 сепаратора 40 по линии 15 направляют в дымовую трубу 26. Промежуточный теплоноситель через выход 42 сепаратора 40 отбирают по линии 16, повышая его давление до первоначального с помощью насоса 39, и направляют на рециркуляцию. На фиг.2 показан вариант снятия тепла с жидкостных потоков высоконапорного промежуточного теплоносителя после насоса 39 на теплообменниках 38, 37. Система утилизации тепла подпитывается водой через штуцер 45.
Использование предлагаемого способа и устройства для сепарации жидкости от газового потока позволило обеспечить повышение эффективности процесса утилизации тепла низконапорных потоков без увеличения гидравлических потерь в нагревателе на их утилизацию, увеличение количества тепла выше количества утилизируемого, снижение эксплуатационных и капитальных затрат на установку для осуществления способа, расширение диапазона применения.
Формула изобретения
1. Способ утилизации тепла низконапорных потоков, включающий использование тепловой энергии низконапорных потоков для нагрева циркулирующего высоконапорного потока промежуточного теплоносителя при их прямом контакте и последующего отбора тепла от промежуточного теплоносителя, отличающийся тем, что температуру промежуточного теплоносителя повышают эжектированием низконапорного горячего потока высоконапорным циркулирующим потоком промежуточного теплоносителя, охлаждают и отделяют охлажденный низконапорный поток от промежуточного жидкостного потока теплоносителя при давлении выше исходного низконапорного, а после снятия тепла повышают давление промежуточного теплоносителя до первоначального, превращают энергию давления жидкостного промежуточного теплоносителя в тепловую энергию.
2. Способ утилизации тепла низконапорных потоков по п.1, отличающийся тем, что прямой контакт низконапорного потока с промежуточным теплоносителем осуществляют в паровой фазе, причем паровую фазу промежуточного теплоносителя образуют нагревом промежуточного жидкостного потока низконапорным потоком или подводят тепло от постороннего источника пара.
3. Способ утилизации тепла низконапорных потоков по п.1, отличающийся тем, что съем тепла с нагретого теплоносителя осуществляют до и(или) после повышения его давления.
4. Способ утилизации тепла низконапорных потоков по п.1, отличающийся тем, что отбор тепла с низконапорного потока осуществляют дополнительно контактом с частью охлажденного промежуточного теплоносителя.
5. Способ утилизации тепла низконапорных потоков по п.1, отличающийся тем, что нагретый промежуточный теплоноситель используют для нагрева воздуха, топлива подогревателей и(или) технологических и бытовых потоков.
6. Установка для утилизации тепла низконапорных потоков, включающая камеру с линией отбора низконапорного потока, контактное устройство для смешения теплоносителя с горячим низконапорным потоком, теплообменник для снятия тепла от смеси теплоносителя с низконапорным потоком, насос для возврата охлажденного теплоносителя на контакт с низконапорным потоком, отличающаяся тем, что в нее веден сепаратор, вход которого соединен с выходом смеси из эжектора, выход охлажденного низконапорного газа соединен с дымовой трубой, выход жидкого теплоносителя – с насосом, а в качестве контактного устройства использован эжектор с патрубками входа высоконапорного теплоносителя и низконапорного горячего потока и выхода смеси.
7. Установка для утилизации тепла низконапорных потоков по п.6, отличающаяся тем, что в верхней части сепаратора установлена насадка, при этом вход подачи охлажденного промежуточного теплоносителя сепаратора соединен с выходом теплообменника.
8. Установка для утилизации тепла низконапорных потоков по п.6, отличающаяся тем, что штуцер насоса высоконапорного нагретого теплоносителя соединен с теплообменниками нагрева воздуха и(или) нагрева топлива подогревателя, нагрева технологических потоков, например, испарения воды.
РИСУНКИ
PC4A – Регистрация договора об уступке патента СССР или патента Российской Федерации на изобретение
Прежний патентообладатель:
Закрытое акционерное общество “Центральное конструкторское бюро нефтегазовой промышленности”, Зиберт Генрих Карлович
(73) Патентообладатель:
Зиберт Генрих Карлович
(73) Патентообладатель:
Валиуллин Илшат Минулович
Договор № РД0058360 зарегистрирован 17.12.2009
Извещение опубликовано: 27.01.2010 БИ: 03/2010
|
|