|
|
(21), (22) Заявка: 2007114208/06, 16.04.2007
(24) Дата начала отсчета срока действия патента:
16.04.2007
(30) Конвенционный приоритет:
20.09.2006 DE 202006014378
(43) Дата публикации заявки: 10.11.2008
(46) Опубликовано: 20.05.2009
(56) Список документов, цитированных в отчете о поиске:
DE 29801917 U1, 20.05.1998. DE 9301812 U1, 24.06.1993. SU 1435894 A1, 15.05.1990. SU 1216579 A, 07.03.1986. SU 892137 A, 23.12.1981.
Адрес для переписки:
644122, г.Омск-122, ул. 5-й Армии, 6, ООО НПФ “Экотерм”
|
(72) Автор(ы):
Ланда Юрий Исакович (RU)
(73) Патентообладатель(и):
Ланда Юрий Исакович (RU)
|
(54) СПОСОБ РАБОТЫ ВОЗДУХООБРАБАТЫВАЮЩЕГО АГРЕГАТА, В ЧАСТНОСТИ КОНДИЦИОНЕРА ВОЗДУХА, И УСТРОЙСТВО ДЛЯ ЕГО ОСУЩЕСТВЛЕНИЯ (ВАРИАНТЫ)
(57) Реферат:
Изобретение предназначено для обработки воздуха помещения с рекуперацией тепла. Способ включает процесс всасывания вентилятором в рециркуляционный канал комнатного воздуха и процесс всасывания через вентиляционный канал свежего воздуха. Свежий и комнатный воздух смешивают в рециркуляционном канале и осуществляют процессы термической, влажностной или иной обработки с помощью установленного в рециркуляционном канале оборудования. Способ дополнен процессом удаления части комнатного воздуха из рециркуляционного канала через вентиляционный канал на улицу, причем процессы всасывания свежего и удаления части комнатного воздуха чередуют, а чередование производят путем поочередного подключения с помощью специального устройства вентиляционного канала к всасывающему и нагнетательному патрубкам вентилятора. Между свежим и удаляемым воздухом осуществляют процесс регенеративного теплообмена при посредстве воздухопроницаемого теплоемкого регенератора, размещенного в вентиляционном канале. В первом варианте устройства для организации притока свежего и удаления комнатного воздуха служит вентилятор, установленный в рециркуляционном канале, а во втором – отдельный вентилятор в вентиляционном канале. Технический результат – повышение надежности и энергосбережения. 3 н. и 11 з.п. ф-лы, 9 ил.
Группа изобретений относится к области обработки воздуха, такой как кондиционирование, воздушное отопление, воздухоочистка, а также к области регулируемой вентиляции с рекуперацией тепла. Особо изобретения касаются установок обработки воздуха для небольших помещений, таких как жилье, офисы, врачебные кабинеты, палаты и др. Устанавливаемые там воздухообрабатывающие агрегаты: кондиционеры различных типов, тепловые насосы воздушного отопления, воздухоочистители, вентиляционные приборы приточной и вытяжной вентиляции в большинстве случаев выполняются как местные приборы. Они компактны, не требуют прокладки воздуховодов, подходят для различных климатических и эксплуатационных условий. Особенно большой группой воздухообрабатывающих агрегатов, в которой предлагаемая группа изобретений хорошо применима, являются кондиционеры воздуха и тепловые насосы воздушного отопления.
Современные комфортабельные жилища, офисы, больничные палаты должны иметь хорошее качество воздуха. Под этим понимается чистота, отсутствие механической пыли и аллергенов, оптимальная температура и влажность. Решение этой задачи связано с применением различного рода кондиционеров воздуха, воздушных тепловых насосов, доводчиков, воздухоочистителей, увлажнителей и осушителей воздуха и др.
Однако важнейшим качеством воздушной среды помещений является ее газовый состав, концентрация в нем таких газообразных составляющих, как углекислый газ и кислород. Особенно актуальным поддержание газового состава воздуха помещений стало в связи с внедрением технологий плотного строительства, включающего установку герметичных окон и дверей. Для обеспечения газового состава используются различные вентиляционные устройства, подающие свежий воздух в помещения и удаляющие загрязненный воздух. В небольших отдельных помещениях, таких как квартиры, параллельно с кондиционированием используются местные системы вентиляции.
Еще одним важным аспектом, который должен учитываться при построении современной климатической системы, является энергосбережение. Если учесть, что примерно 66% теплопотерь современного здания составляют вентиляционные потери – потери тепла с удаляемым из помещения вытяжным воздухом, то очевидна важность технически грамотного построения вентиляционных и климатических систем. В частности, выполнение требований энергосбережения в современных плотных (герметичных) зданиях возможно только в системах, реализующих процессы рекуперации тепла вытяжного воздуха.
Указанные соображения относятся к достаточно широкой группе воздухообрабатывающих агрегатов, таких как электрические воздухонагреватели с аккумулированием тепла, различные отопительные приборы. Особенно они актуальны применительно к находящим очень широкое применение в обеспечении климата небольших помещений кондиционерам/тепловым насосам различного типа. Однако эти приборы не могут полностью решить проблему создания здорового климата в помещении. Это объясняется их устройством и способом работы.
Известен способ работы и конструктивные решения наиболее распространенных из воздухообрабатывающих агрегатов для поддержания климата небольших помещений, так называемых сплит-кондиционеров воздуха, выполненных с наружным компрессорным блоком и внутренним блоком, которые соединены трубопроводами для хладагента. Во внутреннем блоке кондиционера имеется рециркуляционный канал с оборудованием для воздухообработки. Во внутреннем блоке кондиционера происходят процессы всасывания комнатного воздуха вентилятором, очистки его в фильтрах различного типа, охлаждения в теплообменнике-испарителе, осушения и нагнетания обработанного воздуха в помещение. (См. кн. Ананьев и др. «Системы вентиляции и кондиционирования. Теория и практика». М.: Евроклимат, изд. «Арина», 2000.) Аналогичным образом протекают процессы в воздушных тепловых насосах, выполненных по раздельной схеме. Вместо процесса охлаждения воздуха в них реализуется процесс нагрева. Большинство же этих устройств являются комбинированными «тепло-холод».
Недостатком способа работы и реализующей его конструкции является то, что они не осуществляют процессов замены загрязненного воздуха помещения на свежий воздух. В атмосфере помещения накапливается углекислый газ и пары воды. Вентиляцию помещения приходится осуществлять отдельно, например открыванием окон. При этом в инструкциях к большинству кондиционеров либо указано на нежелательность, либо дан прямой запрет на их использование при проведении вентиляции помещения. Это объясняется тем, что мощность кондиционера не рассчитана на охлаждение/нагрев свежего воздуха.
Это более наглядно проявляется при использовании для вентиляции отдельных самостоятельных, как правило, приточных вентиляционных приборов. Их главный недостаток – проблема энергетической совместимости с системой кондиционирования, поскольку применение такого вентиляционного прибора энергетически эквивалентно открыванию окна. Другим недостатком применения раздельных приборов для кондиционирования и вентиляции является практически удвоение стоимости проекта: выполняя ряд идентичных процессов, каждый из приборов имеет свой корпус, фильтры, вентилятор, систему управления. И наконец, воздух, подаваемый в помещение такими вентиляционными приборами, в большинстве случаев имеет температуру наружного, что не соответствует понятию комфорта.
Существует небольшая группа местных вентиляционных приборов, решающая проблему энергосбережения. Среди них наиболее распространены приточно-вытяжные приборы с утилизацией тепла вытяжного воздуха в перекрестно-точном рекуперативном теплообменнике (см., например, www.meltem.de). Однако эти приборы дорогостоящи, сложны, не приспособлены к работе в условиях низких зимних температур. Канал удаляемого из помещения воздуха в таких приборах быстро перемерзает, а средства защиты от замерзания связаны с резким снижением эффективности рекуперации.
Более эффективны и устойчивы к низким температурам приточно-вытяжные вентиляционные приборы с регенератором (см. Описание промышленного образца DE 29801917 U1 от 05.02.98 и DE 9301812 U1 от 10.02.93). В этих приборах процессы подачи в помещение свежего воздуха и удаления загрязненного производят попеременно через один и тот же вентиляционный канал, стенки которого представляют собой теплоемкий регенератор. Для осуществления такого процесса используется реверсивный вентилятор. Теплый удаляемый воздух направляют через регенератор на улицу, осуществляя при этом в процессе теплоотдачи нагрев насадки регенератора. Затем встречный поток холодного свежего воздуха нагревается, охлаждая регенератор. Часть влаги, сконденсировавшейся или замерзшей при теплом дутье, при холодном дутье испаряется или сублимирует и поступает назад в помещение. Вследствие этого упомянутые вентиляционные приборы успешно функционируют даже при низких температурах.
Однако в них для получения приемлемого энергосбережения необходимо иметь либо короткое время дутья, либо достаточно большие размеры и теплоемкость регенератора. Поскольку размеры регенератора ограничены, используют малую длительность дутья. При этом в течение одного цикла подают в помещение небольшое количество свежего воздуха. Область свежего воздуха образуется в основном вблизи вентиляционного прибора. Именно из этой области происходит последующий процесс всасывания удаляемого воздуха. Часть свежего воздуха сразу выбрасывается наружу, и эффективность воздухообмена в помещении падает. По тем же причинам необходимо иметь минимум две работающие в противофазе установки (см. www.inventer.de).
Кроме того, при низких температурах входящий воздух даже при высокой эффективности установки недостаточно подогрет. Размещение людей вблизи вентиляционного прибора (собственно в зоне свежего воздуха) нежелательно. Например, при наружной температуре -20°С и КПД 80% (средняя величина, даваемая производителем) температура входящего воздуха составляет лишь +12°С.
Регенераторы установок согласно приведенным описаниям (керамика, набор алюминиевых пластин) дороги, нетехнологичны и недостаточно эффективны.
Другим существенным недостатком всей группы приточно-вытяжных вентиляционных приборов с рекуперацией тепла является их сильная зависимость от изменяющихся внешних факторов, таких как сильный ветер, открывание дверей, включение в работу кухонных и туалетных вытяжных вентиляторов, каминов и т.п. Под их воздействием нарушается равенство количеств свежего и удаляемого воздуха и эффективность значительно падает.
И наконец, главным недостатком описанных приборов является то, что они не обеспечивают всех требуемых для комфортного климата процессов обработки воздуха и в большинстве случаев служат дополнением кондиционеру.
Известен способ работы и конструктивные решения кондиционеров/тепловых насосов, выполненных по моноблочной схеме, так называемых оконных кондиционеров/тепловых насосов. В большинстве из них имеется дополнительный вентиляционный канал, соединяющий рециркуляционный канал с наружным воздухом. Вентиляционный канал подключен к всасывающему штуцеру вентилятора, осуществляющего рециркуляцию комнатного воздуха. В этих кондиционерах одновременно с процессами всасывания и обработки комнатного воздуха реализуется процесс всасывания свежего воздуха с улицы через вентиляционный канал в рециркуляционный. Далее рециркулирующий комнатный и свежий воздух смешивают и обрабатывают в оборудовании, установленном в рециркуляционном канале. Процессы обработки и соответственно набор оборудования аналогичны описанным выше для сплит-кондиционеров.
Аналогичный способ работы реализован и в конструкциях фреоновых и чиллерных климатических систем с фанкойлами напольного, потолочного или кассетного типов, обеспечивающих охлаждение воздуха в теплый период года и подогрев в холодный. Они, как правило, имеют возможность подключения воздуховода (иногда с дополнительным приточным вентилятором и калорифером) для подачи свежего воздуха в рециркуляционный канал и реализуют тот же способ работы, что и моноблочные кондиционеры (см. кн. Ананьев и др. «Системы вентиляции и кондиционирования. Теория и практика». М.: Евроклимат, изд. «Арина», 2000).
2, CO2 или Н2O, но не обеспечивает рекуперации тепла.
Кроме того, способ и все устройства, его реализующие, требуют наличия в помещении дополнительной вытяжной вентиляции и неработоспособны при ее отсутствии. После повышения давления в помещении приток практически прекращается.
Таким образом, недостатком приведенного способа работы и устройства различных воздухообрабатывающих агрегатов, его реализующих, является то, что они дороги, однако не обеспечивают вентиляцию в полном объеме и неэффективны, так как не предусматривают процессов энергосберегающего подогрева или охлаждения свежего воздуха (рекуперации тепла), то есть не обеспечивают поддержание комфортных климатических кондиций.
Задачей предлагаемой группы изобретений является устранение указанных недостатков, а именно: разработка способа работы воздухообрабатывающего агрегата, позволяющего совместить процессы обработки комнатного воздуха с процессами высокоэффективной энергосберегающей вентиляции и обеспечить высокоэкономичное поддержание комфортных климатических кондиций в помещениях современных плотных зданий, а также разработка устройств (варианты), которые в простой и дешевой конструкции обеспечивают реализацию указанного способа работы с сохранением основных достоинств устройств-аналогов.
Технический результат – создание простой, надежной конструкции воздухообрабатывающего агрегата (варианты), в частности кондиционера, с функцией высокоэффективной приточно-вытяжной вентиляции с рекуперацией тепла, повышение эффективности воздухообмена и уровня энергосбережения.
Указанный единый технический результат при осуществлении группы изобретений по объекту – способ достигается тем, что известный способ работы воздухообрабатывающего агрегата, в частности кондиционера воздуха, включающий процесс всасывания вентилятором комнатного воздуха в рециркуляционный канал, а также процесс всасывания через вентиляционный канал свежего воздуха, его смешения с комнатным воздухом в рециркуляционном канале, процессы термической, влажностной или иной обработки воздуха с помощью установленного в рециркуляционном канале оборудования, дополнен процессом удаления части комнатного воздуха из рециркуляционного канала через вентиляционный канал на улицу, причем процессы всасывания свежего воздуха и удаления части комнатного воздуха чередуют, а чередование производят путем поочередного подключения вентиляционного канала к всасывающему и нагнетательному патрубкам вентилятора, при этом осуществляют процесс теплообмена между свежим и удаляемым воздухом при посредстве воздухопроницаемого теплоемкого регенератора, размещенного в вентиляционном канале.
В наиболее простой и эффективной реализации предлагаемого способа работы воздухообрабатывающего агрегата вентиляционный канал подключают поочередно к всасывающему и нагнетательному патрубкам вентилятора, установленного в рециркуляционном канале, причем при подключении к всасывающему патрубку, по крайней мере, частично уменьшают пропускную способность расположенной до вентилятора части рециркуляционного канала, а при подключении вентиляционного канала к нагнетательному патрубку вентилятора, по крайней мере, частично уменьшают пропускную способность части рециркуляционного канала, расположенной после вентилятора.
Для дальнейшего повышения эффективности и поддержания температуры подаваемого в помещение воздуха дополнительно измеряют температуру воздуха в вентиляционном канале и по ее значению определяют степень уменьшения пропускной способности входной части рециркуляционного канала. При этом при значениях температуры, находящихся в заданном комфортном интервале, пропускную способность входной части рециркуляционного канала уменьшают, а при выходе за пределы интервала – увеличивают.
В ином варианте реализации способа работы воздухообрабатывающего агрегата вентиляционный канал подключают поочередно к всасывающему и нагнетательному патрубкам отдельного дополнительного вентилятора, установленного непосредственно в вентиляционном канале.
В наиболее простой реализации способа работы воздухообрабатывающего агрегата длительность подключения вентиляционного канала к соответственно всасывающему и нагнетательному патрубку вентилятора задают реле времени.
Для повышения эффективности реализации способа работы воздухообрабатывающего агрегата длительность подключения вентиляционного канала к нагнетательному патрубку вентилятора задают реле времени, а к всасывающему определяют по температуре воздуха в вентиляционном канале, причем при выходе температуры за пределы интервала комфортных температур вентиляционный канал переключают к нагнетательному патрубку вентилятора.
В другом варианте для повышения эффективности реализации способа работы воздухообрабатывающего агрегата длительность подключения вентиляционного канала к всасывающему и нагнетательному патрубку вентилятора определяют по температуре воздуха в вентиляционном канале.
В другом варианте для повышения эффективности реализации способа работы воздухообрабатывающего агрегата длительность подключения вентиляционного канала к соответственно всасывающему и нагнетательному патрубку вентилятора задают реле времени, а скорость вращения этого вентилятора определяют по температуре воздуха в вентиляционном канале. При выходе температуры воздуха за пределы заданного интервала комфортных температур скорость вращения вентилятора уменьшают.
Единый технический результат при осуществлении группы изобретений по объекту – устройство достигается созданием вариантов конструкции агрегата, реализующих предложенный способ работы.
В первом варианте воздухообрабатывающего агрегата, в частности кондиционера, включающем внутренний блок с рециркуляционным каналом и расположенными в нем вентилятором, входным и выходным устройствами для комнатного воздуха, воздухообрабатывающим устройством, в частности воздухоохладителем, а также вентиляционный канал, соединенный с наружным воздухом, в вентиляционном канале дополнительно размещен воздухопроницаемый теплоемкий регенератор, между внутренним штуцером которого и вентилятором предусмотрено переключающее устройство, которое устроено таким образом, что при своей работе попеременно подключает регенератор к всасывающему и нагнетательному патрубкам вентилятора и одновременно, по меньшей мере, частично перегораживает рециркуляционный канал, ограничивая поток воздуха соответственно через входное устройство при подключении к всасывающему патрубку вентилятора и выходное устройство при подключении к нагнетательному патрубку.
Переключающее устройство выполнено в виде поворотного золотникового трехходового клапана, золотник которого имеет два окна и соединяющий их канал, с вентилятором, установленным внутри таким образом, что всасывающий патрубок соединен с одним окном золотника, а нагнетательный – с другим, причем при работе агрегата тело золотника последовательно частично или полностью перекрывает входную и выходную часть рециркуляционного канала, а канал золотника одновременно соединяет вентиляционный канал с размещенным в нем регенератором соответственно с выходной и входной частью рециркуляционного канала.
При выключении воздухообрабатывающего агрегата и переводе его в режим рециркуляции тело золотника полностью перекрывает вентиляционный канал.
В воздухообрабатывающем агрегате, в частности кондиционере, воздухопроницаемый теплоемкий регенератор выполнен из плотно уложенных пластин сотового полипропилена или поликарбоната.
В другом варианте воздухообрабатывающего агрегата, в частности кондиционера, включающем внутренний блок с рециркуляционным каналом и расположенными в нем вентилятором, входным и выходным устройствами для комнатного воздуха, воздухообрабатывающим устройством, в частности воздухоохладителем, а также вентиляционный канал, соединенный с наружным воздухом, в вентиляционном канале дополнительно размещен воздухопроницаемый теплоемкий регенератор, установлен дополнительный вентилятор и переключающее устройство, которое устроено таким образом, что при своей работе попеременно подключает воздухопроницаемый теплоемкий регенератор к всасывающему и нагнетательному патрубкам дополнительного вентилятора.
В воздухообрабатывающем агрегате воздухопроницаемый теплоемкий регенератор выполнен из плотно уложенных пластин сотового полипропилена или поликарбоната.
Заявленная группа изобретений соответствует требованию единства, поскольку группа разнообъектных изобретений образует единый изобретательский замысел. При этом один из заявленных объектов группы – «воздухообрабатывающий агрегат» – предназначен для осуществления другого заявленного объекта группы – «способа работы воздухообрабатывающего агрегата», и оба объекта группы изобретений направлены на решение одной и той же задачи с получением единого технического результата.
Заявленная группа изобретений «воздухообрабатывающий агрегат (варианты)» соответствует требованию единства изобретения, поскольку группа однообъектных изобретений образует единый изобретательский замысел, причем заявка относится к объектам изобретения одного вида, одинакового назначения, обеспечивающим получение одного и того же технического результата принципиально одним и тем же способом.
Проведенный анализ уровня техники, включающий поиск по патентным и научно-техническим источникам информации и выявление источников, содержащих сведения об аналогах заявленной группы изобретений как для объекта – способа, так и для объекта – устройства (варианты), не выявил аналоги как для способа, так и для устройства (варианты) заявленной группы, которые характеризуются признаками, тождественными (идентичными) всем существенным признакам как способа, так и устройства (варианты) заявленной группы изобретений. Анализ позволил выявить совокупность существенных по отношению к достигаемому техническому результату отличительных признаков для каждого из заявленных объектов группы, изложенных в формуле изобретения.
Для проверки соответствия каждого объекта заявленной группы изобретений условию «изобретательский уровень» проведен дополнительный поиск известных решений. В процессе поиска и анализа установлено, что ведущие производители интенсивно ищут пути повышения эффективности воздухообрабатывающих агрегатов, в частности кондиционеров, введения в них функции вентиляции. Однако эти поиски идут в основном в иной плоскости (см., например,
6).
Решений, обладающих набором признаков, сходных с предлагаемыми, не выявлено. Предложенный в настоящей заявке путь не является очевидным для ведущих мировых разработчиков. Таким образом, результаты поиска показали, что каждый объект заявленной группы изобретений не вытекает для специалиста явным образом из известного уровня техники.
На чертежах изображены схемы воздухообрабатывающих агрегатов, поясняющие способ работы.
На фиг.1 и 2 способ работы иллюстрируется на примере схемы воздухообрабатывающего агрегата – канального или кассетного кондиционера (показан только внутренний блок, компрессорная установка, размещенная в наружном блоке кондиционера, на схеме отсутствует) или вентиляторного доводчика – фэнкойла системы отопления. На фиг.1 схема показана в процессе всасывания свежего воздуха и на фиг.2 – в процессе удаления загрязненного.
На фиг.3 в качестве примера показана полная схема воздухообрабатывающего агрегата – сплит-установки, работающей по циклу теплового насоса или кондиционера и реализующей предлагаемый способ. Здесь относительно фиг.1 и 2 дополнительно приведены элементы: компрессорная установка 20, трубопроводы 19, теплообменник «воздух-хладагент» 18, ранее не показанные. Фиг.3 иллюстрирует также, что порядок размещения оборудования по ходу воздуха в рециркуляционном канале 1 не влияет на реализуемость предлагаемого способа и может отличаться от приведенного на фиг.1 и 2. На фиг.3 приведено исполнение с размещением воздухообрабатывающего устройства 4 – теплообменника «воздух-хладагент» 18 до вентилятора 2, что характерно для кондиционеров и тепловых насосов с настенным внутренним блоком.
На фиг.4 показана схема с дополнительным (приточно-вытяжным) вентилятором и переключающим устройством, установленными в вентиляционном канале.
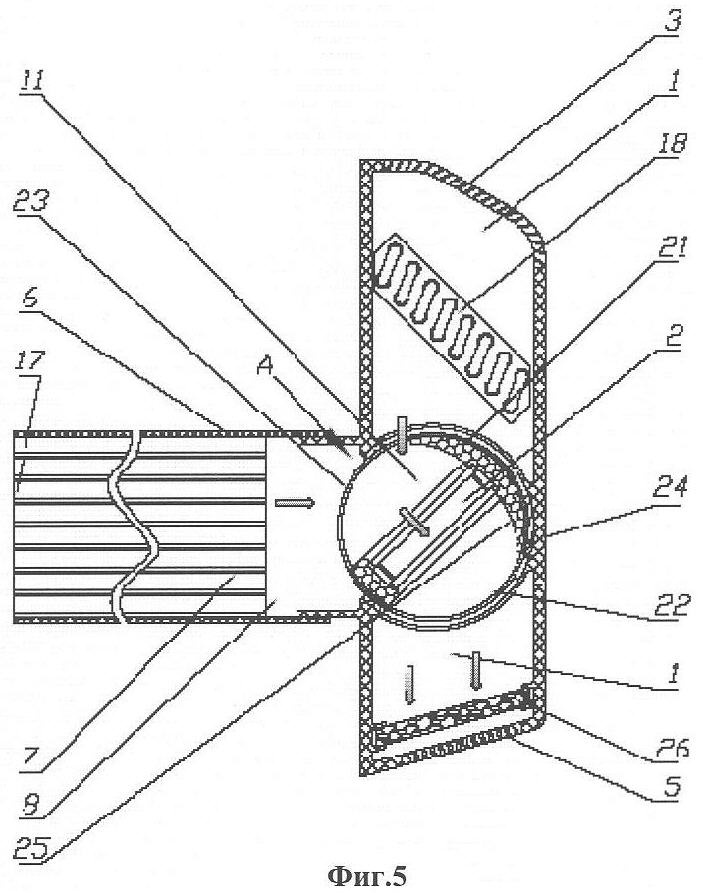
На фиг.5 показан внутренний блок воздухообрабатывающего агрегата, в частности кондиционера, конструктивное решение которого реализует предложенный способ работы, а на фиг.6 дан вид на переключающее устройство – золотниковый клапан.
На фиг.7 показано наиболее простое конструктивное исполнение агрегата, в котором реализован предложенный способ работы с дополнительным вентилятором. Здесь показан вентиляционный канал с установленными в нем регенератором, переключающим устройством и вентилятором (рециркуляционный канал с установленными в нем элементами не показан). На фиг.8 и 9 приведен вид на переключающее устройство агрегата, показанного на фиг.7, в положениях, соответствующих осуществлению различных процессов способа.
Способ работы воздухообрабатывающего агрегата, в частности кондиционера воздуха, наиболее удобно пояснить на примере кондиционера, схема внутреннего блока которого приведена на фиг.1 и 2. Он заключается в следующем. С помощью вентилятора 2 осуществляют процесс всасывания комнатного воздуха из помещения через входное устройство 3 в рециркуляционный канал 1. Одновременно с помощью того же вентилятора 2 осуществляют процесс всасывания в рециркуляционный канал 1 через вентиляционный канал 6 свежего воздуха. В рециркуляционном канале 1 выполняют смешение комнатного и свежего воздуха. По мере прохождения воздуха через рециркуляционный канал 1 осуществляют процессы его термической, влажностной или иной обработки, набор и последовательность которых зависят от назначения и конструкции воздухообрабатывающего агрегата. На схемах фиг.1 и 2 в рециркуляционном канале 1 по ходу потока воздуха над ним последовательно осуществляют процессы обработки во входном устройстве 3 (например, очистку в фильтре), в воздухообрабатывающем устройстве 4 (например, подогрев в воздухонагревателе) и выходном устройстве 5 (например, очистку и раздачу воздуха обратно в помещение через качающиеся жалюзи). Набор и количество устанавливаемых в рециркуляционном канале 1 устройств обработки воздуха и соответственно выполняемых процессов обработки, а также последовательность их установки по ходу потока воздуха, а следовательно, последовательность выполнения этих процессов могут быть различны. Этот набор может, в частности, включать нагрев или охлаждение, увлажнение или осушку, адсорбционную и бактерицидную обработку, насыщение аэроионами и др. Всасывание воздуха может осуществляться одним или несколькими параллельно включенными вентиляторами и т.д. Способ работы подобных устройств и конструкции всех упомянутых выше их элементов известны до даты приоритета. Набор и последовательность выполнения отдельных процессов в рециркуляционном канале 1 не влияют на осуществление предлагаемого способа.
Для реализации предлагаемого способа дополнительно осуществляют процесс удаления части комнатного воздуха из рециркуляционного канала 1 через вентиляционный канал 6 на улицу, причем процессы всасывания свежего воздуха и удаления части комнатного воздуха чередуют во времени. Для их чередования поочередно подключают вентиляционный канал 6 к всасывающему 9 и нагнетательному патрубку 10 вентилятора 2. При этом осуществляют процесс теплообмена между свежим и удаляемым воздухом при посредстве воздухопроницаемого теплоемкого регенератора 7, размещенного в вентиляционном канале 6. Этот процесс заключается в том, что при удалении воздуха на улицу осуществляют его теплообмен с теплоемким регенератором 7. Вступая в теплообмен, воздух отдает регенератору 7 свое тепло (зимой) и сам охлаждается. Впоследствии при всасывании свежего воздуха осуществляют его нагрев в процессе теплообмена с нагретым теплоемким регенератором 7. Регенератор 7 при этом охлаждается. В летнее время, когда температура наружного воздуха выше, чем в помещении, процесс теплообмена между удаляемым и свежим воздухом ведет к охлаждению последнего.
На фиг.1 схема показана для момента, когда выполняется процесс удаления воздуха через вентиляционный канал 6, вентиляционный канал 6 подключен к штуцеру нагнетания 10 вентилятора 2. На фиг.2 – в момент выполнения процесса всасывания свежего воздуха, вентиляционный канал 6 подключен к всасывающему штуцеру 9.
Реализации предлагаемого способа по схеме фиг.1 и 2 наиболее проста и экономична, поскольку не требует дополнительных вентиляторов для осуществления описанных новых процессов. Всасывание свежего и удаление воздуха – циклическое изменение направления потока в вентиляционном канале 6 и регенераторе 7 осуществляют путем последовательного подключения внутреннего патрубка регенератора 8 к всасывающему 9 и нагнетательному патрубку 10 вентилятора 2 с помощью переключающего устройства 11, установленного в месте соединения рециркуляционного канала 1 и вентиляционного канала 6.
При работе воздухообрабатывающего агрегата по описываемому варианту способа в процессе подключения вентиляционного канала 6 с помощью переключающего устройства 11 к всасывающему штуцеру 9 вентилятора 2 и удаления комнатного воздуха из рециркуляционного канала 1 через вентиляционный канал 6 принудительно, по меньшей мере, частично уменьшают пропускную способность части рециркуляционного канала 1, расположенной после вентилятора 2, и тем самым уменьшают подачу воздуха из рециркуляционного канала 1 в помещение. Соответственно в процессе подключения вентиляционного канала 6 с помощью переключающего устройства 11 к всасывающему штуцеру 9 вентилятора 2 и всасывания свежего воздуха из вентиляционного канала 6 в рециркуляционный канал 1 принудительно, по меньшей мере, частично уменьшают пропускную способность расположенной до вентилятора 2 части рециркуляционного канала 1 и тем самым уменьшают поток воздуха из помещения в рециркуляционный канал 1. Изменение пропускной способности рециркуляционного канала 1 меняет долю удаляемого на улицу или соответственно всасываемого свежего воздуха, позволяет регулировать соотношение потоков, а следовательно, и параметры после смешения и условия теплообмена в воздухопроницаемом теплоемком регенераторе 7. При этом изменения пропускной способности (свободного сечения) канала производят тем же переключающим устройством 11.
Согласно предлагаемому способу степень уменьшения пропускной способности рециркуляционного канала 1 и соответственно регулирование соотношения потоков воздуха может осуществляться по желанию потребителя: «слабая вентиляция – сильная вентиляция», по командам единой системы управления зданием или по сигналам датчиков присутствия в помещении, влажности, уровня СО2 и т.д.
Регулирование пропускной способности рециркуляционного канала 1 в предлагаемом способе работы обеспечивает возможность регулирования температуры воздуха, подаваемого в помещение. По требованиям санитарных норм температура потока, подаваемого в помещение, должна отличаться от температуры в помещении не более чем на несколько градусов. Для выполнения этого требования согласно предлагаемому способу дополнительно измеряют температуру. При выходе температуры за пределы заданного диапазона меняют пропускную способность рециркуляционного канала 1.
В наиболее простом и эффективном варианте измеряют температуру воздуха в вентиляционном канале 6 в месте его примыкания к рециркуляционному каналу 1. Осуществление такого процесса измерения позволяет точно поддерживать температуру даже в течение одного процесса всасывания свежего воздуха. Процесс теплообмена в регенераторе 7 является нестационарным. Ввиду этого температура свежего воздуха на входе в рециркуляционный канал 1 в течение одного процесса всасывания меняется (в зимнее время к концу процесса всасывания свежего воздуха понижается). При ее понижении ниже заданной допустимой величины пропускную способность рециркуляционного канала 1 с помощью переключающего устройства 11 увеличивают, увеличивая долю циркулирующего комнатного воздуха и уменьшая долю всасываемого свежего. При этом температура воздуха после смешения возвращается в комфортный диапазон. Данный способ работы применим как в зимнее время, когда температура наружного воздуха ниже комнатной, так и в летнее, когда она выше.
В частном случае реализации способа работы с уменьшением пропускной способности рециркуляционного канала 1 до нуля (полным перекрытием) он близок к применяемому в описанных выше аналогах из области вентиляции. Однако всасывание комнатного воздуха и подача свежего осуществляются через различные, разнесенные в пространстве устройства: входное устройство 3 и выходное устройство 5. Отсутствие реверса потока в помещении, как в аналогах, значительно повышает эффективность воздухообмена. Это в сочетании с безынерционным реверсом потока в вентиляционном канале позволяет уменьшить время дутья, резко повысить эффективность регенерации, уменьшить размеры регенератора. Это делает также возможным использование в помещении только одного устройства, а не двух, как в аналоге.
Примеры, приведенные на фиг.1, 2 и 3, подтверждают, что организация процессов, определяющих новизну предлагаемого способа, не зависит от типа агрегата и порядка выполнения процессов в рециркуляционном канале 1.
Иной вариант реализации предложенного способа работы воздухообрабатывающего агрегата может быть осуществлен по схеме фиг.4. Здесь процессы в рециркуляционном канале 1 не отличаются от вышеописанных. Однако дополнительные процессы удаления части комнатного воздуха из рециркуляционного канала 1 через вентиляционный канал 6 на улицу и всасывания свежего воздуха с осуществлением процесса теплообмена между ними в теплоемком воздухопроницаемом регенераторе 7 осуществляют путем поочередного подключения к всасывающему и нагнетательному патрубкам дополнительного вентилятора 12, установленного в вентиляционном канале 6. Подключение осуществляется с помощью переключающего устройства 13, установленного также в вентиляционном канале 6. Использование отдельного вентилятора, хотя и усложняет устройство воздухообрабатывающего агрегата, однако исключает необходимость воздействия на пропускную способность рецикуляционного канала и весьма удобно в ряде случаев. Оно целесообразно, когда элементы воздухообрабатывающего агрегата, осуществляющие вентиляцию (вентиляционный канал 6, регенератор 7), являются опциональной добавкой к основному агрегату, когда мощности вентилятора 2 недостаточно для осуществления процессов всасывания свежего и удаления части комнатного воздуха или когда в рециркуляционном канале 1 отсутствует возможность размещения переключающего устройства 11.
В простейшем и наиболее дешевом варианте осуществления предлагаемого способа равенство количеств удаляемого комнатного воздуха и всасываемого свежего воздуха обеспечивают тем, что с помощью таймера поддерживают равными длительности соответствующих процессов.
Для обеспечения более высокой эффективности энергосбережения и заданного воздухообмена способ должен компенсировать влияние вредных внешних воздействий на процессы, его составляющие. Такими вредными воздействиями являются, например, ветровая нагрузка на здание, создающая повышенное давление воздуха с наветренной стороны и пониженное – с подветренной. К ним также относится появление посторонних источников вентиляции, например открытых входных дверей и т.п. Эти факторы нарушают равенство количеств удаляемого комнатного воздуха и всасываемого свежего и снижают эффективность процессов. Для частичной компенсации этих эффектов предусмотрены варианты осуществления способа работы агрегата с поддержанием заданных параметров процессов.
В частности, для этого в более сложном варианте осуществления способа измеряют температуру воздуха в месте примыкания вентиляционного канала 6 к рециркуляционному каналу 1 и в соответствии с ней меняют длительность процессов удаления комнатного воздуха и всасывания свежего. При выходе значения этой температуры за пределы заданного допустимого диапазона уменьшают отношение длительности процесса всасывания свежего воздуха к длительности процесса удаления комнатного воздуха. Изменение отношения осуществляют, изменяя длительность одного из этих процессов и сохраняя длительность второго постоянной либо изменяя длительности обоих процессов.
В более сложном варианте осуществления предлагаемого способа измеряют температуру воздуха в месте примыкания вентиляционного канала 6 к рециркуляционному каналу 1 и в соответствии с ней изменяют соотношение скоростей вращения вентилятора 2 или 12 при осуществлении процессов всасывании свежего воздуха и удаления комнатного воздуха. При выходе значения этой температуры за пределы заданного допустимого диапазона соотношение уменьшают. Для этого либо уменьшают относительно предварительно заданного значения скорость вращения вентиляторов 2 или 12 в процессе всасывания свежего воздуха, либо увеличивают относительно предварительно заданного значения скорость вращения вентиляторов 2 или 12 в процессе удаления комнатного воздуха, либо используют и то и другое.
Воздухообрабатывающий агрегат для реализации описанного способа может иметь два основных варианта исполнения.
Первый вариант исполнения воздухообрабатывающего агрегата – кондиционера, соответствующий схемам фиг.1-3, приведен на чертежах фиг.5 и 6. В этом исполнении для реализации способа и получения искомого полезного результата не требуется установки дополнительных вентиляторов. Внутренний блок агрегата включает рециркуляционный канал 1 и присоединенный к нему вентиляционный канал 6. В вентиляционном канале 6 расположен теплоемкий воздухопроницаемый регенератор 7, наружный патрубок которого 17 сообщается с окружающей средой (наружным воздухом). Регенератор 7 выполнен из плотно упакованных панелей сотового полипропилена или поликарбоната с толщиной листа менее 4 мм. Панели имеют развитую поверхность (компактность до 1500 м2/м3), достаточную теплоемкость, малую толщину стенок, что обеспечивает идеальное использование всей массы насадки в процессе теплообмена. И в то же время они достаточно дешевы и доступны. Конструкция и материал панелей известны. В рециркуляционном канале 1 установлено входное устройство 3 для всасывания комнатного воздуха, представляющее собой в настоящем примере вентиляционную решетку, вентилятор 2, воздухообрабатывающее устройство 4, выходное устройство 5, представляющее собой в настоящем примере фильтр 26 и вентиляционную решетку для выхода воздуха в помещение. Здесь воздухообрабатывающее устройство 4 – теплообменник «воздух-хладагент» 18 теплового насоса или кондиционера. Теплообменник «воздух-хладагент» 18 связан трубопроводами 19 с компрессорной установкой 20 сплит-системы (см. схему фиг.3), чиллером или системой отопления, установленными отдельно. Конструкции их известны. Устройство обработки воздуха 4 может включать увлажнители, ионизаторы воздуха, адсорберы, бактерицидные лампы, фильтры и др. в соответствии с назначением воздухообрабатывающего агрегата. Конструкции их также известны.
В рециркуляционном канале 1 в месте примыкания к нему вентиляционного канала 6 помещено переключающее устройство. Переключающее устройство выполнено в виде минимум одного вращающегося, поворотного, качающегося или движущегося возвратно-поступательно клапана. Его конструктивное исполнение зависит от функций, конструктивного исполнения, традиций проектирования конкретного воздухообрабатывающего агрегата.
Наиболее простое переключающее устройство 11 представляет собой (см. фиг.5 и 6) оснащенный электроприводом 27 поворотный или вращающийся золотниковый клапан. Клапан включает в себя золотник 21 с всасывающим 22 и нагнетательным 23 окнами, соединенными каналом, в котором установлен вентилятор 2 (или несколько параллельно включенных вентиляторов 2). Вентилятор 2 установлен таким образом, что его всасывающий штуцер 9 всегда соединен с всасывающим окном 22 золотника 21, а нагнетательный штуцер 10 – с нагнетательным окном 23 золотника 21. Для снижения шума установка вентиляторов 2 выполнена в ложементах 25 из вспененного материала. В зоне соединения вентиляционного канала 6 и рециркуляционного канала 1 установлен датчик температуры воздуха 28.
При работе воздухообрабатывающего агрегата электропривод 27 по команде системы управления осуществляет поворот золотника 21 на заданный угол с остановкой в конечной точке поворота и совмещает всасывающее окно 22 золотника 21 с вентиляционным каналом 6. При этом тело золотника 21 частично или полностью перекрывает рециркуляционный канал 1 со стороны входного устройства 3, снижая его пропускную способность. В течение заданного времени происходит всасывание свежего воздуха через регенератор 7. При этом за счет охлаждения регенератора 7 воздух подогревается (для определенности описана работа в зимнее время). Если при этом температура поступающего в рециркуляционный канал свежего воздуха, контролируемая датчиком температуры 28, окажется ниже заданной, электропривод 27 осуществляет дополнительный поворот золотника 21, приоткрывая рециркуляционный канал 1 для увеличения доли комнатного воздуха, всасываемого вентилятором 2. Температура воздуха после смешения вследствие этого остается при этом в заданном диапазоне. По истечении заданного системой управления промежутка времени электропривод 27 выполняет поворот золотника 21 с остановкой в конце, совмещая с вентиляционным каналом 6 его нагнетательное окно 23. Тело золотника 21 одновременно частично или полностью перекрывает рециркуляционный канал 1 со стороны выходного устройства 5, уменьшая его пропускную способность. Вентилятор 2 при этом отбирает часть комнатного воздуха из рециркуляционного канала 1 и через вентиляционный канал 6 и регенератор 7 удаляет его на улицу. Регенератор 7 при этом нагревается.
Скорость вращения вентилятора задается потребителем и может корректироваться системой управления по одному из описанных выше способов. Потребитель или система управления могут перевести агрегат в режим исключительно приточной или вытяжной вентиляции, остановив золотник 21 в соответствующем положении с полным перекрытием рециркуляционного канала 1. Это целесообразно, например, при примерном равенстве комнатной и наружной температуры.
При выключении режима вентиляции электропривод 27 осуществляет поворот золотника 21 таким образом, что его тело полностью перекрывает вентиляционный канал 6, не допуская проникновения холодного воздуха в помещение. Выполнение всех остальных функций агрегата: очистки комнатного воздуха, регулирования его температуры и влажности и др. остается при этом возможным.
Во втором варианте исполнения агрегата реализован способ работы согласно схеме фиг.4. Возможное конструктивное решение воздухообрабатывающего агрегата показано на фиг.7. Здесь приведен разрез вентиляционного канала с размещенным в нем дополнительным оборудованием. Рециркуляционный канал с установленным в нем оборудованием идентичен по устройству вышеописанным и на фиг.7 не показан. Вентиляционный канал 6 присоединен к рециркуляционному каналу в любом сечении последнего. В вентиляционном канале 6 установлен регенератор 7, дополнительный (приточно-вытяжной) вентилятор 12 и переключающее клапанное устройство 13.
Регенератор 7 выполнен из плотно упакованных панелей сотового полипропилена или поликарбоната с толщиной листа менее 4 мм. Панели имеют развитую поверхность (компактность до 1500 м2/м3), достаточную теплоемкость, малую толщину стенок, что обеспечивает идеальное использование всей массы насадки в процессе теплообмена. И в то же время они достаточно дешевы и доступны. Конструкция и материал панелей известны. Конструкция переключающего устройства 13 в одном из наиболее простых вариантов исполнения представляет собой два совмещенных дисковых поворотных шиберных клапана. Шиберы 14 имеют окна 15 и приводятся в действие электроприводом 16. Переключающее устройство 13 с приточно-вытяжным вентилятором 12 может быть расположено в любом сечении вентиляционного канала 6: у внутреннего штуцера 8 регенератора 7, как показано на фиг.4 и 7, у наружного штуцера 17 регенератора 7 либо в разрыве между двумя частями регенератора 7.
При работе приведенной на фиг.7-9 конструкции воздухообрабатывающего агрегата электропривод 16 переключающего устройства 13 по командам системы управления осуществляет поворот дисковых шиберов 14 до совмещения окон 15 с окнами в корпусе 24. При этом патрубок 8 регенератора 7 подключается к всасывающему патрубку вентилятора 12 (положение показано на фиг.9), производится всасывание свежего воздуха, его нагрев в регенераторе 7 и подача его в рециркуляционный канал, где он смешивается с комнатным воздухом, обрабатывается и подается в помещение. Далее с помощью электропривода 16 осуществляется поворот дисковых шиберов 14 для подключения патрубка 8 регенератора 7 к нагнетательному патрубку вентилятора 12 (см. фиг.7 и 8). При этом часть комнатного воздуха всасывается вентилятором 12 из рециркуляционного канала и через вентиляционный канал 6 и регенератор 7 удаляется на улицу. Выходящий воздух отдает свое тепло регенератору 7. Переключения повторяются с заданной системой управления периодичностью либо реализуется один из предусмотренных выше в заявляемом способе алгоритмов управления.
Потребитель или система управления могут перевести агрегат в режим исключительно приточной или вытяжной вентиляции, остановив дисковые шиберы 14 в соответствующем положении. Это целесообразно, например, при примерном равенстве комнатной и наружной температуры.
При выключении агрегата электропривод 16 осуществляет поворот дисковых шиберов 14 таким образом, что окна в корпусе полностью перекрыты, не допуская проникновения холодного воздуха в помещение.
Заявленная группа изобретений соответствует условию «промышленная применимость», поскольку она предназначена для промышленного использования в областях разработки и производства устройств для обработки воздуха, таких как кондиционеры, а также устройств регулируемой вентиляции с рекуперацией тепла. Изобретение использует известные, используемые промышленностью и отмеченные в доотличительной части технические решения и новые решения, простота и промышленная осуществимость которых несомненны. В настоящее время подготовлено промышленное производство устройств.
Формула изобретения
1. Способ работы воздухообрабатывающего агрегата, в частности кондиционера воздуха, включающий процесс всасывания вентилятором комнатного воздуха в рециркуляционный канал, а также процесс всасывания через вентиляционный канал свежего воздуха с его смешением с комнатным воздухом в рециркуляционном канале, процессы термической, влажностной или иной обработки воздуха с помощью установленного в рециркуляционном канале оборудования, отличающийся тем, что дополнительно осуществляют процесс удаления части комнатного воздуха из рециркуляционного канала через вентиляционный канал на улицу, причем процессы всасывания свежего воздуха и удаления части комнатного воздуха чередуют, а чередование производят путем поочередного подключения вентиляционного канала к всасывающему и нагнетательному патрубкам вентилятора, при этом осуществляют процесс регенеративного теплообмена между свежим и удаляемым воздухом при посредстве воздухопроницаемого теплоемкого регенератора, размещенного в вентиляционном канале.
2. Способ работы воздухообрабатывающего агрегата по п.1, отличающийся тем, что вентиляционный канал подключают поочередно к всасывающему и нагнетательному патрубкам вентилятора, установленного в рециркуляционном канале, причем при подключении к всасывающему патрубку, по крайней мере, частично уменьшают пропускную способность расположенной до вентилятора части рециркуляционного канала, а при подключении вентиляционного канала к нагнетательному патрубку вентилятора, по крайней мере, частично уменьшают пропускную способность части рециркуляционного канала, расположенной после вентилятора.
3. Способ работы воздухообрабатывающего агрегата по п.2, отличающийся тем, что степень уменьшения пропускной способности входной части рециркуляционного канала определяют по температуре воздуха в вентиляционном канале.
4. Способ работы воздухообрабатывающего агрегата по п.3, отличающийся тем, что при значениях температуры воздуха в вентиляционном канале, находящихся в заданном комфортном интервале, пропускную способность входной части рециркуляционного канала уменьшают, а при выходе за пределы интервала увеличивают.
5. Способ работы воздухообрабатывающего агрегата по п.1, отличающийся тем, что вентиляционный канал подключают поочередно к всасывающему и нагнетательному патрубкам отдельного, дополнительного вентилятора, установленного непосредственно в вентиляционном канале.
6. Способ работы воздухообрабатывающего агрегата по п.2 или 5, отличающийся тем, что длительность подключения вентиляционного канала к соответственно всасывающему и нагнетательному патрубкам вентилятора задают реле времени, а скорость вращения вентилятора при подключении вентиляционного канала к соответственно всасывающему и нагнетательному патрубкам вентилятора определяют по температуре потока воздуха в вентиляционном канале, причем при выходе температуры потока воздуха в вентиляционном канале за пределы интервала комфортных температур скорость вращения вентилятора уменьшают.
7. Способ работы воздухообрабатывающего агрегата по п.2 или 5, отличающийся тем, что длительность подключения вентиляционного канала к соответственно всасывающему и нагнетательному патрубкам вентилятора определяют по температуре потока воздуха в вентиляционном канале.
8. Способ работы воздухообрабатывающего агрегата по п.2 или 5, отличающийся тем, что длительность подключения вентиляционного канала к нагнетательному патрубку вентилятора задают реле времени, а к всасывающему определяют по температуре потока приточного воздуха в вентиляционном канале, причем при выходе температуры за пределы интервала комфортных температур вентиляционный канал переключают к нагнетательному патрубку вентилятора.
9. Воздухообрабатывающий агрегат, в частности кондиционер, включающий внутренний блок с рециркуляционным каналом и расположенными в нем вентилятором, осуществляющим прокачку воздуха, устройствами входа и выхода комнатного воздуха, устройствами обработки воздуха, в частности воздухоохладителем, а также вентиляционный канал, соединенный с наружным воздухом, отличающийся тем, что в вентиляционном канале размещен воздухопроницаемый теплоемкий регенератор, между внутренним штуцером которого и вентилятором предусмотрено переключающее устройство, которое устроено таким образом, что при своей работе попеременно подключает регенератор к всасывающему и нагнетательному патрубкам вентилятора и одновременно, по меньшей мере, частично перегораживает рециркуляционный канал, ограничивая поток воздуха, соответственно, через устройство входа при подключении к всасывающему патрубку вентилятора и в устройстве выхода при подключении к нагнетательному патрубку.
10. Воздухообрабатывающий агрегат, в частности кондиционер, по п.9, отличающийся тем, что переключающее устройство выполнено в виде поворотного золотникового трехходового клапана, золотник которого имеет два окна и соединяющий их канал, с вентилятором, установленным внутри таким образом, что всасывающий патрубок соединен с одним окном золотника, а нагнетательный – с другим, причем при работе агрегата тело золотника последовательно частично или полностью перекрывает входную и выходную части рециркуляционного канала, а канал золотника одновременно соединяет вентиляционный канал с размещенным в нем регенератором соответственно с выходной и входной частями рециркуляционного канала.
11. Воздухообрабатывающий агрегат, в частности кондиционер, по п.10, отличающийся тем, что при выключении агрегата и переводе его в режим рециркуляции тело золотника полностью перекрывает вентиляционный канал.
12. Воздухообрабатывающий агрегат, в частности кондиционер, по п.9, отличающийся тем, что воздухопроницаемый теплоемкий регенератор выполнен из плотно уложенных пластин сотового полипропилена или поликарбоната.
13. Воздухообрабатывающий агрегат, в частности кондиционер, включающий внутренний блок с рециркуляционным каналом и расположенными в нем вентилятором, осуществляющим прокачку воздуха, устройствами входа и выхода комнатного воздуха, устройствами обработки воздуха, в частности воздухоохладителем, а также вентиляционный канал, соединенный с наружным воздухом, отличающийся тем, что в вентиляционном канале размещен воздухопроницаемый теплоемкий регенератор и установлен дополнительный приточно-вытяжной вентилятор и переключающее устройство, которое устроено таким образом, что при своей работе попеременно подключает воздухопроницаемый теплоемкий регенератор к всасывающему и нагнетательному патрубкам дополнительного приточно-вытяжного вентилятора.
14. Воздухообрабатывающий агрегат, в частности кондиционер, по п.13, отличающийся тем, что воздухопроницаемый теплоемкий регенератор выполнен из плотно уложенных пластин сотового полипропилена или поликарбоната.
РИСУНКИ
|
|