|
|
(21), (22) Заявка: 2007138076/06, 16.10.2007
(24) Дата начала отсчета срока действия патента:
16.10.2007
(46) Опубликовано: 20.05.2009
(56) Список документов, цитированных в отчете о поиске:
RU 2079023 C1, 10.05.1997. RU 2194206 C2, 10.12.2002. RU 2220347 C2, 27.12.2003. GB 2255155 A, 28.10.1992. US 2829667 A, 08.04.1958. FR 2694362 A1, 04.02.1994. EP 0621425 A1, 26.10.1994.
Адрес для переписки:
127273, Москва, Березовая аллея, 10, Федеральное государственное унитарное предприятие “Московский институт теплотехники”(ФГУП”МИТ”)
|
(72) Автор(ы):
Соломонов Юрий Семенович (RU), Черепов Владимир Иванович (RU), Лобанов Олег Александрович (RU), Тумановская Валентина Павловна (RU)
(73) Патентообладатель(и):
Федеральное государственное унитарное предприятие “Московский институт теплотехники” (RU), Российская Федерация, от имени которой выступает Министерство обороны Российской Федерации (RU)
|
(54) ГАЗОРАСПРЕДЕЛИТЕЛЬНЫЙ КЛАПАН ГОРЯЧЕГО ГАЗА
(57) Реферат:
Изобретение относится к области машиностроения и предназначено для управления вектором тяги летательных аппаратов в плоскостях тангажа, рыскания и крена. Газораспределительный клапан горячего газа состоит из корпуса с входным и выходным патрубками и седла с расходным отверстием и опорным узлом. Седло установлено в выходном патрубке и выполнено из молибденвольфрамового сплава с содержанием меди. Опорный узел образован двумя выступами. Выступы выполнены на седле с обеих сторон от его расходного отверстия и имеют соосные с валом сквозные отверстия. Образующие цилиндрических поверхностей этих отверстий совмещены с цилиндрической поверхностью седла. Цилиндрическая заслонка установлена внутри седла с радиальным зазором по цилиндрической поверхности с возможностью поворота и кинематически связана с валом. На цилиндрических поверхностях выступов, расположенных на седле и контактирующих с заслонкой, выполнены на всю толщину выступов равномерно расположенные одинаковой глубины прорези. Прорези не пересекают расходное отверстие седла. Изобретение направлено на снижение величины шарнирного момента газораспределительного клапана. 3 ил.
Предлагаемое изобретение относится к области машиностроения и направлено на совершенствование газораспределительных клапанов, работающих на продуктах сгорания ракетных топлив и обеспечивающих управление летательным аппаратом в плоскостях тангажа, рыскания и крена, при этом давление продуктов сгорания топлив может достигать величины до 10 МПа, а температура до 2200 К.
Известна конструкция клапана, содержащая корпус с входным и выходным патрубками с расходными отверстиями, а также расположенную в корпусе с возможностью поворота заслонку, установленную на валу и контактирующую с расходным отверстием выходного патрубка (заявка Великобритании 2000574, МКИ F16K 5/06, 1979 г.)
Недостаток этой конструкции заключается в том, что при прогреве конструкции заслонка заклинивается, т.к. отсутствуют тепловые зазоры между заслонкой и выходным патрубком, и клапан перестает работать и даже может выйти из строя из-за разрушения заслонки.
Известна конструкция газораспределительного клапана для горячего газа, состоящая из корпуса с входным и выходным патрубками, седла с расходным отверстием и опорным узлом, образованным двумя выступами, выполненными на седле и имеющими соосные с валом сквозные отверстия, образующие цилиндрических поверхностей которых совмещены с цилиндрической поверхностью седла, установленную в седло по цилиндрической поверхности с возможностью поворота цилиндрической формы заслонку с расходным отверстием (РФ 2079023, кл. 6 F16K 5/04, 5/12).
Обычно в таких конструкциях седло и заслонка выполнены из жаропрочных молибденвольфрамовых сплавов, обладающих необходимыми прочностными и эрозионно-стойкими характеристиками к продуктам сгорания. С целью уменьшения шарнирного момента на валу клапана обычно одна из деталей, регулирующих расход продуктов сгорания, выполняется из молибденвольфрамового сплава с содержанием меди, обладающей смазывающими свойствами. В этом случае медь под воздействием высоких температур прогревается, смазывает трущиеся поверхности заслонки и седла, что приводит к снижению шарнирного момента. Однако при более сильном нагреве и незначительном зазоре между седлом и заслонкой (зазор увеличивать нельзя, т.к. увеличивается непроизводительный расход продуктов сгорания через закрытые участки клапана) избыток меди поступает в зазор между заслонкой и седлом и при полном его заполнении резко увеличивается шарнирный момент, т.к. избытку меди некуда выходить.
Целью предлагаемого изобретения является снижение величины шарнирного момента при использовании для одной из деталей, регулирующих минимальное расходное сечение газораспределительного клапана, жаропрочного материала с добавками антифрикционного материала, преимущественно меди.
Указанная цель достигается тем, что в газораспределительном клапане горячего газа, содержащем корпус с входным и выходным патрубками, установленное в выходной патрубок и выполненное из молибденвольфрамового сплава с содержанием меди седло с расходным отверстием и опорным узлом, образованным двумя выступами, выполненными на седле с обеих сторон его расходного отверстия и имеющими соосные с валом сквозные отверстия, образующие цилиндрических поверхностей которых совмещены с цилиндрической поверхностью седла, установленную в седло с радиальным зазором по цилиндрической поверхности с возможностью поворота и кинематически связанную с валом цилиндрическую заслонку, на цилиндрических поверхностях выступов, расположенных на седле и контактирующих с заслонкой, выполнены на всю толщину выступов равномерно расположенные одинаковой глубины прорези, при этом прорези не пересекают расходное отверстие седла.
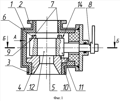
На фиг.1 изображен газораспределительный клапан горячего газа (в разрезе); на фиг.2 – вид по стрелке А на фиг.1; на фиг.3 – вид Б-Б на фиг.1
Клапан для регулирования расхода горячего газа состоит из корпуса 1 с входным 2 и выходным 3 патрубками. В выходной патрубок 3 установлено седло 4 с расходным отверстием 5, которое может быть выполнено любой формы в зоне контакта, например цилиндрической. На седле выполнен опорный узел 6, образованный двумя выступами 7, расположенными с обеих сторон от расходного отверстия 5 седла 4 и имеющими соосные с валом 8 сквозные отверстия 9, образующие цилиндрических поверхностей которых совмещены с цилиндрической поверхностью 10 седла 4. В седло 4 установлена с радиальным зазором (преимущественно по посадке скольжения) цилиндрическая заслонка 11 с расходным отверстием 12. Заслонка 11 установлена с возможностью поворота и кинематичски связана с валом 8. Седло 4 выполнено из жаропрочного молибденвольфрамового сплава с содержанием меди. Заслонка 11 может быть выполнена из жаропрочных молибденвольфрамовых сплавов, керамических или углеродных материалов. Выбираются материалы, стойкие к продуктам сгорания жидких или твердых топлив, обладающие необходимыми прочностными и эрозионно-стойкими характеристиками. На цилиндрических поверхностях 13 выступов 7, контактирующих с цилиндрической поверхностью 14 заслонки 11, выполнены на всю толщину выступов 7 прорези 15 одинаковой глубины. Прорези 15 расположены равномерно на цилиндрических поверхностях 13. В зоне расходного отверстия 5 седла 4 прорези 15 не пересекают расходное отверстие 5 седла 4 (фиг.3).
При работе продукты сгорания через входной патрубок 2 поступают к расходному отверстию 12 заслонки 11. При повороте заслонки 11, кинематически связанной с валом 8, расходное отверстие 5 седла 4 открывается на вполне определенную величину, и продукты сгорания истекают наружу, создавая необходимую тягу или расход продуктов сгорания. Медь выпаривается и обеспечивает смазку трущихся цилиндрических поверхностей седла и заслонки, уменьшая величину шарнирного момента. При длительном времени работы и незначительной величине радиального зазора между контактирующими цилиндрическими поверхностями заслонки и седла (зазор выбирается из расчета тепловых расширений цилиндрического отверстия седла и наружной цилиндрической поверхности заслонки) зазор заполняется медью, которая при повороте заслонки 11 удаляется в прорези 15 и не приводит к резкому повышению величины шарнирного момента. Благодаря тому, что прорези выполнены на всю толщину выступов 7, также уменьшается величина шарнирного момента за счет увеличения давления продуктов сгорания в зоне прорезей (уменьшается усилие поджатия заслонки к седлу). Благодаря тому, что прорези не пересекают расходное отверстие 5 седла 4, отсутствуют дополнительные утечки продуктов сгорания. Равномерное расположение прорезей и их одинаковая глубина обеспечивают равномерное удаление избытка меди с контактирующих поверхностей заслонки и седла. Глубина прорезей и их количество подбираются экспериментальным путем и зависят от процентного содержания меди в молибденвольфрамовом сплаве, температуры продуктов сгорания и времени работы газораспределительного клапана.
Таким образом, как видно из вышеизложенного предложенная конструкция обеспечивает снижение величины шарнирного момента не только за счет удаления избытка меди из зоны радиального зазора между заслонкой и седлом, но и повышения давления продуктов сгорания в зоне прорезей.
Формула изобретения
Газораспределительный клапан горячего газа, состоящий из корпуса с входным и выходным патрубками, установленного в выходном патрубке и выполненного из молибденвольфрамового сплава с содержанием меди седла с расходным отверстием и опорным узлом, образованным двумя выступами, выполненными на седле с обеих сторон от его расходного отверстия и имеющими соосные с валом сквозные отверстия, образующие цилиндрических поверхностей которых совмещены с цилиндрической поверхностью седла, установленной в седло с радиальным зазором по цилиндрической поверхности с возможностью поворота и кинематически связанной с валом цилиндрической заслонки, отличающийся тем, что на цилиндрических поверхностях выступов, расположенных на седле и контактирующих с заслонкой, выполнены на всю толщину выступов равномерно расположенные одинаковой глубины прорези, при этом прорези не пересекают расходное отверстие седла.
РИСУНКИ
|
|