|
|
(21), (22) Заявка: 2008102268/06, 21.01.2008
(24) Дата начала отсчета срока действия патента:
21.01.2008
(46) Опубликовано: 20.05.2009
(56) Список документов, цитированных в отчете о поиске:
RU 2009376 C1, 15.03.1994. SU 1670185 A1, 15.08.1991. EP 0043877 A1, 20.01.1982. GB 1577582 A, 29.10.1980. PR 2528500 A, 16.12.1983. RU 2241860 C1, 10.12.2004.
Адрес для переписки:
141070, Московская обл., г. Королев, ул. Ленина, 4а, ОАО “РКК “Энергия” им. С.П. Королева”, отдел интеллектуальной собственности
|
(72) Автор(ы):
Белоусов Николай Игоревич (RU)
(73) Патентообладатель(и):
Открытое акционерное общество “Ракетно-космическая корпорация “Энергия” имени С.П. Королева” (RU)
|
(54) БЛОК ВЕНТИЛЯТОРОВ
(57) Реферат:
Изобретение относится к вентиляторостроению и может быть использовано в составе систем терморегулирования изделий космической техники. Техническим результатом, достигаемым с помощью заявленного изобретения, является обеспечение ремонтопригодности и расширение компоновочных возможностей блока вентиляторов. Указанный технический результат достигается в блоке вентиляторов, содержащем корпус с цилиндрической расточкой и двумя фланцами с аксиальными отверстиями, соединенные с корпусом пилонами две соосные ему втулки с установленным в каждой из них электродвигателем с закрепленным на его валу рабочим колесом, размещенным внутри цилиндрической расточки. Корпус выполнен состоящим из двух частей, первый фланец выполнен на торце первой части корпуса, а второй – на торце второй части корпуса. В каждой из частей корпуса размещена втулка с пилонами, в первом фланце выполнены резьбовые отверстия, фланцы контактируют друг с другом и соединены посредством винтов, ввернутых в резьбовые отверстия и проходящих через аксиальные отверстия второго фланца, при этом головки винтов размещены со стороны второго фланца, наружная поверхность первой части корпуса на участке от свободного ее торца до первого фланца выполнена цилиндрической, а аксиальные отверстия первого фланца выполнены выступающими за пределы контура второго фланца. 1 ил.
Изобретение относится к вентиляторостроению и может быть использовано в составе систем терморегулирования изделий авиационной и ракетной техники.
Известен блок вентиляторов, содержащий корпус с пилонами и установленные в нем три осевых вентилятора, обтекатели которых размещены внутри пилонов [1]. Недостатком этого устройства является значительная сложность конструкции, обусловленная необходимостью фрезерования пилонов внутри цилиндрической поверхности корпуса.
Этого недостатка лишен выбранный в качестве прототипа блок вентиляторов, содержащий корпус, соосно установленные в нем втулки в виде колец с выступающими наружу пилонами, два кронштейна, в каждом из которых размещен электродвигатель с закрепленным на его валу рабочим колесом [2]. Пилоны соединены с корпусом посредством крепежных деталей. На каждом из двух торцов корпуса выполнен фланец с аксиальными отверстиями, служащими для крепления блока вентиляторов на агрегате.
Недостатком этого блока вентиляторов является неремонтопригодность в случае его применения на борту космического летательного аппарата – космического корабля или орбитальной станции. В случае отказа одного из вентиляторов блока вентиляторов возможна замена только блока вентиляторов в целом, так как космонавты не в состоянии выполнить разборку блока и замену электродвигателя, т.к. это связано с необходимостью высверловки штифтов и выполнения пайки проводов электродвигателя на электроразъем, находящийся снаружи корпуса блока вентиляторов. Поэтому в случае отказа одного из вентиляторов блока на этапе выведения космического аппарата или его орбитального полета необходимо доставить с Земли для замены на борту весь блок вентиляторов, что увеличивает грузопоток на орбитальную станцию и связано с большими материальными затратами. Другим недостатком прототипа являются узкие компоновочные возможности, проявляющиеся при применении в других агрегатах (как правило, в космических кораблях блоки вентиляторов в основном используются в составе холодильно-сушильных агрегатов, размещенных в спускаемом аппарате и бытовом отсеке пилотируемого космического корабля). Размещение крепежных фланцев на торцах корпуса обуславливает, как правило, последовательную компоновку блока вентиляторов и агрегата, в котором он используется, что вызывает большой осевой габарит этой сборки, а это является неприемлемым исходя из весьма ограниченных объемов отсеков космического корабля. Возможное утапливание фланца блока вентиляторов внутрь агрегата резко снижает ремонтопригодность этой конструкции, т.к. для снятия блока вентиляторов в случае отказа космонавту приходится работать с глубоко утопленными в полость агрегата винтами, что может оказаться в условиях космического полета трудновыполнимой или невыполнимой операцией, а также в любом случае ведет к увеличению поперечных размеров агрегата.
Техническим результатом, достигаемым с помощью заявленного изобретения, является обеспечение ремонтопригодности и расширение компоновочных возможностей блока вентиляторов.
Этот результат достигается за счет того, что в известном блоке вентиляторов, содержащем корпус с цилиндрической расточкой и двумя фланцами с аксиальными отверстиями, соединенные с корпусом пилонами две соосные ему втулки с установленным в каждой из них электродвигателем с закрепленным на его валу рабочим колесом, размещенным внутри цилиндрической расточки, согласно изобретению корпус выполнен состоящим из двух частей, первый фланец выполнен на торце первой части корпуса, а второй – на торце второй части корпуса, в каждой из частей корпуса размещена втулка с пилонами, в первом фланце выполнены резьбовые отверстия, фланцы контактируют друг с другом и соединены посредством винтов, ввернутых в резьбовые отверстия и проходящих через аксиальные отверстия второго фланца, при этом головки винтов размещены со стороны второго фланца, наружная поверхность первой части корпуса на участке от свободного ее торца до первого фланца выполнена цилиндрической, а аксиальные отверстия первого фланца выполнены выступающими за пределы контура второго фланца. Поскольку заявленная совокупность существенных признаков позволяет получить указанный технический результат, то заявленное решение соответствует критерию “изобретательский уровень”.
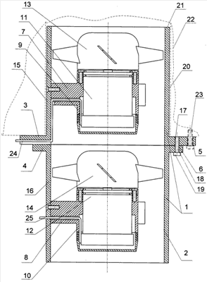
На иллюстрации приведен пример конкретного выполнения блока вентиляторов, продольный разрез.
Блок вентиляторов содержит корпус 1 с цилиндрической расточкой 2 и двумя фланцами 3 и 4 с аксиальными отверстиями 5 и 6 соответственно. С корпусом 1 соединены пилонами 7 и 8 две соосные ему втулки 9 и 10 соответственно. В каждой из втулок 9 и 10 установлены электродвигатели 11 и 12 соответственно с закрепленными на их валах рабочими колесами 13 и 14 соответственно, размещенными внутри цилиндрической расточки 2. Корпус 1 выполнен состоящим из двух частей, первый фланец 3 выполнен на торце первой части 15 корпуса 1, а второй фланец 4 – на торце второй части 16 корпуса 1. В каждой из частей 15 и 16 корпуса 1 размещена втулка 9 и 10 соответственно с пилонами 7 и 8 соответственно. В первом фланце 3 выполнены резьбовые отверстия 17, фланцы 3 и 4 контактируют друг с другом и соединены посредством винтов 18, ввернутых в резьбовые отверстия 17 и проходящих через аксиальные отверстия 6 второго фланца 4, при этом головки 19 винтов 18 размещены со стороны второго фланца 4. Наружная поверхность 20 первой части 15 корпуса 1 на участке от свободного ее торца 21 до первого фланца 3 выполнена цилиндрической. Аксиальные отверстия 5 первого фланца 3 выполнены выступающими за пределы контура второго фланца 4. Штрихпунктирной линией 22 условно показаны контуры агрегата, в состав которого входит блок вентиляторов. Также штрихпунктирной линией показаны винты 23, крепящие блок вентиляторов к агрегату. От электродвигателей 11 и 12 проложены наружу блока вентиляторов их кабели 24 и 25 соответственно.
Блок вентиляторов работает следующим образом: при включении одного из электродвигателей (например, электродвигателя 11) он вращает рабочее колесо 13, лопатки которого создают поток воздуха. При включении электродвигателя 12 он вращает рабочее колесо 14, лопатки которого создают поток воздуха. Оба электродвигателя 11 и 12 могут включаться одновременно, увеличивая напор и расход блока вентиляторов на экстремальных режимах. В случае отказа на борту космического летательного аппарата электродвигателя 12 нет необходимости доставлять на его борт весь блок вентиляторов, достаточно доставить с Земли только нижний (по иллюстрации) вентилятор и заменить его, при этом замена этого вентилятора производится без снятия всего блока вентиляторов с агрегата 22: необходимо отвернуть винты 18, снять нижний отказавший вентилятор и заменить его на доставленный, после чего вновь установить винты 18. В случае отказа электродвигателя 11 ремонт блока вентиляторов несколько сложнее, но тоже вполне по силам экипажу: необходимо отвернуть винты 23, это возможно, так как аксиальные отверстия 5 первого фланца 3 выполнены выступающими за пределы контура второго фланца 4. Затем следует вынуть блок вентиляторов из агрегата 22, вывернуть винты 18, заменить отказавший верхний (по иллюстрации) вентилятор на доставленный с Земли, потом соединить оба вентилятора винтами 18, вставить блок вентиляторов в агрегат 22 и установить винты 23. Возможность демонтажа блока вентиляторов обеспечивается за счет того, что наружная поверхность 20 первой части 15 корпуса 1 на участке от свободного ее торца 21 до первого фланца 3 выполнена цилиндрической, а также за счет того, что кабель 24 размещен между фланцами 3 и 4, поэтому возможно снятие блока вентиляторов с агрегата 22 за счет аксиального перемещения блока вентиляторов. В результате использования изобретения обеспечивается ремонтопригодность и расширены компоновочные возможности блока вентиляторов, так как его конструкция позволяет снизить общий осевой размер сборки, в состав которой входит блок вентиляторов, при сохранении свободного доступа к винтам, крепящим блок вентиляторов на агрегате, и винтам, соединяющим части корпуса блока вентиляторов. Достигнутые преимущества позволяют рекомендовать блок вентиляторов к применению в изделиях ракетно-космической техники.
Литература
1. Патент Российской Федерации 1670185 по кл. F04D 19/02, 1991 г.
2. Патент Российской Федерации 2009376 по кл. F04D 25/08, 1994 г. (прототип).
Формула изобретения
Блок вентиляторов, содержащий корпус с цилиндрической расточкой и двумя фланцами с аксиальными отверстиями, соединенные с корпусом пилонами две соосных ему втулки с установленным в каждой из них электродвигателем с закрепленным на его вале рабочим колесом, размещенным внутри цилиндрической расточки, отличающийся тем, что корпус выполнен состоящим из двух частей, первый фланец выполнен на торце первой части корпуса, а второй – на торце второй части корпуса, в каждой из частей корпуса размещена втулка с пилонами, в первом фланце выполнены резьбовые отверстия, фланцы контактируют друг с другом и соединены посредством винтов, ввернутых в резьбовые отверстия и проходящих через аксиальные отверстия второго фланца, при этом головки винтов размещены со стороны второго фланца, наружная поверхность первой части корпуса на участке от свободного ее торца до первого фланца выполнена цилиндрической, а аксиальные отверстия первого фланца выполнены выступающими за пределы контура второго фланца.
РИСУНКИ
|
|