|
|
(21), (22) Заявка: 2007119756/06, 28.05.2007
(24) Дата начала отсчета срока действия патента:
28.05.2007
(43) Дата публикации заявки: 10.12.2008
(46) Опубликовано: 20.05.2009
(56) Список документов, цитированных в отчете о поиске:
FR 629877 А, 18.11.1927. WO 2005/116417, 08.12.2005. RU 2133354 C1, 20.07.1999. FR 2623851 A, 02.06.1989. EP 0045322 A1, 10.02.1982. JP 7-293264 A1, 07.11.1995. WO 00/03132 A1, 20.01.2000. JP 56-85527 A, 11.07.1981. RU 2239076 C1, 27.10.2004. RU 2053391 C1, 27.01.1996.
Адрес для переписки:
454084, г.Челябинск, а/я 8223, для С.А. Новикова
|
(72) Автор(ы):
Новиков Станислав Анатольевич (RU)
(73) Патентообладатель(и):
Новиков Станислав Анатольевич (RU)
|
(54) СПОСОБ РАБОТЫ ТЕПЛОВОЙ МАШИНЫ С ПОЛНЫМ РАСШИРЕНИЕМ И ДВИГАТЕЛЬ ВНУТРЕННЕГО СГОРАНИЯ ВЫСОКОЙ ЭФФЕКТИВНОСТИ (ВАРИАНТЫ)
(57) Реферат:
Изобретение относится к области двигателестроения. Техническим результатом является повышение КПД двигателей внутреннего сгорания. Сущность изобретения заключается в изменении условий выполнения фазы расширения разогретых газов: расширение производить до давления, близкого к атмосферному. За счет более полного расширения происходит более полное преобразование внутренней энергии газов в механическую и как следствие – увеличение КПД двигателя. Одним из вариантов двигателя является роторный двигатель, в котором ротор с выдвигающимися лопатками вращается в цилиндрическом статоре, закрытом крышками. В качестве устройств газораспределения используются профилированные отверстия в крышках или статоре. Сложная форма статора позволяет полностью реализовать пять фаз работы: впуск свежего заряда, сжатие, горение, расширение, выпуск отработанных газов. 4 н. и 8 з.п. ф-лы, 6 ил.
Настоящее изобретение относится к машиностроению. Более конкретно изобретение относится к способам повышения коэффициента полезного действия (далее в тексте КПД) двигателя внутреннего сгорания. Предлагаемый двигатель внутреннего сгорания высокой эффективности предназначен для использования на всевозможных транспортных средствах и в энергоустановках.
На текущий момент наибольшее распространение получили двигатели внутреннего сгорания (далее в тексте ДВС) с рабочим циклом Отто, который состоит из пяти фаз, фиг.1: забор свежего заряда по изобарному процессу (1), адиабатическое сжатие заряда (2), нагрев заряда по изохорному процессу за счет выделяющейся тепловой энергии при горении топлива (3), адиабатическое расширение разогретых газов (4), выпуск отработанных газов (5). Техническая реализация этого цикла, поршневые ДВС, накладывает ограничение: объем рабочей камеры в конце фазы забора свежего заряда (1) равен объему рабочей камеры в конце фазы расширения разогретых газов (4). В силу этого ограничения расширение происходит не полностью, в начале фазы выпуска отработанных газов (5) их давление значительно превышает атмосферное, часть энергии рассеивается, как следствие, снижается КПД.
Большим КПД обладают двигатели, использующие цикл Миллера. В этом цикле, в отличие от цикла Отто, изменено соотношение объемов рабочей камеры в конце фазы забора свежего заряда и фазы расширения разогретых газов таким образом, что степень сжатия меньше степени расширения. Техническим результатом цикла Миллера является более полное расширение отработанных газов, как следствие, больший КПД по сравнению с циклом Отто. Техническая реализация цикла Миллера – поршневые двигатели с пятым тактом частичного обратного выпуска свежего заряда во впускной патрубок.
Предлагаемый двигатель внутреннего сгорания высокой эффективности использует известный способ работы тепловой машины, в котором расширение разогретых газов предполагается производить до тех пор, пока давление в рабочей камере не сравнится с атмосферным, фиг.2 (далее в тексте «известный способ работы ТП с полным расширением»). Это позволяет преобразовывать большую часть внутренней энергии газов в механическую, тем самым увеличить КПД.
Также предлагается новый способ работы тепловой машины с полным расширением (далее в тексте «новый способ работы ТМ с полным расширением»), фиг.3, в котором присутствует фаза принудительно продувки рабочей камеры, что позволяет значительно повысить КПД поршневых двигателей.
Для оценки эффективности предложенного цикла работы ТМ с полным расширением были произведены расчеты при следующих исходных данных.
– Начальный объем камеры сгорания – 0.001 м3 (1 литр).
– Начальное давление в камере сгорания – 100000 Па ( 1 атм).
– Начальная температура газа – 293° F ( 20 С°).
– Коэффициент сжатия – 7.
Приняты следующие упрощения:
– Состав и характеристики отработанных газов, как у воздуха.
– Теплоемкость воздуха 29 Дж·моль-1·K-1 и не зависит от температуры.
– Энергия, передаваемая при нагреве, составляет 1500 Дж.
– Нет потерь на трение и излучение.
В результате получены следующие цифры.
| Параметр |
Цикл работы ТМ |
| Цикл Отто |
С полным расширением |
| Температура в конце сжатия, С° |
352 |
352 |
| Давление в конце сжатия, атм |
14.1 |
14.1 |
| Температура после нагрева (горения), С° |
2130 |
2130 |
| Давление после нагрева (горения), атм |
57.5 |
57.5 |
| Температура в конце расширения, С° |
826 |
480 |
| Давление после расширения, атм |
3.8 |
1 |
| Коэффициент перерасширения |
1 |
2.57 |
| КПД |
54 |
74 |
Как видно из результатов расчетов, значение КПД способа работы ТП с полным расширением почти в полтора раза больше, чем у цикла Отто. Приблизительно такие же результаты дает и более точное моделирование, учитывающее нелинейность теплоемкости газов от температуры и изменение состава газовой смеси после горения.
Перед детальным рассмотрением предложенного нового способа работы ТМ с полным расширением и возможных технических реализации двигателя внутреннего сгорания высокой эффективности (далее в тексте «ДВС высокой эффективности») оговорим термины и определения, используемые ниже.
Свежий заряд – чистый атмосферный воздух для двигателей с непосредственным впрыском топлива и топливовоздушная смесь для двигателей с внешним смешением топлива. Сгорание топлива – впрыск топлива и его самовоспламенение за счет высокой температуры сжатого воздуха для двигателей с непосредственным впрыском топлива и поджог топливовоздушной смеси для двигателей с внешним смесеобразованием, горение смеси. Объем рабочей камеры в конце фазы выпуска отработанных газов, в начале фазы забора свежего заряда – V0. Объем рабочей камеры в конце фазы впуска свежего заряда – V1. Объем камеры в конце фазы сжатия заряда – V2. Объем рабочей камеры в конце фазы расширения – V3. Промежуточное значение объема рабочей камеры в фазе выпуска отработанных газов, в начале фазы продувки рабочей камеры – V4.
Известен способ работы ТМ с полным расширением, в котором происходит полное адиабатическое расширение разогретых газов в четвертой фазе до давления, равного атмосферному.
Объем рабочей камеры меняется по циклу V0, V1, V2, V3, V0, при этом V3>V1>V2>V0 0. Рабочий цикл состоит из пяти фаз, фиг 2. В первой фазе, при увеличении объема рабочей камеры с V0 до V1, рабочая камера соединена с впускным патрубком, происходит ее заполнение свежим зарядом (1) по изобарному процессу. При достижении рабочей камерой объема V1 она становится замкнутой. Во второй фазе при уменьшении объема рабочей камеры до V2 происходит адиабатическое сжатие свежего заряда (2), сопровождающееся повышением давления и температуры заряда. В третьей фазе при достижении рабочей камерой объема V2 происходит горение (3), за счет выделившейся тепловой энергии температура и давление заряда значительно повышаются. В четвертой фазе объем рабочей камеры увеличиваться до V3, происходит адиабатическое расширение разогретых газов (4) то тех пор, пока давление в рабочей камере не станет равным атмосферному давлению. Газы совершает полезную работу, давление и температура падают. При достижении рабочей камерой объема V3 камера соединяется с выпускным патрубком и в пятой фазе при уменьшении объема рабочей камеры до V0 происходит изобарический выпуск отработанных газов (5). Далее цикл повторяется.
В предлагаемом новом способе работы ТМ с полным расширением объем рабочей камеры меняется по циклу V4, V1, V2, V3, V4, при этом V3>V4>V1>V2. Рабочий цикл состоит из пяти фаз, фиг 3. В первой фазе происходит принудительная продувка рабочей камеры (6) при уменьшении объема с V4 до V1, при этом камера соединена как с впускным, так и выпускным патрубками. Для осуществления принудительной вентиляции свежий заряд подается под избыточным давлением, создаваемым дополнительным насосом. При достижении рабочей камерой объема V1 отработанные газы полностью заменяются свежим зарядом, и камера становится замкнутой. Во второй фазе при уменьшении объема рабочей камеры до V2 происходит адиабатическое сжатие свежего заряда (2), сопровождающееся повышением давления и температуры заряда. В третьей фазе при достижении рабочей камерой объема V2 происходит горение (3), за счет выделившейся тепловой энергии температура и давление заряда значительно повышаются. В четвертой фазе объем рабочей камеры увеличивается до V3, происходит адиабатическое расширение разогретых газов (4) до тех пор, пока давление в рабочей камере не станет равным атмосферному давлению. Газы совершает полезную работу, давление и температура падают. При достижении рабочей камерой объема V3 камера соединяется с выпускным патрубком, и в пятой фазе при уменьшении рабочей камеры до V4 происходит изобарический выпуск отработанных газов (5). При достижении рабочей камерой объема V4 она соединяется дополнительно с впускным патрубком, начинается продувка (6). Далее цикл повторяется.
Техническая реализация способов работы ТМ с полным расширением возможна тремя вариантами. В первых двух вариантах используется роторная конструкция двигателя. В зависимости от формы статора двигатель использует один из способов работы ТМ с полным расширением. Третий вариант использует поршневую конструкцию двигателя и новый способ работы ТП с полным расширением. В отличие от используемых на сегодняшний день поршневых двигателей с циклом Миллера, в предложенном третьем варианте технической реализации процесс частичного выброса свежего заряда обратно во впускной патрубок заменен на продувку рабочей камеры свежим зарядом. Кроме этого, рабочий цикл третьего варианта выполняется за один оборот коленчатого вала, в отличие от двигателей по циклу Миллера, где рабочий цикл выполняется за два полных оборота.
Большое значение имеет возможность регулировать вырабатываемую двигателем мощность. Эта задача легко решается в предложенных вариантах технической реализации при использовании схемы непосредственного впрыска топлива. При использовании схемы с внешним смесеобразованием задача регулировки мощности легко решается только для первого варианта.
Вариант 1 технической реализации использует известный способ работы ТМ с полным расширением. Используется двигатель роторной конструкции, фиг.4. Ротор (9) с выдвигающимися лопатками (8) вращается в цилиндрическом статоре (7), с двух сторон закрытом крышками. Рабочие камеры образованы стенками лопаток, ротора и статора. Ось вращения ротора смещена относительно оси статора. Профиль статора имеет форму, за счет которой при вращении ротора объем рабочих камер меняется по циклу V0, V1, V2, V3, V0. За счет разделения в пространстве зоны впуска, сжатия, горения, расширения и выпуска газов впуск и выпуск газов осуществляется через профилированные отверстия в крышках (10), (11) и/или в статоре, без применения дополнительных движущихся клапанов. Работа двигателя осуществляется следующим образом. При прохождении объема рабочей камеры через точку минимального объема V0 камера попадает на профилированное отверстие в крышке (11) и/или в статоре, соединенное со впускным патрубком. За счет увеличения объема рабочей камеры с V0 до V1 происходит забор свежего заряда. При прохождении объема рабочей камеры точки V1 камера становится полностью замкнутой. За счет уменьшения объема рабочей камеры с V1 до V2 происходит адиабатическое сжатие свежего заряда. При прохождении объема рабочей камеры через точку наибольшего сжатия V2 происходит горение топлива. За счет увеличения объема рабочей камеры с V2 до V3 происходит адиабатическое расширение газов. При прохождении объема рабочей камеры через точку наибольшего расширения V3 камера попадает на профилированное отверстие в крышке (10) и/или в статоре, соединенное с выпускным патрубком. За счет уменьшения объема рабочей камеры с V3 до V0 происходит выпуск отработанных газов. Далее цикл повторяется.
Двигатель может работать по схеме с непосредственным впрыском топлива. Для этого он должен быть оснащен в точке максимального сжатия V2 механизмом непосредственного впрыска топлива. Мощность, вырабатываемую двигателем, можно регулировать, изменяя количество впрыскиваемого топлива. Так как условия поджога топлива почти не зависят от режима работы двигателя, данная схема позволяет регулировать вырабатываемую мощность в больших пределах, что удобно при использовании двигателя на наземном транспорте и в энергоустановках.
Двигатель может работать по схеме с внешним смесеобразованием. Для этого он должен быть оснащен во впускном патрубке устройством смешения топлива с воздухом, в точке максимального сжатия V2 устройством поджога топливовоздушной смеси. Мощность, вырабатываемую двигателем, можно регулировать, изменяя концентрацию топлива в воздухе. Так как при обеднении топливовоздушной смеси ее воспламенение становится нестабильным или даже невозможным, регулировку вырабатываемой мощности в данной схеме можно проводить в узких пределах. Поэтому данная схема двигателя может использоваться в ограниченном числе приложений, где предполагается работа двигателя под постоянной нагрузкой, близкой к максимальной, например в легкомоторной авиации.
Для увеличения диапазона регулировки вырабатываемой мощности в схеме с внешним смесеобразованием необходимо дополнительно во впускном патрубке установить дроссельную заслонку. Изменяя положение дроссельной заслонки, можно в широком диапазоне менять создаваемое ей аэродинамическое сопротивление, как следствие – давление топливовоздушной смеси в первой фазе забора свежего заряда. При условии, что устройство смесеобразования на всех режимах работы обеспечивает постоянную оптимальную концентрацию топлива в воздухе, изменяя положение дроссельной заслонки, можно в широком диапазоне изменять количество подаваемого топлива и, как результат, в широком диапазоне менять вырабатываемую двигателем мощность, что удобно при использовании двигателя на наземном транспорте и в энергоустановках.
Вариант 2 технической реализации использует предлагаемый новый способ работы ТМ с полным расширением. Используется двигатель роторной конструкции, фиг.5. Ротор (9) с выдвигающимися лопатками (8) вращается в цилиндрическом статоре (7), с двух сторон закрытом крышками. Рабочие камеры образованы стенками лопаток, ротора и статора. Ось вращения ротора смещена относительно оси статора. Профиль статора круглый, при вращении ротора объем рабочих камер меняется по циклу V4, V1, V2, V3, V4. Впуск и выпуск газов осуществляется через профилированные отверстия в крышках (10), (11) и/или в статоре, без применения дополнительных движущихся клапанов. Для реализации фазы продувки профиль выпускного отверстия (10) частично перекрывается с профилем впускного отверстия (11), двигатель снабжается дополнительным нагнетателем свежего заряда, который может быть выполнен в виде центробежного, вентиляторного, роторного или поршневого насосов. Работа двигателя осуществляется следующим образом. При прохождении объема рабочей камеры через точку наибольшего расширения V3 камера попадает на профилированное отверстие в крышке (10) и/или в статоре, соединенное с выпускным патрубком. За счет уменьшения объема рабочей камеры с V3 до V4 происходит выпуск отработанных газов. При прохождении объема рабочей камеры через точку V4 камера попадает на профилированное отверстие в крышке (11) и/или в статоре, соединенное с впускным патрубком. За счет подачи свежего заряда под избыточным давлением, создаваемым дополнительным насосом, отработанные газы вытесняются. При прохождении объема рабочей камеры точки V1 отработанные газы полностью заменяются свежим зарядом, и камера становится полностью замкнутой. За счет уменьшения объема рабочей камеры с V1 до V2 происходит адиабатическое сжатие свежего заряда. При прохождении объема рабочей камеры точки наибольшего сжатия V2 происходит горение топлива. За счет увеличения объема рабочей камеры с V2 до V3 происходит адиабатическое расширение газов. Далее цикл повторяется.
Двигатель может работать по схеме с непосредственным впрыском топлива. Для этого он должен быть оснащен в точке максимального сжатия V2 механизмом непосредственного впрыска топлива. Мощность, вырабатываемую двигателем, можно регулировать, изменяя количество впрыскиваемого топлива. Так как условия поджога топлива почти не зависят от режима работы двигателя, данная схема позволяет регулировать вырабатываемую мощность в больших пределах, что удобно при использовании двигателя на наземном транспорте и в энергоустановках.
Двигатель может работать по схеме с внешним смесеобразованием. Для этого он должен быть оснащен во впускном патрубке устройством смешения топлива с воздухом, в точке максимального сжатия V2 – устройством поджога топливовоздушной смеси. Так как в результате продувки происходит прямой контакт отработанных газов со свежим зарядом, возможно самопроизвольное воспламенение готовой топливовоздушной смеси от высокой температуры отработанных газов. Для предотвращения этого объем свежего заряда должен превышать объем продуваемой камеры, а устройство смешения топлива с воздухом должно работать в импульсном режиме. В начале фазы продувки отработанные газы вытесняются чистым воздухом, после чего включается устройство смесеобразования, и продувка продолжается топливовоздушной смесью. Интенсивность продувки и длительность работы смесеобразующего устройства подбираются таким образом, чтобы обеспечить изоляцию топливовоздушной смеси от разогретых отработанных газов достаточным количеством свежего воздуха и обеспечить качественное заполнение рабочей камеры топливовоздушной смесью. Регулировка мощности, вырабатываемой двигателем, возможна изменением концентрации топлива. Так как при обеднении топливовоздушной смеси ее воспламенение становится нестабильным или даже невозможным, регулировку вырабатываемой мощности в данной схеме можно проводить в узких пределах. Поэтому данная схема двигателя может использоваться в ограниченном числе приложений, где предполагается работа двигателя под постоянной нагрузкой, близкой к максимальной, например в легкомоторной авиации.
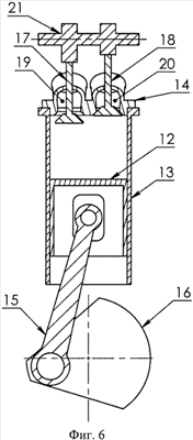
Вариант 3 технической реализации использует предлагаемый новый способ работы ТМ с полным расширением. Используется поршневая конструкция двигателя, фиг.6. Поршень (12) поступательно движется в цилиндре (13), закрытом с одной стороны крышкой (14). Для преобразования поступательного движения поршня (12) во вращательное он соединен шатуном (15) с коленчатым валом (16). При вращении коленчатого вала (16) объем рабочей камеры меняется по циклу V4, V1, V2, V3, V4. Для впуска свежего заряда используется впускной патрубок (20) в крышке (14), для выпуска отработанных газов используется выпускной патрубок (19). За газораспределение отвечают впускной (18) и выпускной (17) клапаны в верхней крышке (14). Последовательность и длительность открытия клапанов определяет газораспределительный вал (21). Для реализации фазы продувки в цикле работы двигателя есть период, когда впускной (18) и выпускной (17) клапаны открыты одновременно, двигатель снабжается дополнительным нагнетателем свежего заряда, который может быть выполнен в виде центробежного, вентиляторного, роторного или поршневого насосов. Наименьший объем V2 рабочая камера имеет, когда поршень находится в верхней мертвой точке, наибольший объем V3 рабочая камера имеет, когда поршень находится в нижней мертвой точке. Работа двигателя осуществляется следующим образом. При прохождении объема рабочей камеры через точку наибольшего расширения V3 открывается выпускной клапан (17), соединенный с выпускным патрубком (19). За счет уменьшения объема рабочей камеры с V3 до V4 происходит выпуск отработанных газов. При прохождении объема рабочей камеры через точку V4 открывается впускной клапан (18), соединенный с впускным патрубком (20). За счет подачи свежего заряда под избыточным давлением, создаваемым дополнительным насосом, отработанные газы вытесняются. При прохождении объема рабочей камерой точки V1 отработанные газы полностью заменяются свежим зарядом, клапаны закрываются, и камера становится полностью замкнутой. За счет уменьшения объема рабочей камеры с V1 до V2 происходит адиабатическое сжатие свежего заряда. При прохождении объема рабочей камеры точки наибольшего сжатия V2 происходит горение топлива. За счет увеличения объема рабочей камеры с V2 до V3 происходит адиабатическое расширение газов. Далее цикл повторяется.
Двигатель может работать по схеме с непосредственным впрыском топлива. Для этого в крышке цилиндра он должен быть оснащен механизмом непосредственного впрыска топлива. Мощность вырабатываемую двигателем можно регулировать, изменяя количество впрыскиваемого топлива. Так как условия поджога топлива почти не зависят от режима работы двигателя, данная схема позволяет регулировать вырабатываемую мощность в больших пределах, что удобно при использовании двигателя на наземном транспорте и в энергоустановках.
Двигатель может работать по схеме с внешним смесеобразованием. Для этого он должен быть оснащен во впускном патрубке устройством смешения топлива с воздухом, в крышке цилиндра – устройством поджога топливовоздушной смеси. Так как в результате продувки происходи прямой контакт отработанных газов со свежим зарядом, возможно самопроизвольное воспламенение готовой топливовоздушной смеси от высокой температуры отработанных газов. Для предотвращения этого объем свежего заряда должен превышать объем продуваемой камеры, а устройство смешения топлива с воздухом должно работать в импульсном режиме. В начале фазы продувки отработанные газы вытесняются чистым воздухом, после чего включается устройство смесеобразования, и продувка продолжается топливовоздушной смесью. Интенсивность продувки и длительность работы смесеобразующего устройства подбираются таким образом, чтобы обеспечить изоляцию топливовоздушной смеси от разогретых отработанных газов достаточным количеством свежего воздуха и обеспечить качественное заполнение рабочей камеры топливовоздушной смесью. Регулировка мощности, вырабатываемой двигателем, возможна изменением концентрации топлива. Так как при обеднении топливовоздушной смеси ее воспламенение становится нестабильным или даже невозможным, регулировку вырабатываемой мощности в данной схеме можно проводить в узких пределах. Поэтому данная схема двигателя может использоваться в ограниченном числе приложений, где предполагается работа двигателя под постоянной нагрузкой, близкой к максимальной, например в легкомоторной авиации.
Для увеличения диапазона регулировки вырабатываемой мощности в схеме с внешним смесеобразованием необходимо использовать механизм газораспределения, позволяющий менять фазу работы клапанов. При увеличении длительности периода, когда оба клапана открыты, уменьшается объем рабочей камеры V1 в конце фазы продувки, тем самым уменьшается объем топливовоздушной смеси, остающейся в рабочей камере в конце продувки. При условии, что устройство смесеобразования на всех режимах работы обеспечивает постоянную оптимальную концентрацию топлива в воздухе, изменяя фазы работы клапанов, можно в широком диапазоне менять объем рабочей камеры V1 в конце фазы продувки и, как результат, в широком диапазоне менять вырабатываемую двигателем мощность, что удобно при использовании двигателя на наземном транспорте и в энергоустановках.
На фиг.1 – график способа работы ТМ по циклу Отто. 1 – фаза забора свежего заряда. 2 – фаза адиабатического сжатия свежего заряда. 3 – фаза нагрева заряда за счет горения топлива. 4 – фаза адиабатического расширения заряда. 5 – фаза выпуска отработанных газов.
На фиг.2 – график известного способа работы ТМ с полным расширением, вариант 1. 1 – фаза забора свежего заряда. 2 – фаза адиабатического сжатия свежего заряда. 3 – фаза нагрева заряда за счет горения топлива. 4 – фаза адиабатического расширения заряда. 5 – фаза выпуска отработанных газов.
На фиг.3 – график предлагаемого нового способа работы ТМ с полным расширением, вариант 2. 6 – фаза продувки рабочей камеры свежим зарядом. 2 – фаза адиабатического сжатия свежего заряда. 3 – фаза нагрева заряда за счет горения топлива. 4 – фаза адиабатического расширения заряда. 5 – фаза выпуска отработанных газов.
На фиг.4 – сечение ДВС высокой эффективности роторной конструкции. 7 – статор. 8 – выдвигающиеся лопатки. 9 – ротор. 10 – выпускное отверстие для отработанных газов. 11 – впускное отверстие для свежего заряда.
На фиг.5 – сечение ДВС высокой эффективности роторной конструкции, профиль статора круглый. 7 – статор. 8 – выдвигающиеся лопатки. 9 – ротор. 10 – выпускное отверстие для отработанных газов. 11 – впускное отверстие для свежего заряда.
На фиг.6 – сечение ДВС высокой эффективности поршневой конструкции. 12 – поршень. 13 – цилиндр. 14 – крышка цилиндра. 15 – шатун. 16 – коленчатый вал. 17 – клапан выпускного патрубка. 18 – клапан впускного патрубка. 19 – выпускной патрубок. 20 – впускной патрубок. 21 – газораспределительный вал.
Формула изобретения
1. Способ работы тепловой машины с полным расширением, заключающийся в том, что в первой фазе происходит принудительная продувка рабочей камеры свежим зарядом при уменьшающемся объеме рабочей камеры с V4 до V1, для заполнения рабочей камеры свежим зарядом он подается под избыточным давлением, создаваемым дополнительным насосом, в результате продувки свежий заряд вытесняет остатки отработанных газов, во второй фазе свежий заряд по адиабатическому процессу сжимается при уменьшении объема рабочей камеры с V1 до V2, в третьей фазе происходит горение, за счет выделившейся энергии происходит увеличение давления и температуры в рабочей камере, в четвертой фазе продукты горения по адиабатическому процессу расширяются при увеличивающемся объеме рабочей камеры с V2 до V3 до тех пор, пока давление в рабочей камере не сравняется с атмосферным давлением, в пятой фазе по изобарному процессу при уменьшающемся объеме рабочей камеры с V3 до V4 происходит выброс продуктов горения, а объемы рабочей камеры соотносятся как V3>V4>V1>V2.
2. Способ по п.1, отличающийся тем, что в первой фазе происходит продувка воздухом, а в третьей фазе впрыскивается топливо, и происходит его самовозгорание за счет высокой температуры воздуха.
3. Способ по п.1, отличающийся тем, что в первой фазе происходит продувка топливовоздушной смесью, а в третьей фазе – поджог смеси.
4. Двигатель внутреннего сгорания высокой эффективности роторной конструкции, использующий способ работы тепловой машины, заключающийся в том, что в первой фазе по изобарному процессу происходит забор свежего заряда в рабочую камеру при увеличении объема с V0 до V1, во второй фазе набранный заряд по адиабатическому процессу сжимается при уменьшении объема рабочей камеры с V1 до V2, в третьей фазе происходит горение, за счет выделившейся энергии происходит увеличение давления и температуры в рабочей камере, в четвертой фазе продукты горения по адиабатическому процессу расширяются при увеличивающемся объеме рабочей камеры с V2 до V3 до тех пор, пока давление в рабочей камере не сравняется с атмосферным давлением, в пятой фазе по изобарному процессу при уменьшающемся объеме рабочей камеры с V3 до V0 происходит выброс продуктов горения, объемы рабочей камеры в рабочем цикле соотносятся как V3>V1>V2>V0 0, при этом ротор с выдвигающимися лопатками вращается в статоре, закрытом с торцов крышками, рабочие камеры образованы стенками ротора, статора и лопаток, при вращении ротора благодаря форме статора объем рабочих камер меняется в соответствии с условиями способа работы тепловой машины, а для впуска и выпуска газов используются профилированные отверстия в боковых крышках двигателя и/или в статоре.
5. Двигатель по п.4, отличающийся тем, что в первой фазе происходит забор воздуха, в зоне максимального сжатия используется устройство впрыска топлива, а регулировка мощности двигателя производится изменением количества впрыскиваемого топлива.
6. Двигатель по п.4, отличающийся тем, что в первой фазе происходит забор топливовоздушной смеси, при этом двигатель оснащен внешним устройством подготовки топливовоздушной смеси во впускном патрубке, в зоне максимального сжатия используется устройство поджога топливовоздушной смеси, а регулировка мощности вырабатываемой двигателем производится изменением концентрации топлива в топливовоздушной смеси в сторону ее обеднения.
7. Двигатель по п.6, отличающийся тем, что во впускном патрубке установлена дроссельная заслонка, устройство подготовки топливовоздушной смеси обеспечивает оптимальную концентрацию топлива в воздухе на всех режимах работы, регулировка мощности, вырабатываемой двигателем, производится изменением положения дроссельной заслонки, перекрывающей впускной патрубок и создающей разрежение топливовоздушной смеси в первой фазе забора свежего заряда.
8. Двигатель внутреннего сгорания высокой эффективности роторной конструкции, использующий способ работы тепловой машины по п.1, имеет круглый профиль статора, при вращении ротора объем камер меняется в соответствии с условиями цикла работы тепловой машины, для обеспечения фазы продувки профили впускного и выпускного отверстий частично перекрываются, а двигатель снабжен дополнительным насосом, обеспечивающим достаточный напор свежего заряда для полного вытеснения отработанных газов из рабочей камеры.
9. Двигатель по п.8, отличающийся тем, что в первой фазе происходит продувка воздухом, устройство впрыска топлива расположено в зоне максимального сжатия, самовозгорание топлива происходит за счет высокой температуры воздуха, а регулировка мощности, вырабатываемой двигателем, производится изменением количества впрыскиваемого топлива.
10. Двигатель по п.8, отличающийся тем, что двигатель оснащен внешним устройством подготовки топливовоздушной смеси во впускном патрубке, которое работает в импульсном режиме, интенсивность продувки и длительность работы устройства подготовки топливовоздушной смеси на всех режимах работы подобраны так, что в ходе продувки обеспечивается изоляция разогретых отработанных газов от топливовоздушной смеси чистым воздухом в достаточном количестве для предотвращения самовоспламенения топливовоздушной смеси, и обеспечивается оптимальное заполнение рабочей камеры топливовоздушной смесью, устройство поджога топливовоздушной смеси расположено в зоне максимального сжатия, а регулировка мощности двигателя производится изменением концентрации топлива в топливовоздушной смеси в сторону ее обеднения.
11. Двигатель внутреннего сгорания высокой эффективности поршневой конструкции, использующий способ работы тепловой машины по п.1, в котором поршень поступательно движется в цилиндре, закрытом с одной стороны крышкой, для преобразования поступательного движения во вращательное поршень соединен шатуном с коленчатым валом, для впуска свежего заряда используется впускной патрубок в крышке, для выпуска отработанных газов-выпускной патрубок, патрубки закрываются клапанами, последовательность и длительность открытия клапанов регулируется газораспределительным валом, при вращении коленчатого вала объем камеры меняется в соответствии с условиями способа работы тепловой машины по п.1, за газораспределение отвечают подвижные клапаны, для обеспечения фазы продувки есть период, когда оба клапана открыты, двигатель снабжен дополнительным насосом, обеспечивающим достаточный напор свежего заряда для полного вытеснения отработанных газов из рабочей камеры.
12. Двигатель по п.11, отличающийся тем, что в первой фазе происходит продувка воздухом, устройство впрыска топлива расположено в крышке цилиндра, самовозгорание топлива происходит за счет высокой температуры воздуха, а регулировка мощности, вырабатываемой двигателем, производится изменением количества впрыскиваемого топлива.
13. Двигатель по п.11, отличающийся тем, что двигатель оснащен внешним устройством подготовки топливовоздушной смеси во впускном патрубке, которое работает в импульсном режиме, интенсивность продувки и длительность работы устройства подготовки топливовоздушной смеси на всех режимах работы подобраны так, что в ходе продувки обеспечивается изоляция разогретых отработанных газов от топливовоздушной смеси чистым воздухом в достаточном количестве для предотвращения самовоспламенения топливовоздушной смеси и обеспечивается оптимальное заполнение рабочей камеры топливовоздушной смесью, в крышке цилиндра расположено устройство поджога топливовоздушной смеси, а регулировка мощности двигателя производится изменением концентрации топлива в топливовоздушной смеси в сторону ее обеднения.
14. Двигатель по п.11, отличающийся тем, что он имеет механизм, позволяющий менять период работы клапанов, позволяя увеличивать период, когда впускной и выпускной клапаны открыты одновременно, увеличивая тем самым фазу продувки рабочей камеры и уменьшая объем рабочей камеры в начале фазы сжатия, а регулировка мощности двигателя производится изменением объема рабочей камеры в начале фазы сжатия в сторону ее уменьшения.
РИСУНКИ
|
|