|
(21), (22) Заявка: 2005102775/06, 04.02.2005
(24) Дата начала отсчета срока действия патента:
04.02.2005
(30) Конвенционный приоритет:
05.02.2004 FR 0401086
(43) Дата публикации заявки: 10.07.2006
(46) Опубликовано: 20.05.2009
(56) Список документов, цитированных в отчете о поиске:
US 3788763 А, 29.01.1974. RU 2219378 C1, 20.12.2003. JP 2000210737 A, 20.08.2000. US 4773821 A, 27.09.1988. GB 1083373 A, 13.09.1967. RU 2117826 C1, 20.08.1998.
Адрес для переписки:
129090, Москва, ул. Б.Спасская, 25, стр.3, ООО “Юридическая фирма Городисский и Партнеры”, пат.пов. С.Р.Абубакирову, рег. 931
|
(72) Автор(ы):
ЛЕЖАР Клод (FR), ПОНТУАЗО Брюс (FR), СТАССЕН Ришар (FR), ТРИКОННЕ Николя (FR)
(73) Патентообладатель(и):
СНЕКМА (FR)
|
(54) РЫЧАГ УПРАВЛЕНИЯ УГЛОМ УСТАНОВКИ ЛОПАТКИ ТУРБОМАШИНЫ
(57) Реферат:
Рычаг управления углом установки лопатки в турбомашине содержит первый конец, смонтированный на поворотной оси лопатки таким образом, чтобы вращать ее, и второй конец, включающий цилиндрический штифт, установленный на контрольном кольце. Штифт фиксирован путем обжатия одного из его концов в отверстии второго конца рычага и содержит кольцеобразный фланец, к которому прикладывается второй конец рычага. Между вторым концом рычага и обжатым концом штифта расположены средства распределения нагрузки, включающие шайбу. Изобретение позволяет защитить второй конец рычага от механических воздействий в ходе обжатия за счет поглощения шайбой нагрузки, возникающей в ходе обжатия. 9 з.п. ф-лы, 7 ил.
Изобретение относится к рычагу управления углом установки лопатки в турбомашине, в особенности углом выпрямителя в ступени компрессора турбомашины.
Регулирование угла установки некоторых лопаток статора в турбомашине преследует цель оптимизировать мощность этой турбомашины и сократить потребление топлива в различных полетных конфигурациях. Эта регулировка обычно осуществляется на одном или более рядов лопаток с помощью контрольного кольца, которое окружает статор турбомашины с его внешней стороны и вращается вокруг продольной оси статора с помощью приводных средств таких, как силовой цилиндр или электродвигатель. Вращение кольца передается с помощью рычагов управления связующего типа на лопатки ряда, при этом каждый рычаг управления крепится к лопатке на одном конце, а на другом конце несет штифт, который находится в кожухе цилиндрической формы контрольного кольца.
Штифт вставляется в отверстие конца рычага и крепится к рычагу путем обжатия, эта операция состоит в сплющивании конца штифта на конце рычага, который опирается на округлый фланец штифта. Эта операция вызывает значительные нагрузки в той части рычага, на которой производится обжатие штифта, что делает данную часть рычага более хрупкой.
При регулировании угла установки лопаток рычаг управления подвергается воздействию изгибающих сил на том конце, где установлен штифт, который подвергается усилиям скручивания.
Механическая прочность рычага уменьшается из-за операции по обжатию штифта, и после определенного периода работы турбомашины на рычаге могут появиться трещины и щели, которые могут вызвать поломку рычага управления, что может вызвать выход из строя турбомашины и должно рассматриваться как очень серьезная аварийная ситуация.
Настоящее изобретение по существу преследует задачу устранения указанной опасности, связанной с поломкой рычагов управления.
В этой связи предлагается рычаг управления углом установки лопатки в турбомашине, у которого первый конец рычага должен быть смонтирован на оси поворота лопатки с тем, чтобы вращать ее, а второй конец, содержащий цилиндрический штифт, монтируется на контрольном кольце; этот штифт фиксируется путем обжатия одного из своих концов в отверстии второго конца рычага и содержит кольцеобразный фланец, к которому прикладывается второй конец рычага, причем средства распределения нагрузки предусмотрены между вторым концом рычага и обжатым концом штифта.
Таким образом, во время обжатия штифта на рычаге поверхность рычага уже не находится больше в прямом контакте с обжатой частью штифта, а обжимающие нагрузки распределяются по поверхности рычага, что является достаточным для того, чтобы не сделать рычаг более хрупким.
В соответствии с характеристикой изобретения средства распределения нагрузки содержат шайбу. Шайба позволяет распределять усилия по обжатию по достаточной области поверхности и имеет преимущество в том, что является простой и дешевой.
В первом варианте изобретения шайба изготавливается из более гибкого материала по сравнению с материалом, из которого изготовлен рычаг управления. Это позволяет шайбе поглощать нагрузки по механическому обжатию путем гибкой деформации и эффективно защищать второй конец рычага от любых механических воздействий в ходе обжатия.
В другом варианте изобретения шайба изготавливается из более твердого материала, чем тот, из которого изготовлен рычаг управления. Эта шайба менее подвержена деформации по сравнению с первым вариантом изобретения и лучше распределяет обжимающие нагрузки.
Чтобы уменьшить опасность механического воздействия второго конца рычага, по существу плоская кольцеобразная поверхность шайбы, приложенная ко второму концу рычага, должна иметь выпуклый или скошенный кольцеобразный край по своей внешней периферии.
В целом, преимущество настоящего изобретения состоит в простом, эффективном и недорогом способе, который дает возможность избежать опасности разрушения рычагов управления углом установки выпрямителей ступеней компрессора в турбомашине, что происходит в результате обжатия штифтов на концах рычагов.
Другие преимущества и характеристики изобретения станут более очевидными после ознакомления со следующим описанием неограничивающих примеров и ссылками на прилагаемые чертежи, на которых:
фиг.1 изображает частичный схематический вид, показывающий установку рычага управления углом установки выпрямителя в ступени компрессора турбомашины согласно предшествующему уровню техники;
фиг.2 и 3 – схематические виды сбоку, показывающие обжатие штифта на рычаге управления согласно предшествующему уровню техники;
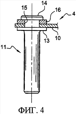
фиг.4 – частичный схематический вид первого варианта рычага управления согласно изобретению;
фиг.5 – частичный схематический вид второго варианта рычага управления согласно изобретению;
фиг.6 и 7 – увеличенные схематические виды в осевом разрезе шайбы распределения нагрузки согласно второму варианту изобретения.
Показанный на фиг.1 вариант осуществления изобретения представляет собой часть ступени 1 компрессора высокого давления турбомашины, в которой каждая ступень компрессора содержит установленный на статоре ряд лопаток 2 и ряд лопаток 3, которые несет ротор.
Лопатки 2 статора являются выпрямителями, положение углов которых регулируется с помощью рычагов 4 управления, вращаемых контрольным кольцом 5, которое приводится в движение с помощью силового цилиндра или электродвигателя.
Каждый рычаг 4 управления прикреплен концом 6 к радиальной оси 7 поворота лопатки 2, ось 7 направляется в своем вращении в подшипнике 8, который установлен в радиальном отверстии кожуха 9. На другом конце 10 рычага 4 управления находится штифт 11, который обжат по направлению на конце 10 рычага 4 управления и направляется в своем вращении в цилиндрической втулке 12 контрольного кольца 6.
Круговое движение контрольного кольца 5 вокруг своей оси подтверждается вращением рычагов 4 вокруг поворотных осей 7 и вращением лопаток 2 вокруг этих осей.
Фиг.2, 3 показывают обжимание штифта 11 на конце 10 рычага управления на основе существующей технологии, обычно штифт изготавливается из стали, а рычаг – из титана.
До обжимания штифт представляет собой прямой элемент цилиндрической формы, недалеко от одного из концов которого выступает кольцеобразный фланец 13. Этот фланец 13 является опорой для конца 10 рычага 4, который включает в себя отверстие, в котором закреплен верхний конец 14 штифта. На этом конце штифта 11 поверх фланца 13 находится цилиндрическое осевое расточенное отверстие, предназначенное для обжимания штифта на конце 10 рычага. Обжимание производится путем прессовой посадки соответствующего инструмента в отверстие таким образом, чтобы загнуть вниз и расплющить верхний конец 14 штифта на конце 10 рычага, как показано на фиг.3.
В ходе обжимания конец рычага 10, который прикладывается к фланцу 13 верхнего конца 14 штифта, непосредственно испытывает обжимающие нагрузки, что может сделать его более хрупким. В процессе работы во время регулировки угла наклона лопаток эти концы рычагов работают в режиме напряжения при изгибе, в то время как штифты работают в режиме кручения и подвержены вибрациям турбомашины, что делает рычаги еще более хрупкими. Со временем это может вызвать разрушение конца 10 рычага.
Данное изобретение делает возможным устранить этот риск с помощью средств распределения нагрузки между обжатым концом штифта и концом 10 рычага 4 управления.
Фиг.4, 5 показывают два варианта осуществления этих средств распределения нагрузки, которые образованы из плоских шайб 16, 17 с кольцевой внешней формой, показывающей осевое кольцеобразное отверстие 15, чей диаметр чуть больше, чем диаметр штифта 11. Толщина шайбы должна быть порядка одного миллиметра, и внешний диаметр шайбы не должен превышать диаметр фланца 13 штифта 11.
В осуществлении изобретения по фиг.4 шайба 16 состоит из двух идентичных параллельных плоских поверхностей и изготовлена из более гибкого материала, чем рычаг 4, то есть из материала, модуль Юнга которого меньше, чем материала рычага 4, который обычно изготавливается из титана. Шайба 16, изготовленная, например, из полимера, может пластично деформироваться в процессе обжатия без нанесения вреда рычагу 4 управления и в процессе распределения нагрузок на конце 10 рычага 4.
Во втором варианте согласно изобретению, представленном на фиг.5, находящаяся между обжатым концом штифта и рычагом 4 шайба 17 изготовлена из материала, модуль Юнга которого выше, чем материала рычага 4 управления. Этим материалом может быть, например, полимер или металл. В данном случае, как представлено в большем масштабе на фиг.6-7, поверхность 18 шайбы 17 находится в контакте с концом 10 рычага 4 и сформирована выпуклым округлым краем 19 по всей внешней периферии (фиг.6) или скощенным внешним краем 20 (фиг.7).
Такая конфигурация шайбы 17 позволяет не создавать никаких максимальных нагрузок в рычаге 4 на внешней периферии шайбы во время обжатия, выпуклая округлость 19 или скос 20 позволяют постепенно уменьшать нагрузки на материал рычага 4.
Формула изобретения
1. Рычаг управления углом установки лопатки в турбомашине, первый конец которого смонтирован на поворотной оси лопатки таким образом, чтобы вращать ее, и второй конец включает цилиндрический штифт, который установлен на контрольном кольце, этот штифт фиксирован путем обжатия одного из его концов в отверстии второго конца рычага и содержит кольцеобразный фланец, к которому прикладывается второй конец рычага, причем средства распределения нагрузки расположены между вторым концом рычага и обжатым концом штифта.
2. Рычаг управления по п.1, в котором средства распределения нагрузки включают шайбу.
3. Рычаг управления по п.2, в котором шайба изготовлена из материала более гибкого, чем материал рычага управления.
4. Рычаг управления по п.3, в котором шайба изготовлена из полимерных материалов.
5. Рычаг управления по п.2, в котором шайба изготовлена из материала более твердого, чем материал рычага управления.
6. Рычаг управления по п.5, в котором шайба изготовлена из полимера или металла.
7. Рычаг управления по п.5, в котором шайба содержит по существу плоскую круглую поверхность, прикладываемую ко второму концу рычага, и имеет выпуклый или скошенный кольцеобразный край по своей внешней периферии.
8. Рычаг управления по п.2, в котором толщина шайбы составляет порядка одного миллиметра.
9. Рычаг управления по п.2, в котором шайба имеет наружный диаметр, равный или чуть меньший диаметра фланца штифта.
10. Рычаг управления по п.1, в котором рычаг изготовлен из титана, а штифт изготовлен из стали.
РИСУНКИ
|