|
|
(21), (22) Заявка: 2007144430/06, 29.11.2007
(24) Дата начала отсчета срока действия патента:
29.11.2007
(46) Опубликовано: 20.05.2009
(56) Список документов, цитированных в отчете о поиске:
RU 2167309 С2, 20.05.2001. GB 2042643 А, 24.09.1980. СА 977684 А, 11.11.1975. US 6416282 В1, 09.07.2002. RU 2299991 С2, 27.05.2007. SU 1802173 А1, 15.03.1993.
Адрес для переписки:
614990, г.Пермь, ГСП, Комсомольский пр-кт, 93, ОАО “Авиадвигатель”, отдел защиты интеллектуальной собственности
|
(72) Автор(ы):
Кузнецов Валерий Алексеевич (RU)
(73) Патентообладатель(и):
Открытое акционерное общество “АВИАДВИГАТЕЛЬ” (RU)
|
(54) ВЫСОКОТЕМПЕРАТУРНАЯ МНОГОСТУПЕНЧАТАЯ ГАЗОВАЯ ТУРБИНА
(57) Реферат:
Высокотемпературная многоступенчатая газовая турбина включает охлаждаемую рабочую лопатку и рабочую лопатку с неохлаждаемым пером, расположенную ниже по потоку от охлаждаемой рабочей лопатки. Рабочая лопатка с неохлаждаемым пером выполнена с удлиненным хвостовиком, а также с передним и задним уплотнительными ребрами и замком. На боковых поверхностях хвостовика рабочей лопатки с неохлаждаемым пером выполнены элементы, интенсифицирующие охлаждение, например штырьки. Со стороны входной кромки лопатки с неохлаждаемым пером расположены уплотняющие пластины, выполненные с каналами подвода охлаждающего воздуха, соединенными на входе с воздушной полостью ротора, а на выходе – через каналы в передних по потоку уплотнительных ребрах хвостовика с воздушной полостью, образованной хвостовиками соседних лопаток. Воздушная полость через каналы в задних по потоку уплотнительных ребрах соединена с газовой полостью турбины. Каналы в передних и задних ребрах выполнены касательно к боковой поверхности хвостовика. Изобретение позволяет повысить надежность высокотемпературной газовой турбины за счет снижения температуры хвостовика и корневых сечений пера рабочих лопаток. 3 ил.
Изобретение относится к многоступенчатым турбинам газотурбинных двигателей авиационного и наземного применения.
Известна многоступенчатая газовая турбина, все рабочие лопатки которой выполнены неохлаждаемыми (С.А.Вьюнов. Конструкция и проектирование авиационных газотурбинных двигателей, Москва, «Машиностроение», 1981, стр.137, рис.4.5 г.).
Недостатком такой конструкции является малая мощность газовой турбины из-за низкой температуры газа на входе в турбину, которая ограничена прочностью материала неохлаждаемых рабочих лопаток.
Наиболее близкой к заявляемой является высокотемпературная многоступенчатая газовая турбина, в которой рабочие лопатки I и II ступеней выполнены охлаждаемыми, а лопатки III ступени – неохлаждаемыми (Патент РФ 2167309, F01D 5/08, 2001 г.).
Недостатком конструкции, принятой за прототип, является ее низкая надежность из-за повышенной температуры корневых сечений пера неохлаждаемой рабочей лопатки, что приводит к обрыву этой лопатки с дальнейшим разрушением многоступенчатой турбины.
Технической задачей, на решение которой направлено заявляемое изобретение, является повышение надежности высокотемпературной многоступенчатой газовой турбины путем интенсификации охлаждения хвостовика и корневых сечений пера неохлаждаемых рабочих лопаток.
Сущность технического решения заключается в том, что в высокотемпературной многоступенчатой газовой турбине, в которой за охлаждаемой рабочей лопаткой ниже по потоку расположена рабочая лопатка с неохлаждаемым пером, удлиненным хвостовиком с передним и задним уплотнительными ребрами и замком, согласно изобретению на боковых поверхностях хвостовика рабочей лопатки с неохлаждаемым пером выполнены элементы, интенсифицирующие охлаждение, например штырьки, а со стороны входной кромки расположены уплотняющие пластины, выполненные с каналами подвода охлаждающего воздуха, соединенными на входе с воздушной полостью ротора, а на выходе – через каналы в передних по потоку уплотнительных ребрах хвостовика с воздушной полостью, образованной хвостовиками соседних лопаток, которая через каналы в задних по потоку уплотнительных ребрах соединена с газовой полостью турбины, причем каналы в передних и задних ребрах выполнены касательно к боковой поверхности хвостовика.
При повышении температуры газа перед турбиной требуется охлаждение не только рабочих лопаток I и II ступени, но и последующей по потоку газа рабочей лопатки, которая вследствие расширения потока газа выполняют с высоким относительным удлинением пера. Выполнение такой лопатки с охлаждаемым пером является проблемным в основном из-за низкой механической прочности и жесткости керамического стержня большого относительного удлинения, который формирует воздушную полость пера лопатки при ее отливке.
Минимальные запасы прочности такой лопатки расположены в корневых сечениях ее пера, так как на них действует максимальная центробежная сила пера лопатки, а температура газа на входе в рабочую лопатку в случаях использования малоэмиссионной гомогенной камеры сгорания постоянна по радиусу.
Выполнение рабочей лопатки с неохлаждаемым пером и интенсивно охлаждаемым хвостовиком позволяет снизить температуру корневых сечений пера лопатки за счет отвода теплового потока в хвостовик, что повышает надежность лопатки с неохлаждаемым пером и снижает стоимость изготовления такой лопатки.
Размещение на боковых поверхностях хвостовика рабочей лопатки интенсификаторов охлаждения, например штырьков, позволяет повысить эффективность охлаждения хвостовика и тем самым уменьшить температуру корневых сечений пера лопатки с повышением ее надежности.
Расположение на хвостовике лопатки со стороны ее входной кромки уплотняющих пластин с каналами подвода охлаждающего воздуха, соединенными на входе с воздушной полостью ротора, а на выходе – через каналы в передних по потоку уплотнительных ребрах хвостовика с воздушной полостью, образованной хвостовиками соседних лопаток, позволяет защитить хвостовики лопаток от протекающих по проточной части турбины горячих газов и подвести охлаждающий воздух из воздушной полости ротора турбины в полость между хвостовиками соседних рабочих лопаток.
Соединение воздушной полости между хвостовиками рабочих лопаток каналами в задних по потоку уплотнительных ребрах хвостовика с газовой полостью турбины позволяет организовать выход охлаждающего воздуха с минимальными для газового потока в проточной части турбины гидравлическими потерями с одновременным охлаждением нижних полок расположенных ниже по потоку сопловых лопаток.
Выполнение каналов в передних и задних ребрах касательными к боковой поверхности хвостовика позволяет за счет более эффективного обдува интенсификаторов охлаждения и боковой поверхности хвостовика снизить температуру хвостовика и корневых сечений пера лопатки, что повышает надежность газовой турбины.
Заявляемая конструкция проиллюстрирована следующими чертежами.
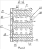
На фиг.1 показан продольный разрез турбины заявляемой конструкции, на фиг.2 – элемент I на фиг.1 в увеличенном виде, а фиг.3 представлено сечение А-А на фиг.2.
Высокотемпературная многоступенчатая газовая турбина 1 состоит из статора 2 и ротора 3 с охлаждаемыми рабочими лопатками 4 и 5 I и II ступеней соответственно, а также рабочей лопатки III ступени 6 с неохлаждаемым пером 7, имеющем корневое сечение 8. Лопатка 6 выполнена с елочным замком 9 и удлиненным хвостовиком 10, на боковых поверхностях 11 и 12 которого размещены интенсификаторы охлаждения – штырьки 13.
Со стороны входной кромки 14 лопатки 6 на хвостовике 10 размещены уплотняющие пластины 15, выполненные с каналами 16 подвода охлаждающего воздуха 17, соединенные на входе с воздушной полостью 18 ротора 3 турбины 1, а на выходе – через каналы 19 в передних по потоку газа 20 уплотнительных ребрах 21 хвостовика 10 с воздушной полостью 22, образованной хвостовиками 10 соседних лопаток. Полость 22 на выходе каналами 23 в задних ребрах 24 соединена с газовой полостью 25 перед расположенными ниже по потоку газа 20 нижними полками 26 сопловых лопаток 27. Входные в воздушную полость 22 каналы 20 и выходные каналы 23 в переднем 21 и в заднем 24 уплотнительных ребрах выполнены по касательной к боковым поверхностям 11 и 12 хвостовиков 10.
Устройство работает следующим образом.
При работе высокотемпературной многоступенчатой газовой турбины 1 температура газа 20 перед входной кромкой 14 рабочей лопатки III ступени 6 с неохлаждаемым пером 7 превышает допустимое для заданного ресурса значение, что может привести к поломке лопатки 6 в наиболее напряженном корневом сечении 8 пера 7. Однако этого не происходит, так как охлаждающий воздух 17, поступающий из воздушной полости 18 ротора 3 турбины 1 в воздушную полость 22 между хвостовиками 10 соседних лопаток 6, эффективно охлаждает с помощью штырьков-интенсификаторов 13 и каналов 19, касательных к боковым поверхностям 11 и 12 хвостовиков 10, снижает таким образом температуры хвостовика 10 и корневых сечений 8 пера 7 лопатки 6, что повышает надежность турбины 1.
Формула изобретения
Высокотемпературная многоступенчатая газовая турбина, в которой за охлаждаемой рабочей лопаткой ниже по потоку расположена рабочая лопатка с неохлаждаемым пером, удлиненным хвостовиком с передним и задним уплотнительными ребрами и замком, отличающаяся тем, что на боковых поверхностях хвостовика рабочей лопатки с неохлаждаемым пером выполнены элементы, интенсифицирующие охлаждение, например штырьки, а со стороны входной кромки расположены уплотняющие пластины, выполненные с каналами подвода охлаждающего воздуха, соединенными на входе с воздушной полостью ротора, а на выходе – через каналы в передних по потоку уплотнительных ребрах хвостовика с воздушной полостью, образованной хвостовиками соседних лопаток, которая через каналы в задних по потоку уплотнительных ребрах соединена с газовой полостью турбины, причем каналы в передних и задних ребрах выполнены касательно к боковой поверхности хвостовика.
РИСУНКИ
|
|