|
|
(21), (22) Заявка: 2007127739/06, 19.07.2007
(24) Дата начала отсчета срока действия патента:
19.07.2007
(46) Опубликовано: 20.05.2009
(56) Список документов, цитированных в отчете о поиске:
ЗЕЛЕНЕЦКИЙ С.Б. и др. Ротационные пневматические двигатели. – Л.: Машиностроение, 1976, с.209. RU 2289023 А, 10.12.2006. RU 2271476 C1, 10.03.2006. GB 409363 A, 13.04.1934. JP 57020503 А, 03.02.1982.
Адрес для переписки:
606100, Нижегородская обл., г. Павлово, ул. Чапаева, 43, корп.3, ЗАО “Ингерсолл-Рэнд СиАйЭс”
|
(72) Автор(ы):
Устинов Виталий Валентинович (RU)
(73) Патентообладатель(и):
Закрытое акционерное общество “Ингерсолл-Рэнд СиАйЭс” (RU)
|
(54) СПОСОБ РЕГУЛИРОВАНИЯ ЧАСТОТЫ ВРАЩЕНИЯ ПНЕВМАТИЧЕСКОГО РОТОРНОГО ДВИГАТЕЛЯ И УСТРОЙСТВО ДЛЯ ЕГО ОСУЩЕСТВЛЕНИЯ
(57) Реферат:
Изобретение относится к машиностроению и может быть использовано в различных отраслях промышленности, в том числе для привода миксеров. Способ регулирования частоты вращения пневматического роторного двигателя заключается в дросселировании впускных или выпускных отверстий двигателя, в зависимости от его частоты вращения. Дросселирование осуществляется за счет реактивного момента электрического генератора, установленного на валу двигателя и взаимодействующего с дросселем. Величина дросселирования устанавливается путем регулирования электрической нагрузки генератора. Устройство для регулирования частоты вращения пневматического роторного двигателя содержит статор с впускными и выпускными отверстиями, ротор с радиальными лопатками и валом, электрический генератор с корпусом, установленный на статоре пневматического двигателя. Устройство снабжено регулируемым дросселем, через который двигатель подключен к пневмосети. Генератор установлен с возможностью поворота. Корпус генератора подпружинен и жестко связан с регулирующим элементом дросселя. Выход генератора подключен к переменному резистору. Обеспечивается возможность дистанционной регулировки частоты вращения при помощи одного регулятора. 2 н.п. ф-лы, 2 ил.
Изобретение относится к машиностроению и может быть использовано в различных отраслях промышленности, в том числе для привода миксеров.
Известен способ регулирования частоты вращения пневматического роторного двигателя, заключающийся в дросселировании впускных или выпускных отверстий двигателя в зависимости от частоты его вращения, причем дросселирование осуществляется при помощи центробежного регулятора. «Ротационные пневматические двигатели» С.Б.Зеленецкий, Е.Д.Рябков, А.Г.Микеров. Л.: Машиностроение, 1976, стр.209.
Недостатком указанного способа являются недостаточно широкие технологические возможности, заключающиеся в сложной регулировке частоты вращения и отсутствии возможности производить дистанционную регулировку частоты вращения.
Технической задачей изобретения является создание способа регулирования частоты вращения пневматического роторного двигателя и устройства для его осуществления, позволяющего осуществлять дистанционную регулировку частоты вращения при помощи одного регулятора.
Эта техническая задача решается за счет того, что согласно способу регулирования частоты вращения пневматического роторного двигателя, заключающегося в дросселировании впускных или выпускных отверстий двигателя, в зависимости от его частоты вращения дросселирование осуществляется за счет реактивного момента электрического генератора, установленного на валу двигателя и взаимодействующего с дросселем, а величина дросселирования устанавливается путем регулирования электрической нагрузки генератора.
Известно устройство для контроля частоты вращения пневматического роторного двигателя (см. патент RU 2289023), содержащее статор с впускными и выпускными отверстиями, ротор с радиальными лопатками и валом, электрический генератор с корпусом, установленный на статоре, и валом, связанный с валом двигателя.
Недостатком указанного устройства является отсутствие регулирования частоты вращения пневматического двигателя.
Технической задачей изобретения является создание устройства, позволяющего производить дистанционную регулировку частоты вращения при помощи одного регулятора.
Эта техническая задача решается за счет того, что устройство для регулирования частоты вращения пневматического роторного двигателя, содержащее статор с впускными и выпускными отверстиями, ротор с радиальными лопатками и валом, электрический генератор с корпусом, установленный на статоре пневматического двигателя, снабжено регулируемым дросселем, через который пневматический двигатель подключен к пневмосети, генератор установлен с возможностью поворота, корпус генератора подпружинен и жестко связан с регулирующим элементом дросселя, а выход генератора подключен к переменному резистору.
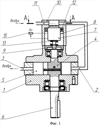
На фиг.1 приведен профильный разрез устройства для регулирования частоты вращения пневматического двигателя, а на фиг.2 – разрез А-А.
Устройство для регулирования частоты вращения пневматического двигателя содержит статор 1 с впускными и выпускными отверстиями 2 и 3, ротор 4 с радиальными лопатками 5 и валом 6, электрический генератор 7 с корпусом 8, установленный на статоре 1 пневматического двигателя, и валом 9 связанный с валом 6 двигателя регулируемый дроссель 10, через который впускное отверстие 2 пневмодвигателя соединено с пневмосетью 11, генератор 7 установлен в подшипнике 12 с возможностью поворота, корпус генератора 8 подпружинен пружиной 13 и жестко связан с регулирующим элементом 14 дросселя 10, а выход генератора 7 подключен к переменному резистору 15.
Способ регулирования частоты вращения осуществляется следующим образом.
При подаче сжатого воздуха к пневмосети 10 последний через дроссель 9 и впускное отверстие 2 поступает в пневмодвигатель, и ротор 4 получает вращение из-за давления воздуха на лопатки 5. При этом также начинает вращаться генератор 7, так как его вал 9 жестко связан валом 6 пневмодвигателя.
На выходе генератора 7 появляется напряжение, которое создает ток в переменном резисторе 15.
Этот ток протекает по обмоткам (не показаны) генератора 7, создает на корпусе 8 реактивный момент, который воздействует на регулирующий элемент 14 дросселя 10, приводит к дросселированию воздуха из пневмосети 11 таким образом, что частота вращения вала 6 двигателя остается постоянной. Если по каким-либо причинам момент на валу 6 двигателя возрос и частота его вращения стала уменьшаться, то уменьшается напряжение на выходе генератора 7, ток в цепи переменного резистора 15, а следовательно, и реактивный момент на корпусе 8, что приводит к тому, что регулирующий элемент 14 дросселя 10 увеличивает подачу воздуха в двигатель и частота вращения двигателя достигает установленного значения.
Таким образом, регулируя величину переменного резистора 15, можно регулировать частоту вращения пневмодвигателя и производить его дистанционную регулировку.
Введение в устройство для регулирования частоты вращения пневматического роторного двигателя, содержащее статор с впускными и выпускными отверстиями, ротор с радиальными лопатками и валом, электрический генератор с корпусом, установленный на статоре пневматического двигателя и валом связанный с валом двигателя регулирующего дросселя, через который пневматический двигатель подключен к пневмосети, генератор установлен с возможностью поворота, корпус генератора подпружинен и жестко связан с регулирующим элементом дросселя, а выход генератора подключен к переменному резистору, позволило осуществить дистанционную регулировку частоты вращения пневматического роторного двигателя одним регулятором.
Формула изобретения
1. Способ регулирования частоты вращения пневматического роторного двигателя, заключающийся в дросселировании впускных или выпускных отверстий двигателя в зависимости от его частоты вращения, отличающийся тем, что дросселирование осуществляется за счет реактивного момента электрического генератора, установленного на валу двигателя и взаимодействующего с дросселем, а величина дросселирования устанавливается путем регулирования электрической нагрузки генератора.
2. Устройство для регулирования частоты вращения пневматического роторного двигателя, содержащее статор с впускными и выпускными отверстиями, ротор с радиальными лопатками и валом, электрический генератор с корпусом, установленный на статоре пневматического двигателя и валом связанный с валом двигателя, отличающийся тем, что устройство снабжено регулируемым дросселем, через который пневматический двигатель подключен к пневмосети, генератор установлен с возможностью поворота, корпус генератора подпружинен и жестко связан с регулирующим элементом дросселя, а выход генератора подключен к переменному резистору.
РИСУНКИ
|
|