|
|
(21), (22) Заявка: 2004129403/03, 05.10.2004
(24) Дата начала отсчета срока действия патента:
05.10.2004
(30) Конвенционный приоритет:
06.10.2003 US 60/509,097
(43) Дата публикации заявки: 10.03.2006
(46) Опубликовано: 20.05.2009
(56) Список документов, цитированных в отчете о поиске:
SU 114579 А, 29.10.1957. SU 235679 А, 30.06.1969. RU 2079421 С1, 27.01.1997. RU 2091567 С1, 27.09.1997. US 4523643 А, 18.06.1985. US 4560000 A, 24.12.1985.
Адрес для переписки:
129090, Москва, ул. Б.Спасская, 25, стр.3, ООО “Юридическая фирма Городисский и Партнеры”, пат.пов. С.А.Дорофееву
|
(72) Автор(ы):
ГРУВ Бренден М. (US), ДЬЮХОН Марк С. (US), БЕРМАНН Лоуренс А. (US), ДЖОУНС Клод Д. (US)
(73) Патентообладатель(и):
ШЛЮМБЕРГЕР ХОЛДИНГЗ ЛИМИТЕД (VG)
|
(54) СИСТЕМА И СПОСОБ ДЛЯ ОБРАБОТКИ СКВАЖИНЫ (ВАРИАНТЫ)
(57) Реферат:
Изобретение относится к нефтедобывающей промышленности, в частности к системе и способу обработки скважины для улучшения сообщения резервуара со скважиной. Технический результат – создание способа и системы для улучшения сообщения скважины с резервуарами в формации, в которых проходит скважина. Система обработки скважины для создания в скважине переходного режима превышения пластового давления над гидростатическим давлением в скважине содержит корпус, образующий уплотненную камеру для создания импульса, имеющую давление меньше, чем давление снаружи корпуса, заряд для создания импульса, расположенный внутри уплотненной камеры и предназначенный для его приведения в действие с целью проникновения через корпус, но не через материал снаружи от корпуса. 5 н. и 16 з.п. ф-лы, 11 ил.
Изобретение относится к системе и способу обработки скважины для улучшения сообщения резервуара со скважиной.
Для завершения подготовки буровой скважины к эксплуатации одну или несколько зон формации, примыкающих к буровой скважине, перфорируют для возможности прохождения текучей среды из зон формации к скважине с целью ее добычи на поверхности или для возможности подачи нагнетаемых текучих сред в зоны формации. Колонна труб со стреляющим перфоратором может быть опущена в скважину, после чего производят выстрелы перфоратором для создания отверстий в обсадной трубе и для прохождения пробиваемых отверстий в окружающую формацию.
Характер взрывного воздействия на формацию в перфорационных тоннелях таков, что происходит дробление с получением песчаных зерен формации. Вокруг каждого перфорационного тоннеля может быть образован слой “зоны, поврежденной ударным воздействием”, имеющей проницаемость ниже проницаемости неразработанной основной массы породы. Процесс также может привести к образованию тоннеля, полного осколков скальной породы, перемешанных с осколками заряда перфоратора. Степень разрушения и количество свободных осколков в тоннеле зависят от разных факторов, включая свойства формации, свойства заряда взрывчатого вещества, режимы давления, свойства текучей среды и так далее. Зона, разрушенная ударом, и свободные осколки в перфорационных тоннелях могут понизить добычу из производственных скважин или приемистость из нагнетательных скважин.
Одним из распространенных способов получения свободных отверстий является перфорирование с созданием режима превышения пластового давления над гидростатическим давлением в скважине, раскрытое, например, в патентах США 4501331, 4523643, 4557331 и 4560000. Перфорирование осуществляют при давлении в скважине, меньшем, чем давление в формации. Выравнивание давления достигают посредством прохождения текучей среды из формации в скважину. Эта текучая среда переносит некоторые поврежденные частицы породы. Однако перфорирование с созданием указанного режима не всегда может оказаться эффективным, требует больших затрат и не является безопасным при его осуществлении в определенных условиях в скважине.
Другим вариантом может быть разрыв формации для обхода разрушенного и закупоренного перфорационного отверстия, который раскрыт, например, в патентах США 6169058, 6662874 и 6725930. Однако разрыв представляет собой относительно дорогостоящую операцию. Кроме того, для низкого начального давления и значительного зонального воздействия требуются чистые, неповрежденные перфорации (предварительные условия для удовлетворительного выполнения работ при разрыве). Кислотная обработка, описанная в патентах США 3452818, 6207620 и представляющая собой еще один используемый способ устранения повреждений при перфорировании, неэффективна (вследствие разветвления) при обработке большого количества перфорационных тоннелей.
Техническим результатом настоящего изобретения является создание способа и системы для улучшения сообщения скважины с резервуарами в формациях, в которых проходит скважина.
Вышеуказанный технический результат достигается тем, что система обработки скважины для создания в скважине переходного режима превышения пластового давления над гидростатическим давлением в скважине содержит корпус, образующий уплотненную камеру для создания импульса, имеющую давление меньше, чем давление снаружи корпуса, заряд для создания импульса, расположенный внутри уплотненной камеры и предназначенный для его приведения в действие с целью проникновения через корпус, но не через материал снаружи от корпуса.
Заряд для создания импульса может иметь полость во взрывчатом веществе с относительно большим радиусом или по существу плоскую полость.
Полость во взрывчатом веществе заряда для создания импульса может быть облицована материалом, имеющим низкую плотность, или не облицована.
Корпус может иметь участок с уменьшенной толщиной стенки, расположенный вблизи полости во взрывчатом веществе заряда для создания импульса.
Система может дополнительно содержать взрывчатый перфорационный заряд, предназначенный для проникновения через материал снаружи от корпуса. Перфорационный заряд может иметь полость во взрывчатом веществе, радиус которой меньше радиуса полости во взрывчатом веществе заряда для создания импульса.
Система может дополнительно содержать подводящий инструмент, предназначенный для выпуска текучей среды для обработки скважины.
Согласно другому варианту выполнения изобретения система обработки скважины для создания в скважине переходного режима превышения пластового давления над гидростатическим давлением содержит корпус, включающий уплотненную камеру для создания импульса, имеющую давление меньше, чем давление снаружи корпуса, заряд для создания импульса, расположенный внутри уплотненной камеры и предназначенный для приведения его в действие с целью проникновения через корпус, но не через материал снаружи корпуса, тонкостенный участок, образованный в корпусе вблизи полости во взрывчатом веществе заряда для создания импульса, перфорационный заряд со взрывчатым веществом, предназначенный для проникновения через материал снаружи корпуса.
В данной системе перфорационный заряд может иметь полость во взрывчатом веществе с радиусом, меньшим радиуса полости во взрывчатом веществе заряда для создания импульса.
Полость во взрывчатом веществе заряда для создания импульса может быть облицована или не облицована.
Система может дополнительно содержать подводящий инструмент, предназначенный для выпуска текучей среды для обработки скважины.
Согласно изобретению создан способ создания в скважине переходного режима превышения пластового давления над гидростатическим давлением, включающий стадии расположения в скважине корпуса, содержащего уплотненную камеру для создания импульса, имеющую давление, меньшее давления снаружи корпуса, и детонации заряда для создания импульса, расположенного в камере для создания импульса, для проникновения через корпус, чтобы таким образом обеспечить прохождение текучей среды между камерой для создания импульса и средой снаружи от корпуса.
В способе может предотвращаться проникновение заряда для создания импульса через формацию или другой материал снаружи корпуса.
В способе можно использовать заряд для создания импульса, имеющий по существу плоскую полость во взрывчатом веществе.
Согласно другому варианту осуществления способ создания в скважине переходного режима превышения пластового давления над гидростатическим давлением включает следующие стадии:
расположение в скважине вблизи обрабатываемой формации системы, содержащей корпус, имеющий уплотненную камеру для создания импульса, заряд для создания импульса, расположенный внутри уплотненной камеры для создания импульса и предназначенный для проникновения только через корпус, перфорационный заряд;
детонация заряда для создания импульса с целью проникновения через корпус, обеспечивая прохождение текучей среды между скважиной и камерой для создания импульса;
детонация перфорационного заряда для создания тоннеля в формации.
При осуществлении способа давление в уплотненной камере для создания импульса может быть меньше давления в скважине вблизи от корпуса.
Способ может дополнительно содержать стадию размещения химической обрабатывающей текучей среды в скважине перед детонацией перфорационного заряда.
Заряд для создания импульса может иметь полость во взрывчатом веществе с радиусом, превышающим радиус полости во взрывчатом веществе перфорационного заряда или по существу плоскую полость.
Согласно изобретению создан скважинный заряд взрывчатого вещества, предназначенный для проникновения через камеру для создания импульса без повреждения объектов снаружи от камеры и обеспечения скважине переходного режима превышения пластового давления над гидростатическим давлением и содержащий взрывчатое вещество, имеющее полость.
Полость заряда может иметь относительно большой радиус или быть по существу плоской. Полость заряда может быть покрыта облицовкой из материала с низкой плотностью.
Вышеуказанные отличительные признаки и аспекты настоящего изобретения можно будет лучше понять из приведенного далее подробного описания варианта осуществления изобретения со ссылками на прилагаемые чертежи, на которых:
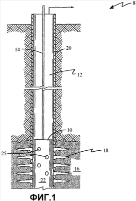
фиг.1 представляет вид системы для обработки скважины согласно настоящему изобретению;
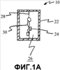
фиг.1А представляет вид в поперечном сечении инструмента для создания импульса согласно фиг.1;
фиг.2 представляет вид сверху в поперечном сечении инструмента для создания импульса;
фиг.3 представляет вид сверху в поперечном сечении другого варианта инструмента для создания импульса;
фиг.4 представляет вид другого варианта системы для обработки скважины согласно настоящему изобретению;
фиг.5 представляет блок-схему способа согласно варианту осуществления настоящего изобретения;
фиг.6-10 представляют графики изменения давления по времени согласно способу настоящего изобретения.
На чертежах представленные элементы необязательно изображены в масштабе, и сходные или подобные элементы на нескольких видах обозначены одинаковыми позиционными номерами.
Используемые здесь термины “вверх” и “вниз”, “верхний” и “нижний”, а также другие подобные термины, указывающие на относительные положения данной точки или элемента, применены для того, чтобы четко описать некоторые элементы вариантов осуществления изобретения. Обычно эти термины относятся к базовой точке, например к поверхности, с которой начинают бурильные операции, представляющей собой верхнюю точку, и к полной глубине скважины, представляющей собой самую нижнюю точку.
Созданы способ и устройство для обработки разрушений при перфорировании и удаления осколков из тоннелей, создаваемых при перфорировании формации скважины. Дополнительные способы и устройства приведены в заявке США 10/667011, озаглавленной “Улучшение сообщения с резервуаром посредством создания локального режима ниже равновесия и использования обрабатывающей текучей среды”, поданной на рассмотрение 19 сентября 2003 г., в патенте США 6732798 и в патенте США 6598682, каждый из которых введен сюда посредством ссылки на него.
Существует несколько потенциальных механизмов ухудшения продуктивности формации и ее приемистости вследствие разрушения при перфорировании. Один из них заключается в получении слоя песчаных зерен с низкой проницаемостью (зерен, которые получаются при дроблении посредством кумулятивного заряда) после перфорирования. Поскольку текучая среда, получаемая из формации, должна будет проходить через эту зону с низкой проницаемостью, будет иметь место падение давления, большее желаемого падения давления, что приводит к понижению добычи. Создание при перфорировании режима ниже равновесия представляет собой один из путей уменьшения разрушений этого типа. Однако во многих случаях режим ниже равновесия может привести только к частичному уменьшению разрушения. Второй основной вид разрушения может возникнуть из-за несвязанных осколков заряда и горной породы, образованных при перфорировании, которые заполняют перфорационные тоннели. Не все частицы могут быть удалены в скважину в течение перфорирования с созданием режима ниже равновесия, а это, в свою очередь, может привести к падению продуктивности и приемистости (например, в течение гравийной набивки, нагнетания и т.д.). Еще один тип разрушения возникает вследствие частичного вскрытия перфораций. Разнородное распределение зерен по размерам может вызвать закупоривание некоторых из таких перфораций (вследствие заполнения ими обсадной/цементной части перфорационного тоннеля), что может привести к потере продуктивности и приемистости.
Для предотвращения таких типов разрушения могут потребоваться две одновременно действующие силы, одна для того, чтобы устранить воздействие на частицы тех сил, которые удерживают их на месте, и другая для их перемещения. Полученные при дроблении песчаные зерна в стенках перфорационного тоннеля могут удерживаться на месте посредством цементации скальной породы, в то время как свободная скальная порода и свободные песчаные частицы, а также осколки заряда в тоннеле могут удерживаться на месте под действием слабых электростатических сил. Требуется достаточная скорость потока текучей среды для перемещения частиц к буровой скважине.
Согласно различным вариантам осуществления изобретения обеспечено сочетание определенных действий для усиления обработки разрушения и для удаления осколков: подача в тоннель обрабатывающей текучей среды; создание локального переходного режима низкого давления (локальный переходный режим ниже равновесия) в интервале буровой скважины.
Примеры подаваемых обрабатывающих текучих сред включают кислоту, хелант, растворитель, поверхностно-активное вещество, соляной рассол, масло и т. д. Подача обрабатывающих текучих сред приводит, по меньшей мере, к одному из следующих результатов: снятие поверхностного напряжения внутри перфорационного тоннеля; уменьшение вязкости в условиях тяжелой нефти; усиление перемещения осколков, например песка; очистка от остаточного поверхностного слоя в перфорационном тоннеле; интенсификация притока вблизи буровой скважины; динамическое ответвление кислоты таким образом, что количество кислоты, нагнетаемое в каждый перфорационный тоннель, фактически будет одним и тем же; растворение некоторых минералов. По существу применение обрабатывающих текучих сред приводит к изменению химического состава текучих сред в заданном интервале буровой скважины, чтобы решить, по меньшей мере, одну из вышеуказанных задач. Подачу обрабатывающих текучих сред к перфорационным тоннелям выполняют в режиме выше равновесия (давление в буровой скважине больше давления в формации). Подача обрабатывающих текучих сред может быть выполнена путем использования описанного ниже подводящего инструмента.
Последующий выброс текучей среды создает динамический режим превышения пластового давления над гидростатическим давлением в стволе скважины, при этом текучая среда будет проходить от формации к скважине. После создания указанного динамического режима в заданном интервале буровой скважины устанавливают какой-либо из таких режимов, как режим превышения пластового давления над гидростатическим давлением в скважине (режим ниже равновесия), режим превышения гидростатического давления в скважине над пластовым давлением (режим выше равновесия) или режим равенства указанных давлений (режим равновесия). Таким образом, согласно некоторым вариантам осуществления изобретения в заданном интервале буровой скважины создают последовательность некоторого сочетания режимов выше равновесия, ниже равновесия и равновесия, например, режимы выше равновесия – ниже равновесия – выше равновесия, режимы выше равновесия – ниже равновесия – ниже равновесия, режимы выше равновесия – ниже равновесия равновесия, режимы ниже равновесия – выше равновесия – ниже равновесия и так далее. Эта последовательность состояний с разным давлением происходит за короткий период времени, например за период, который примерно равен 10 секундам или менее.
Локальный переходный режим превышения пластового давления над гидростатическим давлением в скважине создают посредством использования камеры для создания импульса, содержащей текучую среду при относительно низком давлении. Например, камера для создания импульса представляет собой уплотненную камеру, содержащую газ или иную текучую среду под давлением, которое ниже давления окружающей среды скважины. В результате при открытии камеры для создания импульса мгновенный выброс текучей среды проходит в камеру с пониженным давлением для создания локального состояния низкого давления в зоне скважины, сообщающейся с камерой для создания импульса после открытия камеры. Кроме того, давление в скважине может быть уменьшено посредством использования камеры для создания импульса в качестве слива.
На фиг.1 представлен вид системы 8 для обработки скважины, выполненной согласно настоящему изобретению, содержащей инструмент 10 для создания импульса. Инструмент 10 проходит в скважину 12 на подающем средстве 14 (на проводе, по линии скольжения, по винтовой трубе, по другим трубчатым устройствам и т.д.). Совместно с инструментом 10 для создания импульса в скважину 12 может быть подано и другое оборудование, например стреляющие перфораторы, датчики, оборудование для манипулирования текучей средой, инструменты для применения химических веществ, но этим оно не ограничено. Инструмент 10 для создания импульса устанавливают вблизи от заданного интервала 16 формации. Как показано на фиг.1, формацию 16 и обсадную трубу 20 скважины перфорируют с получением при этом представленных тоннелей 18. Однако следует заметить, что необязательно наличие перфораций до приведения в действие инструмента 10 для создания импульса.
Инструмент 10 включает корпус 22, который уплотнен по отношению к окружающей среде скважины 12. Корпус 22 может представлять собой часть стреляющего перфоратора. Корпус 22 может представлять собой корпус для стреляющего перфоратора 42 (фиг.4). Кумулятивные заряды 24, называемые здесь “зарядами для создания импульса”, размещают внутри корпуса 22. Заряды для создания импульса представлены на фиг.1 в виде отверстий 25, проникающих через корпус 22, образуемых при детонации этих зарядов.
Далее инструмент 10 для создания импульса описан со ссылкой на фиг.1А, на которой представлен вид в поперечном сечении инструмента 10 согласно фиг.1. Корпус 22 образует камеру 26 для создания импульса, которая уплотнена по отношению к окружающей среде буровой скважины до тех пор, когда будет желательно создать изменение давления в скважине 12. Один или несколько зарядов 24 для создания импульса расположены внутри камеры 26 и могут быть перенесены посредством загрузочной трубы 28. Линия 30 для обеспечения детонации, например детонационный шнур либо электрическая или волоконно-оптическая линия, подсоединена к зарядам 24, создающим импульс. Такие заряды 24 представляют собой кумулятивные заряды, предназначенные для проникновения только через корпус 22, не проникая при этом через оборудование скважины, находящееся снаружи от корпуса 22, например через обсадную трубу, и не повреждая его. Заряды 24 для создания импульса отличаются от перфорационных кумулятивных зарядов, которые проникают через обсадную трубу и/или через окружающую формацию.
Внутреннее давление в камере 26 для создания импульса меньше ожидаемого давления в скважине 12 в том интервале формации 16, который подлежит обработке. Камера 26 может быть заполнена текучей средой, например азотом или воздухом, но ими текучая среда не ограничена. При детонации зарядов 24 для создания импульса происходит их проникновение через корпус 22, что приводит к раскрытию камеры 26 в скважину 12. Текучая среда проходит из скважины 12 в камеру 26, фактически мгновенно создавая режим ниже равновесия.
Когда текучая среда проходит из скважины 12 в камеру 26 для создания импульса, то если она холоднее газа внутри камеры 26 (что обычно имеет место), она за счет переноса тепла охлаждает газ внутри камеры 26, тем самым вызывая падение его давления, что дополнительно способствует движению непрерывного потока текучей среды из скважины 12 в камеру 26 для создания импульса. Такое падение давления, вызываемое охлаждением, усиливает описанный выше режим ниже равновесия.
Изменением давления в скважине можно управлять посредством ряда факторов, включая размер корпуса 22 и камеры 26 для создания импульса, начальное и относительное давление в буровой скважине и в камере для создания импульса, размер отверстий, полученных при проникновении через корпус 22, количество отверстий, проникающих через корпус 22, количество и тип взрывчатого вещества, используемого в зарядах 24, создающих импульс, а также форма и конструкция таких зарядов.
Заряды 24, создающие импульс, предназначены для проникновения только через корпус 22, но не для пробивания или иного повреждения элементов нисходящей скважины, таких как обсадная труба скважины, что отличает их от обычных перфорационных зарядов 46 (фиг.4). Обычные перфорационные заряды имеют глубокие вогнутые полости, обычно конические, параболические или полусферические полости во взрывчатом веществе, покрытые имеющими высокую плотность обычно металлическими облицовками. Заряды 24 для создания импульса согласно настоящему изобретению имеют неглубокую полость во взрывчатом веществе, которая может быть покрыта облицовкой с весьма низкой плотностью либо вообще может не иметь облицовки.
На фиг.2 представлен вид сверху в поперечном сечении инструмента 10 согласно изобретению, предназначенного для создания импульса. Фиг.2 представляет собой пример необлицовочного кумулятивного заряда 24 для создания импульса. Заряд 24 переносят посредством загрузочной трубы 28 и размещают внутри камеры 26 корпуса 22. Заряд 24 включает оболочку 24 и взрывчатое вещество 34. Взрывчатое вещество 34 образует полость 36. Заряд 24 может иметь полость 36 во взрывчатом веществе с относительно большим радиусом, то есть мелкую полость 36 по отношению к обычным перфорационным зарядам определенной формы.
На фиг.3 представлен заряд 24 для создания импульса, включающий облицовку 38. Облицовка 38 нанесена на полость 36 во взрывчатом веществе. Облицовка 38 может быть нанесена на полость любым приемлемым способом, например, посредством прижима, розлива, распыления или окрашивания. Облицовка 38 представляет собой облицовку, имеющую низкую плотность. Облицовка 38 может быть металлической облицовкой либо неметаллической, сконструированной из такого материала как пластик, соль и песок, но ее выполнение этими материалами не ограничено. Применение облицовки 38 при желании может обеспечить использование меньшего количества взрывчатого вещества 34.
Как показано на фиг.2 и 3, корпус 22 может дополнительно включать более тонкую стенку или обрезанный участок 40, образованный вблизи от полости 36 во взрывчатом веществе. Участок 40 с более тонкой стенкой может облегчить проникновение через корпус 22, когда происходит детонация заряда 24, а также позволяет уменьшить количество требуемого взрывчатого вещества 34.
На фиг.4 представлен вид варианта осуществления системы 8 для обработки скважины, созданной согласно настоящему изобретению. Система 8 включает стреляющий перфоратор 42 и/или подводящий инструмент 44 в сочетании с инструментом 10 для создания импульса, чтобы обеспечивать локальный переходный режим ниже равновесия.
Инструмент 10 для создания импульса подробно описан со ссылками на фиг.1-3. Заряды представлены на фиг.4 в виде проникающих отверстий 25, которые образуются в стенке корпуса 22, когда происходит детонация зарядов.
Стреляющий перфоратор 42 включает перфорационные заряды 46, которые приводят в действие для создания перфорационных тоннелей 18 в формации 16, окружающей интервал буровой скважины и обсадную трубу 20. Перфорационные заряды 46 обычно имеют полость во взрывчатом веществе, у которой малый радиус, то есть глубокую полость по отношению к зарядам 24 для создания импульса. Стреляющий перфоратор 42 может быть приведен в действие с помощью различных средств, например с помощью сигнала, передаваемого по электрическому проводу, по волоконно-оптической линии, по гидравлической управляющей линии, либо с помощью проводников другого типа.
Система 8 для обработки скважины может дополнительно включать подводящий инструмент 44 для подвода в скважину 12 обрабатывающей текучей среды (например, кислоты, хеланта, растворителя, поверхностно-активного вещества, соляного рассола, масла, фермента и т.д. или их сочетаний), которая, в свою очередь, проходит в перфорационные тоннели 18. Подаваемая обрабатывающая текучая среда может представлять собой связующую обрабатывающую текучую среду. Подводящий инструмент 44 может включать находящуюся под давлением камеру 63, содержащую обрабатывающую текучую среду. При открытии отверстия 50 текучая среда под давлением, находящаяся в камере 63, проходит в окружающий интервал скважины. Как вариант, подводящий инструмент 44 связан с трубопроводом для текучей среды, идущим к поверхности скважины. Обрабатывающую текучую среду подают вниз по трубопроводу к подводящему инструменту 44 и далее через отверстие 50, чтобы заполнить окружающий интервал скважины. Трубопровод для обрабатывающей текучей среды может проходить с помощью перемещающего средства 14. Как вариант, трубопровод может проходить наружу к перемещающему средству 14.
При выполнении операции, как показано на фиг.5 со ссылками при этом на фиг.1-4, систему 8 для обработки скважины опускают на стадии 60 к интервалу буровой скважины. После этого текучая среда (среды) может быть подана на стадии 62 посредством открытия отверстия 50 подводящего инструмента 44. В некоторых случаях подводом обрабатывающей текучей среды управляют посредством механизма 52, задающего время выпуска. Скорость подачи обрабатывающей текучей среды выбирают таким образом, чтобы добиться оптимальных характеристик. В других вариантах осуществления системы механизм 52, задающий время выпуска, может отсутствовать. После этого стреляющий перфоратор 42 приводят в действие на стадии 64 для воспламенения зарядов в нем, чтобы образовать тоннели 18, проходящие в окружающую формацию 16.
При приведении в действие стреляющего перфоратора 42 создают переходный режим выше равновесия. Период времени режима выше равновесия может быть относительно коротким (например, порядка миллисекунд). Режим выше равновесия приводит к нагнетанию на стадии 66 обрабатывающей текучей среды в перфорационные тоннели 18. Время подачи обрабатывающей текучей среды на стадии 62 может быть выбрано так, чтобы оно по существу было согласовано с приведением в действие стреляющего перфоратора на стадии 64, так чтобы обрабатывающую текучую среду можно было нагнетать в перфорационные тоннели 18 при наличии переходного режима выше равновесия.
Для обеспечения более продолжительного периода режима выше равновесия перемещаемый посредством трубы стреляющий перфоратор может быть применен таким образом, что текучую среду под давлением подают через трубу для создания в желаемом интервале режима выше равновесия. Режим выше равновесия порядка тысяч фунтов на квадратный дюйм (1 фунт на квадратный дюйм равен 0,07 кгс/см2) обычно может быть достигнут стреляющим перфоратором, перемещаемым посредством трубы.
В некоторых случаях, например в случае карбонатных резервуаров, может оказаться желательной подача в перфорационные тоннели 18 кислоты. Обычно разветвление кислоты происходит таким образом, что она течет в различные перфорационные тоннели 18 не в равной степени вследствие того, что кислота стремится течь по путям наименьшего сопротивления. Однако посредством синхронизации подачи фактически одновременно с переходным режимом выше равновесия, создаваемым посредством перфорирования, может быть обеспечено более равномерное распределение кислоты по перфорационным тоннелям 18. Более равномерное распределение кислоты в перфорационных тоннелях 18 достигается посредством подачи кислоты за относительно короткий период времени (например, порядка миллисекунд). Этот процесс называют динамическим разветвлением. Нагнетание кислоты в каждый перфорационный тоннель 18 обеспечивает стимуляцию вблизи от буровой скважины, которая действует таким образом, чтобы усилить последующую очистную операцию.
Инструмент 10 для создания импульса приводят в действие на стадии 68, чтобы обеспечить локальное переходное состояние ниже равновесия. Это приводит к прохождению потока текучей среды и осколков из перфорационных тоннелей 18 в скважину, так что может быть обеспечена очистка перфорационных тоннелей 18. Затем могут быть выполнены другие стадии 70, например разрыв пласта и/или гравийная набивка. До, во время и после выполнения дополнительных стадий 70 в интервале буровой скважины может быть установлен на стадии 72 любой из таких режимов, как режим выше равновесия, режим ниже равновесия или режим равновесия.
Как указано выше, последовательность режимов с разным давлением задают в интервале буровой скважины вблизи от формации, в которой образованы тоннели 18. Режимы давления включают в себя режимы выше равновесия, ниже равновесия и режим равновесия. В интервале буровой скважины может быть создана любая последовательность таких режимов. Обсужденные выше примеры относятся к первоначальному созданию режима выше равновесия, чтобы обеспечить возможность нагнетания обрабатывающих текучих сред в перфорационные тоннели, после чего следует переходный режим ниже равновесия для очистки перфорационных тоннелей. После переходного режима ниже равновесия в интервале буровой скважины задают другой режим давления. На графиках, представленных на фиг.6-10, показаны различные последовательности режимов давления, которые могут быть заданы в интервале буровой скважины.
На фиг.6 представлен график изменения давления в буровой скважине и давления в резервуаре по времени (от 0 до 0,5 секунды), начиная с приведения в действие на стадии 64 стреляющего перфоратора 42. Сначала в заданном интервале скважины будет создан режим выше равновесия (когда давление в скважине больше, чем давление в резервуаре). Затем будет создан динамический режим ниже равновесия, обозначенный позицией 500. Как показано в примере согласно фиг.6, динамический режим ниже равновесия протекает за период продолжительностью менее 0,1 секунды. Затем после динамического режима ниже равновесия в интервале скважины задают режим выше равновесия.
На фиг.7 представлена другая последовательность, при которой начальным режимом в интервале буровой скважины является режим выше равновесия, а после начального режима выше равновесия будет создан короткий переходный режим ниже равновесия, обозначенный позицией 502. Далее режим ниже равновесия сохраняется.
На фиг.8 представлена еще одна последовательность, при которой начальным режимом в интервале скважины является режим выше равновесия с созданным переходным понижением 506 давления, при котором давление в скважине уменьшается, но остается выше давления в резервуаре. После этого будет происходить дальнейшее понижение давления в скважине, так что в зоне графика, обозначенной позицией 508, оно уравновешивается по отношению к давлению в резервуаре. Затем в скважине устанавливают такое давление, чтобы обеспечить режим выше равновесия.
На фиг.9 представлен еще один график, согласно которому начальным режимом в скважине является режим выше равновесия, сопровождаемый понижением давления в буровой скважине, чтобы вначале создать переходный режим, при котором давление в скважине остается выше режима равновесия, как указано на фиг.9 позицией 510. Затем будет создан другой переходный режим, при котором происходит дальнейшее падение давления в буровой скважине, так что будет создан режим ниже равновесия, обозначенный позицией 512. После этого давление в скважине повышается, чтобы обеспечить режим выше равновесия, и, наконец, давление в скважине и давление в резервуаре уравновешиваются.
На фиг.10 представлен пример еще одной последовательности, при которой начальным режимом в интервале буровой скважины является режим ниже равновесия, обозначенный позицией 514, который сопровождается переходным режимом выше равновесия, обозначенный позицией 516. После переходного режима выше равновесия будет создан переходный режим ниже равновесия, обозначенный позицией 518. Далее интервал скважины удерживают в режиме ниже равновесия.
Графики, показанные на фиг.6-10, являются иллюстративными примерами того, как многие другие последовательности режимов давления могут быть установлены в интервале скважины при необходимости и по желанию оператора скважины.
Из приведенного выше подробного описания характерных вариантов осуществления изобретения должно быть понятно, что раскрытые система и способ для обработки скважины обладают новизной. Хотя характерные варианты осуществления изобретения раскрыты здесь с указанием некоторых подробностей, это сделано лишь с целью описания различных отличительных признаков и аспектов изобретения, а не для ограничения объема изобретения. Предполагается, что различные замены, переделки и/или модификации, включая варианты, которые могут быть предложены, но не ограничиваясь ими, могут быть выполнены в раскрытых вариантах изобретения без отклонения от его существа и объема, определенных прилагаемыми пунктами формулы изобретения.
Формула изобретения
1. Система обработки скважины для создания в скважине переходного режима превышения пластового давления над гидростатическим давлением в скважине, содержащая корпус, образующий уплотненную камеру для создания импульса, имеющую давление меньше, чем давление снаружи корпуса, заряд для создания импульса, расположенный внутри уплотненной камеры и предназначенный для его приведения в действие с целью проникновения через корпус, но не через материал снаружи от корпуса.
2. Система по п.1, в которой заряд для создания импульса содержит взрывчатое вещество, имеющее полость.
3. Система по п.2, в которой полость во взрывчатом веществе заряда для создания импульса облицована материалом, имеющим низкую плотность.
4. Система по п.1, в которой полость во взрывчатом веществе заряда для создания импульса не облицована.
5. Система по п.1, в которой корпус имеет участок с уменьшенной толщиной стенки, расположенный вблизи полости во взрывчатом веществе заряда для создания импульса.
6. Система по п.1, дополнительно содержащая взрывчатый перфорационный заряд, предназначенный для проникновения через материал снаружи от корпуса.
7. Система по п.6, в которой перфорационный заряд имеет полость во взрывчатом веществе, радиус которой меньше радиуса полости во взрывчатом веществе заряда для создания импульса.
8. Система по п.7, дополнительно содержащая подводящий инструмент, предназначенный для выпуска текучей среды для обработки скважины.
9. Система обработки скважины для создания в скважине переходного режима превышения пластового давления над гидростатическим давлением в скважине, содержащая корпус, включающий уплотненную камеру для создания импульса, имеющую давление меньше, чем давление снаружи корпуса, заряд для создания импульса, расположенный внутри уплотненной камеры и предназначенный для приведения его в действие с целью проникновения через корпус, но не через материал снаружи корпуса, тонкостенный участок, образованный в корпусе вблизи полости во взрывчатом веществе заряда для создания импульса, перфорационный заряд со взрывчатым веществом, предназначенный для проникновения через материал снаружи корпуса.
10. Система по п.9, в которой перфорационный заряд имеет полость во взрывчатом веществе с радиусом, меньшим радиуса полости во взрывчатом веществе заряда для создания импульса.
11. Система по п.9, в которой полость во взрывчатом веществе заряда для создания импульса облицована.
12. Система по п.9 или 10, в которой полость во взрывчатом веществе заряда для создания импульса не облицована.
13. Система по одному из пп.9, 10, 12, дополнительно содержащая подводящий инструмент, предназначенный для выпуска текучей среды для обработки скважины.
14. Способ создания в скважине переходного режима превышения пластового давления над гидростатическим давлением, включающий стадии расположения в скважине корпуса, содержащего уплотненную камеру для создания импульса, имеющую давление, меньшее давления снаружи корпуса, и детонации заряда для создания импульса, расположенного в камере для создания импульса, для проникновения через корпус, чтобы таким образом обеспечить прохождение текучей среды между камерой для создания импульса и средой с наружи от корпуса.
15. Способ по п.14, в котором предотвращается проникновение заряда для создания импульса через формацию или другой материал снаружи корпуса.
16. Способ создания в скважине переходного режима превышения пластового давления над гидростатическим давлением включающий следующие стадии: расположение в скважине вблизи обрабатываемой формации системы, содержащей корпус, имеющий уплотненную камеру для создания импульса, заряд для создания импульса, расположенный внутри уплотненной камеры для создания импульса и предназначенный для проникновения только через корпус, перфорационный заряд; детонацию заряда для создания импульса с целью проникновения через корпус, обеспечивая прохождение текучей среды между скважиной и камерой для создания импульса; детонацию перфорационного заряда для создания тоннеля в формации.
17. Способ по п.16, в котором давление в уплотненной камере для создания импульса меньше давления в скважине вблизи от корпуса.
18. Способ по п.16 или 17, дополнительно содержащий стадию размещения химической обрабатывающей текучей среды в скважине перед детонацией перфорационного заряда.
19. Способ по п.16, в котором заряд для создания импульса имеет полость во взрывчатом веществе с радиусом, превышающим радиус полости во взрывчатом веществе перфорационного заряда.
20. Скважинный заряд взрывчатого вещества, предназначенный для проникновения через камеру для создания импульса без повреждения объектов снаружи от камеры и обеспечения скважине переходного режима превышения пластового давления над гидростатическим давлением и содержащий взрывчатое вещество, имеющее полость.
21. Заряд по п.20, в котором полость заряда покрыта облицовкой из материала с низкой плотностью. Приоритет по пунктам:
06.10.2003 по пп.1-21.
РИСУНКИ
|
|