|
|
(21), (22) Заявка: 2007118485/03, 17.05.2007
(24) Дата начала отсчета срока действия патента:
17.05.2007
(43) Дата публикации заявки: 27.11.2008
(46) Опубликовано: 20.05.2009
(56) Список документов, цитированных в отчете о поиске:
RU 2003103709 А, 08.10.2004. RU 2147065 С1, 27.03.2000. RU 2049227 C1, 27.11.1995. RU 59132 U1, 10.12.2006. US 4860827 A, 29.08.1989.
Адрес для переписки:
681024, Хабаровский край, г. Комсомольск-на-Амуре, пр-кт Первостроителей, 22/2, кв.205, А.С.Сердечному
|
(72) Автор(ы):
Сердечный Александр Семенович (RU), Сердечный Алексей Александрович (RU)
(73) Патентообладатель(и):
Сердечный Александр Семенович (RU), Сердечный Алексей Александрович (RU)
|
(54) УСТРОЙСТВО ДЛЯ ОЖИВЛЕНИЯ НЕФТЯНЫХ СКВАЖИН
(57) Реферат:
Изобретение относится к нефтяной и газовой промышленности и предназначено для очистки от парафина стенок скважины. Устройство содержит парогенератор, штанги, форсунку, клапан, расположенные на поверхности земли, заключенные в оболочку парогенераторы, в количестве не менее двух, соединенные между собой трубами и выполненные в виде наружных труб, в полостях которых установлены внутренние трубы. Внутренние трубы установлены с опорой с левой и правой сторон на заглушки наружных труб, в которых установлены керамические катушки с проводами накаливания, соединенными со вторичными обмотками трансформаторов, первичные обмотки которых соединены с проводами электрической сети, и расположенными с торцов внутренних труб на поверхности оболочки. Форсунка, выполненная в одной из заглушек каждого парогенератора, соединена через трубопровод с насосом, развивающим давление 30-50 МПа. Насос посредством вентиля соединен с цистерной с водой или водопроводной сетью. Центральный парогенератор соединен со штангами, обмотанными слоем теплозащитного материала в виде стекловаты и стальной ленты. С нижней стороны штанг выполнены форсунки с клапанами, расположенными по всей высоте нефтяного слоя. С торца нижней штанги установлена заглушка. Повышается производительность устройства. 1 ил.
Изобретение относится к области нефтяной промышленности.
Известно устройство для оживления нефтяных скважин, которое содержит следующие общие с заявленным устройством существенные признаки: парогенератор, штанги, форсунку и клапан (см. патент РФ 2147065, Е21В 37/08, опубл. 27.03.2000 г. Бюл. 9).
Недостатком известного устройства для оживления нефтяных скважин является то, что один парогенератор, расположенный на поверхности земли, не обеспечивает нормальную работу устройства при выполнении на штангах большого количества форсунок, что снижает его производительность.
Техническим результатом является повышение производительности устройства при очистке каналов от затвердевшего парафина и вязких веществ по всей высоте нефтяного слоя.
Устройство для оживления нефтяных скважин, содержащее парогенератор, штанги, форсунку и клапан, отличается тем, что оно снабжено расположенными на поверхности земли и заключенными в оболочку дополнительными парогенераторами в количестве не менее двух, соединенными между собой трубами и выполненными в виде наружных труб, в полостях которых установлены внутренние трубы с опорой с левой и правой сторон на заглушки наружных труб, в которых установлены керамические катушки с проводами накаливания, соединенными со вторичными обмотками трансформаторов, первичные обмотки которых соединены с проводами электрической сети, и расположенными с торцов внутренних труб на поверхности оболочки, при этом в одной из заглушек каждого парогенератора установлена форсунка, которая соединена через трубопровод с насосом, развивающим давление 30-50 МПа, который посредством вентиля соединен с цистерной с водой или водопроводной сетью, причем центральный парогенератор соединен со штангами, обмотанными слоем теплозащитного материала в виде стекловаты и стальной ленты, с нижней стороны штанг выполнены форсунки с клапанами для подачи пара, расположенными по всей высоте нефтяного слоя, а с торца нижней штанги установлена заглушка.
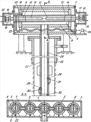
На чертеже показан общий вид устройства для оживления нефтяных скважин.
Устройство для оживления нефтяных скважин снабжено расположенными на поверхности земли и заключенными в оболочку 1 дополнительными парогенераторами 2, 3, 4, 5, 6 в количестве не менее двух, соединенными между собой трубами 7 и выполненными в виде наружных труб 8, в полостях которых установлены керамические катушки 12, 13 с проводами накаливания 14, 15, соединенными со вторичными обмотками 16, 17 трансформаторов 18, 19, первичные обмотки 20, 21 которых соединены с проводами электрической сети, и расположенными с торцов внутренних труб на поверхности оболочки 1, при этом в одной из заглушек каждого парогенератора установлена форсунка 22, которая соединена через трубопровод 23 с насосом 24, развивающим давление 30-50 МПа, который посредством вентиля соединен с цистерной с водой или водопроводной сетью (на чертеже вентиль, цистерна с водой не показаны), причем центральный парогенератор 4 соединен со штангами 25, обмотанными слоем теплозащитного материала 26 в виде стекловаты и стальной ленты 27, с нижней стороны штанг выполнены форсунки 28, 29 с клапанами 30, 31 для подачи пара, расположенные по всей высоте нефтяного слоя, а с торца нижней штанги 24 установлена заглушка 32.
Устройство для оживления нефтяных скважин работает следующим образом.
От электрической сети или от двигателя-генератора по проводам 10 электрический ток подается в первичные 20, 21 и вторичные 16, 17 обмотки трансформаторов 18, 19 и провода накаливания 14, 15, разогревая внутренние трубы 9 и наружные трубы 8 до температуры 700-1200°С.
Вентиль, расположенный в верхней части штанги, открыт (на чертеже вентиль не показан). Открывается вентиль для подачи воды из цистерны (на чертеже вентиль и цистерна с водой не показаны) или подачи воды из водопроводной сети и включается электродвигатель и насос 24. Вода из цистерны или водопроводной сети насосом подается по трубопроводу 23 и форсункам 22 в парогенераторы 2, 3, 4, 5, 6, распыленная, нагретая до состояния пара вода, соприкасаясь со стенками внутренних труб 9 и наружных труб 8, разогретых до температуры 700-1200°С, превращается в перегретый пар. Из парогенераторов 2, 3, 4, 5, 6, расположенных на поверхности земли, нагретая до температуры 300-550°С вода в виде пара подается под давлением в канал штанг 25. Под давлением пара 30-50 МПа клапана 30,31 выпадают из форсунок 28,29 и пар с температурой 300-550°С очищает каналы нефтяного слоя от парафина и вязких веществ. Подача пара из парогенератора прекращается после полной очистки засоренных каналов нефтяного слоя.
Использование стекловаты позволяет уменьшить теплоотдачу энергии пара в окружающую среду и образование конденсата внутри штанг при работе парогенераторов, расположенных на поверхности земли, с рабочей температурой пара 500-550°С и давлением 30-50 МПа, а следовательно, можно использовать одни только штанги с теплозащитным материалом, в которых выполнены форсунки, т.е. без применения парогенератора, расположенного в нефтяном слое.
Использование трансформаторов позволяет увеличить срок работы проводов накаливания.
Формула изобретения
Устройство для оживления нефтяных скважин, содержащее парогенератор, штанги, форсунку и клапан, отличающееся тем, что оно снабжено расположенными на поверхности земли и заключенными в оболочку парогенераторами в количестве не менее двух, соединенными между собой трубами и выполненными в виде наружных труб, в полостях которых установлены внутренние трубы с опорой с левой и правой сторон на заглушки наружных труб, в которых установлены керамические катушки с проводами накаливания, соединенными со вторичными обмотками трансформаторов, первичные обмотки которых соединены с проводами электрической сети, и расположенными с торцов внутренних труб на поверхности оболочки, при этом в одной из заглушек каждого парогенератора установлена форсунка, которая соединена через трубопровод с насосом, развивающим давление 30-50 МПа, который посредством вентиля соединен с цистерной с водой или водопроводной сетью, причем центральный парогенератор соединен со штангами, обмотанными слоем теплозащитного материала в виде стекловаты и стальной ленты, с нижней стороны штанг выполнены форсунки с клапанами для подачи пара, расположенными по всей высоте нефтяного слоя, а с торца нижней штанги установлена заглушка.
РИСУНКИ
|
|