|
|
(21), (22) Заявка: 2007116495/03, 02.05.2007
(24) Дата начала отсчета срока действия патента:
02.05.2007
(43) Дата публикации заявки: 20.11.2008
(46) Опубликовано: 20.05.2009
(56) Список документов, цитированных в отчете о поиске:
RU 57337 U1, 10.10.2006. SU 859594 A1, 30.08.1981. RU 2204685 C2, 20.05.2003. RU 2108439 C1, 10.04.1998. RU 50585 U1, 20.01.2006. GB 2044320 A, 15.10.1980. US 4483395 A, 20.11.1984. US 4603737 A, 05.08.1986.
Адрес для переписки:
614070, г.Пермь, б-р Гагарина, 26, кв.42, Л.И. Локшину
|
(72) Автор(ы):
Локшин Лев Иосифович (RU), Локшин Роман Львович (RU), Колесов Алексей Владимирович (RU), Турова Людмила Львовна (RU)
(73) Патентообладатель(и):
Общество с ограниченной ответственностью “Респект” (RU)
|
(54) УСТРОЙСТВО ЗАЩИТЫ СИЛОВОГО КАБЕЛЯ В СКВАЖИНЕ
(57) Реферат:
Изобретение относится к нефтегазодобывающей отрасли, а именно к устройствам для защиты кабеля, спускаемого на насосно-компрессорных трубах в скважину. Техническим результатом является расширение функциональных возможностей и повышение надежности защиты кабеля при спуске в скважину. Устройство защиты силового кабеля в скважине содержит расположенные на насосно-компрессорных трубах корпус и элементы крепления корпуса. Корпус выполнен из соосно расположенных на расстоянии, равном длине муфты, втулки и скобы, жестко связанных между собой двумя параллельными направляющими пластинами со скосами на торцах. На поверхности втулки выполнены, по меньшей мере, две дополнительные пластины в виде ребер со скосами на торцах, имеющих длину на внешних гранях, превышающую ширину паза между торцами смежных труб эксплуатационной колонны. При этом два дополнительных ребра на поверхности втулки выполнены центрирующими под аксиальными углами плюс-минус 120 градусов к осевой линии первого кабельного канала. Два дополнительных ребра могут быть выполнены параллельно между собой, образуя второй канал для проводки второго кабеля в скважину. Причем ширина и глубина образуемого канала превышают ширину и толщину второго кабеля, если он плоской формы, и диаметр кабеля, если он круглый. Кроме того, устройство также может содержать одновременно два дополнительных центрирующих ребра и два дополнительных каналообразующих ребра на втулке. 4 ил.
Изобретение относится к нефтегазодобывающей отрасли и может быть использовано для защиты одного кабеля или двух кабелей, или кабеля и капиллярной трубки, одновременно спускаемых в скважину, от механических повреждений в процессе спускоподъемных операций (СПО) насосно-компрессорных труб (НКТ), а также для снижения путевого охлаждения добываемой жидкости в процессе эксплуатации скважины.
Известны устройства защиты силового кабеля в скважине, выпускаемые как в Российской Федерации, так и за рубежом (1), (2).
Недостатками известных устройств защиты силового кабеля в скважине от механических повреждений являются сложность конструкции, невозможность безопасного спуска в скважину дополнительного, например, исследовательского кабеля, трудоемкость монтажа, ненадежность в процессе эксплуатации и обусловленные этим высокие капитальные затраты по ремонту скважин.
В качестве аналога предлагаемого устройства может быть принято устройство защиты силового кабеля в скважине (1), содержащее корпус, выполненный в виде втулки, и элементы его крепления, расположенные на муфте НКТ, при этом на наружной поверхности корпуса выполнены пазы (каналы) для укладки силового кабеля. Однако данному устройству присущи недостатки: сложность и ненадежность конструкции, особенно при низких температурах в зимний период и при высоких температурах в глубоких скважинах, невозможность безопасного спуска в скважину дополнительного кабеля или трубки, а также повышенная трудоемкость монтажа, обусловленная сборкой устройства на муфте из двух составных частей. Кроме того, не исключена опасность аварий, связанных с попаданием в скважину составных частей устройства при проведении монтажа и раскреплением устройства в скважине при работе.
Наиболее близким к предлагаемому устройству по технической сущности (прототипом) является устройство защиты силового кабеля в скважине (2), содержащее корпус, выполненный в виде втулки, на наружной поверхности которой выполнены каналы для укладки силового кабеля, и элементы крепления корпуса, расположенные на муфте подвески НКТ, при этом корпус устройства выполнен из соосно расположенных и жестко связанных между собой втулки и скобы, внутренний диаметр которых равен внутреннему диаметру НКТ, а расстояние между которыми равно длине муфты, при этом жесткая связь втулки и скобы выполнена не менее чем двумя параллельными направляющими пластинами со скосами на торцах, образующими вдоль поверхности муфты каналы для проводки силового кабеля.
Данное устройство повышает надежность при спуске в скважину силового кабеля, однако не обеспечивает возможность безопасного спуска в скважину дополнительного кабеля, например геофизического для глубинных исследований, также не обеспечивается центровка колонны НКТ как при СПО, так и при стационарном расположении НКТ в скважине, что обуславливает повышенный контактный износ НКТ, кроме того, происходит интенсивное путевое охлаждение добываемой жидкости через контактные поверхности колонны НКТ и эксплутационной колонны со всеми вытекающими последствиями, например выпадением АСПО на внутренних стенках НКТ, снижением межочистного периода (МОП), повышением затрат на ремонт скважин.
Настоящее изобретение решает задачу создания устройства защиты силового кабеля в скважине, обеспечивающего возможность одновременного безопасного спуска в скважину дополнительного кабеля или трубки, а также возможность центровки НКТ в эксплутационной колонне для снижения контактного износа НКТ при СПО и снижения путевого охлаждения добываемой жидкости через контактные поверхности НКТ и эксплутационной колонны.
Указанный технический результат достигается тем, что в известном устройстве защиты силового кабеля в скважине, содержащем корпус и элементы крепления корпуса, расположенные на муфте подвески НКТ, выполненный из соосно расположенных и жестко связанных между собой втулки и скобы, внутренний диаметр которых равен внутреннему диаметру НКТ, а расстояние между которыми равно длине муфты, при этом жесткая связь втулки и скобы выполнена не менее, чем двумя параллельными направляющими пластинами со скосами на торцах, образующими вдоль поверхности муфты каналы для проводки силового кабеля, новым является то, что на поверхности втулки выполнены не менее двух дополнительных параллельных пластин (ребер) со скосами на торцах, имеющих длину на меньших гранях, превышающую ширину уступов между торцами смежных труб эксплутационной колонны, соединяемых муфтами. При этом диаметр окружности, проведенной через внешние грани пластин (ребер), выполненных на втулке, выбирается обеспечивающим возможность свободного прохода устройства в эксплутационную колонну при спуске НКТ, а два дополнительных ребра на поверхности втулки выполнены центрирующими под аксиальными углами плюс-минус 120 градусов к осевой линии первого кабельного канала или два дополнительных ребра на поверхности втулки, противоположной первому кабельному каналу, выполнены каналообразующими для создания второго кабельного канала и проводки второго кабеля в скважину, при этом ширина и глубина образуемого канала превышают соответственно ширину и толщину второго кабеля, если он плоской формы, или диаметр кабеля, если он круглый, или на поверхности втулки одновременно выполнены два дополнительных центрирующих ребра и два дополнительных каналообразующих ребра для создания второго кабельного канала и проводки второго кабеля в скважину.
Устройство устанавливается на муфте НКТ и содержит корпус и элементы крепления корпуса, расположенные на муфте подвески НКТ, выполненный из соосно расположенных и жестко связанных между собой втулки и скобы, внутренний диаметр которых равен внутреннему диаметру НКТ, а расстояние между которыми равно длине муфты. При этом жесткая связь втулки и скобы выполнена не менее чем двумя параллельными направляющими пластинами со скосами на торцах, образующими вдоль поверхности муфты каналы для проводки кабеля. На поверхности втулки выполнены не менее двух дополнительных параллельных пластин (ребер) со скосами на торцах, имеющих длину на меньших гранях, превышающую ширину уступов между торцами смежных труб эксплутационной колонны, соединяемых муфтами. При этом два ребра выполнены центрирующими под аксиальными углами плюс-минус 120 градусов к осевой линии первого кабельного канала и (или) два ребра на поверхности втулки, противоположной первому кабельному каналу, установлены для образования дополнительного кабельного канала, ширина и высота которого превышает соответственно ширину и толщину второго защищаемого кабеля.
Конструктивное выполнение устройства защиты силового кабеля обеспечивает повышение надежности защиты силового кабеля при СПО в скважинах на различные глубины, при этом также обеспечивается возможность одновременного безопасного спуска в скважину дополнительного кабеля или трубки. Кроме того, уменьшается контактный износ НКТ в процессе СПО и одновременно снижается путевое охлаждение добываемой жидкости, что обеспечивает повышение межочистного периода (МОП) и межремонтного периода (МРП) при эксплуатации скважин.
Благодаря тому, что на поверхности втулки выполнены не менее двух дополнительных параллельных пластин (ребер) со скосами на торцах и имеющих длину на меньших гранях, превышающую ширину уступов между торцами смежных труб эксплутационной колонны, соединяемых муфтами, при этом два ребра выполнены центрирующими под аксиальными углами 120° по и против часовой стрелки к осевой линии первого кабельного канала и (или) два ребра на поверхности втулки, противоположной первому кабельному каналу, выполнены каналообразующими для образования дополнительного кабельного канала, ширина и высота которого превышает соответственно ширину и толщину второго защищаемого кабеля, повышается надежность защиты при спуске в скважину одного кабеля, обеспечивается возможность одновременного безопасного спуска в скважину двух кабелей, дополнительно создается благоприятный режим по снижению путевого охлаждения добываемой жидкости.
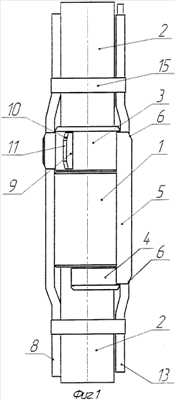
Сущность изобретения поясняется фигурами 1, 2, 3, 4. На фиг.1 представлено устройство защиты кабеля в сборе с НКТ, на фиг.2 – сечение устройства защиты кабеля в скважине при дополнительных центрирующих ребрах, на фиг.3 – сечение устройства защиты кабеля в скважине при дополнительных каналообразующих ребрах, на фиг.4 – сечение устройства защиты кабеля в скважине при дополнительных центрирующих ребрах и дополнительных каналообразующих ребрах одновременно.
Устройство защиты кабеля в скважине (фиг.1, 2, 3, 4) содержит корпус, установленный на муфте 1, соединяющий НКТ 2, состоящий из соосно расположенных и жестко соединенных между собой втулки 3 и скобы 4 не менее чем двумя параллельными направляющими пластинами 5 со скосами 6 на торцах, образующими канал 7 для проводки силового кабеля 8. На поверхности втулки выполнены не менее двух дополнительных параллельных пластин (ребер) 9 со скосами на торцах 10, имеющих длину на меньших гранях 11, превышающую ширину уступов между торцами смежных труб эксплутационной колонны, соединяемых муфтами. В первом варианте устройства (фиг.2) два ребра 9 выполнены центрирующими симметрично под аксиальными углами 120° по и против часовой стрелки к осевой линии первого кабельного канала, во втором варианте устройства (фиг.3) два ребра 12 на поверхности втулки, противоположной первому кабельному каналу 7, установлены для образования дополнительного кабельного канала 14, ширина и высота которого превышает соответственно ширину и толщину второго защищаемого кабеля 13, в третьем варианте устройства (фиг.4) центрирующие ребра 9 и каналообразующие ребра 12 выполнены одновременно.
В статическом положении элементы устройства защиты силового кабеля в скважине взаимодействуют следующим образом: для установки устройства на колонну НКТ скоба 4 заводится на тело НКТ 2 под нижний торец муфты 1 колонны НКТ, при этом втулка 3 устройства устанавливается на верхний торец муфты 1. Ниппельный резьбовой конец последующей НКТ 2 ввинчивается через осевой канал втулки 3 в муфту 1 нижней НКТ 2.
Над устьем скважины после свинчивания НКТ 2 силовой кабель 8 прокладывается в канале 7, дополнительный кабель 13, при его наличии, в канале 14 устройства защиты силового кабеля и стягивается с НКТ 2 на входе в канал 7 и на выходе из канала 7 элементами крепления 15, в качестве которых можно использовать «хомут» (гибкий металлический ремень), который применяется в настоящее время для крепления силового кабеля к НКТ. Подвеска НКТ с одним или двумя кабелями и устройствами их защиты спускается в скважину на глубину, определяемую свинчиванием очередной насосно-компрессорной трубы над устьем скважины. При спуске силовой кабель и дополнительный кабель, при его наличии, защищены от контакта со стенками и стыками эксплутационной колонны и, следовательно, защищены от механических повреждений.
Во время работы колонны НКТ и во время СПО исключено перемещение устройства вдоль оси НКТ поскольку муфта 1 препятствует этому перемещению. Таким образом, уложенные в каналах 7 и 14 между направляющими пластинами (ребрами) 5 и 12 устройства и закрепленные на НКТ 2 хомутами 15 силовой кабель 8 и дополнительный кабель 13 не испытывают со стороны устройства и со стороны эксплутационной колонны никаких нагрузок и не подвергаются деформации. Ребра 5 и 12, образующие каналы 7 и 14, совместно с центрирующими ребрами 9 надежно центрируют колонну НКТ 2 в эксплутационной колонне, исключая поверхностный контакт между подъемными НКТ 2 и эксплутационной колонной. При этом, кроме надежной защиты силового и дополнительного кабелей, надежно защищаются НКТ от механических повреждений, а также снижается путевое охлаждение добываемой жидкости вследствие исключения поверхностного контакта между колонной НКТ и эксплутационной колонной.
Технико-экономическая эффективность заключается в сокращении расходов при добыче нефти за счет снижения количества повторных ремонтов насосных скважин, увеличения рабочего ресурса кабельных линий и НКТ, увеличения МОП и МРП скважин.
Промысловые испытания устройств защиты силового кабеля, проведенные на скважине 414 Баклановского месторождения ООО «Лукойл-Пермь», показали, что заявляемые устройства обеспечивают надежную защиту кабеля и труб в скважине со сложным пространственным профилем. Кроме того, замеры температур добываемой жидкости в скважине до и после установки устройств показали их рост после установки заявляемых устройств.
Устройство имеет простую и надежную в эксплуатации конструкцию, обеспечивающую надежную защиту как силового, так и дополнительного кабеля при СПО, вследствие наличия гарантированного зазора между поверхностями кабелей и эксплутационной колонной скважины. Одновременно уменьшается трудоемкость монтажных работ и устраняется опасность аварий, связанных с попаданием в скважину составных частей устройства при проведении монтажа и раскреплением устройств в скважине при работе. Значительно уменьшается путевое охлаждение добываемой жидкости, что имеет значение в скважинах с низким МОП. Таким образом, предложенное устройство защиты кабеля в скважине обеспечивает существенное повышение эффективности работы скважин, так как увеличивает рабочий ресурс кабелей, снижает затраты на их амортизацию и количество текущих ремонтов скважин, кроме того, снижается путевое охлаждение добываемой жидкости, что обеспечивает уменьшение скорости отложений гидратов и парафина на стенках НКТ и дополнительно увеличивает МОП и МРП скважин.
Источники информации
1. Патент RU 2204685, Е21В 17/10, 2000 г.
2. Патент RU на ПМ 57337, Е21В 17/10, 2006 г.
Формула изобретения
Устройство защиты силового кабеля в скважине, содержащее расположенные на насосно-компрессорных трубах корпус и элементы крепления корпуса, который выполнен из соосно расположенных на расстоянии, равном длине муфты, втулки и скобы, жестко связанных между собой двумя параллельными направляющими пластинами со скосами на торцах, образующими вдоль поверхности муфты канал для проводки силового кабеля, отличающееся тем, что на поверхности втулки выполнены, по меньшей мере, две дополнительные пластины в виде ребер со скосами на торцах, имеющих длину на внешних гранях, превышающую ширину паза между торцами смежных труб эксплуатационной колонны, соединяемых муфтами эксплуатационной колонны, при этом диаметр окружности, проведенной через внешние грани ребер, обеспечивает возможность свободного прохода устройства в эксплутационную колонну при спуске насосно-компрессорных труб, причем два дополнительных ребра на поверхности втулки выполнены центрирующими под аксиальными углами плюс-минус 120° к осевой линии первого кабельного канала или два дополнительных ребра выполнены параллельно между собой, расположены противоположно первому кабельному каналу, образуя второй канал для проводки второго кабеля в скважину, при этом ширина и глубина образуемого канала превышают ширину и толщину второго кабеля, если он плоской формы, и диаметр кабеля, если он круглый, или два дополнительных центрирующих ребра и два дополнительных каналообразующих ребра на втулке выполнены одновременно.
РИСУНКИ
|
|