|
|
(21), (22) Заявка: 2007127096/03, 16.07.2007
(24) Дата начала отсчета срока действия патента:
16.07.2007
(46) Опубликовано: 20.05.2009
(56) Список документов, цитированных в отчете о поиске:
RU 2148695 C1, 10.05.2000. RU 2069732 С1, 27.11.1996. RU 2231609 C1, 27.04.2002. RU 2278239 C1, 20.06.2006. US 5431220 А1, 11.07.1995. US 5826651 A1, 27.10.1998. US 5878818 А1, 09.04.1999.
Адрес для переписки:
614016, г.Пермь, ул. Краснофлотская, 15, ОАО “КамНИИКИГС”, отдел НТИ и патентной работы
|
(72) Автор(ы):
Азанов Евгений Алексеевич (RU), Каплун Вячеслав Алексеевич (RU), Фуфаев Юрий Демъянович (RU)
(73) Патентообладатель(и):
Открытое Акционерное Общество Камский научно-исследовательский институт комплексных исследований глубоких и сверхглубоких скважин (ОАО “КамНИИКИГС”) (RU)
|
(54) ОТКЛОНЯЮЩЕЕ УСТРОЙСТВО
(57) Реферат:
Изобретение относится к нефтегазодобывающей промышленности и может быть использовано в буровой технике, в частности в устройствах, предназначенных для прорезания «окон» в обсадных колоннах из вертикальных, наклонно направленных и горизонтальных скважин. Содержит клин-отклонитель, распорную часть и соединенную с ней срезной шпилькой опору, в которой размещена плашка, имеющая паз, соответствующий выступу на распорной части. На отклоняющей части клина-отклонителя установлен кронштейн, на котором закреплен оснащенный выдвижным фиксатором двухсекционный фрезер, верхняя секция которого имеет армированный торец для фрезерования кронштейна. Позволяет создавать более высокие осевые нагрузки при закреплении отклоняющего устройства, а также обеспечивает его переустановку или извлечение в случае преждевременного заклинивания в незапланированном месте. 4 ил.
Изобретение относится к буровой технике, в частности к отклоняющим устройствам, предназначенным для прорезания “окон” в обсадных колоннах из вертикальных, наклонно направленных и горизонтальных скважин для забуривания дополнительных стволов.
Известна компоновка для вырезания “окна” в эксплуатационной колонне, включающая стартовый фрезер и клин-отклонитель, жестко связанные между собой устройством для крепления, выполненным в виде размыкателя, размещенного в отверстиях стартового фрезера и направляющего стопора желоба клина-отклонителя, содержащего якорь с толкателем, расположенным внутри корпуса якоря клина-отклонителя и имеющим конусные поверхности для взаимодействия с выдвижными плашками, при этом шток толкателя выполнен с возможностью упора о забой (патент 2180388 РФ, МПК7 Е21В 7/08, опубл. 2002.03.10).
Недостатком конструкции является то, что при спуске компоновки для вырезания “окна” в скважину может произойти ее преждевременное заклинивание из-за неровностей обсадной колонны на стыках с различными внутренними диаметрами или наличия сужений за счет парафиновых или гидратных пробок со срезанием размыкателя или срабатывание самого размыкателя за счет перепада давления, создающегося при движении инструмента вниз, поэтому извлечь ее на поверхность будет возможно только при выполнении аварийных ловильных работ. Выдвижные плашки не обеспечивают надежное крепление от проворота компоновки для вырезания “окна” в скважине из-за своих малых опорных и габаритных размеров. Указанные недостатки особенно могут проявиться при спуске и креплении компоновки в обсадных колоннах наклонно направленных и горизонтальных участков скважин.
Известно отклоняющее устройство, включающее отклоняющий и спускной клинья, соединенные между собой болтами, пробку из пластичного материала, плашкодержатель с плашкой и срезные винты (патент 2069732 РФ, МПК6 Е21 В 7/08, опубл. 1996.11.27).
Недостатком данного отклоняющего устройства является то, что при спуске в скважину из-за неровностей обсадной колонны на стыках с различными внутренними диаметрами или наличия сужений за счет парафиновых или гидратных пробок может произойти его преждевременное заклинивание со срезанием винтов, крепящих в плашкодержателе нижнюю часть клина, срезание болтов, соединяющих спускной клин с отклоняющим клином, а также болтов, крепящих пробку с отклоняющим клином, поэтому извлечь его на поверхность будет возможно только после проведения сложных аварийных работ. Наличие разбуриваемой пробки, изготовленной из пластичного материала, на отклоняющей части клина не позволяет надежно закрепить устройство в скважине.
Наиболее близким к изобретению по технической сущности и достигаемому результату является отклоняющее устройство, включающее опору, клин-отклонитель, на верхней части которого имеется выступ с резьбовым отверстием под болт для закрепления подвески или райбера, плашку, на наружной поверхности которой выполнен рельеф в виде правильных четырехгранных пирамид, срезную шпильку, соединяющую опору с клином-отклонителем. На отклоняющей части клина-отклонителя выполнена наружная резьба, предназначенная для навинчивания на нее специального ловильного инструмента (патент 2148695 РФ, МПК7 Е21 В 7/08, опубл. 2000.05.10).
Недостатком данного отклоняющего устройства является то, что для надежного закрепления его в обсадной колонне невозможно создать высокое осевое усилие нагружения на клин-отклонитель, которое ограничено прочностными характеристиками болта, соединяющего клин-отклонитель с подвеской или райбером и работающего на срез с целью их разъединения, а для извлечения на поверхность в случае если произойдет непредвиденное заклинивание и срезание шпильки и болта во время спуска, потребуется проведение дополнительных аварийных ловильных работ. Эти недостатки особенно могут проявиться в обсадных колоннах наклонно-направленных и горизонтальных участков скважин.
Техническим результатом изобретения является повышение надежности работы устройства при спуске его в обсаженную колонной скважину, закреплении и возможность его переустановки или извлечения на поверхность без проведения аварийных работ, если при спуске произойдет его заклинивание в незапланированном месте.
Сущность изобретения заключается в том, что в отклоняющем устройстве для бурения скважин и прорезания “окон” в обсадной колонне, включающем клин-отклонитель, который имеет отклоняющую часть с наклонной рабочей поверхностью в виде желоба и распорную часть, на которой выполнена направляющая в виде выступа, соединенную с распорной частью клина-отклонителя срезной шпилькой опору, в которой размещена плашка, имеющая паз на внутренней поверхности, соответствующий выступу на распорной части клина-отклонителя, а с внешней выпуклой поверхности рельеф выполнен в виде четырехгранных пирамид, согласно изобретению на отклоняющей части клина-отклонителя установлен кронштейн, на котором закреплен оснащенный выдвижным фиксатором двухсекционный фрезер, верхняя секция которого имеет армированный торец для фрезерования кронштейна, при этом выступ на распорной части направляющей клина-отклонителя выполнен с боковыми радиусными поверхностями, паз плашки имеет ответные боковые радиусные поверхности по отношению к выступу, а наружные грани пирамид плашки выполнены параллельными вертикальной плоскости симметрии отклоняющего устройства, в нижней части опоры выполнен боковой рессорный децентратор, а над двухсекционным фрезером установлен центратор.
Причинно-следственная связь между существенными признаками заявляемого изобретения и техническим результатом заключается в следующем.
Предлагаемое конструктивное решение соединения двухсекционного фрезера, имеющего выдвижной фиксатор и армированный торец на верхней секции, с кронштейном, установленным на верхней части клина-отклонителя, позволит больше разгружать спускной инструмент, создавать более высокие осевые нагрузки при закреплении отклоняющего устройства в обсадной колонне на вертикальном, наклонно направленном или горизонтальном участке скважины и обеспечит его переустановку или извлечение на поверхность без использования ловильного инструмента, если в процессе спуска произойдет его преждевременное заклинивание в незапланированном месте, т.к. разъединение двухсекционного фрезера от клина-отклонителя происходит только при расфрезеровании кронштейна.
Предложенное соединение распорной части клина-отклонителя с плашкой за счет боковых радиусных поверхностей на выступе и пазе, а также наличие наружных граней четырехгранных пирамид, параллельных вертикальной плоскости симметрии отклоняющего устройства, образующих рельеф внешней выпуклой поверхности плашки, со стенкой обсадной колонны, позволит увеличить надежность сцепления плашки с внутренней поверхностью обсадной колонны на любом участке скважины при заякоривании отклоняющего устройства, выдержит большие радиальные усилия и предотвратит сдвиг плашки в направлениях наружных граней, параллельных вертикальной плоскости симметрии отклоняющего устройства.
Расположенный в нижней части опоры боковой рессорный децентратор, прижимая распорную часть клина-отклонителя к стенке обсадной колонны или скважины, обеспечивает в компоновке с центратором, установленным над двухсекционным фрезером, соосность отклоняющего устройства при спуске, улучшает его проходимость в обсадной колонне на любом участке скважины, исключает контакт крайних граней армированного торца двухсекционного фрезера со стенками обсадной колонны, сохраняя их от преждевременного износа, и создает условия для надежного крепления устройства в скважине.
Сущность изобретения поясняется чертежами.
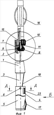
На фиг.1 представлено предлагаемое отклоняющее устройство; на фиг.2 увеличенный вид узла кронштейна; на фиг.3 разрез А-А на фиг.1; на фиг.4 вид Б на фиг.1.
Отклоняющее устройство (фиг.1) состоит из клина-отклонителя 1, имеющего отклоняющую часть 2 и распорную часть 3, плашки 4 опоры 5, соединенной с распорной частью 3 срезной шпилькой 6, кронштейна 7, установленного на отклоняющей части 2, к которому подсоединен двухсекционный фрезер 8, оснащенный выдвижным фиксатором 9, верхняя секция 10 которого выполнена с армированным торцом 11 для фрезерования кронштейна 7. Фиксатор 9 (фиг.2) позиционно поджат пружиной 12 в гнезде 13, соединенном отверстием 14 с внутренней полостью 15 двухсекционного фрезера 8. Над двухсекционным фрезером 8 установлен центратор 16. В нижней части опоры 5 (фиг.4) выполнен боковой рессорный децентратор 17. Отклоняющая часть 2 клина-отклонителя 1 имеет наклонную рабочую поверхность в виде желоба 18, а вдоль распорной части 3 выполнена направляющая в виде выступа 19 с боковыми радиусными поверхностями 20 (фиг.3) для монтажа на нем плашки 4 с пазом 21, имеющим ответные боковые радиусные поверхности 22, а с другой стороны – выпуклую поверхность, образованную четырехгранными пирамидами 23 с наружными гранями 24, параллельными вертикальной плоскости симметрии отклоняющего устройства, левосторонние Д, правосторонние С.
Отклоняющее устройство работает следующим образом. Отклоняющее устройство на поверхности собирают в компоновку и на колонне инструмента (не показано) спускают в скважину. Все элементы отклоняющего устройства показаны в положении процесса спуска в скважину фиг.1. Боковой рессорный децентратор 17 прижимает распорную часть 3 клина-отклонителя 1 к стенке обсадной колонны и создает в компоновке с центратором 16 соосность всего отклоняющего устройства, не допуская контакта крайних граней армированного торца 11 верхней секции 10 двухсекционного фрезера 8 со стенкой обсадной колонны, сохраняя их от преждевременного износа. После того как отклоняющее устройство будет спущено до забоя или ранее установленного в обсадной колонне цементного моста (не показано), производят его ориентацию по направлению прорезания “окна” с использованием телеметрических систем и плавно осуществляют подачу инструмента вниз, создавая осевую нагрузку на отклоняющее устройство. При нагрузке 2-4 тонны произойдет срезание шпильки 6, фиксировавшей опору 5 на распорной части 3 клина-отклонителя 1. При дальнейшей подаче инструмента вниз происходит перемещение плашки 4, выполненной с пазом, имеющим боковые радиусные поверхности, вдоль выступа 19 с боковыми радиусными поверхностями 20 и выдвижение из опоры 5, в результате чего плашка 4 своим рельефом из четырехгранных пирамид 23 с наружными гранями 24, параллельными вертикальной плоскости симметрии, входит в контакт со стенкой обсадной колонны, прижимая при этом опору 5 и клин-отклонитель 1 к противоположной стороне стенки обсадной колонны. Инструмент нагружают до тех пор, пока не создастся необходимое усилие для прижатия плашки 4 и клина-отклонителя 1 к стенке обсадной колонны. Затем, приподнимая инструмент, уменьшают осевое усилие контакта армированного торца 11 верхней секции 10 двухсекционного фрезера 8 с кронштейном 7. Подачей промывочной жидкости в инструмент создают давление во внутренней полости 15, которое через отверстие 14 передается в гнездо 13, за счет которого фиксатор 9, преодолевая сопротивление пружины 12, смещается вниз, освобождая двухсекционный фрезер 8 от позиционной фиксации в кронштейне 7. Начав вращение инструмента вправо, армированный торец 11 верхней секции 10 двухсекционного фрезера 8 производит фрезерование кронштейна 7. После полного расфрезерования кронштейна 7 происходит разъединение клина-отклонителя 1 от двухсекционного фрезера 8. При дальнейшем вращении инструмента с промывкой и созданием осевой нагрузки двухсекционный фрезер 8 производит фрезерование “окна” в эксплуатационной колонне. Прорезание “окна” заканчивается выходом двухсекционного фрезера 8 из обсадной колонны, после чего производится подъем инструмента.
Процесс спуска в скважину может сопровождаться, в силу ряда причин, преждевременным заклиниванием отклоняющего устройства в незапланированном месте. Предлагаемая конструкция в этом случае позволяет сразу извлечь отклоняющее устройство на поверхность без использования аварийного ловильного инструмента, т.к. отсоединение двухсекционного фрезера 8 от клина-отклонителя 1 не произойдет.
Предлагаемая конструкция отклоняющего устройства позволяет произвести его переустановку после закрепления в обсадной колонне, до выполнения процесса фрезерования кронштейна 7, если при первоначальной установке отклоняющее устройство оказалось неправильно азимутально сориентированным. Процесс переустановки отклоняющего устройства происходит за счет приподнимания над местом установки, уточненной ориентации и повторного закрепления.
Формула изобретения
Отклоняющее устройство для бурения скважин и прорезания “окон” в обсадной колонне, включающее клин-отклонитель, который имеет отклоняющую часть с наклонной рабочей поверхностью в виде желоба и распорную часть, на которой выполнена направляющая в виде выступа, соединенную с распорной частью клина-отклонителя срезной шпилькой опору, в которой размещена плашка, имеющая паз на внутренней поверхности, соответствующий выступу на распорной части клина-отклонителя, а с внешней выпуклой поверхности рельеф выполнен в виде четырехгранных пирамид, отличающееся тем, что на отклоняющей части клина-отклонителя установлен кронштейн, на котором закреплен оснащенный выдвижным фиксатором двухсекционный фрезер, верхняя секция которого имеет армированный торец для фрезерования кронштейна, при этом выступ на распорной части направляющей клина-отклонителя выполнен с боковыми радиусными поверхностями, а паз плашки имеет ответные боковые радиусные поверхности по отношению к выступу, а наружные грани пирамид плашки выполнены параллельными вертикальной плоскости симметрии отклоняющего устройства, в нижней части опоры выполнен боковой рессорный децентратор, а над двухсекционным фрезером установлен центратор.
РИСУНКИ
|
|