|
(21), (22) Заявка: 2007130316/03, 08.08.2007
(24) Дата начала отсчета срока действия патента:
08.08.2007
(46) Опубликовано: 20.05.2009
(56) Список документов, цитированных в отчете о поиске:
SU 968368 А, 23.10.1982. SU 322491 А, 30.11.1971. SU 341930 А, 14.06.1976. SU 870695 А, 07.10.1981. SU 1033725 А, 07.08.1983. SU 1052657 А, 07.11.1983. RU 2190743 С2, 10.10.2002. RU 2241105 C1, 27.11.2004. RU 2281368 С1, 10.08.2006. RU 2289669 С2, 20.12.2006. US 4071093 А, 31.01.1978.
Адрес для переписки:
300002, г.Тула, ул. Мосина, 2, ОАО “АК “Туламашзавод”, зам.нач. ОПИР М.Н. Соколовой
|
(72) Автор(ы):
Дронов Евгений Анатольевич (RU), Бессонов Анатолий Николаевич (RU), Макарьев Евгений Евгеньевич (RU), Черкасов Александр Николаевич (RU), Волков Александр Николаевич (RU)
(73) Патентообладатель(и):
ОТКРЫТОЕ АКЦИОНЕРНОЕ ОБЩЕСТВО “АКЦИОНЕРНАЯ КОМПАНИЯ “ТУЛАМАШЗАВОД” (RU)
|
(54) ГИПОЦИКЛОИДНЫЙ ВРАЩАТЕЛЬ
(57) Реферат:
Изобретение относится к пневматическим и гидравлическим машинам вращательного и ударно-вращательного действия для бурения горных пород и в строительстве. Гипоциклоидный вращатель содержит статор с зубьями внутреннего зацепления, торцовые крышки и установленный с эксцентриситетом ротор, обкатывающийся в процессе работы своим внешним зубчатым зацеплением по статору. Ротор выполнен составным с винтовыми канавками для подвода рабочего тела под давлением через сквозные кольцевые отверстия и кольцевую проточку торцовой крышки и связанные с указанными канавками радиальные отверстия ротора в межзубную рабочую полость вращателя и отвода отработанного рабочего тела из межзубной выхлопной полости вращателя, а за пределами стыка ротора с торцовой крышкой радиальная высота H1 винтовых канавок имеет больший размер по всей длине указанных винтовых канавок, чем высота Н винтовых канавок по стыку ротора с крышкой. Обеспечивает повышение мощности. 6 з.п. ф-лы, 7 ил.
Изобретение относится к пневматическим и гидравлическим машинам вращательного и ударно-вращательного действия для бурения горных пород и в строительстве.
Известен гипоциклоидный вращатель для пневматических перфораторов, состоящий из статора с торцовыми крышками, ротора, золотника со спиральными канавками (Суднишников Б.В., Есин Н.Н., Тупицын К.К. Исследование и конструирование пневматических машин ударного действия. Академия наук СССР, Сибирское отделение. Институт горного дела, Новосибирск, Издательство «Наука», Сибирское отделение, 1985, стр.103-104).
Недостатком данной конструкции является невозможность получения высоких скоростей вращения при сохранении высокого крутящего момента из-за ограниченности проходных сечений канавок золотника.
Известен также пневматический перфоратор ПП-80НВ с гипоциклоидным вращателем, состоящим из статора с зубьями внутреннего зацепления и торцовыми крышками, ротора, обкатывающего своим внешним зубчатым зацеплением по зубьям внутреннего зацепления статора, при этом ротор выполнен составным, на наружной и/или внутренней поверхности золотника ротора выполнены винтовые канавки для подвода рабочего тела под давлением через сквозные кольцевые отверстия верхней торцовой крышки и связанные с указанными винтовыми канавками радиальные отверстия ротора в межзубную рабочую полость вращателя и отвода отработанного рабочего тела из межзубной выхлопной полости вращателя после обкатки ротора по статору приблизительно на 180° (Паспорт ПП80НВ.00.000ПС «Перфоратор пневматический ПП80НВ», поставляемый совместно с изделием «Пневматический перфоратор ПП80НВ»).
Недостатком известного гипоциклоидного вращателя являются недостаточно высокие скорости вращения и развиваемый момент, вызванные недостаточной подачей сжатого воздуха или жидкости под давлением в межзубную рабочую полость.
Технический результат изобретения заключается в повышении мощности гипоциклоидного вращателя за счет увеличения номинального проходного сечения винтовых отверстий ротора до величины, не меньшей, чем проходное сечение винтовых отверстий в месте стыка ротора с торцовой крышкой.
Указанный технический результат достигается тем, что в гипоциклоидном вращателе, содержащим статор с зубьями внутреннего зацепления, торцовые крышки и установленный с эксцентриситетом ротор, обкатывающийся в процессе работы своим внешним зубчатым зацеплением по статору, ротор выполнен составным с винтовыми канавками для подвода рабочего тела под давлением через сквозные отверстия и кольцевую проточку торцовой крышки и связанные с указанными винтовыми канавками радиальные отверстия ротора в межзубную рабочую полость вращателя и отвода отработанного рабочего тела из межзубной выхлопной полости вращателя, а за пределами стыка ротора с торцовой крышкой радиальная высота винтовых канавок H1 имеет больший размер по всей длине указанных винтовых канавок Н, чем высота винтовых канавок по стыку ротора с крышкой.
Предпочтительно, чтобы площадь проходного сечения винтовой канавки ротора в нормальном сечении S1 составляла не менее площади проходного сечения этой винтовой канавки в перпендикулярной оси ротора плоскости, проходящей по месту стыка ротора с торцовой крышкой S.
Не менее предпочтительно, чтобы площадь проходного сечения радиального отверстия ротора составляла не менее площади проходного сечения винтовой канавки, измеренная в перпендикулярной оси ротора плоскости, проходящей по месту стыка ротора с торцовой крышкой.
Целесообразно, чтобы радиальные отверстия ротора были выполнены в средней части ротора и расположены, по меньшей мере, в один ряд.
Желательно, чтобы винтовые канавки были выполнены на наружной и/или внутренней поверхности золотника ротора.
Радиальные отверстия предпочтительно смещать от начала винтовых канавок приблизительно на 90°.
Выходы сквозных кольцевых отверстий целесообразно располагать в коллекторной кольцевой проточке верхней торцовой крышки.
Изобретение поясняется чертежами:
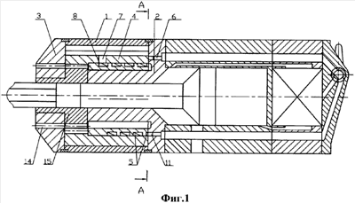
на фиг.1 изображен гипоциклоидный вращатель пневматического перфоратора;
на фиг.2 изображен торец гипоциклоидного вращателя со стороны подвода воздуха;
на фиг.3 изображен ротор с винтовыми канавками, выполненными на наружной поверхности золотника;
на фиг.4 изображен ротор с винтовыми канавками, выполненными на внутренней поверхности корпуса ротора;
на фиг.5 изображена развертка наружной поверхности золотника с винтовыми канавками;
на фиг.6 изображено поперечное сечение винтовой канавки в плоскости, перпендикулярной оси ротора, проходящей по месту стыка ротора с торцовой крышкой;
на фиг.7 изображено поперечное сечение винтовой канавки в нормальном сечении.
Гипоциклоидный вращатель содержит статор 1 с зубьями внутреннего зацепления, торцовые крышки 2 и 3 и установленный с эксцентриситетом е ротор 4, обкатывающийся в процессе работы своим внешним зубчатым зацеплением по внутреннему зубчатому зацеплению статора.
Ротор выполнен составным (фиг.3 и 4) из корпуса 12 с зубьями для зубчатого зацепления со статором (зубья расположены с внешней стороны ротора) и золотника 13, неразъемно и неподвижно сопряженного с внутренней поверхностью ротора, по крайней мере, в месте расположения винтовых отверстий, образованных винтовыми канавками 5 на наружной поверхности золотника и/или внутренней поверхности ротора.
Винтовые отверстия служат для подвода рабочего тела под давлением через сквозные отверстия 6 и кольцевую проточку 11 торцовой крышки 2 и связанные с указанными винтовыми отверстиями радиальные отверстия 7 ротора в межзубную рабочую полость вращателя 9 и отвода отработанного рабочего тела из межзубной выхлопной полости вращателя 10.
Винтовая канавка выполнена таким образом, что за пределами стыка ротора с торцовой крышкой радиальная высота винтовой канавки H1 имеет больший размер по всей длине указанной винтовой канавки, чем высота винтовой канавки Н по стыку ротора с крышкой, при этом площадь проходного сечения винтовой канавки ротора в нормальном сечении S1 не менее площади проходного сечения этой винтовой канавки в перпендикулярной оси ротора плоскости, проходящей по месту стыка ротора с торцовой крышкой S.
Радиальные отверстия 7 ротора выполнены в его средней части и расположены, по меньшей мере, в один ряд. Кроме того, радиальные отверстия смещены от начала винтовых канавок приблизительно на 90°. Площадь проходного сечения радиального отверстия ротора не менее площади проходного сечения винтовой канавки, измеренная в перпендикулярной оси ротора плоскости, проходящей по месту стыка ротора с торцовой крышкой.
Выходы сквозных кольцевых отверстий 6 расположены в коллекторной кольцевой проточке 11 верхней торцовой крышки.
Гипоциклоидный вращатель работает следующим образом.
Сжатый воздух или жидкость под давлением подается через сквозные кольцевые отверстия 6 и кольцевую проточку в винтовые отверстия и через радиальные отверстия 7 поступает в межзубную рабочую полость вращателя 9. Под давлением воздуха или жидкости ротор перекатывается по зубьям статора. Из межзубной выхлопной полости 10 вращателя сжатый воздух или жидкость удаляются через отверстия 14 в торцовой крышке.
Гипоциклоидный вращатель от ротора 4 передает вращение на приводной вал 15.
Формула изобретения
1. Гипоциклоидный вращатель содержит статор с зубьями внутреннего зацепления, торцовые крышки и установленный с эксцентриситетом ротор, обкатывающийся в процессе работы своим внешним зубчатым зацеплением по статору, при этом ротор выполнен составным с винтовыми канавками для подвода рабочего тела под давлением через сквозные кольцевые отверстия и кольцевую проточку торцовой крышки и связанные с указанными канавками радиальные отверстия ротора в межзубную рабочую полость вращателя и отвода отработанного рабочего тела из межзубной выхлопной полости вращателя, а за пределами стыка ротора с торцовой крышкой радиальная высота H1 винтовых канавок имеет больший размер по всей длине указанных винтовых канавок, чем высота Н винтовых канавок по стыку ротора с крышкой.
2. Гипоциклоидный вращатель по п.1, отличающийся тем, что площадь проходного сечения винтовой канавки ротора в нормальном сечении S1 не менее площади проходного сечения этой винтовой канавки в перпендикулярной оси ротора плоскости, проходящей по месту стыка ротора с торцовой крышкой S.
3. Гипоциклоидный вращатель по п.1, отличающийся тем, что площадь проходного сечения радиального отверстия ротора равна не менее площади проходного сечения винтовой канавки, измеренная в перпендикулярной оси ротора плоскости, проходящей по месту стыка ротора с торцовой крышкой.
4. Гипоциклоидный вращатель по п.1, отличающийся тем, что радиальные отверстия ротора выполнены в средней части ротора и расположены, по меньшей мере, в один ряд.
5. Гипоциклоидный вращатель по п.1, отличающийся тем, что винтовые канавки выполнены на наружной поверхности золотника и/или внутренней поверхности ротора.
6. Гипоциклоидный вращатель по п.1, отличающийся тем, что радиальные отверстия смещены от начала винтовых канавок приблизительно на 90°.
7. Гипоциклоидный вращатель по п.1, отличающийся тем, что выходы сквозных кольцевых отверстий расположены в коллекторной кольцевой проточке верхней торцовой крышки.
РИСУНКИ
|