|
|
(21), (22) Заявка: 2008101291/03, 09.01.2008
(24) Дата начала отсчета срока действия патента:
09.01.2008
(46) Опубликовано: 20.05.2009
(56) Список документов, цитированных в отчете о поиске:
RU 2203369 C1, 27.04.2003. RU 2233952 C1, 10.08.2004. RU 2247812 C2, 10.03.2005. SU 1746893 A3, 07.07.1992.
Адрес для переписки:
614051, г.Пермь, ул. Юрша, 64, кв.399, В.А. Степанову
|
(72) Автор(ы):
Кириенко Ольга Ивановна (RU), Кривелёва Ельвира Шамилевна (RU), Созинова Елена Витальевна (RU), Годовалов Владимир Александрович (RU), Шадрин Олег Александрович (RU), Пигалева Юлия Владимировна (RU)
(73) Патентообладатель(и):
Открытое акционерное общество “Оргтехстрой” (RU)
|
(54) СОЕДИНЕНИЕ ЖЕЛЕЗОБЕТОННЫХ КОЛОНН БЕЗРИГЕЛЬНОГО КАРКАСНОГО ЗДАНИЯ
(57) Реферат:
Изобретение относится к области строительства, в частности к соединению железобетонных колонн безригельного каркасного здания. Технический результат заключается в повышении технологичности, усилении соединения, повышении его прочности, надежности, несущей способности и упрощении монтажа. Соединение включает установленные соосно нижнюю и верхнюю колонны квадратного сечения с разрывом между торцами по их краям. Каждая колонна снабжена продольными арматурными стержнями, расположенными по ее углам и связанными между собой с помощью выпусков. Каждая колонна содержит дополнительные продольные арматурные стержни, оси которых расположены в плоскостях, соединяющих продольные арматурные стержни по краям колонн. Дополнительные арматурные стержни расположены в перекрещивающихся под прямым углом плоскостях с центром, совпадающим с осью колонны. Угол между этими плоскостями и плоскостями симметрии колонн, проходящими перпендикулярно боковым сторонам колонн, составляет не более 30 градусов. Нижняя колонна содержит выпуски всех продольных арматурных стержней. Выпуски расположены в разрыве между колоннами, и их торцы расположены ближе к торцу верхней колонны. Противолежащие торцы продольных арматурных стержней верхней колонны расположены в теле верхней колонны. Верхняя колонна содержит дополнительные выпуски в виде накладных арматурных стержней, жестко связанных с продольными арматурными стержнями в теле верхней колонны. Накладные арматурные стержни расположены вертикально, и примыкают к выпускам арматурных стержней нижней колонны на всю их длину, и жестко связаны с ними. Диаметр накладных арматурных стержней составляет 0,6-0,8 диаметра продольных арматурных стержней. Оси накладных арматурных стержней расположены в плоскости, проходящей через оси основных продольных арматурных стержней соответствующей стороны колонны. 2 ил.
Изобретение относится к строительству и предназначено для соединения колонн, используемых для возведения сборного безригельного каркаса здания или сооружения.
Наиболее близким техническим решением к предлагаемому является соединение железобетонных колонн безригельного каркасного здания, включающее установленные соосно нижнюю и верхнюю колонны квадратного сечения с разрывом между торцами по их краям, причем каждая колонна снабжена продольными арматурными стержнями, расположенными по ее углам и связанными между собой с помощью выпусков (патент РФ 2203369, опубл. 27.04.2003).
Недостатками его являются недостаточная жесткость и прочность соединения, невозможность усиления путем установки дополнительной продольной арматуры в колоннах.
Предлагаемым изобретением решается задача повышения технологичности, усиления соединения, повышения его прочности, надежности и несущей способности, а также упрощения монтажа.
Для достижения указанного технического результата соединение железобетонных колонн безригельного каркасного здания включает установленные соосно нижнюю и верхнюю колонны квадратного сечения с разрывом между торцами по их краям, причем каждая колонна снабжена продольными арматурными стержнями, расположенными по ее углам и связанными между собой с помощью выпусков, при этом каждая колонна содержит дополнительные продольные арматурные стержни, оси которых расположены в плоскостях, соединяющих продольные арматурные стержни по краям колонн, кроме того, дополнительные арматурные стержни расположены в перекрещивающихся под прямым углом плоскостях с центром, совпадающим с осью колонны, а угол между этими плоскостями и плоскостями симметрии колонн, проходящими перпендикулярно боковым сторонам колонн, составляет не более 30 градусов, причем нижняя колонна содержит выпуски всех продольных арматурных стержней, расположенные в разрыве между колоннами, при этом их торцы расположены ближе к торцу верхней колонны, а противолежащие торцы продольных арматурных стержней верхней колонны расположены в теле верхней колонны, а сама верхняя колонна содержит дополнительные арматурные выпуски в виде накладных арматурных стержней, жестко связанных с продольными арматурными стержнями в теле верхней колонны, причем эти накладные арматурные стержни расположены вертикально и примыкают к выпускам арматурных стержней нижней колонны на всю их длину и жестко связаны с ними, при этом диаметр накладных арматурных стержней составляет 0,6÷0,8 диаметра продольных арматурных стержней, а их оси расположены в плоскости проходящей через оси основных продольных арматурных стержней соответствующей стороны колонны.
Отличительными признаками предлагаемой конструкции от указанной выше известной, наиболее близкой к ней являются следующие: каждая колонна содержит дополнительные продольные арматурные стержни, оси которых расположены в плоскостях, соединяющих продольные арматурные стержни по краям колонн, кроме того, дополнительные арматурные стержни расположены в перекрещивающихся под прямым углом плоскостях с центром, совпадающим с осью колонны, а угол между этими плоскостями и плоскостями симметрии колонн, проходящими перпендикулярно боковым сторонам колонн, составляет не более 30 градусов, причем нижняя колонна содержит выпуски всех продольных арматурных стержней, расположенные в разрыве между колоннами, при этом их торцы расположены ближе к торцу верхней колонны, а противолежащие торцы продольных арматурных стержней верхней колонны расположены в теле верхней колонны, а сама верхняя колонна содержит дополнительные выпуски в виде накладных арматурных стержней, жестко связанных с продольными арматурными стержнями в теле верхней колонны, причем эти накладные арматурные стержни расположены вертикально и примыкают к выпускам арматурных стержней нижней колонны на всю их длину и жестко связаны с ними, при этом диаметр накладных арматурных стержней составляет 0,6÷0,8 диаметра продольных арматурных стержней, а их оси расположены в плоскости, проходящей через оси основных продольных арматурных стержней соответствующей стороны колонны.
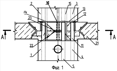
Предлагаемое изобретение иллюстрируется чертежами, где на фиг.1 изображен вид на соединение сбоку, на фиг.2 – сечение по А-А на фиг.1.
Соединение железобетонных колонн безригельного каркасного здания включает установленные соосно нижнюю 1 и верхнюю 2 колонны квадратного сечения с разрывом между торцами по их краям. Каждая колонна снабжена продольными арматурными стержнями 3, 4, расположенными по ее углам. Каждая колонна содержит дополнительные продольные арматурные стержни 5, оси которых расположены в плоскостях 6, соединяющих продольные арматурные стержни по краям колонн 1, 2. Кроме того, дополнительные арматурные стержни 5 расположены в перекрещивающихся под прямым углом плоскостях 7, 8 с центром, совпадающим с осью колонны, а угол между этими плоскостями 7, 8 и плоскостями 9, 10 симметрии колонн 1, 2 проходящими перпендикулярно боковым сторонам колонн, составляет не более 30 градусов. Нижняя колонна 1 содержит выпуски 11 всех продольных арматурных стержней 4, 5, расположенные в разрыве между колоннами 1, 2, при этом их торцы 12 расположены ближе к торцу 13 верхней колонны, а противолежащие торцы 14 продольных арматурных стержней верхней колонны 2 расположены в теле верхней колонны 2, а сама верхняя колонна 2 содержит дополнительные выпуски в виде накладных арматурных стержней 15, жестко связанных с продольными арматурными стержнями в теле верхней колонны 2. Эти накладные арматурные стержни 15 расположены вертикально в плоскостях, проходящих через оси продольных арматурных стержней каждой стороны колонны, и примыкают к выпускам 11 арматурных стержней нижней колонны 1 на всю их длину последовательно впереди них (если перемещаться в одну сторону, например, против часовой стрелки при рассмотрении в сечении сверху), и жестко связаны с ними. Диаметр накладных арматурных стержней 15 составляет 0,6÷0,8 диаметра продольных арматурных стержней 3, 4, 5, а их оси расположены в плоскости 6, проходящей через оси продольных арматурных стержней соответствующей стороны колонны, кроме того, соединение снабжено установочным арматурным стержнем 16, расположенным по оси колонн 1, 2, причем половина стержня 16 замоноличена в теле верхней колонны 2, а вторая половина располагается в отверстии трубы 17, замоноличенной в теле нижней колонны 1.
Выпуски 11 арматурных стержней 4 по углам колонны соединены с помощью косынок 18, 19 с обечайкой 20 надколонной плиты 21.
Торцы колонн 1, 2 выполнены в виде усеченных пирамид, обращенных друг к другу вершинами, снабженными металлическими опорными площадками 22, 23 с отверстием по оси симметрии, в котором расположен установочный арматурный стержень 16.
Такое выполнение соединения упрощает монтаж, повышает технологичность сборки соединения, при этом достигается наиболее благоприятное распределение внутренних усилий и создаются условия для эффективного использования стержневой арматуры. Предлагаемое соединение колонн позволяет наиболее эффективно передать сжимающие усилия и изгибающий момент с колонны на колонну, обладает высокой надежностью за счет совместной пространственной работы всех элементов соединения. Устройство не требует существенных материальных затрат.
Такое выполнение элементов конструкции и их соединение позволяет повысить жесткость конструкции за счет усиления ее в наиболее напряженной зоне и одновременно повысить несущую способность, трещиностойкость соединения.
Монтаж колонн производится следующим образом:
– колонны 1, 2 в сборе с продольными силовыми арматурными стержнями 3, 4, 5 накладными выпусками в виде арматурных стержней 15 и с установочным арматурным стержнем 16 изготавливаются на заводе.
– на строительной площадке колонны 1, 2 выставляют в проектное положение;
– установочный арматурный стержень 16 совмещают с отверстие в трубе 17 нижней колонны;
– совмещают опорные металлические площадки 22, 23 и сваривают по контуру соединения;
– сваривают выпуски 11 нижележащей колонны с выпусками накладных арматурных стержней 15 верхней колонны;
– арматурные стержни по углам колонны соединяют с помощью косынок 18, 19 с обечайкой 20 надколенной плиты 21;
– бетонируют стык мелкозернистым бетоном класса В25 с тщательным уплотнением;
Для испытаний узла соединения были изготовлены колонны квадратного сечения 450×450 мм, для продольных арматурных стержней использовалась арматура диаметром 40 мм AIII, величина защитного слоя 40 мм. Для накладных арматурных выпусков использовалась арматура диаметром 25 мм AIII, бетон класса В40 по прочности. Замоноличивание производилось мелкозернистым бетоном класса В25 по прочности. Предлагаемое соединение колонн было использовано при возведении сборного безригельного каркаса высотного здания. Испытания показали на повышение технологичности процесса сборки соединения, на сокращение времени соединения и повышение прочности узла.
Формула изобретения
Соединение железобетонных колонн безригельного каркасного здания, включающее установленные соосно нижнюю и верхнюю колонны квадратного сечения с разрывом между торцами по их краям, причем каждая колонна снабжена продольными арматурными стержнями, расположенными по ее углам и связанными между собой с помощью выпусков, отличающееся тем, что каждая колонна содержит дополнительные продольные арматурные стержни, оси которых расположены в плоскостях, соединяющих продольные арматурные стержни по краям колонн, кроме того, дополнительные арматурные стержни расположены в перекрещивающихся под прямым углом плоскостях с центром, совпадающим с осью колонны, а угол между этими плоскостями и плоскостями симметрии колонн, проходящими перпендикулярно боковым сторонам колонн, составляет не более 30°, причем нижняя колонна содержит выпуски всех продольных арматурных стержней, расположенные в разрыве между колоннами, при этом их торцы расположены ближе к торцу верхней колонны, а противолежащие торцы продольных арматурных стержней верхней колонны расположены в теле верхней колонны, а сама верхняя колонна содержит дополнительные выпуски в виде накладных арматурных стержней, жестко связанных с продольными арматурными стержнями в теле верхней колонны, причем эти накладные арматурные стержни расположены вертикально и примыкают к выпускам арматурных стержней нижней колонны на всю их длину, и жестко связаны с ними, при этом диаметр накладных арматурных стержней составляет 0,6÷0,8 диаметра продольных арматурных стержней, а их оси расположены в плоскости, проходящей через оси основных продольных арматурных стержней соответствующей стороны колонны.
РИСУНКИ
PC4A – Регистрация договора об уступке патента СССР или патента Российской Федерации на изобретение
Прежний патентообладатель:
Открытое акционерное общество “Оргтехстрой”
(73) Патентообладатель:
Шардаков Игорь Николаевич
Договор № РД0062458 зарегистрирован 26.03.2010
Извещение опубликовано: 10.05.2010 БИ: 13/2010
|
|