|
|
(21), (22) Заявка: 2007148946/11, 25.12.2007
(24) Дата начала отсчета срока действия патента:
25.12.2007
(46) Опубликовано: 20.05.2009
(56) Список документов, цитированных в отчете о поиске:
ОРЛОВ Ю.А., ЕГИАЗАРЯН А.В. Производственные базы путевых машин станций. Основы проектирования средств механизации. – М.: Транспорт, 1986, с.53, 54, рис.2.8. RU 2285080 С1, 10.10.2006. ЕР 0196701 А1, 08.10.1986. DE 19800218 А1, 15.07.1999. ЛОНЧАКОВ Э.Т., ПЕТРОПАВЛОВСКИЙ Б.П. Путевые машины для звеносборочных и звеноразборочных работ. – М.: Транспорт, 1984, с.94-99, рис.73.
Адрес для переписки:
680011, г.Хабаровск, ул. Брестская, 87, Федеральное государственное унитарное предприятие Научно-внедренческий центр “Путевые машины” Федерального агентства железнодорожного транспорта
|
(72) Автор(ы):
Марголин Александр Иосифович (RU), Кныш Виталий Дмитриевич (RU), Скрипачев Иван Федорович (RU), Федосеев Дмитрий Алексеевич (RU)
(73) Патентообладатель(и):
Федеральное государственное унитарное предприятие Научно-внедренческий центр “Путевые машины” Федерального агентства железнодорожного транспорта (RU)
|
(54) ПЕРЕДВИЖНОЕ УСТРОЙСТВО ДЛЯ УСТАНОВКИ ЖЕЛЕЗОБЕТОННЫХ БРУСЬЕВ СТРЕЛОЧНОГО ПЕРЕВОДА ПО ЭПЮРЕ И ОРДИНАТАМ
(57) Реферат:
Изобретение относится к механизации работ по сборке стрелочных переводов в путевом хозяйстве железнодорожного транспорта и может быть использовано в линии для сборки стрелочных переводов с железобетонными брусьями на специализированной базе. Передвижное устройство для установки железобетонных брусьев стрелочного перевода по эпюре и ординатам содержит портальную раму в виде двух тележек, перемещаемых по направляющим объемлющего пути стенда на колесах независимо друг от друга, одна с правой, а вторая с левой стороны пути, силовыми цилиндрами и соединенных между собой шарнирными тягами. Каждая тележка снабжена командоаппаратом с набором программ перемещений, каждый из которых кинематически связан через звездочку с отрезками мерных цепей, уложенных вдоль направляющих объемлющего пути стенда. На каждой тележке размещен с возможностью продольного перемещения ползун. Ползуны шарнирно соединены друг с другом направляющей для двух кареток, имеющих возможность перемещения относительно друг друга посредством ходового винта. Каждая каретка снабжена соответствующей ходовому винту гайкой с приводом, парой роликов для ориентации бруса по его продольной оси и механизмом подъема бруса. Устройство снабжено сканирующим прибором для поиска отверстий закладного болта в брусе. Каждая тележка и их силовые цилиндры снабжены зажимами за рельсы. Техническим результатом изобретения является обеспечение перемещения железобетонных брусьев стрелочного перевода разной длины и укладки их точно по эпюре с необходимым углом поворота отдельных брусьев и соблюдением ординаты, а также возможность сборки стрелочных переводов разных марок и разных направлений. 1 з.п. ф-лы, 7 ил.
Изобретение относится к механизации работ по сборке стрелочных переводов в путевом хозяйстве железнодорожного транспорта и может быть использовано в линии для сборки стрелочных переводов с железобетонными брусьями на специализированной базе.
Известен стенд для сборки стрелочных переводов (журнал «Путь и путевое хозяйство», 2005 г., 8), где брусья раскладываются краном с помощью шаблонной линейки с нанесенными отметками оси бруса. Недостатком известного стенда является то, что наведение одного конца бруса для совмещения его с меткой линейки производится вручную, при этом остается неясность в положении второго конца бруса и размера по ординате. Известно устройство для разметки положения брусьев на собираемом стрелочном переводе (патент РФ 2131109. Рулетка Туровского для разметки положения брусьев на стрелочном переводе, 13.03.1996), недостатком которого является то, что разметка положения бруса производится вручную. Известно «Устройство для сборки рельсошпальной решетки железнодорожного пути», а.с. 1120050 и «Стенд для сборки стрелочных переводов», патент РФ 2007507. Недостатками известных устройств являются: во-первых, применение ручного труда при установке на место каждого бруса, во-вторых, применение в обоих устройствах шаблона позволяет производить сборку только одной марки стрелочного перевода, и в случае ее изменения (правый перевод, левый или перекрестный перевод, марки 1/9, 1/11 и другие) необходимо перестроить шаблон, на что требуется дополнительное время и что ограничивает технологические возможности известных устройств. Известно устройство для раскладки шпал (Ю.А.Орлов и А.В.Егиазарян. Производственные базы путевых машинных станций. Основы проектирования средств механизации. – М.: Транспорт, 1986, с.53-54, рис.2.8 – принято за прототип), которое состоит из портальной рамы, перемещающейся по рельсам объемлющего пути стенда на колесах, и несущей траверсы с механизмом подъема, снабженного лапами для подъема шпал и их перемещения на определенное расстояние. Отсчет требуемого расстояния может производиться различными известными средствами, в том числе, и с помощью уложенной вдоль рельса объемлющего пути мерной цепи, по которой перекатывается звездочка, угол поворота которой вырабатывает сигнал на остановку в соответствии с программой командоаппарата.
Недостатком известного устройства является то, что его нельзя применить для раскладки брусьев стрелочного перевода, так как невозможна раскладка брусьев так, чтобы были соблюдены их углы разворота относительно оси и ординаты, кроме того, невозможно работать с брусьями разной длины.
Задачей и целью изобретения является создание передвижного устройства для перемещения железобетонных брусьев стрелочного перевода разной длины и укладки их точно по эпюре с необходимым углом поворота отдельных брусьев и соблюдением ординаты. При этом должна быть обеспечена возможность сборки стрелочных переводов разных марок и разных направлений.
Задача достигается тем, что в передвижном устройстве для установки железобетонных брусьев стрелочного перевода по эпюре и ординатам, содержащем портальную раму, перемещающуюся по направляющим объемлющего пути стенда на колесах, и несущую траверсу с механизмом подъема бруса, снабженного лапами для подъема бруса и его перемещения, портальная рама выполнена в виде двух тележек, перемещаемых по направляющим объемлющего пути стенда на колесах независимо друг от друга, одна с правой, а вторая с левой стороны пути, силовыми цилиндрами и соединенных между собой шарнирными тягами, при этом каждая тележка снабжена командоаппаратом с набором программ перемещений, каждый из которых кинематически связан через звездочку с отрезками мерных цепей, уложенных вдоль направляющих объемлющего пути стенда, и на каждой тележке размещен с возможностью продольного перемещения ползун, каждый из которых шарнирно соединен друг с другом направляющей для двух кареток, имеющих возможность перемещения относительно друг друга посредством ходового винта, привод которого размещен на их направляющей, а каждая каретка снабжена соответствующей ходовому винту гайкой с приводом, кроме этого каждая каретка снабжена парой роликов для ориентации бруса по его продольной оси и механизмом подъема бруса, на каждой лапе которого размещены по два подвижных, пружинно-уравновешенных в продольном и поперечном направлениях подпятника, при этом на одном из ползунов установлен сканирующий прибор, которым снабжено устройство, для поиска отверстий закладного болта в брусе, кроме того, каждая тележка и ее силовые гидроцилиндры снабжены зажимами за рельсы.
Каждая тележка портальной рамы содержит четыре колеса, а каждая направляющая объемлющего пути стенда с правой и с левой стороны пути содержит два параллельных рельса.
Выполнение портальной рамы в виде двух тележек, перемещаемых по направляющим объемлющего пути стенда на колесах независимо друг от друга, одна с правой, а вторая с левой стороны пути, силовыми цилиндрами и соединенных между собой шарнирными тягами, снабжение каждой тележки командоаппаратом с набором программ перемещений, каждый из которых кинематически связан через звездочку с отрезками мерных цепей, уложенных вдоль направляющих объемлющего пути стенда, размещение на каждой тележке с возможностью продольного перемещения ползуна, каждый из которых шарнирно соединен друг с другом направляющей для двух кареток, имеющих возможность перемещения относительно друг друга посредством ходового винта, привод которого размещен на их направляющей, снабжение каждой каретки соответствующей ходовому винту гайкой с приводом, снабжение каждой каретки парой роликов для ориентации бруса по его продольной оси и механизмом подъема бруса, на каждой лапе которого размещены по два подвижных, пружинно-уравновешенных в продольном и поперечном направлениях подпятника, снабжение устройства сканирующим прибором для поиска отверстий закладного болта в брусе, установленным на одном из ползунов, снабжение каждой тележки и их силовых цилиндров зажимами за рельсы позволяет обеспечить точные размеры для получения эпюры железобетонных брусьев стрелочного перевода разной длины с необходимым углом поворота отдельных брусьев к оси пути и соблюдение ординаты. При этом обеспечена возможность сборки стрелочных переводов разных марок и стрелочных переводов разных направлений за счет изменения программ командоаппаратов.
Выполнение каждой тележки портальной рамы четырехколесной, а каждой направляющей объемлющего пути стенда с двумя параллельными рельсами позволяет обеспечить более надежное положение портальной рамы и всего устройства во время работы.
Кроме этого предлагаемое передвижное устройство может быть использовано при сборке стрелочных переводов с деревянными брусьями при условии настройки сканера на торец бруса (получение шпуровой линии).
На чертежах изображено:
фиг.1 – схема размещения и работы передвижного устройства для установки железобетонных брусьев стрелочного перевода по эпюре и ординатам;
фиг.2 – передвижное устройство для установки железобетонных брусьев стрелочного перевода по эпюре и ординатам, вид сверху;
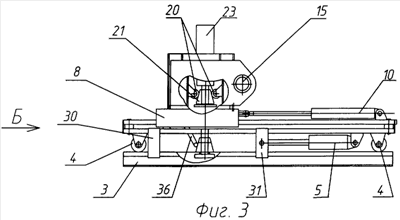
фиг.3 – передвижное устройство для установки железобетонных брусьев стрелочного перевода по эпюре и ординатам, вид по стрелке А на фиг.2 (вид сбоку);
фиг.4 – передвижное устройство для установки железобетонных брусьев стрелочного перевода по эпюре и ординатам, вид по стрелке Б на фиг.3 (вид спереди);
фиг.5 – вариант выполнения тележек четырехколесными, вид В на фиг.4;
фиг.6 – лапа механизма подъема бруса;
фиг.7 – относительное положение подпятника лапы механизма подъема бруса и поднимаемого бруса.
Передвижное устройство для установки железобетонных брусьев стрелочного перевода по эпюре и ординатам содержит тележку левую 1 и тележку правую 2, каждая из которых перемещается по рельсу направляющей 3 объемлющего пути стенда на двух колесах 4 независимо друг от друга, одна с правой, а вторая с левой стороны пути, силовыми гидроцилиндрами 5 (фиг.3). Тележки 1 и 2 соединены между собой двумя шарнирными тягами 6, образуя портальную раму. На левой тележке 1 размещен ползун 7, а на правой тележке 2 размещен ползун 8 с возможностью продольного перемещения от силовых гидроцилиндров 9 и 10 соответственно. Ползуны 7, 8 шарнирно соединены между собой направляющей 11 для двух кареток 12 и 13, имеющих возможность перемещения относительно друг друга посредством ходового винта 14, привод 15 которого закреплен на направляющей 11. Каретки 12 и 13 снабжены гайками 16 и 17, соответствующими ходовому винту 14. Каждая гайка 16 и 17 имеет свой привод 18. На каретке 12 установлена пара роликов 19, а на каретке 13 – пара роликов 20 (фиг.3) для ориентации бруса 21 по его продольной оси. На каретках 12 и 13 также смонтированы механизмы подъема бруса 22 и 23 соответственно. Для свободного поворота бруса 21 при его постановке на ось на каждой лапе 24 механизмов подъема 22, 23 размещены по два подвижных подпятника 25, пружинно-уравновешенных в продольном и поперечном направлениях пружинами 26 и 27, которые смещаются вместе с точкой контакта подпятника 25 с брусом 21 (фиг.6, 7). С целью исключения возвратного поворота при опускании бруса 21, т.е. когда брус потеряет контакт с роликами 19, 20, изменение положения подпятников 25 происходит с понижением их высоты в пространстве, поэтому пружины, рассчитанные только на усилие возврата подпятников, не смогут приподнять брус. На направляющей 11, со стороны ползуна 7, установлен сканирующий прибор 28 (фиг.4) для поиска отверстия 29 закладного болта в брусе 21 (фиг.7) для получения шпуровой линии. Каждая тележка 1 и 2 снабжена зажимами 30, а их силовые гидроцилиндры 5 снабжены зажимами 31 за рельсы объемлющего пути стенда. Независимое друг от друга перемещение левой 1 и правой 2 тележек, шарнирно соединенных тягами 6, обеспечивается командоаппаратами 32 с набором программ перемещений, каждый из которых кинематически связан через звездочки 33 с отрезками мерных цепей 34, уложенных вдоль рельсов направляющих 3 объемлющего пути стенда с правой и с левой стороны пути. Каждый ползун 7 и 8 связан с конечными выключателями 35 и 36 соответственно. Возможен вариант выполнения тележек 1 и 2 с четырьмя колесами 4, и тогда направляющие 3 объемлющего пути стенда с правой и с левой стороны пути содержат по два параллельных рельса для перемещения по ним четырехколесных левой 1 и правой 2 тележек (фиг.5).
Работа устройства для установки железобетонных брусьев стрелочного перевода по эпюре и ординатам производится следующим образом.
В зону расположения объемлющих путей с направляющими 3 подается транспортное средство с предварительно разложенными краном брусьями 21, причем отклонение места уложенного бруса от теоретически требуемого находится в пределах контура, создаваемого тележками 1,2 и тягами 6. Левая 1 и правая 2 тележки перемещаются гидроцилиндрами 5, закрепленными за рельсы объемлющих путей захватами 31, каждая на свое, точно ориентированное расстояние, заданное программами командоаппаратов 32 и считываемое с угла поворота звездочек 33 при их взаимодействии с отрезками мерных цепей 34, уложенных вдоль рельсов направляющих 3 объемлющего пути стенда. После остановки тележки 1 и 2 закрепляются за рельсы захватами 30, а захваты 31 размыкаются и подтягиваются штоками гидроцилиндров 5 до конца хода штоков и вновь закрепляются на рельсах. После остановки тележек 1 и 2 ползуны 7 и 8 сдвигаются силовыми гидроцилиндрами 9 и 10 по направлению к предварительно уложенному брусу 21, а каретки 12 и 13, в это время, разводятся гайками 16, 17 от приводов 18 и ходовым винтом 14 от привода 15. Лапы 24 механизмов подъема бруса 22 и 23 в исходном положении расположены ниже нижней постели бруса 21. При контакте конечных выключателей 35 и 36 о брус 21 ползуны 7 и 8 останавливаются, а каретки 12 и 13 сдвигаются к брусу 21. Включаются механизмы подъема 22 и 23, брус 21 подхватывается лапами 24, поднимается и устанавливается между роликами 19 с одной стороны и роликами 20 с другой стороны, которые расположены также на каретках 12 и 13, благодаря чему ось бруса центруется по оси кареток. Так как остановка конечными выключателями 35 и 36 ориентировочная, то при вводе бруса 21 между парами роликов 19 и 20 происходит его некоторый разворот, который в лапах 24 компенсируется контактирующими с ним подпружиненными в продольном и поперечном направлениях пружинами 26, 27 подпятниками 25. После фиксации бруса 21 в роликах 19 и 20 ползуны 7 и 8 возвращаются гидроцилиндрами 9 и 10 в исходное положение, устанавливая, тем самым, брус 21 по требуемой теоретической оси. Затем включается привод 15 ходового винта 14, и каретки 12, 13 совместно с брусом 21 смещаются вдоль этой оси до тех пор, пока отверстие 29 под закладной болт бруса 21 не попадет в зону действия сканера 28, и вращение винта 14 останавливается. Таким образом, брус 21 приводится в заданное положение. На этой позиции брус 21 предпочтительно снабдить прокладками, подкладками, сборками закладных болтов, так как он приподнят и эти операции удобно выполнять, после чего брус 21 опускается на основание, лапы 24 выводятся из под бруса 21, и тележки 1 и 2 устройства передвигаются для обработки следующего бруса.
Формула изобретения
1. Передвижное устройство для установки железобетонных брусьев стрелочного перевода по эпюре и ординатам, содержащее портальную раму, перемещающуюся по рельсам объемлющего пути стенда на колесах, и несущую траверсу с механизмом подъема бруса, снабженного лапами для подъема бруса и его перемещения, отличающееся тем, что портальная рама выполнена в виде двух тележек, перемещаемых по направляющим объемлющего пути стенда на колесах независимо друг от друга, одна с правой, а вторая с левой стороны пути, силовыми цилиндрами и соединенных между собой шарнирными тягами, при этом каждая тележка снабжена командоаппаратом с набором программ перемещений, каждый из которых кинематически связан через звездочку с отрезками мерных цепей, уложенных вдоль направляющих объемлющего пути стенда, и на каждой тележке размещен с возможностью продольного перемещения ползун, каждый из которых шарнирно соединен друг с другом направляющей для двух кареток, имеющих возможность перемещения относительно друг друга посредством ходового винта, привод которого размещен на их направляющей, а каждая каретка снабжена соответствующей ходовому винту гайкой с приводом, кроме этого, каждая каретка снабжена парой роликов для ориентации бруса по его продольной оси и механизмом подъема бруса, на каждой лапе которого размещены по два подвижных, пружинно-уравновешанных в продольном и поперечном направлениях подпятника, при этом на одном из ползунов установлен сканирующий прибор, которым снабжено устройство, для поиска отверстий закладного болта в брусе, кроме того, каждая тележка и их силовые цилиндры снабжены зажимами за рельсы.
2. Передвижное устройство по п.1, отличающееся тем, что каждая тележка портальной рамы содержит четыре колеса, при этом каждая направляющая объемлющего пути стенда с правой и левой стороны пути содержит два параллельных рельса.
РИСУНКИ
|
|