|
|
(21), (22) Заявка: 2007136298/02, 03.10.2007
(24) Дата начала отсчета срока действия патента:
03.10.2007
(46) Опубликовано: 20.05.2009
(56) Список документов, цитированных в отчете о поиске:
SU 1437404 А1, 15.11.1988. SU 1055949 А, 23.11.1983. SU 584039 А, 15.12.1977. SU 1371978 А1, 07.02.1988.
Адрес для переписки:
390048, г.Рязань, ул. Зубковой, 26, кв.555, В.В. Иванову
|
(72) Автор(ы):
Иванов Игорь Владимирович (RU), Иванов Владимир Васильевич (RU), Кленина Галина Николаевна (RU)
(73) Патентообладатель(и):
Иванов Игорь Владимирович (RU)
|
(54) ГОРИЗОНТАЛЬНАЯ ФУРМА ДЛЯ ПРОДУВКИ РАСПЛАВА
(57) Реферат:
Изобретение относится к металлургии, в частности к устройствам для продувки шлакоштейновых расплавов или продувки жидкого металла. Фурма содержит корпус с полостью для хладагента, разделительную перегородку и трубопроводы для подвода и отвода хладагента. На торце корпуса фурмы выполнены концентрические ребра, высота которых равна 0,08-0,15, толщина 0,04-0,08, а расстояние между первым и вторым наружными ребрами составляет 0,04-0,10 наружного диаметра фурмы. Расстояние между каждым последующим ребром уменьшается на величину 0,0045-0,01 наружного диаметра фурмы, считая от каждого предыдущего расстояния между ребрами. Использование изобретения позволяет повысить эксплуатационную стойкость и безопасность работы фурмы. 1 ил., 1 табл.
Изобретение относится к металлургии и теплоэнергетике, в частности к устройствам для продувки шлакоштейновых расплавов или продувки жидкого металла в металлургических агрегатах типа плавки в жидкой ванне (печь ПЖВ), фьюминг-печи, конверторе, печи для рафинирования металла, а также для топок сжигания твердого топлива в шлаковом расплаве (ТСТР), устанавливаемых под энергетическим котлом.
Известна фурма для продувки металла снизу, содержащая корпус из огнеупорного материала с осевым каналом, соединенным с одного конца с коллектором, имеющим патрубок для подвода газа, а с другого с соплом, и устройство для предотвращения ухода металла через фурму при прекращении подачи газа, состоящее из металлического сердечника, расположенного в канале фурмы с зазором (а.с. СССР 386013, кл. С21С 5/48, 1971).
Эта фурма предназначена для работы только в вертикальном положении, а для возобновления подачи газа через фурму после ее заливки расплавом необходимо сменить сердечник.
Наиболее близким к изобретению по технической сущности и достигаемому результату является горизонтальная фурма для продувки расплава, содержащая корпус с полостью для хладагента, разделительную перегородку и трубопроводы для подвода и отвода хладагента, а торец фурмы оснащен концентрическими ребрами (а.с. СССР 1437404, кл. С21С 5/48, 1987).
Недостатком данной конструкции является снижение надежной и безопасной эксплуатации при дальнейшей интенсификации технологического процесса путем увеличения пропускной способности фурмы по дутью (обогащенный кислородом воздух с природным газом). При форсированной работе фурмы по дутью резко увеличивается тепловая нагрузка на торец фурмы, что при эксплуатации может привести к интенсивному ее износу, а это совершенно недопустимо для агрегатов барботажного типа.
Цель изобретения – повышение эксплуатационной стойкости и безопасности работы фурмы при форсированных режимах за счет совершенствования конструкции торца фурмы. Использование высокоскоростных (звуковых, сверхзвуковых) дутьевых струй позволяет интенсифицировать барботажные процессы при минимальных денежных затратах, не соизмеримых с получаемой выгодой от использования этих методов в промышленном производстве.
Это достигается тем, что в горизонтальной фурме, содержащей корпус с полостью для хладагента, разделительную перегородку и трубопроводы для подвода и отвода хладагента, с целью повышения эксплуатационной стойкости и безопасности работы, на торце фурмы выполнены концентрические ребра, высота которых равна 0,08-0,15, толщина 0,04-0,08, а расстояние между ребрами составляет 0,04-0,10 наружного диаметра фурмы, измеряемого в миллиметрах, причем расстояние между каждым последующим ребром уменьшается на величину 0,0045-0,01 наружного диаметра фурмы, считая от каждого предыдущего расстояния между ребрами.
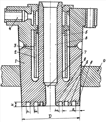
На чертеже показан продольный разрез фурмы.
Фурма состоит из корпуса 1 с полостью, разделительной перегородки 2, наружного канала 3 и патрубка 4 для подвода хладагента, внутреннего канала 5 для отвода хладагента, каналов 6 для подачи в расплав дутья, который оканчивается соплом 7, и концентрических ребер 8 на ее торцевой поверхности, фурма устанавливается в гнездо кессона 9.
Фурма работает следующим образом.
Вода на охлаждение корпуса 1 подается через патрубок 4 в наружный канал 3 между корпусом 1 и разделительной перегородкой 2. Проходя через канал 3, вода охлаждает наиболее термически напряженную торцевую часть фурмы, попадает во внутренний канал 5 и уходит через патрубок отработанной воды (не показан).
Дутье (воздух, воздух, обогащенный кислородом в смеси с углеродистым топливом и без него, и т.д.) подается через канал 6 и сопло 7.
Охлаждаемая водой торцевая часть фурмы, соприкасающаяся с расплавом (при плавке сульфидного сырья в печи ПЖВ – со шлакоштейновой эмульсией и с силикатным расплавом при сжигании угля и переработке золошлаковых отходов в топке сжигания топлива в расплаве) и оснащенная концентрическими ребрами 8, надежна защищена слоем гарнисажа, который за счет ребер 8, указанной геометрии, плотно и надежно защищает ее от разрушения.
Изменения геометрии ребер по любому из параметров (высоте, ширине или расстоянию между ребрами) приводит к снижению срока службы фурмы.
Уменьшение высоты ребер торца фурмы менее 0,08 наружного ее диаметра приведет к постоянному срыву гарнисажа, что снизит эксплуатационную надежность работу фурмы. Увеличение высоты ребер торца фурмы более 0,15 ее наружного диаметра приведет к интенсивному разгару ребер до их оптимальной высоты, при которой они эффективно охлаждаются циркулирующим хладагентом в полости фурмы. Следует отметить, что охлаждение ребер идет за счет высокой теплопроводности меди, из которой изготавливается фурма.
Уменьшение толщины ребер менее 0,04 наружного диаметра фурмы приведет к снижению их механической прочности, а увеличение толщины ребер более 0,08 наружного диаметра фурмы приведет к уменьшению количества ребер и снижению эффективности охлаждения торца фурмы за счет количества гарнисажа, удерживаемого этими ребрами.
Уменьшение расстояния между ребрами менее 0,04 наружного диаметра фурмы приведет к снижению массы гарнисажа на торце фурмы, который обеспечивает надежную и безопасную ее эксплуатацию.
Увеличение расстояния между ребрами более 0,10 наружного диаметра фурмы приведет к снижению количества ребер на торце фурмы, что снизит эффективность его охлаждения за счет периодического срыва гарнисажа.
Соблюдение уменьшения расстояния между каждым последующим ребром на величину 0,0045-0,01 наружного диаметра фурмы, считая от каждого предыдущего расстояния между ребрами, позволяет эффективно расположить концентрические ребра на торце фурмы, что увеличивает надежную и безопасную работу фурмы.
Два экспериментальных образца одновременно испытаны в промышленных условиях наравне с фурмами-прототипами. Промышленные исследования проведены в течение 50 суток с измерением исследуемых параметров через два часа.
Каждый параметр, приведенный в таблице, является среднеарифметическим значением, набранным за декаду (120 измерений).
У фурмы-прототипа и предлагаемой конструкции неизменными оставались три параметра – расход воды на охлаждение фурмы, расход природного газа и температура расплава (с разницей 5-15°С между двумя соседствующими значениями). При увеличении дутья с 1050 до 1600 нм3/ч (на 52,4%) у фурмы-прототипа тепловая нагрузка возросла с 180000 до 578500 ккал/м2ч (в 3,21 раза) и фурма работает на гране возможного.
При работе барботажного плавильного агрегата с боковой продувкой расплава при звуковых и сверхзвуковых скоростях (W0) отмечается повышенная тепловая нагрузка на торцы фурмы и их износ из-за возникновения так называемых обратных гидроаэродинамических ударов, за счет которых срывается гарнисаж с их торца.
Фурмы предлагаемой конструкции отличались друг от друга лишь высотой ребер – у первой высота ребра 28,8 мм, у второй – 36 мм. Торцы обеих фурм были оснащены шестью ребрами толщиной 10 мм. Расстояние между первым и вторым ребрами составляло 10 мм, между вторым и третьим ребрами 8,9 мм, между третьим и четвертым 7,8 мм, между четвертым и пятым 6,7 мм и между пятым и шестым ребрами 5,8 мм. Уменьшение расстояния между ребрами (считая от первого наружного ребра) увеличивает количество ребер, идущих к дутьевому соплу фурмы.
Повышенная высота ребер по сравнению с фурмой-прототипом и уменьшение расстояния между ребрами, особенно у трех внутренних ребер, гарантированно защищает торец фурмы от обратных гидроаэродинамических ударов, не позволяя срывать гарнисаж между ребрами и на тороидальной поверхности торца фурмы, а следовательно повышать тепловую нагрузку.
Сказанное выше убедительно аргументируется работой второй фурмы с высотой ребра 36 мм (см. таблицу).
Таким образом, по сравнению с прототипом, предлагаемая конструкция фурмы обеспечивает долговременную и безопасную работу.
| Промышленные испытания фурмы-прототипа и предлагаемой конструкции |
| Тип фурмы |
Расход воды на охлаждение фурмы, м3/ч |
Расход воздуха, нм3/ч |
Расход кислорода, нм3/ч |
Расход природного газа, нм3/ч |
Общий расход дутья, нм3/ч |
Тепловая нагрузка на торец фурмы, ккал/м2ч |
Температура расплава в зоне факела фурмы, °С |
| Фурма-прототип |
3,2 |
600,0 |
350,0 |
100,0 |
1050,0 |
180000,0 |
1285,0 |
|
3,2 |
700,0 |
350,0 |
100,0 |
1150,0 |
215000,0 |
1290,0 |
|
3,2 |
750,0 |
370,0 |
100,0 |
1220,0 |
250000,0 |
1300,0 |
|
3,2 |
830,0 |
400,0 |
100,0 |
1330,0 |
300000,0 |
1300,0 |
|
3,2 |
950,0 |
450,0 |
100,0 |
1500,0 |
418000,0 |
1320,0 |
|
3,2 |
1050,0 |
450,0 |
100,0 |
1600,0 |
578500,0 |
1340,0 |
| Фурмы предлагаемой конструкции: |
 |
 |
 |
 |
 |
 |
 |
| 1-ая фурма: H=0,12; B=0,05; L=0,0417 |
3,2 |
600,0 |
350,0 |
100,0 |
1050,0 |
147600,0 |
1285,0 |
|
3,2 |
830,0 |
400,0 |
100,0 |
1330,0 |
160270,0 |
1300,0 |
|
3,2 |
1050,0 |
450,0 |
100,0 |
1600,0 |
189480,0 |
1340,0 |
|
3,2 |
1100,0 |
500,0 |
100,0 |
1700,0 |
208150,0 |
1315,0 |
|
3,2 |
1250,0 |
550,0 |
100,0 |
1900,0 |
231730,0 |
1325,0 |
| 2-ая фурма: H=0,15; B=0,05; L=0,0417 |
3,2 |
600,0 |
350,0 |
100,0 |
1050,0 |
129700,0 |
1285,0 |
|
3,2 |
830,0 |
400,0 |
100,0 |
1330,0 |
146400,0 |
1300,0 |
|
3,2 |
1050,0 |
450,0 |
100,0 |
1600,0 |
159380,0 |
1340,0 |
|
3,2 |
1100,0 |
500,0 |
100,0 |
1700,0 |
176840,0 |
1315,0 |
|
3,2 |
1250,0 |
550,0 |
100,0 |
1900,0 |
193800,0 |
1325,0 |
Формула изобретения
Горизонтальная фурма для продувки расплава, содержащая корпус с полостью для хладагента, разделительную перегородку и трубопроводы для подвода и отвода хладагента, отличающаяся тем, что на торце корпуса фурмы выполнены концентрические ребра, высота которых равна 0,08-0,15, толщина 0,04-0,08, а расстояние между первым и вторым наружными ребрами составляет 0,04-0,10 наружного диаметра фурмы, причем каждое последующее расстояние между ребрами меньше на величину 0,0045-0,01 наружного диаметра фурмы, в сравнении с предыдущими расстояниями между ними.
РИСУНКИ
|
|