|
|
(21), (22) Заявка: 2008113498/13, 07.04.2008
(24) Дата начала отсчета срока действия патента:
07.04.2008
(46) Опубликовано: 20.05.2009
(56) Список документов, цитированных в отчете о поиске:
US 2002/0146816 A1, 10.10.2002. RU 2099412 C1, 20.12.1997. RU 2223312 C1, 02.10.2004. US 6632657, 14.10.2003. RU 1331888 A1, 23.08.1987.
Адрес для переписки:
630090, г.Новосибирск, ул. Золотодолинская, 19, кв.27, Ю.А.Рамазанову
|
(72) Автор(ы):
Репков Андрей Петрович (RU), Рамазанов Юрий Ахметович (RU)
(73) Патентообладатель(и):
Репков Андрей Петрович (RU), Рамазанов Юрий Ахметович (RU)
|
(54) ВИХРЕВОЙ РЕАКТОР ДЛЯ ПРОВЕДЕНИЯ БИОТЕХНОЛОГИЧЕСКИХ ПРОЦЕССОВ В УСЛОВИЯХ МИКРОГРАВИТАЦИИ
(57) Реферат:
Изобретение относится к устройствам для проведения биотехнологических процессов, в частности для культивирования клеток тканей и микроорганизмов в условиях микрогравитации, и может быть использовано в космической биотехнологии. Биореактор содержит полый цилиндрический корпус, закрытый с торцов съемными дисками, системы подачи и удаления питательной среды, аэрирующего газа и удаления целевого продукта, и продуктов метаболизма клеток или микроорганизмов, блок контроля и управления за технологическим процессом культивирования. Внутри цилиндрического корпуса и соосно ему установлена неподвижная цилиндрическая перегородка. Внутри перегородки на оси с возможностью вращения установлена подвижная цилиндрическая перегородка с образованием коаксиально расположенных осевого, внутреннего кольцевого и внешнего кольцевого каналов. Крыльчатка побудителя циркулирующего потока газа из осевого во внешний кольцевой канал и обратно с приводом ее вращения расположена на валу с торца корпуса перед неподвижной и подвижной цилиндрическими перегородками. Неподвижный завихритель газового потока в осевом канале размещен на оси подвижной цилиндрической перегородки с другого торца корпуса. С торцов цилиндрическая подвижная перегородка имеет раструбы с кольцевыми буртиками для образования с внешней ее стороны газонакопительной кольцевой полости. Соосно неподвижной цилиндрической перегородке и к ее торцам прикреплены фланцы с кольцевыми коническими элементами, установленными с зазорами относительно раструбов подвижной цилиндрической перегородки. Во внутреннем кольцевом канале между подвижной и неподвижной цилиндрическими перегородками размещены лопатки, выполненные в виде винта Архимеда и прикрепленные к наружной поверхности подвижной перегородки. Аэратор системы подачи и удаления аэрирующего газа содержит перфорированные трубчатые элементы, равномерно расположенные вблизи неподвижной цилиндрической перегородки с зазором относительно ее внутренней поверхности. Изобретение обеспечивает повышение производительности процесса культивирования и улучшает массообменные характеристики. 3 з.п. ф-лы, 2 ил.
Изобретение относится к устройствам для проведения биотехнологических процессов, в частности для культивирования клеток тканей и микроорганизмов в условиях отсутствия силы земной гравитации, и может быть использовано в космической биотехнологии.
Известен биореактор для культивирования культур клеток на микроносителях в условиях микрогравитации (патент США 5002890, МПК С12М 3/06, опубл. 26.03.1991). Биореактор содержит вертикальную осесимметричную камеру, в которой соосно установлено с возможностью вращения фильтрующее устройство, вокруг которого расположены с возможностью вращения гибкие мембраны. Жидкая питательная среда поступает в камеру с клетками, иммобилизованными на микроносителях, через фильтрующее устройство из замкнутой системы подготовки питательной среды и ее аэрации. Аэрация питательной среды газообразными компонентами производится перфузионно через полупроницаемую мембрану. Выпуск использованной среды производится в ту же замкнутую систему. В замкнутой системе входные и выходные параметры считываются датчиками, посредством которых добавляются питательные вещества и регулируется рН, а также подается кислород, удаляется двуокись углерода и устраняются пузырьки газа. Указанная система находится под управлением и контролем микропроцессора. Данная конструкция биореактора предназначена для работы в условиях невесомости.
Однако такое устройство сложно как конструктивно, так и в процессе эксплуатации и имеет низкие массообменные характеристики вследствие перфузионного способа аэрации суспензии клеток.
Известен биореактор, предназначенный для эксплуатации в условиях микрогравитации (патент США 5846817, МПК С12М 1/06, опубл. 08.12.1998), включающий, по крайней мере, одну камеру для культивирования клеток, систему подачи кислорода и устройство для перемешивания культуры клеток. Перемешивающее устройство установлено в камере и выполнено в виде двух соосно расположенных спиральных перегородок с зазором относительно друг друга и стенок камеры. Одна из перегородок снабжена приводом вращения.
Однако, несмотря на работоспособность такой конструкции в условиях микрогравитации, она имеет низкую эффективность перемешивания и газообмена.
Наиболее близким аналогом (прототипом) является биореактор с дистанционным управлением для культивирования клеток как на земле, так и при слабой гравитации (заявка на патент США 2002/0146816, МПК С12М 1/00, опубл. 10.10.2002), который содержит цилиндрическую емкость с приводом ее вращения на оси и систему, обеспечивающую поступление свежей или рециркулирующей жидкости и удаление по выбору использованной среды, подлежащей рециркуляции или фильтрации, или нефильтрованной среды для сбора образцов. Емкость биореактора включает две крышки, наливные отверстия и полимерный фильтр. Система газообмена между культуральной средой и внешними газами включает газопроницаемый трубопровод необходимой длины, перистальтический насос и полимерную емкость для хранения свежей среды. Полимерная емкость и перистальтический насос используются для дозированной подачи, перфузии или забора образцов. Корпус биореактора и трубопровод имеют дополнительный уровень биохимической защиты. Все прижимные клапаны для периодического сбора образцов взвешенных клеток или бесклеточной среды размещаются в корпусе вместе с системой контроля влажности, состоящей из полимерной пористой матрицы и вентилятора. Компьютерная программа с графическим пользовательским интерфейсом для автоматического и/или роботизированного контроля всех функций, включающих, главным образом, вращение емкости реактора, подачу свежей среды, рассчитанный по времени сбор образцов жидкости из реактора, выбор между сбором клеток или бесклеточной жидкости. В целом такая конструкция также работоспособна в условиях невесомости.
Однако такое устройство имеет низкую производительность, т.к. предназначено для культивирования клеток в небольшом объеме питательной среды, и имеет низкие массообменные характеристики вследствие перфузионного способа аэрации суспензии клеток.
Техническим результатом предлагаемого изобретения является повышение производительности процесса культивирования культур клеток или микроорганизмов за счет улучшения массообменных характеристик между жидкой и газообразной фазами путем обеспечения газовихревой аэрации жидкой фазы непосредственно в емкости биореактора и совмещения его с процессом перемешивания суспензии указанных биообъектов.
Указанный технический результат достигается тем, что вихревой реактор для проведения биотехнологических процессов в условиях микрогравитации согласно изобретению включает полый цилиндрический корпус, закрытый с торцов съемными дисками, системы подачи и удаления питательной среды, аэрирующего газа и удаления целевого продукта и продуктов метаболизма клеток или микроорганизмов и блок контроля и управления за технологическим процессом культивирования, причем внутри цилиндрического корпуса биореактора и соосно ему установлены неподвижная цилиндрическая перегородка и внутри нее на оси с возможностью вращения подвижная цилиндрическая перегородка с образованием коаксиально расположенных осевого, внутреннего кольцевого и внешнего кольцевого каналов, крыльчатка побудителя циркулирующего потока газа из осевого во внешний кольцевой канал и обратно с приводом ее вращения, расположенная на валу с торца корпуса перед неподвижной и подвижной цилиндрическими перегородками, неподвижный завихритель газового потока в осевом канале, размещенный на оси подвижной цилиндрической перегородки с другого торца корпуса, кроме того, с торцов цилиндрическая подвижная перегородка имеет раструбы с кольцевыми буртиками для образования с внешней ее стороны газонакопительной кольцевой полости, соосно неподвижной цилиндрической перегородке и к ее торцам прикреплены фланцы с кольцевыми коническими элементами, установленными с зазорами относительно раструбов подвижной цилиндрической перегородки, во внутреннем кольцевом канале между подвижной и неподвижной цилиндрическими перегородками размещены лопатки, выполненные в виде винта Архимеда и прикрепленные к наружной поверхности подвижной перегородки.
Аэратор системы подачи и удаления аэрирующего газа дополнительно содержит перфорированные трубчатые элементы, равномерно расположенные вблизи неподвижной цилиндрической перегородки с зазором относительно ее внутренней поверхности.
Перед крыльчаткой побудителя потока воздуха радиально расположена эжекционная трубка, один конец которой размещен в приосевой зоне крыльчатки, а другой загнутый конец – в газонакопительной кольцевой полости, образованной с наружной стороны стенками подвижной цилиндрической перегородки.
Привод вращения крыльчатки побудителя циркулирующего потока газа из осевого во внешний кольцевой канал и обратно расположен снаружи корпуса биореактора и кинематически связан с крыльчаткой через магнитную муфту.
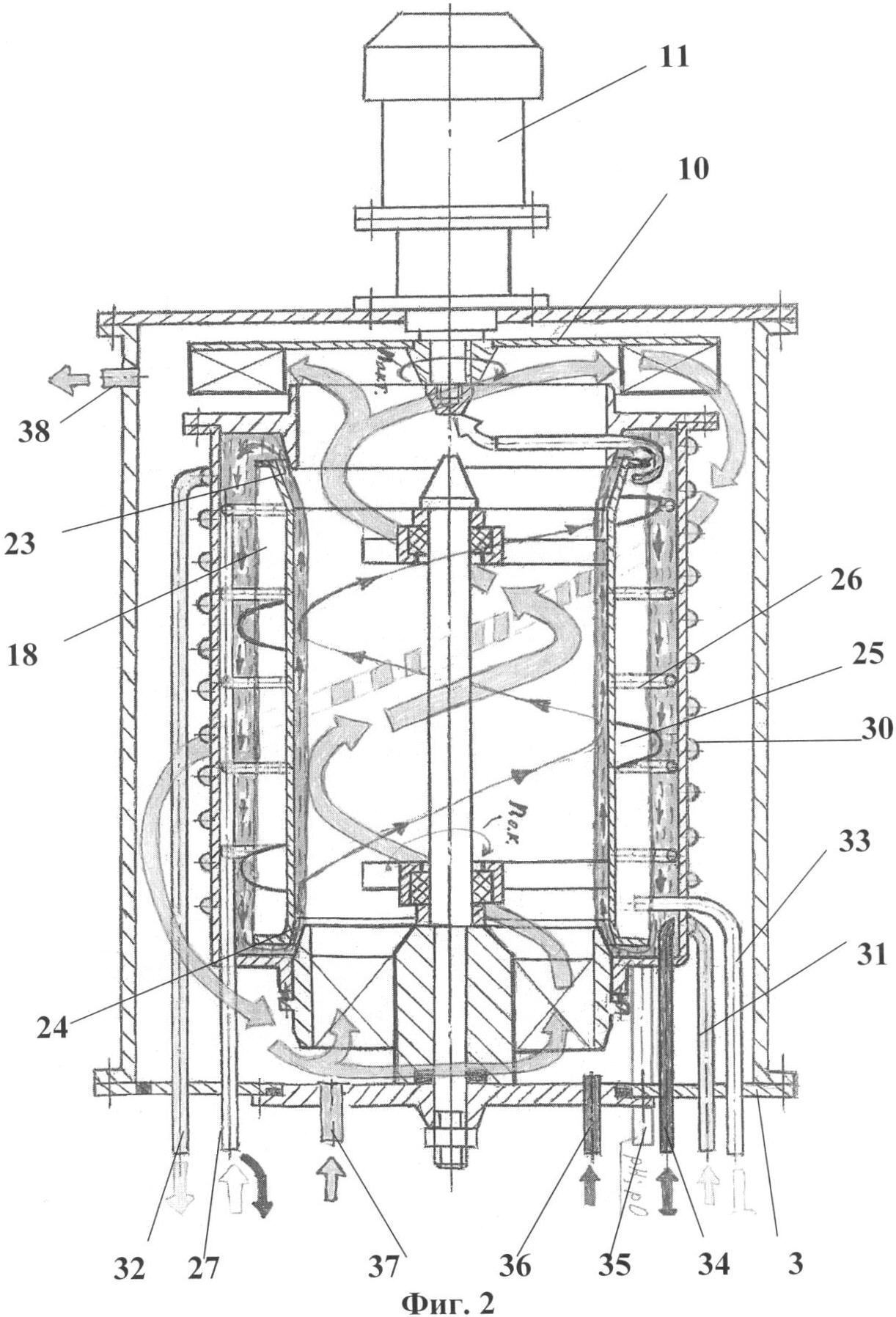
Изобретение поясняется следующими графическими материалами. На фиг.1 представлена схема вихревого биореактора в разрезе. На фиг.2 – то же, с изображением схемы перемещения потоков газа и жидкости.
Вихревой реактор для проведения биотехнологических процессов в условиях микрогравитации включает полый цилиндрический корпус 1 биореактора, закрытый с торцов съемными дисками 2 и 3, систему подачи и удаления питательной среды, систему подачи аэрирующего газа и удаления целевого продукта и продуктов метаболизма клеток или микроорганизмов и блок контроля и управления за технологическим процессом культивирования (не показано). Внутри цилиндрического корпуса 1 биореактора и соосно ему установлены неподвижная цилиндрическая перегородка 4 и внутри нее на оси 5 с возможностью вращения – подвижная цилиндрическая перегородка 6 с образованием коаксиально расположенных осевого, внутреннего кольцевого и внешнего кольцевого каналов 7, 8 и 9 соответственно. Центробежная крыльчатка 10 побудителя циркулирующего потока газа из осевого 7 во внешний кольцевой канал 9 и обратно имеет привод 11 вращения и расположена на валу 12 с торца корпуса 1 перед неподвижной и подвижной цилиндрическими перегородками 4 и 6. Неподвижный завихритель 13 газового потока в осевом канале 7 размещен на оси 5 подвижной цилиндрической перегородки 6 с другого торца корпуса 1. С торцов цилиндрическая подвижная перегородка 6 имеет раструбы 14 и 15 с кольцевыми буртиками 16 и 17 для образования с внешней ее стороны газонакопительной кольцевой полости 18. Соосно неподвижной цилиндрической перегородке 4 и к ее торцам прикреплены фланцы 19 и 20 с кольцевыми коническими элементами 21 и 22, установленными с образованием кольцевых зазоров 23 и 24 относительно раструбов 14 и 15 подвижной цилиндрической перегородки 6. Во внутреннем кольцевом канале 8 между подвижной 6 и неподвижной 4 цилиндрическими перегородками размещены лопатки 25, выполненные в виде винта Архимеда и прикрепленные к наружной поверхности подвижной перегородки 6. Аэратор системы подачи и удаления аэрирующего газа содержит перфорированные трубчатые элементы 26, равномерно расположенные вблизи неподвижной цилиндрической перегородки 4 с зазором относительно ее внутренней поверхности. Трубчатые элементы 26 могут быть выполнены в виде колец, установленных равномерно вокруг подвижной перегородки 6 и подсоединенных к трубопроводу 27 подачи аэрирующего газа, конец которого выведен через стенку торцевого диска 3 корпуса 1.
Перед крыльчаткой 10 побудителя потока воздуха радиально расположена эжекционная трубка 28, один конец которой размещен в приосевой разреженной зоне крыльчатки 10, а другой ее загнутый конец – в газонакопительной кольцевой полости 18.
Привод 11 вращения крыльчатки 10 побудителя циркулирующего потока газа из осевого 7 во внешний кольцевой канал 9 и обратно расположен снаружи корпуса 1 биореактора и кинематически связан с крыльчаткой 10 через магнитную муфту 29. Вокруг внешней поверхности неподвижной перегородки 4 расположен винтовой трубопровод 30, концы 31 и 32 которого для подачи и отвода теплоносителя выведены через диск 3 корпуса 1.
Кроме того, через диск 3 корпуса 1 пропущены: трубка 33 для отвода отработанного аэрирующего газа, загнутый конец которого размещен в газонакопительной полости 18; трубка 34 для подачи питательной среды и удаления готового продукта и трубка 35 для ввода датчиков контроля размещены во внешнем кольцевом канале 9 вблизи внутренней поверхности неподвижной перегородки 4; трубки 36 и 37 для подачи в биореактор газообразных компонентов (воздуха, СО2, О2), концы которых размещены в осевом канале 6 перед завихрителем 13 газового потока. Трубка 38 для отвода воздуха из газового потока пропущена через цилиндрическую стенку корпуса 1 и размещена напротив крыльчатки 10 побудителя газового потока.
Работа вихревого биореактора в условиях микрогравитации (отсутствия силы земной гравитации) осуществляется следующим образом. Трубки 27, 31, 32, 34, 36-38 биореактора подключают к соответствующим емкостям с жидкой питательной средой, газообразными компонентами и емкостям для сбора готового продукта и продуктов метаболизма биообъектов (не показаны) при помощи гибких шлангов и быстроразъемных соединений и устанавливают контрольно-измерительные датчики через трубку 35. Все оборудование подвергают стерилизации, после чего контрольно-измерительные датчики и электропривод 11 подключают к системам питания и управления, выполненным на базе персонального компьютера. Далее включают электропривод 11, который вращает центробежную крыльчатку 10, нагнетающую вихревой газовый поток при повышенном давлении во внешний кольцевой канал 9. Из канала 9 газовый поток поступает к завихрителю 13, поворачиваясь на 180 градусов, и увеличивает свою угловую скорость вращения за счет уменьшения радиуса вращения, перемещаясь по осевому каналу 7. При этом формируется циркулирующий аэрирующий поток газа из осевого 7 во внешний кольцевой канал 9 и обратно. Завихритель 13 газового потока в осевом канале 7 дополнительно закручивает этот поток, что способствует быстрому приведению во вращение подвижной перегородки 6 с лопатками 25 на оси 5 в ту же сторону, что и поток газа в осевом канале 7. Свободное вращение перегородки 7 уменьшает потери на трение при движении как газовой, так и жидкой фазы. Через трубку 34 подают жидкую питательную среду во внутренний кольцевой канал 8. По мере накопления жидкой питательной среды она захватывается вращающимися лопатками 25, приводится во вращение вокруг оси цилиндрического корпуса 1, отбрасывается за счет центробежной силы к внутренней поверхности неподвижной перегородки 4 с образованием слоя жидкости, который одновременно с вращательным движением совершает поступательное движение к кольцевому зазору 24. Вблизи кольцевого зазора 24 на жидкость будет действовать подпор от вращающихся лопаток 25 и со стороны кольцевого зазора 24 эжектирующий эффект скоростного напора газового вихря в осевом канале 7. Жидкость поступает через кольцевой зазор 24 на внутреннюю поверхность вращающейся перегородки 6 и по спиральной траектории (для отдельно рассматриваемых частиц) перемещается по указанной поверхности в виде слоя в сторону центробежной крыльчатки 10 и к кольцевому зазору 23, который является ловушкой, принимающей циркулирующую жидкость. Для исключения потерь жидкой питательной среды за кольцевым зазором 23 в газонакопительной полости 18 создается посредством эжекционной трубки 28 пониженное давление, равное давлению на входе центробежной крыльчатки 10. За счет пониженного давления осуществляется подсос жидкости через кольцевой зазор 23 и облегчается поступление жидкости во внутреннюю кольцевую полость 8. Таким образом, происходит постоянная циркуляция пленочного слоя жидкой питательной среды вокруг вращающейся цилиндрической перегородки 6. Толщина пленочного слоя циркулирующей жидкости и ее безотрывное течение (без образования и отрыва капель) может регулироваться изменением числа оборотов крыльчатки 10, а также изменением ширины кольцевых зазоров 23 и 24. Поскольку частицы жидкости вращаются вокруг оси корпуса 1 как во внутреннем кольцевом канале 8, так и в осевом канале 7, то пленочное течение жидкости будет иметь место в обоих указанных каналах 7 и 8. Согласно уравнению неразрывности течения жидкости при одинаковом ее расходе скорости продольных течений будут обратно пропорциональны площадям сечений обоих кольцевых потоков жидкости. После установления циркуляции пленочного слоя жидкой питательной среды вокруг вращающейся цилиндрической перегородки 6 через трубку 34 вводят посевную дозу культур выращиваемых клеток или микроорганизмов. Аэрацию суспензии клеток или микроорганизмов в питательной среде осуществляют за счет перемешивания лопатками 25 питательной среды, насыщаемой газом в осевом канале 7. Если культивируемые биообъекты требуют повышенное содержание газа в питательной среде, то газ дополнительно подают через аэратор системы подачи и удаления аэрирующего газа, содержащий перфорированные трубчатые элементы 26, подсоединенные к трубопроводу 27 подачи аэрирующего газа. Трубчатые элементы 26 дополнительно служат турбулизаторами потока жидкости. Пузырьки газа, образующиеся в процессе аэрации и жизнедеятельности микроорганизмов, перемещаются в направлении против действующей центробежной силы, т.е. в сторону оси корпуса 1, образуя на внешней цилиндрической поверхности подвижной перегородки 6 кольцевую газовую полость 18, ограниченную с торцов буртиками 16 и 17. Подача газа производится через трубку 37 (в зоне разряжения), а вывод – через трубку 38 (зона повышенного давления). Удаление отработанного газа производится через трубку 33 и частично через трубки 28 и 38. Такое расположение указанных трубок не требует специальных насосов. Поддержание оптимальной температуры культивирования производится с помощью винтового трубопровода 30, через концы 31 и 32 которого соответственно подают и отводят теплоноситель.
Заявляемая конструкция биореактора может иметь как небольшие размеры для культивирования небольшого количества биоматериала, так и большие габариты для крупномасштабного получения биоматериала в условиях космоса при отсутствии силы земной гравитации. Повышение производительности процесса культивирования культур клеток или микроорганизмов осуществляется за счет более высоких массообменных характеристик путем обеспечения одновременно перемешивания и газовихревой аэрации суспензии клеток непосредственно в емкости биореактора.
Формула изобретения
1. Вихревой реактор для проведения биотехнологических процессов в условиях микрогравитации, включающий полый цилиндрический корпус биореактора, закрытый с торцов съемными дисками, системы подачи и удаления питательной среды, аэрирующего газа и удаления целевого продукта и продуктов метаболизма клеток или микроорганизмов и блок контроля и управления за технологическим процессом культивирования, причем внутри цилиндрического корпуса биореактора и соосно ему установлены неподвижная цилиндрическая перегородка и внутри нее на оси с возможностью вращения подвижная цилиндрическая перегородка с образованием коаксиально расположенных осевого, внутреннего кольцевого и внешнего кольцевого каналов, крыльчатка побудителя циркулирующего потока газа из осевого во внешний кольцевой канал и обратно с приводом ее вращения, расположенная на валу с торца корпуса перед неподвижной и подвижной цилиндрическими перегородками, неподвижный завихритесь газового потока в осевом канале, размещенный на оси подвижной цилиндрической перегородки с другого торца корпуса, кроме того, с торцов цилиндрическая подвижная перегородка имеет раструбы с кольцевыми буртиками для образования с внешней ее стороны газонакопительной кольцевой полости, соосно неподвижной цилиндрической перегородке, и к ее торцам прикреплены фланцы с кольцевыми коническими элементами, установленными с зазорами относительно раструбов подвижной цилиндрической перегородки, во внутреннем кольцевом канале между подвижной и неподвижной цилиндрическими перегородками размещены лопатки, выполненные в виде винта Архимеда и прикрепленные к наружной поверхности подвижной перегородки.
2. Вихревой реактор по п.1, отличающийся тем, что аэратор системы подачи и удаления аэрирующего газа дополнительно содержит перфорированные трубчатые элементы, равномерно расположенные вблизи неподвижной цилиндрической перегородки с зазором относительно ее внутренней поверхности.
3. Вихревой реактор по п.1, отличающийся тем, что перед крыльчаткой побудителя потока воздуха радиально расположена эжекционная трубка, один конец которой размещен в приосевой зоне крыльчатки, а другой загнутый конец – в газонакопительной кольцевой полости, образованной с наружной стороны стенками подвижной цилиндрической перегородки.
4. Вихревой реактор по п.1, отличающийся тем, что привод вращения крыльчатки побудителя циркулирующего потока газа из осевого во внешний кольцевой канал и обратно расположен снаружи корпуса биореактора и кинематически связан с крыльчаткой через магнитную муфту.
РИСУНКИ
PC4A – Регистрация договора об уступке патента СССР или патента Российской Федерации на изобретение
Прежний патентообладатель:
Репков Андрей Петрович, Рамазанов Юрий Ахметович
(73) Патентообладатель:
Общество с ограниченной ответственностью “Центр Вихревых технологий”
Договор № РД0059088 зарегистрирован 12.01.2010
Извещение опубликовано: 20.02.2010 БИ: 05/2010
|
|