|
|
(21), (22) Заявка: 2008101273/04, 09.01.2008
(24) Дата начала отсчета срока действия патента:
09.01.2008
(46) Опубликовано: 20.05.2009
(56) Список документов, цитированных в отчете о поиске:
RU 2294358 C1, 27.02.2007. SU 1073280 A1, 15.02.1984. SU 288214 A1, 01.01.1970.
Адрес для переписки:
400059, г.Волгоград, 59, ул. Изоляторная, 2, кв.89, Г.А. Салдаеву
|
(72) Автор(ы):
Салдаев Геннадий Александрович (RU)
(73) Патентообладатель(и):
Салдаев Геннадий Александрович (RU)
|
(54) ЧИСТЯЩАЯ ПАСТА ДЛЯ ОЧИСТКИ ТВЕРДОЙ ПОВЕРХНОСТИ
(57) Реферат:
Изобретение относится к чистящей пасте для очистки твердой поверхности, содержащей сульфонол (алкилбензосульфонат натрия) 3-5 мас.%, соду кальцинированную 10-20 мас.%, отдушку 0,4-1,2 мас.%, минеральный шлам отхода белково-витаминного концентрата 22-28 мас.%, рассол природного минерала бишофит формулы MgCl2·6H2O плотностью 1,2-1,3 т/м3 4-6 мас.%, шлак сухой газоочистки плавильного производства фракции 5-100 мкм 12-18 мас.%, вода – остальное. Технический результат – повышение качества очистки поверхностей бытовой техники, обеспечение высокой степени уничтожения патогенных микроорганизмов. 1 ил., 12 табл.
Изобретение относится к препаратам бытовой химии, которые обладают расширенными эксплуатационными свойствами: чистят, дезинфицируют, снимают ржавчину, а также характеризуются антикоррозионными свойствами и могут быть использованы для чистки и санирования посудохозяйственных изделий: эмалированных, металлических, санитарно-технического оборудования (умывальников, ванн, унитазов, газовых горелок), мраморных и керамических поверхностей.
Известно чистящее средство, содержащее поверхностно-активное вещество и кальцинированную соду, в котором, с целью удешевления средства при одновременном сохранении качественных показателей, средство содержит в качестве поверхностно-активного вещества сульфонол и дополнительно оно содержит отход производства белково-витаминного концентрата на основе однозамещенных и двузамещенных фосфатов аммония при следующем отношении компонентов, мас.%:
| Сульфонол |
3-5 |
| Сода кальцинированная |
20-50 |
| Отход производства белково-витаминного концентрата |
 |
| на основе однозамещенных и |
 |
| двузамещенных фосфатов аммония |
до 100 |
(SU, авторское свидетельство 1698277. А. МПК5 4787810/04; Заявлено 20.12.1989; Опубл. 15.12.1991, Бюл.  46).
К недостаткам описанного чистящего средства относятся низкая степень очистки от ржавчины, слабая санирующая способность и высокая себестоимость продукции.
Известны чистящая паста для очистки твердой поверхности и линия для ее производства, содержащая сульфонол, соду кальцинированную, отдушку, шлам отхода производства и воду, в которой паста содержит в качестве наполнителя минеральный шлам отхода производства белково-витаминного концентрата и дополнительно рассол природного минерала бишофит формулы MgCl2·6Н2О плотностью 1,2-1,3 т/м3 при следующем соотношении компонентов, мас.%:
| Сульфонол |
3-5 |
| Сода кальцинированная |
20-50 |
| Отдушка |
0,4-1,2 |
| Минеральный шлам отхода производства |
 |
| белково-витаминного концентрата |
52-58 |
| Рассол природного минерала бишофит |
4-6 |
| Вода |
до 100 |
Известна также линия по производству чистящей пасты для очистки твердой поверхности, включающая емкость для шлама отхода производства, емкость для сульфонола, емкость для кальцинированной соды, емкость для отдушки, средства для транспортирования, смеситель, вибратор для выдачи готовой продукции, резервную и рабочие емкости для готовой продукции, шнековый дозатор, средство для фасовки и упаковки готовой продукции и транспортер выдачи чистящей пасты в упаковке, в которой она снабжена последовательно установленными в технологической цепи приемным бункером для минерального шлама – сырца отхода производства белково-витаминного концентрата, сушилкой, промежуточным бункером для высушенного шлама, дробилкой, решетным классификатором, емкостями для стандартного и нестандартного шлама, циклоном, вентилятором, руковным фильтром для сбора пылевой фракции шлама и шиберным затвором, емкостью для рассола природного минерала бишофит и емкостью для воды, гидравлически соединенными со смесителем (RU, патент 2294358. С1. МПК C11D 1/12, C11D 3/02, C11D 3/14 (2006.01). Чистящая паста для очистки твердой поверхности и линия для ее производства. / A.M.Салдаев, Н.Д.Салдаев, Ю.Г.Салдаева, Д.А.Салдаев, Г.А.Салдаев, Н.В.Кривельская (RU). – Заявка 2006107304/04; Заявлено 09.03.2006; Опубл. 27.02.2007, Бюл.  6).
К недостаткам описанной чистящей пасты для очистки твердой поверхности, принятой нами в качестве наиближайшего аналога, относятся ограниченные функциональные возможности.
Сущность заявленного изобретения заключается в следующем.
Задача, на решение которой направлено заявленное изобретение, – утилизация шлака сухой газоочистки плавильного производства ЗАО «Волгоградский металлургический завод «Красный Октябрь» (г.Волгоград, Российская Федерация) и минерального шлама – отхода производства белково-витаминного концентрата Светлоярского завода БВК ПО «Волгоградбиосинтез».
Технический результат – повышение дезинфицирующей и чистящей способности пасты.
Указанный технический результат достигается тем, что в известной чистящей пасте для очистки твердой поверхности, содержащей сульфонол, соду кальцинированную, отдушку, минеральный шлам отхода белково-витаминного концентрата и рассол природного минерала бишофит формулы MgCl2·6Н2О плотностью 1,2-1,3 т/м3, согласно изобретению, паста содержит в качестве наполнителя шлак сухой газоочистки плавильного производства фракции 5-100 мкм при следующем соотношении компонентов, мас.%:
| Сульфонол (алкилбензолсульфонат натрия) |
3-5 |
| Сода кальцинированная |
10-20 |
| Отдушка |
0,4-1,2 |
| Минеральный шлам отхода производства |
 |
| белково-витаминного концентрата |
22-28 |
| Рассол природного минерала бишофит |
4-6 |
| Шлак сухой газоочистки плавильного |
 |
| производства фракции 5-100 мкм |
12-18 |
| Вода |
Остальное |
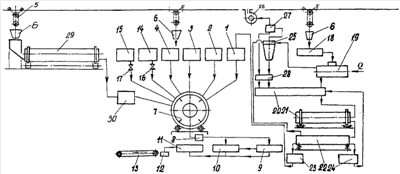
Изобретение поясняется чертежом, где схематично представлена линия по производству чистящей пасты для очистки твердой поверхности на основе минерального шлама из отхода производства белково-витаминного концентрата и шлака сухой газоочистки плавильного производства ЗАО «Волгоградский металлургический завод «Красный Октябрь».
Сведения, подтверждающие возможность реализации заявленного изобретения, заключаются в следующем.
Чистящая паста для очистки твердой поверхности содержит следующие известные компоненты: сульфонол (алкилбензолсульфат натрия), соду кальцинированную, отдушку, минеральный шлам из отхода производства белково-витаминного производства и рассол природного минерала бишофит.
Минеральный шлам из отхода производства белково-витаминного производства содержит в основном неводорастворимый остаток аммофоса. Физико-химические показатели минерального шлама представлены в таблице 1. Для повышения дезинфицирующей способности пасты в ее состав введен рассол природного минерала бишофит (bishofit) формулы MgCl2·6Н2О плотностью 1,2-1,3 т/м3. Природные залежи минерала бишофит по данным геологической разведки только в Волгоградской области оцениваются миллиардами тонн. Состав проб рассола бишофита, добытого в месторождениях Волгоградской области в солевой форме, приведен в таблице 2. Химический анализ проб и содержание в них макро- и микроэлементов представлены в таблице 3. Анализ проб рассолов бишофита из разных месторождений показан в таблице 4. Состав рассола бишофита, добытого в черте г.Волгограда, дан в таблице 5.
Заявленная паста выполнена при следующем соотношении компонентов, мас.%:
| Сульфонол (алкилбензолсульфонат натрия) |
3-5 |
| Сода кальцинированная |
10-20 |
| Отдушка |
0,4-1,2 |
| Минеральный шлам отхода производства |
 |
| белково-витаминного концентрата |
22-28 |
| Рассол природного минерала бишофит |
4-6 |
| Шлак сухой газоочистки плавильного |
 |
| производства фракции 5-100 мкм |
12-18 |
| Вода |
Остальное |
Сульфонол введен в композицию пасты в качестве бактерицида. Он относится к анионным поверхностно-активным веществам, к группе алкиларилсульфонатов. Это продукт алкилирования бензола фракцией олефинов в присутствии катализатора хлористого алюминия, представляющий собой смесь натриевых солей алкилбензолсульфокислот с алкильными остатками преимущественно нормального строения, содержащими 11-12 атомов углерода.
По внешнему виду сульфонол – жидкая паста желтовато-коричневого цвета. Содержание натриевых солей алкилбензолсульфокислот – 50-55%; сульфата натрия – около 6%; несульфированных соединений – около 1%. Сульфонол хорошо растворим в воде и спирте.
Сульфонол в предлагаемой рецептуре одновременно играет роль дезинфицирующего компонента и роль ПАВ, сообщающего композиции хорошую смачивающую и моющую способность. Кроме того, композиция с ним имеет хорошую пастозность без введения в состав рецептуры воды.
В качестве основного чистящего агента использован переработанный минеральный шлам из отхода производства микробного белка из углеводов нефти, полученного на стадии приготовления раствора питательных солей. Образование минерального шлама белково-витаминного концентрата (паприна), например Светлоярского завода по производству белково-витаминного концентрата в Волгоградской области составляет ежегодно 5000 т. В настоящее время в отвалах накопилось более 70000 т шлама-отхода. Физико-химические и теплофизические показатели минерального шлама из отхода производства белково-витаминного концентрата (паприна) и чистящей пасты на его основе показаны в таблице 6. Содержание выявленных химических элементов в сухом шламе отхода производства белково-витаминного концентрата приведено в таблице 7. Переработанные отходы в данном составе обеспечивают не только чистящий эффект, но и частично убирают неприятные пищевые запахи, которые остаются на посуде. Для усиления дезодорирующего эффекта использован рассол природного минерала бишофит, который одновременно обеспечивает санацию посуды.
Вводимая в пасту отдушка придает ей соответствующий аромат.
Показатели технического уровня пасты приведены в таблице 8.
В качестве агентов, повышающих очищающую способность ПАВ за счет диспергирующего и эмульгирующего действий, в рецептуру введен карбонат натрия (кальцинированная сода). Сода кальцинированная техническая, как компонент пасты, должна отвечать требованиям ГОСТ 5100-85.
Отходы производства белково-витаминного концентрата, не использовавшиеся и шедшие в отвал, в данном составе чистящей пасты используются в натуральном виде и не требуют дополнительной глубокой переработки. Введение в состав чистящей пасты других абразивов не требуется. В указанных отходах содержится тонкодисперсная окись кальция (до 15%), фосфора (до 13%), калия (до 4,5%), железа (до 4,4%) и азота (до 13,5%) (см. таблицу 7) с размерами частиц 20-30 мкм, которые являются хорошим абразивом. Они эластичны и способствуют механической очистке загрязненной поверхности. Кроме того, фосфаты сами являются хорошим моющим компонентом. Содержание других солей в отходах незначительно, а поэтому совершенно безвредно для человека.
Паста содержит в качестве наполнителя шлак сухой гозоочистки плавильного производства фракции 5-100 мкм от 12 до 18 мас.%. Химический состав твердого шлама из пыли сухой газоочистки электросталеплавильного цеха ЭСПЦ-1 ЗАО «Волгоградский металлургический завод «Красный Октябрь» приведен в таблице 9. Подготовленный после магнитосепарации фракционный состав шлака сухой газоочистки является наполнителем пасты, обеспечивающим удаление ржавчины и въевшейся грязи в микропоры очищаемой поверхности.
Пример. Готовят три рецептуры пасты (1, 2, 3 – см. таблицу 10) на основе отхода производства белково-витаминного концентрата и шлака из пыли сухой газоочистки. Для этого к отходам и шлаку добавляют сульфонол, соду кальцинированную, отдушку, рассол природного минерала бишофит и воду в количествах, приведенных в таблице 10, и тщательно, в течение 30 минут, перемешивают до получения гомогенной массы. Приготовленные рецептуры испытывают в сравнении с известными пастами «Санита» и «Суперксоль». Результаты испытаний физико-механических свойств приведены в таблице 11.
Приведенные данные в таблице 11 показывают, что разработанная паста имеет преимущества перед известными, поскольку очищает поверхность от ржавчины. Кроме того, паста имеет ряд других свойств, в частности дезинфицирующее, и предохраняет поверхность от коррозии.
За счет MgCl2 в рассоле бишофита паста активна в отношении бактерий возбудителей кишечных инфекций, туберкулеза, инфекций верхних дыхательных путей (дифтерия, скарлатина и др.), грибов рода Кандида, дерматофитов и вирусов (возбудителей гриппа, других острых респираторных вирусных инфекций, вирусных гепатитов, ВИЧ-инфекций, герпеса, ротавирусных гастроэнтеритов).
Линия по производству чистящей пасты для очистки твердой поверхности на основе шлака из пыли сухой газоочистки сталеплавильного производства, минерального шлама из отходов производства белково-витаминного концентрата и рассола природного минерала бишофит включает емкость 1 для сухого и просепарированного шлама в виде порошка из отхода производства белково-витаминного концентрата, емкость 2 для сульфонола, емкость 3 для соды кальцинированной, емкость 4 для отдушки, средства транспортирования 5 со сменными бадьями 6, смеситель 7, вибратор 8 для выдачи готовой продукции из смесителя 7, резервную емкость 9 для готовой пасты, рабочую емкость 10 для готовой пасты, шнековый дозатор 11, средство 12 для фасовки и упаковки готовой продукции, транспортер 13 выдачи чистящей пасты в упаковке в промежуточный склад. Резервная и рабочие емкости 9 и 10 взаимно соединены трубопроводами и насосами для перекачки пасты из одной емкости в другую или в шнековый дозатор 11.
Линия снабжена емкостью 14 для рассола природного минерала бшофит и емкостью 15 для воды. Емкости 14 и 15 соединены гидравлически через вентили 16 и 17 со смесителем 7.
Кроме описанных узлов линия снабжена приемным бункером 18 для минерального шлама-сырца отхода производства белково-витаминного концентрата, сушилкой 19, промежуточным бункером 20 для высушенного шлама, дробилкой 21, решетным классификатором 22, емкостями 23 и 24 для стандартного и нестандартного шлама, циклоном 25, вентилятором 26, рукавным фильтром 27 для сбора пылевой фракции шлама и шиберным затвором 28. Описанные узлы связаны средствами транспортирования и обеспечивают непрерывный грузопоток. Стандартный шлам из емкости 23 в дозированном количестве, согласно рецептуре в таблице 10, поступает в емкость 1.
Поставляемый шлак из пыли сухой газоочистки электросталеплавильного цеха ЭСПЦ-1 ЗАО «Волгоградский металлургический завод «Красный Октябрь» из вагонов разгружают на закрытую технологическую площадку. Шлак средствами транспортирования 5 со сменными бадьями 6 (см. технологическую схему) подают в электромагнитный сепаратор 29, а далее – транспортерами в классификатор 30 для отделения фракций шлака с размерами фракций 5-100 мкм от более крупной массы. Металлическую фракцию и крупный помол возвращают на металлургический завод в качестве шихты. Шлак с фракционным составом 5-100 мкм направляют в смеситель 7 вместе с другими компонентами.
Линия по производству чистящей пасты для очистки твердой поверхности работает следующим образом.
Шлам аммофоса отхода производства белково-витаминного концентрата поступает для производства чистящей пасты с влажностью (в зависимости от времени года) 45-58% и складируется на площадке, защищенной от осадков, для естественной сушки. Влажность шлама-сырца после естественной сушки должна быть не более 45%. Для получения пасты размер гранул в шламе не должен превышать 0,2 мм. Это обеспечит ее высокие чистящие способности и исключит абразивное повреждение очищаемых поверхностей.
Шлам отхода после естественной сушки при помощи сменной бадьи 6 и средства транспортирования 5 (электрический тельфер на рельсовом пути) в количестве 181,4 кг загружают в приемный бункер 18. Описанная линия рассчитана на 300 т в год чистящей пасты. Часовая производительность – 150 кг. Из приемного бункера 18 порция шлама-сырца поступает в сушилку 19. Теплоносителем для сушки является горячий воздух, который подается от калорифера в сушилку 19 в таком количестве, чтобы температура сушильного агрегата в зоне уплотнения шлама была не ниже +75°С. Процесс сушки порции шлама длится не более 1 часа. По мере высушивания шлама (остаточная влага не более 5%) он поступает в промежуточный бункер 20 и остывает до температуры окружающей среды.
Затем в дозированном количестве посредством шиберной заслонки сухой шлам направляется в дробилку 21. После разлома шлама масса направляется на классификатор 22. С классификатора 22 кондиционная фракция шлама с размерами зерен менее 0,2 мм поступает в переменную емкость 23 для кондиционного шлама. Некондиционная фракция шлама из переносной емкости 24 повторно направляется в промежуточный бункер 20 для повторного размола. Сухой кондиционный шлам с необходимой массой перемещается в емкость 1.
При сушке шлама-сырца вместе с отходящим теплоносителем происходит унос пылевой фракции шлама. Поэтому в рассматриваемой линии на выходе теплоносителя из сушилки 19 предусмотрены циклон 25, рукавный фильтр 27 и вентилятор 26. За счет аспирационных каналов вентилятором 26 производится отсос пылевой фракции с классификатора 22. Осевшую пыль с циклона 25 через шиберный затвор 28 возвращают в промежуточный бункер 20.
Пасту из указанных компонентов готовят следующим образом. Шлак из пыли сухой газоочистки ЭСЦП-1 и сухой кондиционный порошок шлама из емкости 1, сульфонол из емкости 2, соду кальцинированную из емкости 3 и отдушку из емкости 4 перемещают в смеситель 7 и в течение получаса подвергают сухому перемешиванию. Далее из емкостей 14 и 15 в строго дозированных количествах в смеситель 7 подают рассол бишофита и воду.
Полученную массу в течение 30 минут интенсивно смешивают до образования гомогенной массы. Готовую пасту при включенном вибраторе 8 из смесителя 7 выгружают в рабочую емкость 10 или в резервную емкость 9. Далее шнековым дозатором 11 пасту фасуют в устройстве 12 в полиэтиленовые банки массой 500 г ±5%. Каждая банка с пастой проходит весовой контроль. Упакованную продукцию транспортером 13 перемещают в промежуточный склад готовой продукции.
Химико-технологический контроль чистящей пасты на основе отхода белково-витаминных концентратов представлен в таблице 12.
Полученная таким образом паста позволяет легко очистить поверхность от загрязнения, безвредна для человека, не вызывает химического и механического разрушения очищаемой поверхности и может храниться неограниченное время. Кроме того, паста экономически более эффективна и выгодна, так как для ее изготовления используется сырье – шлак сухой газоочистки, отход производства белково-витаминного концентрата и природного минерала бишофит, не требующие переработки.
| Таблица 1 |
| Нормативы и требования к шламу отхода производства белково-витаминного концентрата |
| Показатели |
Количественное значение |
| 1. Внешний вид |
Порошок от розового до серого цвета |
| 2. Массовая доля воды, %, не более |
5 |
| 3. Массовая доля фосфоросодержащих соединений в пересчете на Р2О5, %, не более |
4 |
| 4. Показатель активности водородных ионов Н+ (рН) водного раствора шлама с массовой долей 1%,в % |
5+6 |
| 5. Гранулометрический состав, доля гранул менее 0,2 мм, % |
до 100 |
| Таблица 2 |
| Состав проб рассола выщелачивания природного минерала бишофит (bishofit), добытого в месторождениях Волгоградской области в солевой форме, г/кг |
| Наименование компонента |
Химическая формула |
Месторождение |
| Наримановское |
Городищенское |
Скважина 2-1 |
Скважина 4-11 |
| 1 |
2 |
3 |
4 |
5 |
| Бикарбонат кальция |
Са(НСО3)2 |
0,65 |
0,15 |
0,15 |
| Сульфат кальция (кальций сернокислый) |
CaSO4 |
0,80 |
1,20 |
0,80 |
| Сульфат магния (магний сернокислый) |
MgSO4 |
1,10 |
– |
– |
| Кальций хлористый |
CaCl2 |
– |
0,40 |
0,25 |
| Бромид магния |
MgBr2 |
3,50 |
4,10 |
4,00 |
| Калий хлористый |
KCl |
1,10 |
2,75 |
3,40 |
| Натрий хлористый |
NaCl2 |
7,00 |
– |
– |
| Магний хлористый |
MgCl2 |
267,2 |
325,30 |
315,00 |
| Итого: |
– |
281,35 |
333,90 |
324,20 |
| Таблица 3 |
Анализ проб рассола выщелачивания бишофита и содержание в них макро- и микроэлементов (рапа добыта в скважине 4-11 Городищенского месторождения Волгоградской области), г/кг |
| Наименование компонента |
Символ химического элемента |
Содержание |
| От |
до |
| 1 |
2 |
3 |
4 |
| Бор |
В |
0,0020 |
0,0080 |
| Кальций |
Са |
0,0030 |
0,0050 |
| Висмут |
Bi |
0,0005 |
0,0010 |
| Молибден |
Mo |
0,0005 |
0,0010 |
| Железо |
Fe |
0,0030 |
0,0300 |
| Алюминий |
Al |
0,0010 |
0,0200 |
| Титан |
Ti |
0,0005 |
0,0010 |
| Медь |
Cu |
0,0001 |
0,0030 |
| Кремний |
Si |
0,0020 |
0,2000 |
| Барий |
Ва |
0,001 |
0,0006 |
| Стронций |
Sr |
0,0010 |
0,0200 |
| Рений |
Re |
0,0001 |
0,0020 |
| Цезий |
Cs |
0,0001 |
0,0010 |
| Литий |
Li |
0,0001 |
0,0003 |
| Таблица 4 |
| Анализ проб рассола выщелачивания природного минерала бишофит, добытого в месторождениях Волгоградской области, г/кг |
| Наименование компонента |
Химическая формула |
Месторождение |
| Наримановское |
Городищенское |
Скважина 2-1 |
Скважина 4-11 |
| 1 |
2 |
3 |
4 |
5 |
| Хлор |
Cl |
203,7 |
242,00 |
233,60 |
| Сульфаты |
SO4 |
1,50 |
0,85 |
0,60 |
| Гидрокарбонаты |
НСО3 |
0,50 |
0,10 |
0,10 |
| Кальций |
Са |
0,40 |
0,50 |
0,40 |
| Магний |
Mg |
68,90 |
83,60 |
81,10 |
| Калий |
К |
0,60 |
1,40 |
1,80 |
| Натрий |
Na |
2,70 |
– |
– |
| Бор |
В |
0,06 |
– |
– |
| Стронций |
Sr |
0,0036 |
0,0019 |
0,0015 |
| Бром |
Br |
3,05 |
3,50 |
3,40 |
| Плотность, т/м3 |
– |
1,2444 |
1,3051 |
1,2948 |
| Минерализация раствора, г/л |
– |
281,35 |
331,95 |
321,00 |
| Таблица 5 |
| Состав рассола природного минерала бишофит, добытого в черте г.Волгограда |
| Наименование компонента |
Химический символ элемента |
Содержание |
| г/л |
% |
| 1 |
2 |
3 |
4 |
| Магний |
Mg |
76,0-80,0 |
25,805-25,682 |
| Кальций |
Са |
0,4-0,6 |
0,1358-0,1926 |
| Калий |
К |
4,0-5,0 |
1,0358-1,6050 |
| Натрий |
Na |
0,1-0,2 |
0,033-0,064 |
| Хлор |
Cl |
210,0-220,0 |
71,303-70,626 |
| Азот |
N |
1,6-1,8 |
0,5430-0,5778 |
| Сера |
S |
1,2-1,5 |
0,4070-0,4815 |
| Фосфор |
Р |
0,1-0,2 |
0,0340-0,0642 |
| Углекислота |
СО2 |
0,1-0,2 |
0,0340-0,0642 |
| Бром |
Br |
0,3-0,5 |
0,1020-0,1605 |
| Бор |
В |
0,05-0,08 |
0,01700-0,02568 |
| Марганец |
Mn |
0,02-0,03 |
0,0068-0,0096 |
| Кремний |
Si |
0,5-1,0 |
0,1698-0,3210 |
| Алюминий |
Al |
0,01-0,05 |
0,00340-0,01605 |
| Железо |
Fe |
0,05-0,10 |
0,0170-0,0321 |
| Стронций |
Sr |
0,01-0,10 |
0,0340-0,0321 |
| Кадмий |
Cd |
0,03-0,04 |
0,00170-0,00256 |
| Висмут |
Bi |
0,005-0,008 |
0,00170-0,00256 |
| Молибден |
Mo |
0,02-0,03 |
0,0068-0,0096 |
| Медь |
Cu |
0,001-0,004 |
0,00034-0,00128 |
| Барий |
Ba |
0,001-0,004 |
0,00034-0,00128 |
| Рубидий |
Rb |
0,001-0,002 |
0,00034-0,00064 |
| Литий |
Li |
0,005-0,008 |
0,00170-0,00256 |
| Титан |
Ti |
0,001-0,005 |
0,000340-0,001605 |
| Цезий |
Cs |
0,001-0,005 |
0,000340-0,001605 |
| Другие микроэлементы |
– |
0,006-0,008 |
0,00204-0,00256 |
| Итого: |
 |
294,515-311,477 |
– |
| Таблица 6 |
| Физико-химические и теплофизические показатели минерального шлама из отхода производства белково-витаминного концентрата и чистящей пасты на основе минерального шлама |
| Показатели |
Единица измерения |
Минеральный шлам-сырец |
Минеральный шлам после подработки в качестве компонента |
Чистящая паста |
| 1 |
2 |
3 |
4 |
5 |
| 1. Агрегатное состояние |
 |
Комкообразная легкорассыпающаяся масса. Размер гранул: На сите 5 мм – 15%; 2,5 мм – 15%; 1,25 мм – 12,5%; 0,63 мм – 25,0%; 0,315 мм – 25,0%; 0,14 мм – 6,0%; менее 0,14 мм – 1,5%. Примечание: отдельные комочки достигают 5-50 мм в диаметре, но легко рассыпаются в процессе взвешивания и просеивания |
Порошок с размером гранул менее 0,2 мм (100%) |
Чистящая паста с размерами зерен менее 0,2 мм (100%) |
| 2. Цвет |
– |
От розового до серого |
От розового до серого |
От белого до светло-серого с желтоватым оттенком |
| 3. Запах |
– |
Без запаха |
Без запаха |
Запах применяемого сырья |
| 4. Влажность |
% |
45-58 |
Не более 5 |
20,0 25,5 |
| 5. Теплота фазовых переходов |
°С |
60-70 |
– |
– |
| 6. Теплоемкость |
кал/г·град |
0,643 |
– |
– |
| 7. Угол естественного откоса: |
 |
При влажности 40% |
 |
 |
| статическое состояние |
град |
20 |
28 |
24 |
| динамическое состояние |
град |
43 |
55 |
46 |
| 8. Способность к налипанию |
– |
Налипает |
Нет |
Налипает |
| 9. Способность к комкованию |
– |
Комкуется, но комки рыхлые, легко рассыпающиеся |
Не комкуется |
Комкуется, но легко рассыпается |
| 10. Слеживаемость |
– |
Слеживается |
Не слеживается |
Не слеживается |
| 11. Замерзаемость |
– |
Замерзает при – 30°С |
Не замерзает |
Замерзает при – 30°С |
| 12. Гигроскопичность |
– |
Гигроскопичен, гигроскопическая влажность 4,8% |
Гигроскопичен, гигроскопическая влажность 4,8% |
Гигроскопичен, гигроскопическая влажность 5,4% |
| 13. Абразивные свойства |
– |
Обладает слабыми абразивными свойствами за счет присутствия механических примесей |
Не обладает |
Не обладает |
| 14. Кислотность |
ед. рН |
5-6 |
5-8 |
9,5-10,5 |
| 15. Насыпная масса: |
– |
При влажности 58% |
При влажности 58% |
При влажности 58% |
| без уплотнения |
г/см3 |
0,610 |
0,433 |
0,470 |
| с уплотнением |
г/см3 |
0,754 |
0,520 |
0,540 |
| Таблица 7 |
| Содержание выявленных элементов в сухом шламе отхода производства белково-витаминного концентрата |
| Наименование компонента |
Символ химического элемента |
Содержание данного элемента в шламе, % |
Удельная теплоемкость при 298,15 К, кал/г·град |
| 1 |
2 |
3 |
4 |
| Азот |
N |
4,9-13,3 |
0,248 |
| Фосфор |
Р |
8,0-12,4 |
0,168 |
| Калий |
К |
1,6-4,2 |
0,178 |
| Магний |
Mg |
0,4-3,1 |
0,236 |
| Железо |
Fe |
2,4-3,7 |
0,107 |
| Кальций |
Са |
2,5-15,0 |
0,157 |
| Марганец |
Mn |
0,17-0,26 |
0,114 |
| Медь |
Cu |
0,05-0,08 |
0,0916 |
| Цинк |
Zn |
0,01-0,18 |
0,0908 |
| Вода в сыром шлаке |
Н2O |
До 58 |
1,001 |
| Таблица 8 |
| Показатели технического уровня чистящей пасты |
| Показатели |
Норматив |
| 1. Внешний вид |
Паста от белого до светло-серого с желтоватым оттенком |
| 2. Запах |
Запах применяемого сырья |
| 3. Массовая доля фосфоросодержащих соединений в расчете на Р2О5,%, не менее |
2,7 |
| 4. Показатель активности водородных ионов Н+(рН) водного раствора средства с массовой долей 1%, в % |
9,5÷10,5 |
| 5. Чистящая способность, %, не менее |
95 |
| Таблица 9 |
| Химический состав твердого шлама из пыли сухой газоочистки электросталеплавильного цеха ЭСПЦ-1 ЗАО «Волгоградский металлургический завод «Красный Октябрь» |
п/п |
Наименование |
Химическая формула |
Значение, % |
| 1 |
Кремнезем |
SiO2 |
7,76 |
| 2 |
Фосфор |
Р |
0,041 |
| 2 |
Хром |
Cr общий |
1,0 |
| 4 |
Оксид алюминия |
А12О3 |
0,93 |
| 5 |
Титановые белила |
TiCh |
0,099 |
| 6 |
Окись марганца |
MnO |
2,29 |
| 7 |
Оксид кальция |
СаО |
21,3 |
| 8 |
Оксид магния |
MgO |
24,5 |
| 9 |
Оксид железа (II) |
FeO |
3.91 |
| 10 |
Оксид железа (III) |
Fe2O3 |
32,02 |
| 11 |
Фторид кальция |
CaF2 |
5,26 |
| 12 |
Оксид кальция |
Недопал СаО |
18,0 |
| Таблица 10 |
| Рецептура пасты на основе отхода производства белково-витаминного концентрата |
| Компоненты |
Содержание для пробы, мас %, для пробы |
| 1 |
2 |
3 |
| 1 |
2 |
3 |
4 |
| Сульфонол (алкилбензолсульфонат натрия) |
3 |
4 |
5 |
| Сода кальцинированная |
10 |
15 |
20 |
| Переработанный шлам отходов производства белково-витаминного концентрата |
22 |
25 |
28 |
| Отдушка |
0,4 |
0,8 |
1,2 |
| Рассол природного минерала бишофит плотностью 1,2-1,3 т/м3 |
4 |
5 |
6 |
| Шлам сухой газоочистки плавильного производства фракции 5-100 мкм |
6,0 |
12,0 |
18,0 |
| Вода |
54,6 |
38,2 |
21,8 |
| Таблица 11 |
| Сравнительные показатели чистящих паст |
| Наименование показателя |
Известная паста «Санита», по а.с. СССР 288214 |
Известная паста «Суперксоль», по а.с. СССР 1073280 |
Паста на основе шлака сухой газоочистки сталеплавильного производства и отхода производства белково-витаминных концентратов |
| 1 |
2 |
3 |
4 |
| Внешний вид |
Однородная пастообразная масса |
Однородная пастообразная масса |
Однородная пастообразная масса |
| Цвет |
Темно-серый |
Светло-серый |
От белого до светло-серого с желтоватым оттенком |
| Растворимость в воде |
Растворима в воде за исключением абразивной части |
Растворима в воде за исключением абразивной части |
Растворима в воде без образования твердого осадка |
| Температура замерзания, °С |
-30, при размораживании не теряет своих свойств |
-30, при размораживании не теряет своих свойств |
-30, при размораживании не теряет своих свойств |
| Влажность, % |
До 25 |
До 20-25 |
До 25 |
| Плотность, г/см3 |
1,36-1,42 |
1,20-1,35 |
1,18-1,27 |
| рН 1% – водного раствора |
10,0-10,5 |
10,5-10,8 |
9,5-10,5 |
| Способность к комкованию |
Комкуется при хранении на воздухе, высыхает, теряет пластичность |
Комкуется, долго не высыхает, не теряет пластичности |
Комкуется, не высыхает, пластичен |
| Токсичность |
Не токсична |
Не токсична |
Не токсична |
| Остаток после мокрого просева на сите с сеткой 0,14 мм, % |
На пемзе – 10 |
На пемзе – 5,5-5,8 |
На пемзе – 0,3-0,8 |
| Чистящая способность на эмалированной поверхности в зависимости от абразива, % |
60-70 |
60-70 |
Без абразива 95-97 |
| Норма расхода, г/м2 |
2,0 |
2,0 2,0 |
2,0 |
| Комплексный показатель качества на пемзе |
0,716 |
0,724 |
0,716 |
| Интегральный показатель качества |
0,743 |
1,084 |
1,263 |
| Эффективность действия пасты |
Снимает жировые, углеродистые, окисные загрязнения |
Снимает жировые, углеродистые, окисные загрязнения и ржавые пята |
Снимает жировые, углеродистые, окисные загрязнения, пятна |
| Дезинфицирующая способность, % |
Эффективна по отношению к грамотрицательным и грамположительным бактериям 74, 75-82, 37 |
Эффективна к патогенным микроорганизмам 83,00-91,00 |
Эффективна к патогенным микроорганизмам 99,99-100,00 |
| Наличие повреждающего действия |
Повреждает |
Повреждает |
Не повреждает |
| Комиссионная оценка, баллы |
3,82 |
4,63 |
5,00 |
Формула изобретения
Чистящая паста для очистки твердой поверхности, содержащая сульфонол, соду кальцинированную, отдушку, минеральный шлам отхода белково-витаминного концентрата и рассол природного минерала бишофит формулы MgCl2·6H2O плотностью 1,2-1,3 т/м3, отличающаяся тем, что паста содержит в качестве наполнителя шлак сухой газоочистки плавильного производства фракции 5-100 мкм при следующем соотношении компонентов, мас.%:
| Сульфонол (алкилбензосульфонат натрия) |
3-5 |
| Сода кальцинированная |
10-20 |
| Отдушка |
0,4-1,2 |
| Минеральный шлам отхода производства |
 |
| белково-витаминного концентрата |
22-28 |
| Рассол природного минерала бишофит |
4-6 |
| Шлак сухой газоочистки плавильного |
 |
| производства фракции 5-100 мкм |
12-18 |
| Вода |
Остальное |
РИСУНКИ
|
|