|
|
(21), (22) Заявка: 2007130068/04, 06.08.2007
(24) Дата начала отсчета срока действия патента:
06.08.2007
(46) Опубликовано: 20.05.2009
(56) Список документов, цитированных в отчете о поиске:
RU 2278149 C1, 20.06.2006. RU 2058372 C1, 20.04.1996. RU 2139912 C1, 20.10.1999. RU 2124392 C1, 10.01.1999. RU 2139917 C1, 20.10.1999. JP 59172591 A, 29.09.1984.
Адрес для переписки:
191015, Санкт-Петербург, ул. Кавалергардская, 6, ЗАО “Центральный научно-исследовательский и проектно-конструкторский институт морского флота”, ген.директору В.И.Пересыпкину
|
(72) Автор(ы):
Вязниковцев Евгений Васильевич (RU), Дерюгина Лидия Александровна (RU), Малишевский Владимир Евгеньевич (RU), Волосатов Олег Степанович (RU), Ярош Валерий Ильич (RU)
(73) Патентообладатель(и):
Закрытое акционерное общество “Центральный ордена Трудового Красного Знамени научно-исследовательский и проектно-конструкторский институт морского флота” (RU)
|
(54) СПОСОБ ПОЛУЧЕНИЯ ДВУХКОМПОНЕНТНОЙ ТОПЛИВНОЙ СМЕСИ ЗАДАННОЙ ВЯЗКОСТИ
(57) Реферат:
Изобретение относится к способам получения двухкомпонентных топливных смесей, когда одним из компонентов является высоковязкое нефтяное топливо (мазуты) с вязкостью 180-500 сСт при 50°С, другим – легкое дистиллятное топливо (МДО, МГО, СМТ-1, СМТ-2, дизельное) с вязкостью 5,5-14 сСт при 40°С. Описан способ получения двухкомпонентной топливной смеси ТС заданной вязкости путем определения количественного соотношения высоковязкого и маловязкого компонентов и их смешивания. Отличие состоит в том, что в нагретый до определенной температуры и постоянно циркулирующий высоковязкий компонент непрерывно вводят маловязкий компонент, одновременно воздействуя постоянным электрическим полем, при этом соотношение компонентов определяют по количеству маловязкого компонента, необходимого для получения фиксированного электрического потенциала ТС, соответствующего заданной вязкости. Технический результат – создание способа получения двухкомпонентной топливной смеси ТС заданной вязкости с высокой точностью при минимальных затратах труда и времени. 1 табл., 2 ил.
Изобретение относится к способам получения двухкомпонентных топливных смесей, когда одним из компонентов является высоковязкое нефтяное топливо (мазуты) с вязкостью 180-500 сСт при 50°С, другим – легкое дистиллятное топливо (МДО, МГО, СМТ-1, СМТ-2, дизельное) с вязкостью 5,5-14 сСт при 40°С.
Топливные смеси (ТС) применяют в судовых дизельных установках, для которых в зависимости от типа дизеля (тронковый, крейцкопфный) и числа оборотов используют ТС с вязкостью в диапазоне 14-50 сСт при 50°С. Указанные топливные смеси готовят на бункеровочных базах или на борту судна, используя смесительные установки. Необходимая для данного типа дизеля вязкость ТС зависит от вязкости и количественного соотношения исходных компонентов топлив, находящихся на борту судна или на бункеровочной базе.
Известен расчетный способ определения количественного соотношения компонентов ТС (см. Рыбак Б.М. Анализ нефти и нефтепродуктов, М.: Гостехиздат, 1962 г., с.261, 261), который сложен и неточен.
За прототип принят известный способ получения двухкомпонентной топливной смеси ТС заданной вязкости по номограммам Виноградова (см. Топлива, масла, смазки и спецжидкости для судов морского флота. РДЗ 1.2.07-2001) путем предварительного графического определения количественного соотношения высоковязкого и маловязкого компонентов для последующего их смешивания. Количественное (процентное) соотношение высоковязкого А и маловязкого В компонентов определяют по номограмме на основании известной вязкости исходных компонентов при заданной температуре, учитывая, что А+В=100%.
Недостатки прототипа следующие. Значения вязкости исходных компонентов, которые используются при расчете, берут из сертификата (паспорта) на компонент ТС. Фактическое значение вязкости может значительно отличаться от паспортных данных, а данные номограммы вносят дополнительную ошибку. Таким образом, известный способ недостаточно достоверен и неудобен в эксплуатационных условиях.
Задачей, решаемой предлагаемым изобретением, является создание способа получения двухкомпонентной топливной смеси ТС заданной вязкости с высокой точностью при минимальных затратах труда и времени.
Для достижения поставленной задачи, так же как и в прототипе, получение двухкомпонентной топливной смеси ТС заданной вязкости осуществляют путем определения количественного соотношения высоковязкого и маловязкого компонентов и их смешивания.
Отличие состоит в том, что в нагретый до определенной температуры и постоянно циркулирующий высоковязкий компонент непрерывно вводят маловязкий компонент, одновременно воздействуя постоянным электрическим полем, при этом соотношение компонентов определяют по количеству маловязкого компонента, необходимого для получения фиксированного электрического потенциала ТС, соответствующего заданной вязкости.
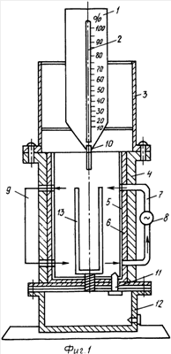
На фиг.1 изображен вариант выполнения устройства, реализующего способ.
На фиг.2 – вариант блок-схемы.
Дозатор 1 для маловязкого компонента с уровнемером 2, отградуированным в процентах к объему высоковязкого компонента, укреплен в корпусе 3 над нижней емкостью 4. Нижняя емкость 4 содержит отградуированный внутренний стакан 5 для высоковязкого компонента и нагревательный элемент 6, расположенный вокруг внутреннего стакана 5. Нижняя емкость 4 содержит также трубопровод 7 с насосом 8, с помощью которого осуществляется циркуляция смеси для равномерного смешивания компонентов, и термопара 9 для фиксирования температуры смеси. Дозатор 1 соединен с внутренним стаканом 5 с помощью первого клапана 10, а внутренний стакан 5 соединен с помощью второго клапана 11 с поддоном 12. Во внутреннем стакане 5 расположен датчик 13, на который через нагрузочный резистор 14 подают стабилизированное напряжение от источника напряжения 15. Датчик 13 соединен через компаратор 16 с индикатором 17, отградуированным в единицах вязкости. На управляющий вход компаратора 16 подают сигнал с блока управления 18, соответствующий заданной вязкости. Клапаны 10 и 11 могут быть, например, электромагнитными, а управление упомянутыми клапанами, нагревательным элементом 6 и насосом 8 осуществляют с блока управления 18. Блок управления 18 в простейшем случае – набор переключателей, управляемых вручную. При необходимости можно составить программу управления устройством.
В основу способа положено свойство высоковязкого компонента широкого фракционного состава (смесь олефинов, нафтенов, парафинов, асфальтенов, смол и др.), имеющих разветвленные молекулярные цепи, которое заключается в том, что при тепловом и механическом воздействии происходит разрыв молекулярных цепей указанного компонента с образованием на «хвостах» молекул отрицательных или положительных зарядов. Для обеспечения стабильной ориентации заряженных частиц на ТС воздействуют постоянным электрическим полем и определяют возникающее в ТС напряжение. Напряжение, возникающее в ТС, зависит от электропроводности ТС, изменяющейся с одновременно изменяющейся вязкостью ТС.
Способ осуществляют следующим образом.
Во внутренний стакан 5 наливают определенное количество высоковязкого компонента. Включают подогрев и насос 8 для циркуляции этого компонента. Одновременно в пробе топлива наводят внешнее электрическое поле посредством датчика 13, например электродов, на которые через нагрузочный резистор 14 подают стабилизированное напряжение. Открывают клапан 10, и из дозатора 1 во внутренний стакан 5 начинает поступать маловязкий компонент, который непрерывно смешивается с высоковязким компонентом. В зависимости от объема составных частей ТС изменяющееся напряжение с датчика 13 подается на один вход компаратора 16, на управляющий вход которого подают напряжение, соответствующее заданному значению вязкости. При равенстве сигналов на входах компаратора 16 с помощью блока управления происходит закрытие клапана 10. Одновременно на индикаторе отображается фактическое значение вязкости ТС. По уровнемеру 2 можно определить количество (в процентах) маловязкого компонента, необходимого для получения ТС заданной вязкости.
Таким образом, предлагаемый способ позволяет оперативно в эксплуатационных условиях получать ТС заданной вязкости без предварительного изучения вязкости исходных компонентов.
Пример 1.
Через нагрузочный резистор 14 посредством датчика 13 на получаемую топливную смесь воздействуют стабилизированным постоянным напряжением 100 В. С выхода датчика 13 снимают напряжение, которое зависит от соотношения высоковязкого и маловязкого компонентой и, следовательно, от вязкости топливной смеси. Для проведения эксперимента к датчику 13 подключают прибор – электронный вольтметр.
Ниже в таблице приведены опытные данные для различных типов высоковязкого компонента (мазута). Диапазон показаний прибора (3000-5000) мВ соответствует рабочему диапазону вязкости топливной смеси, содержащей мазут средней и повышенной вязкости, а диапазон показаний прибора (5000-7000) мВ соответствует рабочему диапазону вязкости топливной смеси, содержащей сверхтяжелый мазут М100.
| ТАБЛИЦА |
| Показания прибора, мВ |
Вязкость топливной смеси при 50°С сСт |
Содержание компонентов топливной смеси высоковязкое/маловязкое, % |
| Мазут JFO 180 |
Мазут JFO 380 |
Мазут М100 |
| 3000 |
67,0 |
75/25 |
80/20 |
 |
| 3500 |
50,0 |
60/40 |
70/30 |
 |
| 4150 |
40,0 |
40/60 |
50/50 |
 |
| 4300 |
37,5 |
30/70 |
40/60 |
 |
| 4400 |
31,0 |
29/71 |
38/62 |
 |
| 4600 |
30,0 |
27/73 |
39/61 |
 |
| 4800 |
15,2 |
10/90 |
35/65 |
 |
| 5000 |
13,4 |
8/92 |
32/68 |
 |
| 5100 |
50,0 |
 |
 |
45/55 |
| 5430 |
40,0 |
 |
 |
40/60 |
| 6100 |
30,0 |
 |
 |
38/62 |
| 6200 |
24,0 |
 |
 |
20/80 |
| 6400 |
22,1 |
 |
 |
15/85 |
| 6530 |
21,0 |
 |
 |
10/90 |
Формула изобретения
Способ получения двухкомпонентной топливной смеси с вязкостью в диапазоне 14-50 сСт при 50°С путем определения количественного соотношения высоковязкого и маловязкого компонентов и их смешивания, отличающийся тем, что в нагретый до определенной температуры и постоянно циркулирующий высоковязкий компонент непрерывно вводят маловязкий компонент, одновременно воздействуют на получаемую топливную смесь постоянным электрическим полем, при этом соотношение компонентов определяют по количеству маловязкого компонента, необходимого для получения фиксированного электрического потенциала топливной смеси, соответствующего заданной вязкости.
РИСУНКИ
|
|