|
|
(21), (22) Заявка: 2006145545/03, 21.12.2006
(24) Дата начала отсчета срока действия патента:
21.12.2006
(43) Дата публикации заявки: 27.06.2008
(46) Опубликовано: 20.05.2009
(56) Список документов, цитированных в отчете о поиске:
RU 2023826 C1, 15.09.1992. GB 2210681 A, 14.06.1989. RU 11237 U1, 01.03.1999. СОСИН Ю.П., БУХАРКИН Е.Н. Бытовые печи, камины и водонагреватели. Стройиздат. – М.: 1984, с.61.
Адрес для переписки:
121165, Москва, Г-165, а/я 15, ООО “ППФ ЮСТИС”, пат.пов. Л.С.Пилишкиной
|
(72) Автор(ы):
Мечковский Константин Игоревич (RU)
(73) Патентообладатель(и):
Мечковский Константин Игоревич (RU)
|
(54) УНИВЕРСАЛЬНЫЙ СПОСОБ ПРОИЗВОДСТВА КРУПНОРАЗМЕРНЫХ КЕРАМИЧЕСКИХ ИЗДЕЛИЙ, ТАКИХ КАК ДОМА ИЛИ ПОМЕЩЕНИЯ ИЗ ГЛИНЫ, КРУПНОРАЗМЕРНЫЕ БЛОКИ, КИРПИЧИ, ПЛИТЫ ПЕРЕКРЫТИЯ (ВАРИАНТЫ)
(57) Реферат:
Изобретение относится к промышленности стройматериалов с применением устройств и средств малой механизации промышленных кирпичеобжигательных печей непрерывного и периодического действия. Техническим результатом данного изобретения является упрощение формования изделия-сырца и ускорение процесса его обжига за счет обеспечения доступа нагретого воздуха в пустоты в изделии. В способе производства крупноразмерных керамических изделий по первому варианту изобретения, относящемуся к производству дома или иного строения из глины, и процессе строительства по толщине стены и потолка глиняного строения изнутри делают несквозные или сквозные, закрытые снаружи негорючим материалом пустоты, закрывают оконные, дверные и другие проемы и обжигают изнутри до керамического состояния обеспечением проникновения горячего газа в пустоты и равномерного разогрева толщи изделия. В способе производства крупноразмерных керамических изделий по второму варианту изобретения, относящемуся к производству крупноразмерных блоков, кирпичей, плит перекрытия, по толщине изделия делают несквозные или сквозные, закрытые сверху негорючим материалом пустоты, размещают изделие таким образом, чтобы пустоты были снизу над огнем, так что оно образует подобие потолка печи, и обжигают обеспечением проникновения горячего газа в пустоты и равномерного разогрева толщи изделия. 2 н. и 6 з.п. ф-лы, 5 ил.
Изобретение относится к промышленности стройматериалов с применением устройств и средств малой механизации промышленных кирпичеобжигательных печей непрерывного и периодического действия.
Существующий сейчас метод строительства из керамического кирпича дорогой, трудоемкий и включает в себя много рисков. Имеет место разное качество кирпича. отходы на производстве (бой, пережег, недожег), отходы при транспортировке и строительстве.
Существует способ строительства домов из самана (глина, перемешанная с соломой). Его преимущество в простоте технологии и экономичности (местное сырье). Недостаток таких домов – плохая влагостойкость и низкая несущая способность. Эти недостатки исчезнут, если строение подвергнуть термической обработке (700-4000°С), как обжигают керамику.
Существует также технология возведения домов из глины (самана) в скользящей опалубке методом наращивания стены. Ее недостаток в медленной сушке глины.0
Традиционная технология производства керамических изделий заключается в формовке кирпича-сырца, его сушке и обжиге. Однако стандартные кирпичи имеют малые размеры, и постройка дома из них весьма трудоемка и длительна.
Известен способ изготовления крупноразмерных монолитных керамических блоков и панелей с пустотами, включающий приготовление пластической массы, формирование бруса, разрезку его на сырцовые заготовки, укладку их на жаростойкий поддон, причем в первом ряду заготовки укладывают плотно друг к другу с нанесением на их соприкасающиеся места раствора в виде сметанообразной глины, а в последующем ряду заготовки укладывают поперек неплотно с образованием пустот между ними, а затем чередуют ряды до создания нужной толщины панели или блока, а затем пропускают поддон через канал обжиговой туннельной печи (см. патент РФ 2035301, опуб. 20.05.1995). Процесс укладки заготовок является длительным и трудоемким, а процесс обжига также является весьма длительным, поскольку массив заготовок большой, а образованные пустоты закрыты со всех сторон, и туда не попадает горячий воздух.
Задачей настоящего изобретения является создание такой универсальной технологии изготовления крупноразмерных керамических изделий из глины, как домов и других помещений, так и весьма крупноразмерных блоков и плит, которая позволяет осуществить быстрый и качественных обжиг и обеспечить возможность быстрого строительства.
Техническим результатом данного изобретения является упрощение формования изделия-сырца и ускорение процесса его обжига за счет обеспечения доступа нагретого воздуха в пустоты в изделии.
Технический результат достигается тем, что в способе производства крупноразмерных керамических изделий по первому варианту изобретения, относящемуся к производству дома или иного строения из глины, в процессе строительства по толщине стены и потолка глиняного строения изнутри делают несквозные или сквозные, закрытые снаружи негорючим материалом пустоты, закрывают оконные, дверные и другие проемы и обжигают изнутри до керамического состояния обеспечением проникновения горячего газа в пустоты и равномерного разогрева толщи изделия. Причем расстояния между пустотами равны 5-15 см. При обжиге предпочтительно располагать вытяжную трубу так, чтобы она начиналась в 50 см от уровня пола.
Технический результат достигается также тем, что в способе производства крупноразмерных керамических изделий по второму варианту изобретения, относящемуся к производству крупноразмерных блоков, кирпичей, плит перекрытия, по толщине изделия делают несквозные или сквозные, закрытые сверху негорючим материалом пустоты, размещают изделие таким образом, чтобы пустоты были снизу над огнем, так что оно образует подобие потолка печи, и обжигают обеспечением проникновения горячего газа в пустоты и равномерного разогрева толщи изделия, причем расстояния между пустотами равны 5-15 см.
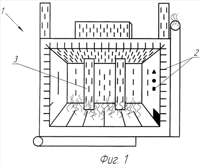
На фиг.1 показана схема обжига дома из глины.
На фиг.2 показана схема изготовления пустот в процессе формовки дома.
На фиг.3 показана схема производства крупноразмерного блока.
На фиг.4 показаны различные виды стержней, используемых для изготовления пустот.
На фиг.5 показан фрагмент крупноразмерного блока с пустотами различной формы.
Способ производства крупноразмерных керамических изделий осуществляется следующим образом.
Согласно первому варианту изобретения осуществляют возведение дома из глины в скользящей опалубке методом наращивания стены (см. фиг.2). В процессе формовки глиняного строения 1 (дом или иное помещение) по толщине стен и потолка формируют пустоты 2 – несквозные или сквозные, которые закрывают снаружи негорючим материалом. В готовом глиняном строении оконные, дверные и другие проемы также закрывают негорючим материалом. Опорами 3 для потолка могут быть металлические балки (тугоплавкие), но лучше использовать глиняные изделия (крупноразмерные кирпичи, колонны и т.п.), которые после обжига выносятся наружу (на второй этаж).
Обжиг осуществляется изнутри. На время обжига строение становится печью (камерой сгорания). Вытяжная труба начинается не с уровня потолка, а на расстоянии около 50 см от уровня пола (пода печи). Известно, что более горячий воздух поднимается вверх, а холодный опускается вниз, поэтому в трубу будет попадать не самый горячий воздух, что обеспечит экономию топлива. Труба может быть разборной, из металлических листов, асбеста и других негорючих материалов. Диаметр трубы – от 100 см, высота от 500 см в зависимости от количества топлива, сгорающего в единицу времени.
Согласно второму варианту изобретения эта же технология использована для керамических изделий неограниченных размеров и форм. Если стены в проекте дома разделить на секторы, кирпичи, блоки, эти крупноразмерные кирпичи формовать и обжигать по отдельности, то стены индивидуального дома (коттеджа) можно построить с помощью крана за один день.
В обоих вариантах изобретения пустоты делают с помощью клиньев-стержней 5 в малопластичной (крутой) глине.
При формовке дома клинья вставляют в отверстия в опалубке или в форме требуемых размеров, заполняют опалубку глиной, трамбуют. Клинья вынимают из нижнего ряда после того, как сделают верхний.
При формовке кирпичей форму заданных размеров заполняют глиной, затем в толщину изделия делают пустоты (по вертикали, сверху вниз или внизу вверх).
Пустоты могут быть несквозными, но делать их сквозными, поскольку это ускоряет сушку. Но перед обжигом сверху-снаружи их замазывают глиной или закрывают металлической крышкой (пробкой).
Клинья могут быть сменными, единичными, могут быть снабжены обхватывающими кольцами, которые предотвращают деформацию изделия при вынимании клиньев из глины. Длина и форма клиньев могут быть разнообразными (в поперечном сечении круг, квадрат или треугольник, и т.п.). Количество и форма пустот также могут быть различными. Они могут иметь наклон по вертикали и по горизонтали (10-40 град).
При большой толщине глины могут создаться такие условия, когда внутренние слои еще не обожглись, а наружные начинают трескаться и плавиться от высокой температуры. Поэтому толщина глины между пустотами не должна превышать 15 см. При этом температурная нагрузка будет распределяться более равномерно. Вариант размера кирпича: высота 70 см, толщина 40-50 см, длина 210 см. Расстояние между пустотами 10 см.
В крупноразмерных кирпичах пустоты можно также делать стационарными или передвижными прессами.
После формовки изделия 4 из глины идет сушка на воздухе с возможностью придания изделию художественного рельефа. Затем сформованное изделие 4 (кирпич, колонна, плита перекрытия) погружают на тележку (металлическую раму с колесами) и закатывают в печь 6, где идет дополнительная сушка, прогрев и обжиг.
При обжиге пустоты должны быть снизу, над огнем. Между стеной печи 6 и изделием 4 устанавливают задвижки 7 (заслонки), которые не дают горячему печному воздуху подниматься вверх. При этом обжигаемое изделие 4 образует подобие потолка печи. Обжиг происходит естественным путем, горячий газ, поднимаясь снизу вверх, проникает в пустоты и равномерно разогревает изделие 4.
При таком методе обжига можно обойтись без температурных датчиков и вентиляторов в печи. Окончание цикла обжига можно определить по изменению цвета глины. Если снаружи началось покраснение (побеление), то внутри изделие уже обожглось, и его можно перемещать из камеры обжига в камеру остывания.
При установке кирпичей на место (в строение) пустоты располагают на лицевой стороне стены, так что они видны снаружи. В обожженном изделии пустоты могут быть заполнены. Если применить отделку стен стеклянной или пластмассовой плиткой, которая пропускает солнечное излучение, то излучение нагревает воздух между стеной и плиткой. нагретый воздух проникает в пустоты в стене и прогревает толщу стены. Происходит аккумуляция тепла и экономия энергии, затрачиваемой на отопление.
Изобретение обеспечивает прочность (за счет большей монолитности) и долговечность здания при упрощении технологии и сокращении числа операций при его возведении, а также экономичность в эксплуатации.
Универсальность технологии состоит в том, что по ней можно построить и обжечь помещение, а можно использовать для обжига крупноразмерные изделия (кирпичи), которые при обжиге образуют подобие потолка печи, который может передвигаться при обжиге новых партий изделий.
Формула изобретения
1. Способ производства крупноразмерных керамических изделий, заключающийся в том, что при производстве дома или иного строения из глины в процессе строительства по толщине стены и потолка глиняного строения изнутри делают несквозные пустоты или делают сквозные, закрытые при обжиге снаружи негорючим материалом, и осуществляют обжиг до керамического состояния изнутри, так чтобы горячий газ проникал в пустоты.
2. Способ по п.1, отличающийся тем, что применяют отделку стены стеклянной или пластмассовой плиткой, пропускающей солнечное излучение для обеспечения нагрева внешней стороны стены и проникновения нагретого под плиткой воздуха в пустоты.
3. Способ по п.1, отличающийся тем, что пустоты делают с помощью клиньев-стержней под разным углом.
4. Способ по п.1, отличающийся тем, что при обжиге вытяжную трубу располагают таким образом, чтобы она начиналась в 50 см от уровня пола.
5. Способ производства крупноразмерных керамических изделий, заключающийся в том, что при производстве из глины крупноразмерных блоков, кирпичей, плит перекрытия и других изделий, предназначенных для возведения дома или иного строения, формуют изделие, по толщине которого делают несквозные пустоты или сквозные пустоты, закрытые при обжиге сверху негорючим материалом, таким образом, чтобы при установке кирпичей или блоков на место в строение пустоты находились на поверхности стены, размещают при обжиге изделие таким образом, чтобы пустоты были снизу над огнем, так что оно образует подобие потолка печи для того, чтобы горячий газ проникал в пустоты, и осуществляют обжиг до керамического состояния.
6. Способ по п.5, отличающийся тем, что при установке кирпичей или блоков на место в строение применяют отделку стены стеклянной или пластмассовой плиткой, пропускающей солнечное излучение для обеспечения нагрева внешней стороны стены и проникновения нагретого под плиткой воздуха в пустоты.
7. Способ по п.5, отличающийся тем, что пустоты делают с помощью клиньев-стержней под разным углом.
8. Способ по п.5, отличающийся тем, что при формовке изделия придают ему художественный рельеф.
РИСУНКИ
|
|