|
|
(21), (22) Заявка: 2007137329/15, 08.10.2007
(24) Дата начала отсчета срока действия патента:
08.10.2007
(46) Опубликовано: 20.05.2009
(56) Список документов, цитированных в отчете о поиске:
RU 2215698 С2, 10.11.2003. RU 2094385 С1, 27.10.1997. SU 1430356 А1, 15.10.1988. CN 1358673 А, 17.07.2002.
Адрес для переписки:
690035, г.Владивосток, а/я 35-94, ООО “Первое частное Приморское патентное агентство”, пат.пов. А.Г.Ермолинскому, рег. 626
|
(72) Автор(ы):
Беляев Владимир Павлович (RU)
(73) Патентообладатель(и):
Общество с ограниченной ответственностью “Абсорбционно-энергетические технологии” (RU)
|
(54) СПОСОБ РАЗДЕЛЕНИЯ ДИССОЦИИРОВАННЫХ ЖИДКИХ РАСТВОРОВ И УСТАНОВКА ДЛЯ ЕГО ОСУЩЕСТВЛЕНИЯ
(57) Реферат:
Изобретение относится к способам и установкам для разделения диссоциированных жидких растворов и может быть использовано в теплоэнергетике, химической промышленности, а также в других отраслях. Согласно способу разделения диссоциированного жидкого раствора, на протекающий через рабочую камеру поток жидкого раствора воздействуют электростатическим полем, наведенным поперек потока вращающимися электродами, а затем за электродами по ходу движения потока отделяют анионитную и катионитную фракции жидкого раствора. Установка для реализации способа содержит проточную камеру со стенками из диэлектрического материала, имеющую вход для подачи потока жидкого раствора с ее одного конца и выход в виде разделительного коллектора с ее другого конца; катод и анод, соответственно размещенные у двух противоположных сторон проточной камеры; средство подачи электрического потенциала для подачи разноименного электрического потенциала на электроды; выход для анионитной фракции и выход для катионитной фракции, входящие в состав разделительного коллектора. По крайней мере один электрод выполнен вращающимся, а средство подачи электрического потенциала выполнено с возможностью подавать соответствующий потенциал на ту часть вращающегося электрода, вектор линейной скорости вращения которой направлен в сторону движения потока жидкого раствора внутри проточной камеры, и снимать поданный потенциал тогда, когда вектор скорости этой части вращающегося электрода направлен в сторону выхода для соответствующей фракции. Изобретение позволяет повысить эффективность поперечного разделения ионов потока раствора для выделения из него катионитной, анионитной и нейтральной фракций под воздействием электростатического поля. 2 н. и 13 з.п. ф-лы, 2 ил.
Изобретение относится к способам и установкам для разделения диссоциированных жидких растворов и может быть использовано в теплоэнергетике, химической промышленности, а также в других отраслях, в частности для защиты окружающей среды.
Известно устройство для разделения заряженных частиц материала в жидкости [заявка JP 2002066379, опубл. 05.03.2002]. Устройство содержит пару электродов для образования электростатического поля, каждый из которых имеет подключение к источнику электрического потенциала. Между электродами расположены разделительные перегородки с отверстиями, которые образуют сообщающиеся между собой проточные коллекторы. Жидкость проходит через отверстия в перегородках из коллектора в коллектор, и под воздействием электростатического поля на перегородках оседает часть заряженных частиц материала. Оставшиеся в жидкости заряженные частицы материала движутся в направлении одного из электродов, который имеет полярность, противоположную полярности заряженных частиц материала, в результате чего частицы притягиваются к электроду и накапливаются на нем. Полученную очищенную жидкость отводят по проточным коллекторам к их выходным отверстиям. Недостатком известного устройства является его низкая производительность из-за того, что приходится делать частые технологические остановки, так как возникает необходимость периодической очистки загрязненных поверхностей перегородок и электродов от осевших на них частиц, что усложняет эксплуатацию и техническое обслуживание устройства.
Также известен способ выделения ионов кальция и магния из воды, использованной при переработке нефти [патент CN 1358673, опубл. 17.07.2002], согласно которому такое выделение осуществляют, первоначально воздействуя на водный поток магнитным полем, затем воздействуют на водный поток электростатическим полем, под воздействием которого положительные ионы притягиваются к отрицательному электроду и накапливаются на нем, а отрицательные ионы притягиваются к положительному электроду и накапливаются на нем, а очищенную воду повторно используют на полигоне для переработки нефти. Аппарат для осуществления способа содержит трубопроводы для подвода использованной и отвода очищенной воды, магниты, электроды для образования электростатического поля и выпускной коллектор для отвода ионов. Недостатком известного способа и аппарата являются сложности в определении оптимальных режимов работы в процессе выделения ионов из воды, периодическая остановка аппарата для профилактических работ по очистке поверхностей электродов от осевших на них частиц.
В качестве прототипа выбраны известные способ и устройство для разделения диссоциированных водных растворов [патент RU 2215698, опубл. 10.11.2003]. Согласно способу, разделение потока раствора на анионитную и катионитную фракции осуществляют воздействием на поток электростатическим и/или электромагнитным полем, возникающим при подключении неподвижных электродов к источнику электрического потенциала, а каждую из полученных фракций, образующихся при поперечном смещении анионов и катионов потока раствора в стороны соответствующих электродов, отводят из проточной рабочей камеры в соответствующий канал разделительного коллектора. Устройство для разделения диссоциированных водных растворов на анионитную и катионитную фракции содержит проточную рабочую камеру со стенками из диэлектрического химически стойкого материала, разделительный коллектор для отвода полученных фракций, неподвижные электроды для образования электростатического поля поперек потока раствора, подключенные к источнику электрического потенциала. Однако для концентрированных растворов эффективность такого способа достаточно низка, т.к. на границе раздела двух фаз у электрода возникает двойной электрический слой [см., например, Угай Я.А. Общая и неорганическая химия. – М., «Высшая школа», – 2002, С.174-175], благодаря чему вся рабочая поверхность электрода покрывается ионами с противоположным знаком, и такой электрод не может оказывать эффективного разделяющего воздействия на поток раствора. Известно, что смыть такой слой ионов даже турбулентным потоком не представляется возможным [см., например, Фарзане Н.Г. и др. Технологические измерения и приборы. – М., «Высшая школа», – 1989, С.345].
Технической задачей, для решения которой предлагается настоящее изобретение, является повышение эффективности поперечного разделения ионов потока раствора для выделения из него анионитной и/или катионитной фракций под воздействием электростатического поля.
Предлагается способ разделения диссоциированного жидкого раствора под воздействием электростатического поля, согласно которому организуют электростатическое поле поперек потока жидкого раствора путем размещения электродов с двух противоположных сторон потока и подачи на них разноименных потенциалов, а затем за электродами по ходу движения потока отделяют анионитную и катионитную фракции жидкого раствора со сторон потока, где размещены электроды соответствующего потенциала. Новым является то, что организуют вращение по крайней мере одного электрода вокруг своей оси так, что соответствующий потенциал подают по крайней мере на ту часть вращающегося электрода, вектор линейной скорости вращения которой направлен в сторону движения потока жидкого раствора, а затем соответствующий потенциал снимают по крайней мере тогда, когда вектор скорости этой части вращающегося электрода направлен в сторону отделения соответствующей фракции.
Вращение по крайней мере части вращающегося электрода, на которую подают соответствующий потенциал, можно организовать внутри потока.
Дополнительно, за электродами, по ходу движения потока, в его центральной части можно отделять нейтральную фракцию.
Лучше, когда организуют вращение обоих электродов таким образом, что они вращаются в противоположные стороны.
Вращение обоих электродов можно организовать внутри потока так, чтобы их части, на которые подают соответствующие потенциалы, могли перекрывать друг друга в поперечном сечении потока.
Установка для осуществления способа содержит: проточную камеру со стенками из диэлектрического материала, имеющую вход для подачи потока жидкого раствора с ее одного конца и выход в виде разделительного коллектора с ее другого конца; электроды, катод и анод соответственно, размещенные у двух противоположных сторон проточной камеры для создания электростатического поля поперек потока жидкого раствора внутри проточной камеры; средство подачи электрического потенциала для подачи разноименного электрического потенциала на электроды; выход для анионитной фракции и выход для катионитной фракции, входящие в состав разделительного коллектора и расположенные с его двух противоположных сторон, соответствующих сторонам размещения катода и анода соответственно. Новым является то, что по крайней мере один электрод выполнен вращающимся, а средство подачи электрического потенциала выполнено с возможностью подавать соответствующий потенциал по крайней мере на ту часть вращающегося электрода, вектор линейной скорости вращения которой направлен в сторону движения потока жидкого раствора внутри проточной камеры, и снимать поданный потенциал по крайней мере тогда, когда вектор скорости этой части вращающегося электрода направлен в сторону выхода для соответствующей фракции.
Разделительный коллектор может дополнительно включать выход для нейтральной фракции, размещенный между выходом для катионитной фракции и выходом для анионитной фракции.
Оба электрода могут быть выполнены вращающимися с возможностью их вращения в противоположные стороны.
Вращающийся электрод может быть установлен внутри проточной камеры и выполняться в виде диска.
Диск может быть разделен на электрически разделенные сектора, а средство подачи электрического потенциала может выполняться с возможностью подачи соответствующего потенциала на тот сектор, вектор линейной скорости вращения которого направлен в сторону движения потока жидкого раствора внутри проточной камеры, и снятия поданного потенциала по крайней мере тогда, когда вектор линейной скорости этого сектора будет направлен в сторону выхода для соответствующей фракции.
Диск может быть установлен на оси, выполненной с возможностью вращения вместе с диском, при этом средство подачи электрического потенциала на электрически разделенные сектора включает щеточный коллектор, установленный на одном из концов оси за пределами проточной камеры, причем число контактов щеточного коллектора, каждый из которых электрически соединен с одним сектором, соответствует числу электрически разделенных секторов.
Вращающийся электрод может выполняться в виде двух и более дисков, параллельно установленных на одной оси с возможностью одновременного вращения вокруг этой оси.
Оба электрода могут быть выполнены в виде вращающихся дисков с возможностью их вращения в противоположные стороны.
Лучше, если вращающиеся диски будут выполнены с возможностью их вращения в разных параллельных друг другу плоскостях с перекрытием друг друга в поперечном сечении по ходу потока жидкости внутри рабочей камеры.
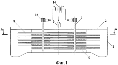
Изобретение поясняется чертежами, где на фиг.1 показан вертикальный продольный разрез установки по примеру осуществления разделения диссоциированных жидких растворов, а на фиг.2 показан горизонтальный разрез установки в уровне верхнего электродного диска.
Изобретение поясняется на примере осуществления (см. фиг.1-2).
Установка для разделения диссоциированного жидкого раствора на катионитную, анионитную и нейтральную фракции содержит корпус 1 с крышкой 2, выполненные из тестолита и образующие проточную рабочую камеру 10. С одного конца проточной рабочей камеры 10 в крышке 2 выполнен входной патрубок 3 для подачи разделяемого жидкого раствора, а с противоположного конца проточной рабочей камеры 10 выполнен разделительный коллектор, образуемый направляющими потока 11 и тремя выходными патрубками 4, 5 и 6, выполненными в крышке 2. Крайний выходной патрубок 4 предназначен для выпуска катионитной фракции, средний выходной патрубок 5 предназначен для выпуска нейтральной фракции, а другой крайний патрубок 6 предназначен для выпуска анионитной фракции. В проточной рабочей камере 10 размещено два вращающихся электрода одинаковой конструкции, один из которых является катодом, а другой анодом, выполненных в виде одинаковых дисков 8, закрепленных с зазорами параллельно друг другу, на осевых стержнях 7 с параллельными осями, по пять дисков 8 на каждый осевой стержень 7. Между дисками 8 с минимальным зазором и параллельно им расположено по два пакета неподвижных направляющих прокладок 9 из текстолита так, чтобы между двумя соседними пакетами направляющих прокладок внутри проточной рабочей камеры был образован проход между осевыми стержнями 7 от входного патрубка 3 до выходных патрубков 4, 5, 6 разделительного коллектора. Диски 8 размещены таким образом, что они перекрывают друг друга, не соприкасаясь при этом. Диски 8 имеют возможность одновременного вращения в противоположные стороны на осевых стержнях 7, например, с помощью электропривода (не показан), в направлениях, показанных на фиг.2. Каждый из дисков 8 разбит на шестнадцать секторов 12, электрически разделенных один от другого, а на концах осевых стержней 7 снаружи установлены щеточные коллекторы 13, подключаемые к соответствующим полюсам источника постоянного тока 14. Число контактов на щеточных коллекторах 13 соответствует числу секторов 12, при этом они электрически соединены по одному друг с другом.
Заявленная установка работает следующим образом.
На протекающий через проточную рабочую камеру 10 поток диссоциированного жидкого раствора воздействуют электростатическим полем, наведенным поперек потока соседними дисками 8, расположенными на различных осевых стержнях и выполняющими функцию катода и анода. При этом соответствующий электрический потенциал подают через щеточный коллектор 13 на те сектора 12 дисков 8, вектор линейной скорости вращения которых направлен в сторону движения потока жидкого раствора внутри рабочей камеры 10, и снимают поданный потенциал тогда, когда вектор линейной скорости этих секторов 12 направлен в сторону выхода соответствующей фракции разделительного коллектора. На фиг.2 знаками «+» и «-» обозначены те сектора 12, на которые в данный момент времени подан электрический потенциал. Под воздействием электростатического поля в жидком растворе происходит разделение ионов, при этом катионы смещаются к катоду, а анионы к аноду. Ионы жидкого раствора, поступившего в проточную рабочую камеру 10 через входной патрубок 3, под воздействием электростатического поля движутся к соответствующему диску 8 и закрепляются у поверхности секторов 12, на которые подан потенциал, в пограничном слое. По мере вращения диска 8, линейная скорость этих секторов 12 с закрепившимися на их поверхностях ионами начинает совпадать с направлением в сторону выхода соответствующей фракции, потенциал таких секторов 12 отключается, и жидкость с повышенным содержанием одного из ионов потоком выносится за пределы проточной рабочей камеры 10 с помощью направляющих потока 11 и выходных патрубков 4 и 6. В средней зоне потока остается главным образом нейтральная жидкость без ионов, которая выводится с помощью направляющих потока 11 и выходного патрубка 5.
Очевидно, что качество разделения жидкого раствора зависит от скорости движения потока, скорости вращения дисков 8 и потенциала электростатического поля. В случае использования электростатического поля низкого потенциала можно применять электроды, в частности в виде дисков 8 с секторами 12 без изоляции, а в случае использования высокого потенциала лучше применять электроды с изоляцией, например в виде диэлектрического покрытия поверхности секторов 12 дисков 8.
Подачу диссоциированного жидкого раствора в установку можно осуществлять с помощью насоса. Однако возможен такой подбор таких характеристик проточной камеры и вращающихся электродов, которые позволят установке одновременно выполнять и функцию насоса за счет использования энергии вращения вращающихся электродов. В частности, в приведенном выше примере, диски 8 могут служить в качестве ротора трения, для организации движения потока в проточной рабочей камере 10.
В зависимости от назначения, может использоваться несколько установок, выстроенных параллельно или последовательно в две и более ступени по катионитной фракции, нейтральной фракции или анионитной фракции. Такая схема может, например, использоваться в холодильной технике для получения чистого хладагента или высокой концентрации абсорбента и т.п.
Следует понимать, что приведенный выше пример использован только для целей иллюстрации возможности осуществления изобретения. Он не предназначен для ограничения объема правовой охраны, представленного в формуле изобретения, при этом специалист в данной области техники относительно просто способен осуществить и другие пути осуществления изобретения, помимо вышеописанных.
Формула изобретения
1. Способ разделения диссоциированного жидкого раствора под воздействием электростатического поля, согласно которому организуют электростатическое поле поперек потока жидкого раствора путем размещения электродов с двух противоположных сторон потока и подачи на них разноименных потенциалов, а затем за электродами по ходу движения потока отделяют анионитную и катионитную фракции жидкого раствора со сторон потока, где размещены электроды соответствующего потенциала, отличающийся тем, что организуют вращение по крайней мере одного электрода вокруг оси так, что соответствующий потенциал подают по крайней мере на ту часть вращающегося электрода, вектор линейной скорости вращения которой направлен в сторону движения потока жидкого раствора, а затем соответствующий потенциал снимают по крайней мере тогда, когда вектор скорости этой части вращающегося электрода направлен в сторону отделения соответствующей фракции.
2. Способ по п.1, отличающийся тем, что вращение по крайней мере части вращающегося электрода, на которую подают соответствующий потенциал, организуют внутри потока.
3. Способ по п.1, отличающийся тем, что дополнительно за электродами по ходу движения потока в его центральной части отделяют нейтральную фракцию.
4. Способ по любому из пп.1-3, отличающийся тем, что организуют вращение обоих электродов так, чтобы они вращались в противоположные стороны.
5. Способ по п.4, отличающийся тем, что вращение обоих электродов организуют внутри потока так, чтобы их части, на которые подают соответствующие потенциалы, перекрывали друг друга в поперечном сечении потока.
6. Установка для разделения диссоциированного жидкого раствора на анионную и катионную фракции, содержащая: проточную камеру со стенками из диэлектрического материала, имеющую вход для подачи потока жидкого раствора с ее одного конца и выход в виде разделительного коллектора с ее другого конца; электроды, катод и анод соответственно размещенные у двух противоположных сторон проточной камеры для создания электростатического поля поперек потока жидкого раствора внутри проточной камеры; средство подачи электрического потенциала для подачи разноименного электрического потенциала на электроды; выход для анионитной фракции и выход для катионитной фракции, входящие в состав разделительного коллектора и расположенные с его двух противоположных сторон, соответствующих сторонам размещения катода и анода соответственно, отличающаяся тем, что по крайней мере один электрод выполнен вращающимся, а средство подачи электрического потенциала выполнено с возможностью подавать соответствующий потенциал по крайней мере на ту часть вращающегося электрода, вектор линейной скорости вращения которой направлен в сторону движения потока жидкого раствора внутри проточной камеры, и снимать поданный потенциал по крайней мере тогда, когда вектор скорости этой части вращающегося электрода направлен в сторону выхода для соответствующей фракции.
7. Установка по п.6, отличающаяся тем, что разделительный коллектор дополнительно включает выход для нейтральной фракции, размещенный между выходом для анионитной фракции и выходом для катионитной фракции.
8. Установка по п.6, отличающаяся тем, что оба электрода выполнены вращающимися с возможностью их вращения в противоположные стороны.
9. Установка по п.6, отличающаяся тем, что вращающийся электрод установлен внутри проточной камеры.
10. Установка по п.9, отличающаяся тем, что вращающийся электрод выполнен в виде диска.
11. Установка по п.10, отличающаяся тем, что диск разбит на электрически разделенные сектора, а средство подачи электрического потенциала выполнено с возможностью подавать соответствующий потенциал на тот сектор, вектор линейной скорости вращения которого направлен в сторону движения потока жидкого раствора внутри проточной камеры, и снимать поданный потенциал по крайней мере тогда, когда вектор линейной скорости этого сектора направлен в сторону выхода для соответствующей фракции.
12. Установка по п.11, отличающаяся тем, что диск установлен на оси, выполненной с возможностью вращения вместе с диском, а средство подачи электрического потенциала на электрически разделенные сектора включает щеточный коллектор, установленный на одном из концов оси за пределами проточной камеры, причем число контактов щеточного коллектора, каждый из которых электрически соединен с одним сектором, соответствует числу электрически разделенных секторов.
13. Установка по п.10, отличающаяся тем, что вращающийся электрод выполнен в виде двух и более дисков, параллельно установленных на одной оси с возможностью одновременного вращения вокруг этой оси.
14. Установка по любому из пп.9-11, отличающаяся тем, что оба электрода выполнены в виде вращающихся дисков с возможностью их вращения в противоположные стороны.
15. Установка по п.14, отличающаяся тем, что вращающиеся диски выполнены с возможностью их вращения в разных параллельных друг другу плоскостях с перекрытием друг друга в поперечном сечении по ходу потока внутри рабочей камеры.
РИСУНКИ
|
|