|
|
(21), (22) Заявка: 2007116983/15, 25.05.2005
(24) Дата начала отсчета срока действия патента:
25.05.2005
(30) Конвенционный приоритет:
06.10.2004 CZ PV2004-1014
(43) Дата публикации заявки: 20.11.2008
(46) Опубликовано: 20.05.2009
(56) Список документов, цитированных в отчете о поиске:
US 2002040875 A1, 11.04.2002. DE 20122005 U1, 18.12.2003. DE 10014833 A1, 04.10.2001. SU 2233244 C1, 27.07.2004.
(85) Дата перевода заявки PCT на национальную фазу:
07.05.2007
(86) Заявка PCT:
CZ 2005/000042 20050525
(87) Публикация PCT:
WO 2006/037282 20060413
Адрес для переписки:
129090, Москва, ул. Б.Спасская, 25, стр.3, ООО “Юридическая фирма Городисский и Партнеры”, пат.пов. С.А.Дорофееву, рег. 146
|
(72) Автор(ы):
РЫЖКОВ Владислав (CZ), ЛЫСЫТЧУК Олег (CZ), ГЕГР Ярослав (CZ)
(73) Патентообладатель(и):
ЛЫСЫТЧУК Олег (CZ), ГЕГР Ярослав (CZ)
|
(54) СПОСОБ ОЧИСТКИ ЖИДКОСТЕЙ С ИСПОЛЬЗОВАНИЕМ ПОТОКА ИОНИЗИРОВАННОГО ГАЗА
(57) Реферат:
Изобретение относится к области очистки текучих жидкостей от вредных примесей и микроорганизмов и может использоваться для очистки воды. Очищаемую жидкость подвергают газодинамическому диспергированию, создаваемому с помощью потока воздуха, подаваемого в газопромывные каналы, выполненные под углом 30-50° относительно поверхности очищаемой жидкости, со скоростью 10-100 м/с при гидравлическом сопротивлении газопромывных каналов в пределах от 1,5 до 100 кПа и при удельном расходе диспергированной воды от 0,1 до 30 кг на 1 м3 подаваемого воздуха. Подаваемый в каналы поток воздуха предварительно ионизируется в неоднородном электростатическом поле коронарных разрядов, причем напряжение между электродами составляет от 3 кВ до 10 миллионов В, величина тока между электродами определяется в диапазоне от 10 до 100 мА и удельная мощность электрических разрядов находится в пределах от 0,1 до 10 кВт·ч на 1 м3 обрабатываемой жидкости. Способ обеспечивает повышение качества очистки при пониженных затратах энергии. 3 з.п. ф-лы, 2 ил.
Область техники
Изобретение относится к области очистки текучих веществ и материалов, особенно жидкостей, от вредных примесей и микроорганизмов и может использоваться для очистки воды в природных водохранилищах, а также в коммунальном хозяйстве при очистке питьевой воды или для очистки городской и промышленной воды и осадков. Способ очистки жидкостей может также применяться в области энергетики, химии и металлургии в процессах химической и физической переработки разнообразных жидких носителей, включая расплавы и газы.
Современное положение техники
Известен способ обработки воды при помощи комплексного электрического воздействия электрического поля с напряжением, достигающим величины пробойного тока от 1 до 100 кВ/см. Настоящий способ описан в публикации Яковлева С.В. и колл.: «Технология электрохимической обработки воды», Л., СТРОЙИЗДАТ, 1987, стр.207. Недостатком настоящего способа обработки воды является низкая производительность, не превышающая 40 л/час при мощности 1 кВт и затратах энергии от 1 до 5 кВт·час/м3 в зависимости от качества отработанной воды.
Известен также способ обработки воды с использованием озонизации, описанный в публикации Орлова В.А. «Озонизация воды», М., СТРОЙИЗДАТ, 1984, стр.89, где указано, что оптимальная доля озона составляет от 0,25 до 1,25 мг/л, причем использование озона и его перемешивание с водой позволяет уменьшить количество использованных коагулянтов. Применением настоящего способа можно достичь уровня очистки, соответствующего гигиеническим стандартам относительно содержания вредных бактерий и вирусов.
Очистка воды может также осуществляться электрокоагуляцией и электрофлотацией одновременно, как представлено, например, в патенте США 3822204, где жидкость проходит через описываемое оборудование над доскообразными электродами в нижней части электрофлотатора над его дном. Пузырьки электродных газов захватывают твердые частицы и выносят их на поверхность жидкости. Современная электрохимическая обработка жидкостей и электрофлотация описаны, например, в документах США 3893900 или GB 1411388, и сочетание электрохимической обработки с ионизацией, например, в документе CZ 284039.
В документе США 2002/0040875 А1 представлен способ очистки жидкостей, например воды, при котором газ проходит через корону образуемого периодически генератором электрического поля и вводится в жидкость через разбрызгивающее устройство. Воздух, проходящий через обесточенный генератор, эффективно охлаждает внутреннюю поверхность генератора. Недостатками настоящего способа являются сложность конструкции, а также факт, что все процессы происходят в режиме ламинарной диффузии, что препятствует достижению высшей производительности оборудования, не обеспечивающего комплексную очистку воды от сложных химических и органических соединений.
Далее, известен способ очистки жидкостей в соответствии с документом WO 02/48053, при котором насыщенная пузырьками газа жидкость подвергается воздействию электрического поля с целью образования ионизирующего эффекта внутри газовых пузырьков. Недостатками настоящего оборудования являются сложность конструкции и низкая производительность в результате применения режима ламинарной диффузии, так как настоящим способом невозможно сочетать воздействие динамического движения газа с электродинамическим воздействием электрического поля.
И, наконец, известно оборудование для очистки механически, органически или биологически загрязненной воды, описанное в документах DE 10014833 А1 или DE 20122005 U1, содержащее систему фильтров, насосов, ионизатор, реактор и фильтр на выходе из оборудования. Ионизационный модуль оборудования состоит из ионизирующего элемента с крупноразмерной анодной и катодной сетями и дифференциатора, в котором катодная сеть закреплена между двумя стеклянными досками. На обеих сторонах настоящих досок расположена анодная сеть. Недостатком настоящего технического решения является низкая скорость диффузии пузырьков ионизированного воздуха и химических реагентов в массе воды, происходящая в режиме ламинарной диффузии, что и приводит к низкой производительности оборудования.
Общим недостатком всех указанных выше способов и типов оборудования, предназначенных для очистки и обработки воды, является их низкая производительность, продолжительность процессов и несовершенство согласования одновременного прохождения газодинамической и электрофизической обработки жидкости.
Сущность изобретения
Представляемый способ очистки текучих веществ и материалов, особенно жидкостей, от вредных примесей и микроорганизмов с использованием потока ионизированного воздуха и воздействия электрических разрядов обеспечивает повышение качества очистки малых и больших объемов воды от вредных примесей и микроорганизмов, а также понижает рабочие расходы и затраты энергии.
Сущность изобретения заключается в том, что очищаемая жидкость подвергается газодинамическому диспергированию, создаваемому с помощью потока воздуха, подаваемого в газопромывные каналы, выполненные под углом 30-50° относительно поверхности очищаемой жидкости, со скоростью 10-100 м/с, при гидравлическом сопротивлении газопромывных каналов в пределах от 1,5 до 100 кПа и при удельном расходе диспергированной жидкости от 0,1 до 30 кг на 1 м3 подаваемого воздуха. Подаваемый в каналы поток воздуха предварительно ионизируется в неоднородном электростатическом поле коронарных разрядов, причем напряжение между электродами составляет от 3 кВ до 10 миллионов В, величина тока между электродами находится в диапазоне от 10 до 100 мА и удельная мощность электрических разрядов находится в пределах от 0,1 до 10 кВт·ч на 1 м3 обрабатываемой жидкости.
Сущность изобретения заключается также в том, что перед ионизацией в подаваемый воздух добавляются реагенты с высоким удельным сопротивлением, превышающим значения 107 Ом·см. Объем дозирования находится в диапазоне от 1 до 100 г на 1 м3 подаваемого воздуха.
Сущность изобретения заключается в том, что реагенты подобраны из группы СаО, или SiO2, или Al2O3 и подача воздуха в массу очищаемой жидкости производится при помощи высокоскоростного вентилятора.
В результате сочетания газодинамического процесса диспергирования обрабатываемой жидкости и электрофизического процесса ионизации воздуха, распыляющего очищаемую жидкость, удаляются все диффузионные ограничения скорости физических и химических реакций, происходящих в жидкой и газовой фазе. При помощи настоящего изобретения с использованием высокоактивных свободных радикалов, атомов и молекул озона, а также окисленных комплексов атомов кислорода и азота удалось создать условия, пригодные для окисления вредных примесей и разрушенной структуры микроорганизмов. Все основные технические параметры процесса, то есть скорость потока газа, регулировка уровня жидкости в использованном очистном сооружении, напряжение на электродах и интенсивность движения коронарных разрядов между электродами, легко управляемы и предлагают широкий выбор настройки рабочих режимов. Таким образом, представляемый способ можно применить и приспособить для разных объемов жидкости с разным уровнем загрязнения. Так как использованные процессы диспергирования обрабатываемой воды и ионизации подаваемого воздуха, осуществляемой при помощи коронарных разрядов между электродами, являются с точки зрения термодинамики надежными, повышается также общая надежность оборудования и одновременно понижаются требования к обслуживанию и уходу за оборудованием. Значительным преимуществом является также минимальный расход реагентов, в результате которого еще больше понижаются общие затраты на очистку.
Перечень чертежей
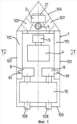
Для понятного представления о работе описываемого изобретения, используемого для очистки свободных поверхностей натуральных вод, например озер, прудов, водохранилищ или рек, указана основная схема сооружения, предназначенного для применения настоящего способа, где фиг.1 изображает открытое сооружение в горизонтальном плане, причем тело сооружения выполнено в виде плавучего средства. Фиг.2 изображает поперечное вертикальное сечение настоящим оборудованием в плоскости А-А.
Примеры выполнения изобретения
Пример 1
Для очистки поверхностей натуральных водохранилищ, в которых обнаружена чрезмерная концентрация микроорганизмов, например сине-зеленых водорослей, и органических соединений с содержанием фосфора, фенолов и поверхностно-активных веществ, например стиральных порошков, используется плавучее сооружение, с помощью которого осуществляется представляемый способ.
Описываемое оборудование содержит продолговатое полое тело 1, состоящее из боковых стенок 101, дна 102, оборудованного центральным собирательным лотком 103, стреловидной торцевой передней части 104, задней торцевой части 105 и верхней съемной крышки 106, при помощи которых образуется емкость, предназначенная для осуществления процесса очистки. В передней торцевой части 104 выполнены симметрично расположенные подводящие отверстия 107, обеспечивающие подачу загрязненной воды; в задней торцевой части 105 выполнены два отводящих отверстия 108, предназначенных для отвода очищенной воды; в боковых стенках 101 выполнен ряд боковых окон 109. В области примыкания подводящих отверстий 107 расположен в емкости вентилятор 2, снабженный подводящим патрубком 21 для подачи нагнетаемого воздуха, а также резервуаром реагентов 3. На выходе воздуха из вентилятора 2 расположен ионизатор 4, состоящий из системы электродов 41, присоединенных к генератору 5 высокого напряжения. Ионизатор 4, то есть его электроды 41, расположены в воздушной камере 6, ограниченной открытым снизу кожухом 7, чья нижняя часть оснащена направленными вверх боковыми каналами 71, наклоненными под углом 30-50° в отношении горизонтального плана, и ограниченными верхними 72 и нижними 73 перегородками. Над выходом из каналов 71 расположен каплеуловитель 8, и рядом с выходом из каналов 71 вдоль боковых стенок 101 тела 1 выполнены продольные боковые камеры 110. Всасывающие штуцеры 91 соединяют боковые камеры 110 с насосами 9, предназначенными для подачи очищаемой воды в нижнюю часть фильтров 10, состоящих из, например, зерновидных фильтров с содержанием активного углерода; высота фильтровального слоя составляет от 0,5 до 2 м и скорость фильтрации – 1 м/мин. Очищенная вода отводится из верхней части фильтров 10 через отводящие отверстия 108 обратно в водохранилище.
В настоящем сооружении использован вентилятор среднего давления 2 с мощностью 60000 м3/час и давлением на выходе 5кПа, потребление энергии которого составляет от 80 до 85 кВт. В качестве генераторов 5 высокого напряжения использовались агрегаты с напряжением питания 380 В и высоким напряжением до 85 кВ, причем плотность тока для гладких коронарных электродов 41 находилась в диапазоне от 0,08 до 0,1 мА/м.
В процессе очистки нагнетаемый вентилятором 2 воздух подается в ионизатор 4, причем насыщается несвязанными электронами и свободными радикалами, образуемыми в ионизаторе 4 между электродами 41. Воздух далее поступает в заполненные загрязненной водой каналы 71, продувая очищаемую жидкость. В результате продувания, осуществляемого со скоростью 10-100 м/с, при удельном расходе распыляемой воды от 0,1 до 30 кг/м3, непосредственно зависящем от уровня воды в теле 1, очищаемая жидкость распыляется на большое количество капель и пену с большой активной поверхностью взаимодействующих газовой и жидкой фаз. Гидравлическое сопротивление каналов 71 составляет от 1,5 до 10 кПа. Использованный воздух из вентилятора поступает в каплеуловитель 8 и, следовательно, уходит через боковые окна 109 из тела 1. Пена из окисляемых органических соединений и микроорганизмов удаляется из верхней части боковых камер 110 при помощи неизображенных специальных насосов и поступает на переработку. Осадки от вредных неорганических веществ, накопившиеся в центральном собирательном лотке 103 на дне 102 тела 1, регулярно удаляются с использованием неизображенного шламового насоса.
В целях интенсификации процессов очистки воды при помощи реагентов добавляются в нагнетаемый воздух через резервуар реагентов 3 коагулянты, флокулянты и адсорбенты, увеличивающие концентрацию свободных электронов в обрабатываемой воде.
Повышенная концентрация является результатом адсорбции настоящих реагентов на поверхности частиц твердых адсорбентов с высоким удельным электрическим сопротивлением, составляющим больше 107 Ом·см. Внутри каналов 71 описываемые частицы используют их электрические разряды для уничтожения микроорганизмов и органических соединений и, следовательно, оседают на дно 102, откуда откачиваются в виде шлама.
Пример 2
Соответствующее технически приспособленное оборудование испытано для очистки газов, выпускаемых из алюминиевых электролизеров металлургического завода с использованием раствора Na2CO3, причем объем очищаемого газа составлял приблизительно 360 м3/час, температура газов на входе 42-50°С, температура газов на выходе 18-25°С и гидравлическое сопротивление газов от 0,94 до 2 кПа. На основе химического анализа в составе очищаемого газа обнаружено 32-92 г/л Na2CO3, 7-60 г/л NaHO3 и 18-30 г/л NaF.
По результатам анализа очищаемого газа степень запыленности газа, измеренная перед входом в оборудование, составляла от 0,16 до 0,27 г/м3; на выходе из оборудования измеренные величины составляли от 0,026 до 0,073 г/м3. Таким образом, степень очистки от пыли и дегтя составляет 85%. По результатам анализа на содержание HF величины, измеренные перед входом в оборудование, составляли от 0,16 до 0,27 г/м3 и на выходе из оборудования – от 0,026 до 0,073 г/м3, что представляет степень очистки от HF на 70-100%.
Пример 3
Представляемый способ также испытан для очистки газов от угольной пыли парогенератора, производящего пар в количестве 40 т/ч и использующего каменный уголь в качестве топлива. В настоящем процессе общий объем входящих в очистное сооружение газов составлял 100000 м3/ч и первоначальная запыленность газов от 12,29 до 35,8 г/м3 при гидравлическом сопротивлении аппарата 1,4 кПа. Остаточная запыленность газов на выходе составляла от 0,160 до 0,276 г/м3, таким образом, степень очистки равна приблизительно 99%.
Эксплуатационная ценность в промышленности
Способ очистки текучих веществ и материалов, особенно жидкостей, от вредных примесей и микроорганизмов может использоваться для очистки воды в природных водохранилищах, а также в коммунальном хозяйстве при очистке питьевой воды или для очистки городской и промышленной воды и осадков. Способ очистки жидкостей может также применяться в области энергетики, химии и металлургии в процессах химической и физической переработки разнообразных жидких носителей, включая расплавы и газы.
Формула изобретения
1. Способ очистки жидкостей от вредных примесей и микроорганизмов с использованием потока ионизированного воздуха и воздействия электрических разрядов, отличающийся тем, что очищаемая жидкость подвергается газодинамическому диспергированию, создаваемому с помощью потока воздуха, подаваемого в газопромывные каналы, выполненные под углом 30-50° относительно поверхности очищаемой жидкости, со скоростью 10-100 м/с, при гидравлическом сопротивлении газопромывных каналов в пределах от 1,5 до 100 кПа и при удельном расходе диспергированной жидкости от 0,1 до 30 кг на 1 м3 подаваемого воздуха, при этом подаваемый в каналы поток воздуха предварительно ионизируется в неоднородном электростатическом поле коронарных разрядов, причем напряжение между электродами составляет от 3 кВ до 10 миллионов В; величина тока между электродами находится в диапазоне от 10 до 100 мА, и удельная мощность электрических разрядов находится в пределах от 0,1 до 10 кВт·ч на 1 м3 обрабатываемой жидкости.
2. Способ очистки жидкостей по п.1, отличающийся тем, что в нагнетаемый воздух перед ионизацией добавляются реагенты с высоким удельным электрическим сопротивлением, составляющим больше 107 Ом·см, чей объем дозирования находится в диапазоне от 1 до 100 г на 1 м3 нагнетаемого воздуха.
3. Способ очистки жидкостей по п.2, отличающийся тем, что реагенты выбраны из группы СаО, или SiO2, или Al2О3.
4. Способ очистки жидкостей по пп.1-3, отличающийся тем, что подача воздуха в очищаемый воздух осуществляется при помощи высокоскоростного вентилятора.
РИСУНКИ
|
|