|
|
(21), (22) Заявка: 2005108497/12, 25.03.2005
(24) Дата начала отсчета срока действия патента:
25.03.2005
(30) Конвенционный приоритет:
27.03.2004 EP 102004015167.9
(43) Дата публикации заявки: 10.09.2006
(46) Опубликовано: 20.05.2009
(56) Список документов, цитированных в отчете о поиске:
US 5501253 А, 26.03.1996. US 5377726 А, 03.01.1995. DE 4324592 C1, 12.01.1995. US 6189578 B1, 20.02.2001. SU 218777 A, 01.01.1968.
Адрес для переписки:
103735, Москва, ул. Ильинка, 5/2, ООО “Союзпатент”, пат.пов. И.М.Захаровой
|
(72) Автор(ы):
КРУЛИЧ Дитер Рудольф (DE)
(73) Патентообладатель(и):
КХС МАШИНЕН-УНД АНЛАГЕНБАУ АГ (DE)
|
(54) НАПОЛНИТЕЛЬНЫЙ ЭЛЕМЕНТ И РАЗЛИВОЧНАЯ МАШИНА С ТАКИМИ НАПОЛНИТЕЛЬНЫМИ ЭЛЕМЕНТАМИ
(57) Реферат:
Изобретение относится к наполнительному элементу для разлива жидкого продукта в бутылки или аналогичные сосуды. Наполнительный элемент содержит выполненный в его корпусе жидкостный канал, который входом соединен с резервуаром или котлом для жидкого продукта и образует выпускное отверстие для выдачи жидкого продукта в сосуд. Первый жидкостный клапан с соответствующим исполнительным устройством для управляемого открывания и закрывания первого жидкостного клапана расположен между входом и выпускным отверстием в жидкостном канале. В устройстве имеется открытая труба, которая первым открытым концом находится в зоне выпускного отверстия. В корпусе наполнительного элемента выполнено несколько каналов, а также управляющие этими каналами управляющие клапаны для управления возвратным каналом для газа. В устройстве предусмотрен служащий в качестве дополнительного жидкостного клапана управляющий клапан, с помощью которого второй конец трубы для заполнения свободной струей соответствующего, расположенного своим отверстием на расстоянии от наполнительного элемента сосуда соединяется управляемым образом с резервуаром или котлом для жидкого продукта. Изобретение обеспечивает заполнение сосуда через короткую трубу или свободной струей. 9 з.п. ф-лы, 2 ил.
Изобретение относится к наполнительному элементу согласно ограничительной части пункта 1 формулы изобретения, а также к разливочной машине согласно ограничительной части пункта 11 формулы изобретения.
Наполнительные элементы для заполнения бутылок или другой тары жидким наполнителем известны в различных вариантах выполнения. При этом известными являются, в частности, также наполнительные элементы с короткой трубой для заполнения бутылок или аналогичной тары при нормальном давлении или при противодавлении, а именно, так, что подлежащий заполнению сосуд своей горловиной находится в положении плотного прилегания к наполнительному элементу, т.е. герметично прижимается своей горловиной к выпускному отверстию наполнительного элемента. При этом выпускное отверстие окружает слегка выступающую за нижнюю сторону наполнительного элемента и открытую там трубу, которая при наполнении входит в отверстие сосуда и служит в качестве возвратной трубы для газа, через которую из сосуда отводится газ, вытесняемый при заполнении втекающим наполнителем, а именно через, по меньшей мере, один газовый канал, управляемый газовым клапаном.
Известны также наполнительные элементы с короткой наполнительной трубой, а именно, в частности, для так называемого бесконтактного заполнения (заполнения свободной струей) расположенного хоть и по центру относительно наполнительной трубы под наполнительным элементом, но находящегося на расстоянии от горловины наполнительного элемента сосуда, при этом в этом способе заполнения жидкий наполнитель попадает в сосуд в виде свободной струи.
Заполнение с помощью короткой трубы пригодно, в частности, для разлива слабоалкогольных напитков при противодавлении или при нормальном давлении. Заполнение с помощью свободной струи пригодно, в частности, для разлива биологически чувствительных продуктов и происходит без образования капель и без соприкосновения горловины соответствующего сосуда с наполнительным элементом и тем самым без опасности, в частности, бактериального заражения.
Кроме того, заполнение свободной струей пригодно предпочтительно для разлива таких продуктов, вязкость которых является слишком большой для наполнения через короткую трубу. В этом случае заполнение свободной струей также имеет то преимущество, что оно происходит без образования капель, а именно, без соприкосновения горловины сосуда с наполнительным элементом.
Задачей изобретения является создание наполнительного элемента, который посредством простого переключения обеспечивает как заполнение через короткую трубу, так и заполнение свободной струей. Для решения этой задачи наполнительный элемент выполнен в соответствии с пунктом 1 формулы изобретения. Разливочная машина является предметом пункта 11 формулы изобретения.
В наполнительном элементе согласно изобретению труба служит при заполнении с помощью короткой трубы в качестве возвратной трубы для газа, а при заполнении свободной струей – в качестве короткой наполнительной трубы.
Переход между обоими режимами работы заполнения с помощью короткой трубы и заполнения свободной струей возможно осуществлять лишь за счет соответствующего управления клапанами наполнительного элемента. Это переключение происходит затем для всех наполнительных элементов разливочной машины управляемым образом с помощью управляющего устройства или же с помощью соответствующего выбора программы. При этом переключении нет необходимости в выполнении в разливочной машине каких-либо механических и/или ручных работ, в частности, нет также необходимости в установке, снятии или замене частей. Кроме того, это переключение не требует вхождения в стерильное пространство, что имеет особое значение в таких разливочных машинах или установках, которые для разлива особенно чувствительных продуктов расположены в чистом или стерильном помещении, которое после механического изменения разливочной машины необходимо снова приводить в свободное от бактерий состояние, что требует много времени и означает соответствующее прерывание производства.
Другое существенное преимущество изобретения состоит также в том, что все необходимые для обоих режимов каналы и управляющие клапаны внутри соответствующего наполнительного элемента подвергаются чистке при обычной чистке CIP, а также при выполняемой обычным образом наружной чистке разливочной машины.
Ниже приводится подробное описание изобретения на примере выполнения со ссылками на чертежи, на которых изображено:
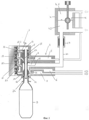
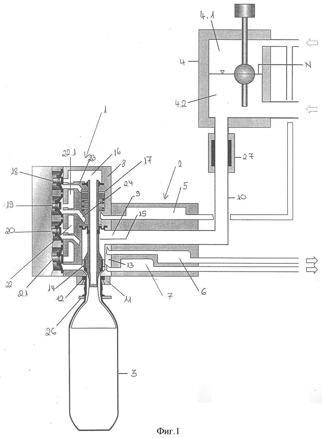
фиг.1 – наполнительный элемент согласно изобретению в рабочем состоянии для заполнения с помощью короткой трубы вместе с приставленной к наполнительному элементу в герметичном положении бутылкой, а также части имеющей этот наполнительный элемент разливочной машины роторного типа;
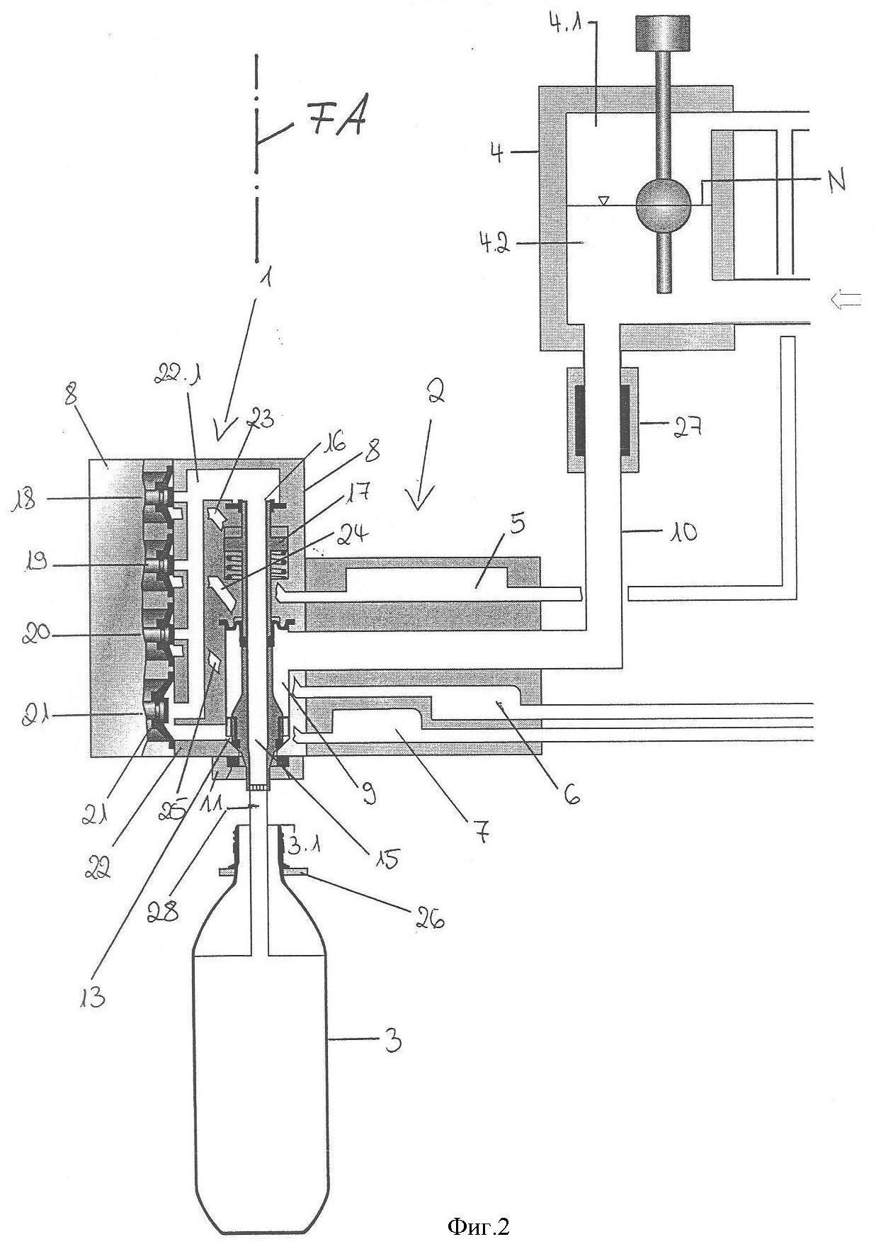
фиг.2 – вид согласно фиг.1, но в рабочем состоянии наполнительного элемента для заполнения свободной струей, находящейся на расстоянии от наполнительного элемента бутылки.
На фиг.1 и 2 представлен наполнительный элемент 1, который наряду с множеством однотипных наполнительных элементов предусмотрен на периметре вращающегося вокруг вертикальной оси машины ротора 2 и предназначен для разлива жидкого наполнителя в сосуды, соответственно бутылки 3. На роторе 2 дополнительно предусмотрен кольцевой котел 4, который до заданного уровня N заполнен с возможностью управления уровнем жидким продуктом. Кроме того, в показанном варианте выполнения в роторе 2 выполнены несколько кольцевых каналов 5, 6 и 7, из которых кольцевой канал 5 соединен, среди прочего, с внутренним пространством кольцевого котла 4 над уровнем жидкого продукта, соответственно с находящимся там газовым пространством 4.1, в то время как кольцевые каналы 6 и 7 служат в качестве разгрузочных и вакуумных каналов.
В корпусе 8 наполнительного элемента 1 образован обычный жидкостный канал 9, который в своей верхней зоне соответственно расположенным там входом входит через соединение 10 в жидкостное пространство 4.2 кольцевого котла 4, а на нижней стороне корпуса 8 в зоне расположенного там бокалообразного центрирующего элемента 11 входит с герметизацией в кольцевое выпускное отверстие 12, окруженное уплотнением центрирующего элемента 11.
Для управляемой выдачи жидкого продукта в соответствующую подлежащую заполнению бутылку 3 в жидкостном канале 9 предусмотрен первый жидкостный клапан 13, который состоит по существу из клапанного тела 14, которое предусмотрено на наружной поверхности трубы 15, ориентированной своей осью по вертикальной оси FA наполнительного элемента. Открытая с обеих сторон и установленная с возможностью перемещения в направлении оси FA на ограниченный шаг для открывания и закрывания жидкостного клапана 13 труба 15 слегка выступает своим нижним открытым концом над центрирующим элементом 11 и входит своим верхним концом в выполненную в корпусе 8 камеру 16. Между жидкостным каналом 9 и камерой 16 находится исполнительный элемент 17 для управляемого открывания и закрывания жидкостного клапана 13. Этот исполнительный механизм состоит в показанном варианте выполнения из смещающей жидкостный клапан 13 в открытое положение пружины и, например, приводимого в действие пневматически цилиндра, с помощью которого жидкостный клапан 13 перемещается в закрытое положение. С помощью соответствующих уплотнений жидкостный канал 9, а также камера 16 герметизированы в местах входа трубы 15 в эту трубу. На радиально наружной относительно вертикальной машинной оси стороне в корпусе 8 предусмотрены четыре расположенных друг над другом, приводимых в действие пневматически управляющих клапана 18, 19, 20 и 21, из которых клапаны 18-20 являются клапанами, управляющими путями прохождения газа во время процесса заполнения, а клапан 21 является вторым жидкостным клапаном.
Внутри корпуса 8 дополнительно выполнены каналы, а именно, канал 22, который в показанном варианте выполнения участком 22.1 проходит параллельно оси FA, своим верхним концом входит в камеру 16, а своим нижним концом входит в жидкостный канал 9, а именно, в ту часть жидкостного канала 9, которая даже при закрытом жидкостном клапане 13 все еще соединена с соединительным каналом 10, соответственно с кольцевым котлом 4. В канале 22 находится второй жидкостный клапан 21.
Дополнительно к каналу 22 в корпусе 8 в показанном варианте выполнения выполнены три газовых канала 23, 24 и 25, каждый из которых соединен с одним из кольцевых каналов 5, 6 или 7. Соединенный с кольцевым каналом 5 газовый канал 23 соединен с входом клапана 18, соединенный с кольцевым каналом 6 газовый канал 24 соединен с входом клапана 19 и соединенный с кольцевым каналом 7 газовый канал 25 соединен с входом клапана 20. Выходы этих газовых клапанов входят в проходящий между камерой 16 и жидкостным клапаном 21 участок 22.1 канала 22.
Как показано на фиг.1 и 2, с помощью наполнительного элемента 1 можно по выбору выполнять заполнение с помощью короткой трубы (фиг.1) или заполнение свободной струей бутылок 3.
При заполнении с помощью короткой трубы, показанном на фиг.1, соответствующая бутылка 3 прижимается с помощью предусмотренного на каждом наполнительном элементе 1 держателя 26 бутылки, который, например, захватывает бутылку 3 на выступающем из горлышка бутылки фланце своим отверстием 3.1 бутылки с герметизацией к наполнительному элементу 1, соответственно к уплотнению центрирующего элемента 11. Перед собственно заполнением при противодавлении выполняется в любом случае сначала предварительное натяжение бутылки 3 находящимся под давлением газом (инертным газом) из газового пространства 4.1, а именно, при открытом клапане 18. Затем для собственно заполнения при все еще прижатом с герметизацией к наполнительному элементу положении бутылки 3 открывают жидкостный клапан 13, так что через окружающее трубу 15 кольцевое выпускное отверстие 12 жидкий продукт течет в бутылку 3, а вытесняемый при этом продуктом из бутылки 3 инертный газ протекает через служащую в качестве возвратной трубы для газа трубу 15 в камеру 16 и оттуда, например, через открытый клапан 18, через газовый канал 23 и через кольцевой канал 5 обратно в газовое пространство 4.1 кольцевого котла.
Под управлением индуктивного расходомера 27 в соединительном канале 10 в конце собственно фазы заполнения снова закрывается жидкостный канал 13.
Возможно также выполнение других способов заполнения и процессов, например, для промывки бутылок 3 при их прилегании с герметизацией к наполнительному элементу и с использованием трубы 15 в качестве возвратной трубы для газа, например, также заполнение при нормальном давлении.
На фиг.2 показано применение наполнительного элемента 1 в способе заполнения, в котором труба 15 используется не в качестве возвратной трубы для газа, а в качестве короткой наполнительной трубы, а именно, для заполнения свободной струей бутылок 3. При этом соответствующая подлежащая заполнению бутылка 3 так удерживается держателем 26, что она своим отверстием 3.1 находится на расстоянии под наполнительным элементом, а именно так, что продольная ось бутылки снова совпадает с осью FA.
Для начала процесса заполнения при закрытом жидкостном клапане 13 открывают дополнительный жидкостный канал 21, так что жидкий продукт из кольцевого котла 4 через соединительный канал 10, жидкостный канал 9 и канал 22 протекает в камеру 16 и оттуда через трубу 15 в виде свободной струи 28 жидкости – в уже установленную бутылку 3. Вытесняемый во время процесса заполнения из бутылки газ уходит через не закрытое отверстие бутылки в свободное пространство.
В этом варианте выполнения закрывание жидкостного канала 21 осуществляется также под управлением сигнала индуктивного расходомера 27.
Выше было приведено описание изобретения применительно к одному примеру выполнения. Понятно, что возможны изменения и модификации без отхода от лежащей в основе изобретения идеи.
Перечень позиций
1 Наполнительный элемент
2 Ротор
3 Бутылка
3.1 Отверстие бутылки
4 Кольцевой бак
4.1 Газовое пространство в кольцевом котле
4.2 Жидкостное пространство в кольцевом котле
5, 6, 7 Кольцевой канал
8 Корпус наполнительного элемента
10 Соединительный канал
11 Центрирующий элемент в форме бокала
12 Выпускное отверстие
13 Жидкостный клапан
14 Клапанное тело
15 Труба
16 Камера
17 Исполнительный элемент для жидкостного клапана 13
18, 19, 20 Клапан для управления путем прохождения газа
21 Дополнительный жидкостный клапан
22 Канал
22.1 Участок канала
23, 24, 25 Газовый канал
26 Держатель сосуда
27 Индуктивный расходомер
28 Струя наполняемого продукта
FA Вертикальная ось наполнительного элемента
N Уровень.
Формула изобретения
1. Наполнительный элемент для разлива жидкого продукта в бутылки (3) или аналогичные сосуды, содержащий выполненный в корпусе (8) наполнительного элемента (1) жидкостный канал (9), который входом соединен с резервуаром или котлом (4) для жидкого продукта и образует выпускное отверстие (12) для выдачи жидкого продукта в подлежащий заполнению сосуд (3), расположенный между входом и выпускным отверстием (12) в жидкостном канале первый жидкостный клапан (13) с соответствующим исполнительным устройством (17) для управляемого открывания и закрывания первого жидкостного клапана (13), открытую на обоих концах трубу (15), которая первым открытым концом находится в зоне выпускного отверстия (12), несколько выполненных в корпусе (8) наполнительного элемента (1) каналов (22, 23, 24, 25), а также управляющие этими каналами управляющие клапаны (18, 19, 20, 21), из которых по меньшей мере один установлен с возможностью управлять для заполнения соответствующего, прижимаемого с герметизацией к наполнительному элементу сосуда проходящим через трубу (15) возвратным каналом для газа, отличающийся тем, что дополнительно к первому жидкостному клапану (13) предусмотрен служащий в качестве дополнительного жидкостного клапана (21) управляющий клапан, с помощью которого второй конец трубы (15) для заполнения свободной струей соответствующего, расположенного своим отверстием (3.1) на расстоянии от наполнительного элемента (15) сосуда (3) соединяется управляемым образом с резервуаром или котлом (4) для жидкого продукта.
2. Наполнительный элемент по п.1, отличающийся тем, что образующий дополнительный жидкостный канал управляющий клапан (21) расположен в соединительном канале между вторым концом трубы (15) и проходящей между входом для заполняемого продукта в наполнительный элемент и первым жидкостным клапаном (13) частью жидкостного канала (9).
3. Наполнительный элемент по п.2, отличающийся тем, что соединительный канал (22) соединен одним концом со вторым концом трубы (15).
4. Наполнительный элемент по п.3, отличающийся тем, что соединительный канал (22), а также труба (15) входят в общую, выполненную в корпусе (8) камеру (16).
5. Наполнительный элемент по п.1, отличающийся тем, что, по меньшей мере, один газовый клапан (18, 19, 20) расположен в соединении между газовым каналом (5, 6, 7) и соединенным с трубой (15) участком (22.1) соединительного канала (22).
6. Наполнительный элемент по п.5, отличающийся тем, что труба (15) на своем первом конце кольцеобразно окружена выпускным отверстием(12).
7. Наполнительный элемент по п.6, отличающийся тем, что труба (15) выступает из наполнительного элемента (1) над образованной у выпускного отверстия (12) поверхностью прилегания для отверстия (3.1) соответствующего сосуда (3).
8. Наполнительный элемент по п.1, отличающийся тем, что первый жидкостный клапан (13) образован предусмотренным на трубе (15) и взаимодействующим с клапанной поверхностью в жидкостном канале (9) клапанным телом (14), и что труба (15) установлена с возможностью перемещения вместе с клапанным телом (14) для открывания и закрывания первого жидкостного клапана (13) с помощью исполнительного устройства (17) этого клапана на ограниченный шаг в осевом направлении.
9. Наполнительный элемент по п.1, отличающийся тем, что предусмотрены, по меньшей мере, три выполненных в корпусе (8) газовых канала (23, 24, 25) с соответствующим газовым клапаном (18, 19, 20), управляющим этим каналом.
10. Наполнительный элемент по любому из пп.1-9, отличающийся тем, что газовые каналы выполнены с возможностью управляемого соединения через свои управляющие клапаны (18, 19, 20) с соединенным с одним концом (15) участком соединительного канала.
РИСУНКИ
MM4A – Досрочное прекращение действия патента СССР или патента Российской Федерации на изобретение из-за неуплаты в установленный срок пошлины за поддержание патента в силе
Дата прекращения действия патента: 26.03.2009
Извещение опубликовано: 20.06.2010 БИ: 17/2010
NF4A – Восстановление действия патента СССР или патента Российской Федерации на изобретение
Дата, с которой действие патента восстановлено: 20.07.2010
Извещение опубликовано: 20.07.2010 БИ: 20/2010
|
|