|
|
(21), (22) Заявка: 2007131903/12, 22.08.2007
(24) Дата начала отсчета срока действия патента:
22.08.2007
(46) Опубликовано: 20.05.2009
(56) Список документов, цитированных в отчете о поиске:
US 4059198 А, 22.11.1977. RU 2234446 С2, 20.08.2004. SU 1572408 A3, 15.06.1990.
Адрес для переписки:
190005, Санкт-Петербург, 2-я Красноармейская, 4, ГОУ ВПО СПбГАСУ, ОИС
|
(72) Автор(ы):
Чмиль Владимир Павлович (RU), Чмиль Юрий Владимирович (RU)
(73) Патентообладатель(и):
ГОУ ВПО “Санкт-Петербургский государственный архитектурно-строительный университет” (RU)
|
(54) ГЕРМОТАРА ДЛЯ СЫПУЧИХ МАТЕРИАЛОВ
(57) Реферат:
Гермотара для сыпучих материалов содержит цилиндрический корпус с днищем и горловиной, герметизирующее уплотнение и крышку. Цилиндрический корпус гермотары снабжен направляющими ребордами и по верхнему торцу имеет кольцеобразную площадку, ширина которой определяется из условий создания герметизации при прижатии гермотары к посадочной поверхности приемного окна разгрузочного устройства. Горловина выполнена в виде жестко соединенных по малому диаметру посредством кольца расчетной высоты двух усеченных конусов, в месте соединения которых, в пазу, установлено съемное герметизирующее уплотнение, причем нижний конус своей конической поверхностью большего диаметра жестко соединен под углом, равным или большим угла естественного откоса хранимого материала, с внутренними поверхностями вертикальной стенки корпуса и кольцевой площадки, а внутренняя поверхность верхнего конуса имеет резьбовой участок. Крышка выполнена в виде полого усеченного конуса с верхним и перфорированным нижним основаниями и резьбовым участком на наружной поверхности образующих, а также соосно жестко закрепленного на ее верхнем основании цилиндрического хвостовика со съемным сорбционным фильтром и предохранительным клапаном. Цилиндрический хвостовик служит местом захвата крышки манипулятором. Нижнее основание крышки снабжено сводообрушающей лопастью, представляющей собой стержень, закрепленный на краю нижнего основания крышки, длина и форма которого выбирается из условий его эффективной работы. Изобретение позволяет получить новую конструкцию гермотары с улучшенными условиями процесса транспортирования, хранения и выгрузки сыпучего материала. 1 ил.
Изобретение относится к области упаковки, хранения и выгрузки химически активных, требующих герметизации сыпучих материалов (легковоспламеняющихся, самовозгорающихся, выделяющих воспламеняющиеся газы при взаимодействии с влагой атмосферы, окисляющих веществ, органических пероксидов, едких и коррозионных, а также гигроскопичных веществ) и может быть использовано в химической, пищевой и других отраслях промышленности. Хранение предлагаемой цилиндрической гермотары может быть организовано на складе – гравитационном накопителе, состоящем из наклонных многоярусных полок с перегрузочными окнами. Предполагается автоматизация процессов выгрузки сыпучих материалов (химических продуктов) в расходные гермобункера и подачи их в технологическую линию с применением безлюдной технологии.
Известна емкость, состоящая из цилиндрического корпуса, оснащенного по наружной образующей поверхности двумя обручами катания, днища и соосно расположенной наливной фланцевой горловины с резьбовыми шпильками, на которые установлена и закреплена гайками (8 шт.) плоская круглая крышка с кольцевым уплотнением в специальной проточке горловины (ГОСТ 21029-75 “Бочки алюминиевые для химических продуктов. Технические условия”, тип бочек – II, исполнение бочки – Б, ИПК Издательство стандартов, 2000).
Недостатками данной емкости являются: ручная трудоемкая операция по снятию и установке крышки горловины при каждом заборе материала из нее; частичная потеря свойств хранимого химически активного материала при каждом вскрытии емкости из-за контакта с атмосферой, например с влагой атмосферы; необходимость принятия дополнительных мер химической защиты персонала (защита дыхательных путей, кожных покровов и т.д.), контактирующего с продуктом хранения; отсутствие технических условий для использования емкости в автоматизированной линии погрузки и разгрузки, практически исключающей потерю свойств хранимых материалов.
Наиболее близким техническим решением является емкость, имеющая открытую горловину с круглым ободом. Крышка с пароуплотнением для емкости имеет верхнюю стенку и юбку, на внутренней поверхности которой расположены взаимоудаленные по окружности и проходящие радиально внутрь приливы для зацепления с вырезами выступов емкости (Патент США 4059198, кл. B65D 55/02, 1977 г., опубликовано 22.11.77. Owens-Minois, Inc., Toledo, Ohio).
Недостатками данной емкости являются: отсутствие направленного ориентирования тары при ее качении по направляющим склада, что может привести к провороту и удару ее об ограждающие конструкции склада; отсутствие самоцентрирования крышки относительно горловины при ее механизированном заворачивании из-за отсутствия для этого специальных технических условий; отсутствие на верхнем торце тары площадки, служащей для герметизации объемов тары и емкости (гермобункера), в которую производится выгрузка; при этом подразумевается, что процесс герметизации окна разгрузочного устройства (прижатие тары своей площадкой к поверхности приемного окна разгрузочного устройства) также как и отворачивание – заворачивание крышки тары осуществляется при помощи манипулятора; отсутствие специального места захвата крышки манипулятором при ее отворачивании, удержании в течение времени разгрузки и заворачивании, что снижает возможность использования ее в автоматизированной линии; отсутствие средств интенсификации выгрузки хранимого материала (устранение сводообразования мелкодисперсных связных материалов), что снижает эффективность процесса выгрузки тары и может привести к перебоям в работе линии; это тем более важно, что разгерметизация тары недопустима.
Задачей, на решение которой направлено изобретение, является расширение области использования гермотары и улучшение условий процессов транспортирования, хранения и выгрузки сыпучего материала.
Сущность изобретения заключается в том, в известной емкости, имеющей открытую горловину с круглым ободом, цилиндрический корпус снабжен направляющими ребордами и по верхнему торцу имеет кольцеобразную площадку, ширина которой определяется из условий создания герметизации при прижатии гермотары к посадочной поверхности приемного окна разгрузочного устройства, а горловина выполнена в виде жестко соединенных по малому диаметру посредством кольца расчетной высоты двух усеченных конусов, в месте соединения которых, в пазу, установлено съемное герметизирующее уплотнение, причем нижний конус своей конической поверхностью большего диаметра жестко соединен под углом, равным или большим углу естественного откоса хранимого материала, с внутренними поверхностями вертикальной стенки корпуса и кольцевой площадки, а внутренняя поверхность верхнего конуса имеет резьбовой участок, при этом крышка выполнена в виде полого усеченного конуса с верхним и перфорированным нижним основаниями и резьбовым участком на наружной поверхности образующих, а также соосно жестко закрепленного на ее верхнем основании цилиндрического хвостовика со съемным сорбционным фильтром и предохранительным клапаном, служащего местом захвата крышки манипулятором, причем нижнее основание крышки снабжено сводообрушающей лопастью, представляющей собой стержень, закрепленный на краю нижнего основания крышки, длина и форма которого выбирается из условий его эффективной работы.
Новизна решения заключается в следующем: свободный объем полой крышки с перфорацией на нижнем ее основании выполняет функцию свободного, “буферного” объема гермотары; установка сорбционного фильтра с предохранительным клапаном в полой крышке дает возможность исключить появление конденсата за счет разности температур при перевозке и хранении (и, таким образом, реагирование хранимого продукта с влагой); предохранительный клапан при этом ограничивает давление в корпусе гермотары, удаляя часть выделившегося в результате действия влаги либо тепла газа в окружающую среду; жестко закрепленная на краю нижнего основания крышки сводообрушающая лопасть, работающая при вращении крышки, улучшает условия и повышает эффективность выгрузки сыпучего материала за счет устранения явления сводообразования; снабжение корпуса гермотары направляющими ребордами (выполняющими также функцию ребер жесткости) придает ей направленное, ориентированное движение (качение) по ярусным наклонным направляющим склада, снижая динамические нагрузки на тару и конструкцию склада; кроме этого, реборды служат для создания условий снижения скорости перемещения тары по направляющим путем торможения при трении их боковых поверхностей о поверхности подвижных участков наклонных направляющих склада, расположенных перед перегрузочными окнами ярусов и, таким образом, обеспечения безударной перегрузки тары с вышележащих направляющих на нижележащие; выполнение горловины в виде двух усеченных конусов, жестко соединенных между собой по меньшему диаметру, и крышки в виде усеченного конуса упрощает центрирование крышки при ее заворачивании; снабжение крышки соосным цилиндрическим хвостовиком, служащим местом захвата манипулятором, предполагает механизированную разгрузку тары; установка в месте соединения конусов горловины, в пазу, съемного герметизирующего уплотнения позволяет надежно уплотнять посадку крышки путем ее заворачивания до упора; наличие на верхнем торце цилиндрического корпуса гермотары кольцеобразной площадки, позволяющей герметизировать разъем между горловиной тары и приемным окном разгрузочного устройства, является предпосылкой к использованию такой конструкции в автоматизированной линии разгрузки.
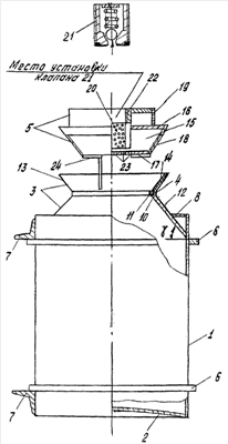
Изобретение поясняется следующим чертежом, где представлена конструктивная схема предлагаемой гермотары для применения в автоматизированном складе хранения и выгрузки сыпучих материалов.
Гермотара для сыпучих материалов состоит из цилиндрического корпуса 1 с днищем 2 и горловиной 3, содержащей кольцо 4 с герметизирующим уплотнением, и крышки 5. Корпус 1 гермотары снабжен направляющими ребордами 6, контактирующими с направляющими 7 склада. Корпус 1 гермотары по верхнему торцу имеет кольцеобразную упорную площадку 8, причем ширина ее определяется из условий создания герметизации сопряжения при прижатии поверхности площадки к разгрузочному окну (работа разгрузочного устройства). Горловина 3 выполнена в виде жестко соединенных по малому диаметру двух усеченных конусов 12 и 13, в месте соединения которых, в пазу 10, установлено съемное герметизирующее уплотнение 11, а внутренняя поверхность верхнего конуса имеет резьбовой участок 14.
Крышка 5 выполнена в виде полого усеченного конуса 15 с верхним 16 и перфорированным нижним 17 основаниями с резьбой 18 на наружной поверхности образующих и жестко закрепленного на верхнем основании 16 цилиндрического хвостовика 19, снабженного по продольной оси съемным сорбционным фильтром 20 с предохранительным клапаном 21, ввертываемым по резьбе 22 в корпус хвостовика 19. Нижнее основание 17 крышки 5 снабжено сводообрушающей лопастью 24 в виде стержня, длина и форма которого выбирается из условий его эффективной работы.
Гермотара для сыпучих материалов при разгрузке работает следующим образом. Ориентированное движение гермотары по наклонным направляющим склада обеспечивается ребордами 6. Они же используются для снижения скорости качения тары по направляющим за счет трения их боковых поверхностей о поверхность наклонных направляющих 7 склада. При механизированной разгрузке гермотара кантователем устанавливается и плотно прижимается кольцевой площадкой 8 к приемному окну разгрузочного устройства, герметизируя объемы гермотары и приемного бункера разгрузочного устройства. После этого манипулятор разгрузочного устройства захватывает крышку 5 за хвостовик 19 и отворачивает ее, при этом вращающаяся вместе с крышкой лопасть 24 производит сводообрушение. Затем крышка 5 отводится вниз и удерживается в течение времени выгрузки материала. После полной выгрузки крышка 5 подводится к горловине 3, самоцентрируется на конической поверхности и вворачивается посредством манипулятора, плотно прижимаясь к уплотнению 11 горловины 13, герметизируя объем емкости. Выполнение горловины 3 в виде двух усеченных конусов 12 и 13, жестко соединенных между собой по меньшему диаметру посредством кольца 4, и крышки 5 в форме усеченного конуса упрощает и ускоряет центрирование крышки при ее заворачивании, сокращает время цикла выгрузки и создает лучшие условия для применения гермотары в автоматизированной линии. Затем порожняя емкость устанавливается кантователем на наклонные направляющие 7 и подается по ним на склад порожней тары.
При перевозке транспортом и хранении свободный объем полой крышки 5 выполняет функцию свободного “буферного” объема гермотары. Сорбционный фильтр 20 в полости 15 крышки 5 дает возможность не допускать появление конденсата внутри объема емкости, исключив, таким образом, возможность разложения хранимого вещества при реагировании с влагой. Отсутствие прореагировавшего коркового слоя на поверхности хранимого вещества улучшает динамику его истечения при разгрузке. Предохранительный клапан 21 при этом ограничивает давление в емкости, сбрасывая часть выделившегося в результате действия влаги либо тепла газа в окружающую среду.
Расширение области использования гермотары осуществляется за счет увеличения возможного диапазона хранимых в ней веществ путем улучшения условий их хранения посредством использования поджимного резьбовым участком гермоуплотнения и сорбционного фильтра с предохранительным клапаном, установленных в полой крышке.
Улучшаются условия процессов транспортирования гермотары и выгрузки сыпучего материала, находящегося в ней, за счет соответствующих конструктивных решений, что в целом создает предпосылки для механизации (автоматизации) указанных процессов, повышения производительности и безопасности труда.
Увеличивается степень заполнения емкости за счет использования свободного объема полой крышки в качестве буферного объема гермотары и установки в ней сорбционного фильтра с предохранительным клапаном, что улучшает условия хранения химически активных сыпучих материалов.
Формула изобретения
Гермотара для сыпучих материалов, содержащая цилиндрический корпус с днищем и горловиной, герметизирующее уплотнение и крышку, отличающаяся тем, что цилиндрический корпус гермотары снабжен направляющими ребордами и по верхнему торцу имеет кольцеобразную площадку, ширина которой определяется из условий создания герметизации при прижатии гермотары к посадочной поверхности приемного окна разгрузочного устройства, а горловина выполнена в виде жестко соединенных по малому диаметру посредством кольца расчетной высоты двух усеченных конусов, в месте соединения которых, в пазу, установлено съемное герметизирующее уплотнение, причем нижний конус своей конической поверхностью большего диаметра жестко соединен под углом, равным или большим угла естественного откоса хранимого материала с внутренними поверхностями вертикальной стенки корпуса и кольцевой площадки, а внутренняя поверхность верхнего конуса имеет резьбовой участок, при этом крышка выполнена в виде полого усеченного конуса с верхним и перфорированным нижним основаниями и резьбовым участком на наружной поверхности образующих, а также соосно жестко закрепленного на ее верхнем основании цилиндрического хвостовика со съемным сорбционным фильтром и предохранительным клапаном, служащего местом захвата крышки манипулятором, причем нижнее основание крышки снабжено сводообрушающей лопастью, представляющей собой стержень, закрепленный на краю нижнего основания крышки, длина и форма которого выбирается из условий его эффективной работы.
РИСУНКИ
|
|