|
(21), (22) Заявка: 2007122448/12, 24.11.2005
(24) Дата начала отсчета срока действия патента:
24.11.2005
(30) Конвенционный приоритет:
24.11.2004 GB 0425844.8
(43) Дата публикации заявки: 27.12.2008
(46) Опубликовано: 20.05.2009
(56) Список документов, цитированных в отчете о поиске:
US 4445230 A, 24.04.1984. EP 0541028 A1, 12.05.1993. US 5720557 A, 24.02.1998. US 5908244 A, 01.06.1999. EP 0341739 А2, 15.11.1989. RU 2043260 С1, 10.09.1995.
(85) Дата перевода заявки PCT на национальную фазу:
25.06.2007
(86) Заявка PCT:
GB 2005/004517 20051124
(87) Публикация PCT:
WO 2006/056784 20060601
Адрес для переписки:
190068, Санкт-Петербург, ул. Садовая, 51, офис 303, ООО “ПАТЕНТИКА”, пат.пов. М.А.Можайскому, рег. 488
|
(72) Автор(ы):
ДЖИЛБАРД Эдвард С. (GB)
(73) Патентообладатель(и):
ДЖИЛБАРД Эдвард С. (GB)
|
(54) МЕШОК, ИМЕЮЩИЙ ВЫПОЛНЕННЫЕ С НИМ ЗА ОДНО ЦЕЛОЕ РУЧКИ ДЛЯ ЗАВЯЗЫВАНИЯ ГОРЛОВИНЫ МЕШКА
(57) Реферат:
Изобретение относится к мешку для вкладывания в мусорную корзину или хранения продуктов питания и т.п. Мешок содержит удлиненное тело, которое имеет закрытый конец, образующий дно, и открытый конец, образующий горловину. Тело мешка имеет пару удлиненных выступов, которые составляют с ним одно целое и проходят от него таким образом, что их можно связать для закрытия горловины мешка. Указанный выступ может иметь по меньшей мере одно отверстие. Выступы могут быть связаны двойным узлом. Предложен также рулон из материала, образующего ряд указанных мешков. Кроме того, предложен способ получения рулона указанных мешков. Мешок легко завязывать и удобно переносить. 3 н. и 20 з.п. ф-лы, 18 ил.
Настоящее изобретение относится к мешку и более конкретно к мешку-вкладышу в мусорную корзину, предназначенному для хранения мусора, или к мешку для хранения продуктов питания.
Существующие мешки для мусора, как правило, имеют прямоугольную форму и легко закрываются перед транспортировкой к месту сбора мусора. Мешок может быть закрыт с помощью отдельной завязки, в качестве которой, как правило, используют проволоку. Однако использование завязки может быть затруднительным, особенно если мешок полон, поскольку в этом случае перевязывание и/или переноска мешка будут затруднены.
Для того чтобы устранить указанные недостатки, были разработаны несколько вариантов исполнения подобных мешков. В одном таком варианте завязка составляет одно целое с мешком и имеет форму четырех небольших петель или выступов, которые отходят от мешка и расположены таким образом, что для закрытия мешка их необходимо завязать в узел. Однако в случае, если такой мешок сильно нагружен, его завязывание и переноска могут быть затруднены.
В другом известном варианте исполнения вокруг горловины мешка выполнена лента. Когда мешок полон, для закрытия горловины указанную ленту затягивают. Для поднятия и транспортировки мешка может быть использована петля, образующаяся при затягивании ленты. Однако мешки такого типа трудно реализуемы в массовом производстве, поскольку стоимость их высока, а используемая при их производстве лента подвержена разрывам.
Согласно первому аспекту настоящего изобретения предложен мешок, содержащий удлиненное тело, которое имеет закрытый конец, образующий дно мешка, и открытый конец, образующий горловину мешка, и которое имеет два удлиненных выступа, выполненные с ним за одно целое, проходящие от него и выполненные с возможностью связывания друг с другом для закрытия горловины мешка.
Каждый выступ может иметь по меньшей мере одно отверстие. Каждое отверстие предпочтительно выполнено таким образом, что образует ручку.
Таким образом, предложен мешок для мусора с ручками, который можно легко завязывать и переносить. Предложенный мешок легко реализуем в массовом производстве и, кроме того, не требуется дополнительного расхода материала для производства его ручек.
Отверстия могут быть выполнены при помощи дыропробивного пресса с образованием вырезок. Дыропробивной пресс может обеспечивать возможность полного удаления вырезки, а может быть выполнен так, чтобы часть каждой вырезки оставалась соединенной с выступом, так что образуется перевернутая вырезка. Перевернутая вырезка сокращает вероятность распространения надрыва при подъеме нагруженного мешка.
Для получения перевернутой вырезки материал пробивают таким образом, что по меньшей мере часть материала этой вырезки, ближе всего расположенная к телу мешка, не подвергается разрезанию или ослаблению, а остается соединенной с выступом.
Предпочтительным, но не единственным является вариант, при котором отверстие выполнено на участке соответствующего выступа, расположенном вблизи тела мешка. При таком расположении максимально увеличивается количество материала над отверстиями, благодаря чему максимально увеличивается прочность удлиненных выступов для их использования в качестве ручки при подъеме и переноске мешка.
В каждом выступе предпочтительно выполнено несколько отверстий. При таком исполнении вес наполненного мешка распределяется по материалу, окружающему отверстия. Следовательно, чем больше отверстий, в разумных пределах, выполнено в выступах, тем большую нагрузку способен выдержать мешок.
Удлиненные выступы предпочтительно имеют скругленную форму и проходят от тела мешка на достаточно большое расстояние, чтобы было возможно выполнить одно перекрещивание этих выступов с образованием петли для закрытия горловины мешка или выполнить двойное перекрещивание этих выступов с образованием простого узла для предотвращения выпадения из мешка предметов.
Мешок может быть выполнен из термопластичного материала, такого как полиэтилен. Полиэтилен может иметь высокую, среднюю или низкую плотность, низкую линейную плотность или представлять собой смесь термопластичных материалов.
Закрытый конец мешка может быть выполнен способом термической сварки.
Согласно второму аспекту настоящего изобретения предложен рулон из материала, образующего мешки, каждый из которых содержит удлиненное тело, имеющее закрытый конец, образующий дно, и открытый конец, образующий горловину. Тело каждого мешка имеет два удлиненных выступа, которые проходят от тела и выполнены с ним за одно целое. При этом каждый мешок выполнен с возможностью отделения его от рулона.
Каждый удлиненный выступ может иметь по меньшей мере одно отверстие. Каждое отверстие предпочтительно образовано вырезкой. В предпочтительном варианте реализации изобретения вырезка является перевернутой. Указанное по меньшей мере одно отверстие может быть получено путем удаления материала.
Материалом рулона предпочтительно является термопластичный материал, например полиэтилен. Полиэтилен может иметь высокую, среднюю или низкую плотность, низкую линейную плотность или представлять собой смесь термопластичных материалов.
Закрытый конец каждого мешка предпочтительно выполнен путем термической сварки по ширине материала.
Материал может иметь первую ослабленную линию, расположенную вблизи закрытого конца каждого мешка и предназначенную для отделения мешка от соседнего мешка рулона.
На открытом конце каждого мешка может быть выполнена вторая ослабленная линия, которая образует удлиненные выступы, проходящие от тела мешка.
Первая и вторая ослабленные линии могут представлять собой перфорированные линии наименьшего сопротивления. Перфорационные отверстия, образующие перфорированные линии наименьшего сопротивления, предпочтительно имеют одинаковую длину.
Мешки предпочтительно размещены в рулоне таким образом, что открытый конец одного мешка расположен смежно с открытым концом соседнего мешка.
Перед скручиванием в рулон материал предпочтительно складывают. Материал может быть сложен по центру или, иными словами, вдоль продольной оси.
Материал может быть сложен в форме буквы «С», то есть таким образом, что продольные концы сложены по направлению к продольной оси материала, так что материал принимает С-образную форму, если смотреть с конца материала.
Согласно третьему аспекту настоящего изобретения предложен способ получения рулона мешков, который включает формирование рукава из материала; термическую сварку по ширине материала для получения закрытого конца каждого мешка; формирование соответствующей первой ослабленной линии вблизи каждого закрытого конца и соответствующей второй ослабленной линии на открытом конце каждого мешка для обеспечения возможности отделения одного конца каждого мешка от соседнего мешка, причем каждая из указанных вторых ослабленных линий имеет такую форму, что каждый мешок имеет на открытом конце удлиненные выступы, проходящие от его тела.
Способ может включать формирование в каждом удлиненном выступе по меньшей мере одного отверстия. Каждое отверстие предпочтительно выполнено таким образом, что оно образует ручку.
Отверстия в удлиненных выступах могут быть получены путем их пробивания.
Перед формированием второй ослабленной линии и перед пробиванием отверстий материал предпочтительно складывают по центру. Это позволяет за один раз пробивать сразу два отверстия в каждом удлиненном выступе.
Способ предпочтительно включает складывание материала в форме буквы «С» для уменьшение ширины тела мешка перед скручиванием материала в рулон. В одном из вариантов реализации способ включает двойное складывание материала в форме буквы «С».
Способ также может включать отгибание наружу свободных концов, расположенных у центра материала, для увеличения толщины на краях материала перед скручиванием его в рулон.
Ниже дано описание вариантов реализации настоящего изобретения со ссылками на прилагаемые чертежи, на которых:
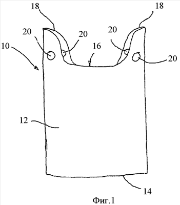
фиг.1 схематически изображает предлагаемый мешок, в котором каждый удлиненный выступ имеет два отверстия;
фиг.2а и 2b схематически изображает мешок, представленный на фиг.1, удлиненные выступы которого связаны в узел для закрытия горловины;
фиг.3 схематически изображает модифицированный вариант предлагаемого мешка, в котором каждый удлиненный выступ имеет частичную вырезку;
фиг.4а-4с схематически изображают модифицированный вариант предлагаемого мешка, в котором каждый удлиненный выступ имеет четыре вырезки;
фиг.5а и 5b схематически изображают модифицированный вариант предлагаемого мешка, в котором каждый удлиненный выступ имеет три вырезки;
фиг.6а и 6b схематически изображают модифицированный вариант мешка, в котором каждый удлиненный выступ имеет одно отверстие и который не является предметом настоящего изобретения;
фиг.7 схематически изображает кусок предлагаемого материала, образующего мешки;
фиг.8a-8d схематически иллюстрируют способы складывания материала мешка по центру, в форме буквы «С», обратного складывания в форме буквы «С» с развернутыми краями и двойного складывания в форме буквы «С»;
фиг.9а и 9b схематически изображают еще один модифицированный вариант предлагаемого мешка.
На фиг.1 изображен пластиковый мешок 10, предназначенный для сбора и транспортировки мусора, такого как бытовые отходы. Мешок 10 содержит удлиненное тело 12, которое имеет закрытый конец, образующий дно 14. Закрытый конец получен способом термической сварки по ширине тела мешка. На противоположном конце мешка 10 выполнено отверстие, которое образует горловину 16. Мешок 10 также содержит два удлиненных выступа 18, которые проходят от тела 12 и выполнены с ним за одно целое. В каждом удлиненном выступе выполнены два отверстия 20, которые получены путем удаления части материала и которые позволяют использовать удлиненные выступы в качестве ручек. Мешок 10 выполнен из термопластичного материала, такого как полиэтилен.
Отверстия 20, выполненные в выступах 18, образуют закрытую ручку, т.е. отверстие, окруженное материалом, в котором пользователь может размещать руку при подъеме или переносе мешка 10. Мешок с ручками имеет преимущество перед мешком без ручек, поскольку при переносе мешка без ручек пользователь захватывает рукой его выступы, в результате чего мешок может выскользнуть из руки, особенно если он сильно нагружен.
Отверстия 20 мешка 10 расположены в каждом выступе 18 и размещены относительно близко к телу 12. Такое размещение отверстий 20 максимально увеличивает количество материала над каждым отверстием и обеспечивает максимальную прочность при использовании выступов 18 в качестве ручек при подъеме и переносе мешка 10.
Отверстия 20 получают путем пробивания вырезок в материале. Эти вырезки могут быть полностью удалены дыропробивным прессом в процессе пробивания. Однако могут быть получены и такие вырезки, материал которых не удаляется, а остается слабосвязанным с соответствующим выступом посредством небольших перемычек.
Выступы 18 имеют длину, достаточную для того, чтобы завязывать их или манипулировать ими, как показано на фиг.2а и 2b. Иными словами, выступы 18 могут быть перекрещены и стянуты вместе с образованием петли, закрывающей горловину 16 мешка 10. Выступы 18 также имеют достаточную длину для того, чтобы завязать их в узел. После завязывания узла выступы 18 могут быть размещены таким образом, чтобы отверстия 20 совпадали друг с другом. Затем пользователь может поднять и перенести мешок, поместив пальцы или руку в отверстия.
На фиг.3 изображен модифицированный вариант мешка 40, который имеет соответствующие вырезки 42, выполненные в каждом из двух удлиненных выступов 44. Каждая вырезка 42 выполнена таким образом, что только некоторый участок образующей ее линии является ослабленным или прорезанным и, следовательно, вырезка остается прочно связанной с выступом 44 или составляет с ним одно целое. Непрорезанные или соединительные участки расположены на той стороне вырезок 42, которые находятся ближе к телу мешка 40, и образуют перевернутые вырезки. Эта особенность сокращает вероятность распространения надрыва при подъеме наполненного мешка 40.
На фиг.4 изображен еще один модифицированный вариант мешка 50, который имеет четыре отверстия, выполненные в каждом из двух удлиненных выступов 54 мешка. Выступы 54 предназначены для размещения в них пальцев пользователя.
На фиг.5а и 5b изображен еще один модифицированный вариант мешка 60, который может иметь три отверстия 62, 64 и 66, выполненные в каждом из двух удлиненных выступов 68, причем отверстие 62 смещено по отношению к другим отверстиям 64, 66 в продольном направлении мешка 60.
На фиг.6а и 6b изображен еще один модифицированный вариант мешка 70, в каждом из двух выступов 74 которого выполнено одно отверстие 72.
Как показано на фиг.7, на удлиненном куске термопластичного материала 82 выполнены мешки 80. Указанный материал может быть сложен с последующим скручиванием в рулон. Каждый мешок 80 выполнен таким образом, что он может быть отделен от соседнего мешка.
Материал 82 выполнен в форме бесшовного рукава, например, путем экструдирования материала. Однако рукав может быть получен и из листа путем складывания его по длине таким образом, чтобы свободные концы располагались внахлест. Затем выполняют термическую сварку свободных концов, чтобы получить рукав. Рукав может быть также получен путем термической сварки двух наложенных друг на друга листов по их длине.
Мешки 80 расположены на материале 82 «лицом к лицу». Это означает, что мешки 80 расположены таким образом, что открытый конец 88 одного мешка расположен смежно с открытым концом соседнего мешка, а закрытый конец 84 этого же мешка расположен смежно с закрытым концом другого мешка, как показано на фиг.7. Расположение мешков 80 «лицом к лицу» обеспечивает отсутствие отходов при их производстве.
Каждый закрытый конец 84, образующий дно каждого мешка 80, получен термической сваркой материала 82. Кроме того, первая перфорированная линия 86 наименьшего сопротивления выполнена так, чтобы она была расположена вблизи каждого закрытого конца 84, что дает возможность в случае необходимости отделить мешок, расположенный с любой стороны от нее. В связи с указанной схемой взаимного расположения мешков 80 на материале 82 каждая первая перфорированная линия 86 наименьшего сопротивления расположена между закрытыми концами 84 двух смежных мешков.
Каждый открытый конец 88 в материале 82 образован соответствующей второй перфорированной линией 90 наименьшего сопротивления, перфорационные отверстия которой имеют одинаковую длину. Форма линии 90 такова, что она задает форму каждого удлиненного выступа 92. Линия 90 выполнена таким образом, что каждый выступ 92 имеет несколько скругленную форму. Следует однако отметить, что выступы могут иметь любую форму.
Процесс образования каждого мешка 80 на материале 82 содержит этап складывания материала по центру вдоль продольной оси. Перед складыванием материала по центру способом термической сварки выполняют закрытые концы 84 мешков, а также вблизи закрытых концов выполняют перфорированные линии 86 наименьшего сопротивления. После складывания материала 82 по центру в каждом выступе 92 пробивают одно или несколько отверстий 94. Преимущество складывания материала 82 по центру заключается в том, что оно сокращает количество ударов при пробивании отверстий. Например, если материал сложен по центру, за один раз в каждом выступе можно пробить сразу два отверстия. Линии 90, которые образуют открытые концы мешков 80, могут также быть выполнены после складывания материала 82 по центру. Материал, сложенный по центру, изображен на фиг.7 и 8а.
Как показано на фиг.8b, 8с и 8d, перед скручиванием материала в рулон он может быть сложен в форме буквы «С» путем переноса краев материала по направлению к продольной оси сложенного по центру материала, как показано на фиг.8b. Складывание материала позволяет сократить его ширину перед скручиванием в рулон. Кроме того, свободные концы, расположенные у центра материала, могут быть отогнуты наружу, как показано на фиг.8с, т.е. материал подвергают обратному складыванию в форме буквы «С». Возможен вариант, при котором края могут быть снова сложены по направлению к продольной оси материала, так что материал оказывается дважды сложенным в форме буквы «С», как показано на фиг.8d.
Следует отметить, что могут быть выполнены различные модификации настоящего изобретения без выхода за рамки его объема. Например, в двух удлиненных выступах мешков может не быть отверстий, в результате чего мешки будут иметь форму, показанную на фиг.9а и 9b. В этом варианте реализации удлиненные выступы образуют ручку, при помощи которой мешок можно переносить.
Предлагаемые мешки пригодны для использования в качестве мешков-вкладышей в мусорную корзину для хранения мусора, а также в качестве мешков для хранения продуктов питания. Однако область применения указанных мешков не ограничена, и возможны другие варианты применения, например хранение тканей или различного сырья перед запуском его в производство, хранение игрушек, использование в качестве упаковочного материала и т.д. Размеры мешка могут быть изменены в зависимости от области его применения.
Формула изобретения
1. Мешок, содержащий удлиненное тело, которое имеет закрытый конец, образующий дно мешка, и открытый конец, образующий горловину мешка, и которое имеет два удлиненных выступа, выполненных с ним за одно целое, проходящих от него и выполненных с возможностью связывания друг с другом двойным узлом для закрытия горловины мешка, причем каждый выступ выполнен с отверстиями, сформированными в нем с образованием ручки.
2. Мешок по п.1, в котором каждое отверстие имеет такие размеры, что позволяет вставить в него палец руки.
3. Мешок по п.1 или 2, в котором каждое отверстие образовано вырезкой.
4. Мешок по п.3, в котором каждое отверстие образовано вырезкой таким образом, что эта вырезка остается соединенной с соответствующим выступом.
5. Мешок по п.4, в котором каждое отверстие образовано «перевернутой вырезкой».
6. Мешок по п.5, в котором каждое отверстие выполнено на участке соответствующего выступа, расположенном вблизи тела мешка.
7. Мешок по п.6, выполненный из термопластичного материала, такого как полиэтилен.
8. Рулон из материала, образующего мешки, каждый из которых содержит удлиненное тело, имеющее закрытый конец, образующий дно мешка, и открытый конец, образующий горловину мешка, причем тело каждого мешка имеет два удлиненных выступа, выполненных с ним за одно целое с возможностью их связывания друг с другом двойным узлом и проходящих от него, каждый из указанных выступов выполнен с отверстиями, сформированными в нем с образованием ручки, а каждый мешок выполнен с возможностью отделения его от рулона.
9. Рулон по п.8, в котором каждое отверстие образовано вырезкой.
10. Рулон по п.8 или 9, в котором каждое отверстие образовано вырезкой таким образом, что эта вырезка остается соединенной с соответствующим выступом.
11. Рулон по п.10, в котором каждое отверстие образовано «перевернутой вырезкой».
12. Рулон по п.8, в котором указанное отверстие получено путем удаления материала из рулона.
13. Рулон по любому из пп.8, 9 или 11 и 12, имеющий первую ослабленную линию, расположенную у закрытого конца каждого мешка и обеспечивающую отделение мешка от следующего мешка рулона, причем открытый конец каждого мешка имеет вторую ослабленную линию, образующую выступы, проходящие от тела указанного мешка, для обеспечения возможности отделения этого мешка от соседнего мешка в рулоне.
14. Рулон по п.13, в котором указанные первая и вторая ослабленные линии представляют собой перфорированные линии наименьшего сопротивления.
15. Рулон по п.14, в котором перфорационные отверстия, образующие перфорированные линии наименьшего сопротивления, имеют одинаковую длину.
16. Рулон по любому из пп.8, 9, 11, 12 или 14 и 15, в котором указанные мешки расположены таким образом, что открытый конец одного мешка расположен смежно с открытым концом соседнего мешка.
17. Рулон по п.16, в котором материал сложен перед скручиванием в рулон.
18. Способ получения рулона мешков, включающий формирование рукава из материала, термическую сварку по ширине материала для получения закрытого конца каждого мешка, формирование соответствующей первой ослабленной линии вблизи каждого закрытого конца и второй ослабленной линии на открытом конце каждого мешка для обеспечения возможности отделения конца каждого мешка от соседнего мешка, причем каждая из указанных вторых ослабленных линий имеет такую форму, что каждый мешок имеет на открытом конце удлиненные выступы, выполненные с ним за одно целое с возможностью их связывания друг с другом двойным узлом, проходящие от его тела и выполненные с отверстиями, сформированными в каждом из них с образованием ручки.
19. Способ по п.18, включающий формирование в каждом удлиненном выступе по меньшей мере одного отверстия путем пробивания.
20. Способ по п.18 или 19, в котором перед формированием второй ослабленной линии материал складывают по центру.
21. Способ по п.20, включающий складывание материала в форме буквы «С».
22. Способ по п.21, включающий двойное складывание материала в форме буквы «С».
23. Способ по любому из пп.18, 19 или 21 и 22, дополнительно включающий отгибание наружу свободных концов, расположенных у центра материала, для увеличения толщины краев материала перед сворачиванием его в рулон.
РИСУНКИ
|