|
|
(21), (22) Заявка: 2005121537/12, 10.12.2003
(24) Дата начала отсчета срока действия патента:
10.12.2003
(30) Конвенционный приоритет:
10.12.2002 GB 0228792.8 24.07.2003 GB 0317365.5
(43) Дата публикации заявки: 10.02.2006
(46) Опубликовано: 20.05.2009
(56) Список документов, цитированных в отчете о поиске:
GB 2349634 А, 08.11.2000. JP 6080124 А, 22.03.1994. WO 9110605 A1, 25.07.1991. GB 2331291 A, 18.11.1997. GB 2345902 A, 26.07.2000.
(85) Дата перевода заявки PCT на национальную фазу:
11.07.2005
(86) Заявка PCT:
GB 03/05414 20031210
(87) Публикация PCT:
WO 2004/052735 20040624
Адрес для переписки:
129090, Москва, ул. Б.Спасская, 25, стр. 3, ООО “Юридическая фирма Городисский и Партнеры”, пат.пов. С.Р.Абубакирову, рег. 931
|
(72) Автор(ы):
МАНИ Джулиан Дэвид Кирл (GB), САВВА Саввакис (GB)
(73) Патентообладатель(и):
РЭПИД ЭКШН ПЭКЭДЖИНГ ЛИМИТЕД (GB)
|
(54) КОРОБКА ДЛЯ ДИАГОНАЛЬНО РАЗРЕЗАННЫХ САНДВИЧЕЙ
(57) Реферат:
Коробка образована из картонной заготовки и имеет треугольные торцевые стенки, соединенные прямоугольными боковыми стенками с образованием контейнера в форме треугольной призмы. Одна боковая стенка контейнера шарнирно соединена с другой стенкой для образования отверстия для введения/извлечения пищевого продукта и образования крышки для закрывания отверстия, причем края отверстия имеют отвернутые борта, а периферия крышки налегает на отвернутые борта, окружающие отверстие, когда крышка находится в закрытом положении. Крышка выполнена с возможностью прикрепления к бортам для герметизации содержимого коробки. При этом коробка образована из картона, который способен термосвариваться на поверхности, образующей внутреннюю сторону контейнера. А периферия крышки прикреплена термосваркой к отвернутым бортам, окружающим отверстие контейнера для герметизации содержимого контейнера. При этом термосварочное соединение крышки с указанными бортами выполнено с возможностью разрыва для открывания контейнера для доступа к сандвичу путем обеспечения двойных параллельных линий частичного надреза вдоль бортов. Причем одна из указанных линий расположена в месте пересечения каждого борта со смежной стенкой, а другая линия расположена на расстоянии от первой линии, так что борта могут быть разорваны для открывания крышки. Предложенное изобретение обеспечивает создание упаковки, которую легко и удобно использовать, которая является герметично закрытой и которая образована из материала, поддающегося полному биохимическому разложению. 8 з.п. ф-лы, 17 ил.
Это изобретение относится к коробкам для диагонально нарезанных сандвичей или подобного пищевого продукта.
В публикации ЕР 532531 (заявитель) описан контейнер для пищевого продукта, образованный из картонной заготовки и имеющий треугольные торцевые стенки, соединенные с прямоугольными боковыми стенками с образованием контейнера, имеющего форму треугольной призмы. Одна боковая стенка контейнера шарнирно соединена с другой стенкой контейнера, чтобы обеспечить отверстие для введения/извлечения пищевого продукта и образовать крышку для закрывания этого отверстия. Края крышки и края контейнера, продолжающиеся от шарнира, имеют выполненные за одно целое язычки с линией сгиба на шарнире, посредством чего язычки сгибаются внутрь под крышку, когда ею закрывают отверстие, способствуя удержанию пищевого продукта в контейнере.
В случаях, когда коробку используют для скоропортящихся пищевых продуктов, таких как сандвичи, срок хранения коробки ограничен 2-3 часами для обеспечения того, чтобы сандвичи, приобретенные потребителем, были приемлемо свежими.
В случаях, когда сандвичи или другой пищевой продукт являются скоропортящимися, но требуется более длительный срок хранения, необходимо обеспечить герметично закрытую упаковку для пищевого продукта, которую обычно продувают инертным газом, например азотом. Герметично закрытую упаковку для таких пищевых продуктов обычно образуют из пластика, и пищевые продукты, содержащиеся в такой упаковке, могут иметь срок хранения 2-3 дня или даже несколько недель. Пластиковую упаковку обычно образуют из поливинилхлорида (ПВХ), который не поддается биохимическому разложению, и многие розничные торговцы неохотно используют такие материалы из-за проблем загрязнения окружающей среды и, следовательно, плохого имиджа продукта.
Задача настоящего изобретения состоит в создании упаковки для сандвича или другого пищевого продукта, которую так же легко и удобно использовать, как и упаковку для сандвичей, описанную в публикации ЕР 1032531 (заявитель), которая может быть герметично закрыта для уменьшения порчи пищевого продукта, находящегося в упаковке в течение длительного срока хранения, и которая образована из материала, поддающегося полному биохимическому разложению.
Согласно изобретению предлагается коробка для диагонально нарезанного сандвича или подобного пищевого продукта, образованная из плоской заготовки и имеющая треугольные торцевые стенки, соединенные с прямоугольными боковыми стенками для образования контейнера с формой треугольной призмы, при этом одна боковая стенка контейнера шарнирно соединена с другой стенкой контейнера, чтобы обеспечить отверстие для введения/извлечения пищевого продукта и образовать крышку для закрывания отверстия, причем края имеют отвернутые борта, а периферия крышки перекрывает отвернутые борта, окружающие отверстие, когда крышка находится в закрытом положении, посредством чего крышка может быть соединена с бортами для закупоривания содержимого картонной коробки.
Например, коробка может быть образована из термосвариваемой заготовки, посредством чего периферия крышки контейнера может быть прикреплена термосваркой к отвернутым бортам, окружающим отверстие контейнера.
Альтернативно периферия крышки контейнера может быть приклеена к отвернутым бортам, окружающим отверстие контейнера.
В любом из указанных вариантов крышка может быть выполнена с выступающим язычком, продолжающимся за отвернутые борта отверстия контейнера для отделения крышки от отвернутых бортов, к которым она прикреплена, для открывания контейнера.
Кроме того, в любом из указанных вариантов крышка может быть шарнирно соединена с основанием одной из треугольных торцевых стенок, при этом смежные боковые стенки и противоположная торцевая стенка контейнера имеют отвернутые борта, к которым может быть прикреплена периферия крышки.
В последнем случае угол крышки, удаленный от шарнирного соединения с треугольной торцевой стенкой, может быть выполнен с выступающим язычком, захватываемым для открывания крышки.
В другой конструкции согласно изобретению крышка может быть шарнирно соединена с одной боковой стенкой контейнера, а смежные треугольные торцевые стенки и противоположная боковая стенка имеют отвернутые борта, к которым прикрепляется периферия крышки для герметизации содержимого контейнера.
В последнем случае указанная противоположная боковая стенка контейнера может иметь удлиненный клапан, а конец крышки, противоположный шарнирному соединению с боковой стенкой контейнера, имеет соответствующий язычок, который соединен с клапаном на боковой стенке для герметизации коробки и который может быть использован для отрывания крышки от контейнера при открывании.
Конкретнее, язычок на конце крышки может быть выполнен с отрывной полоской, не прикрепленной к клапану на смежной боковой стенке контейнера, так что отрывная полоска может быть легко отделена от остальной части клапана и использована для отрывания крышки.
В любом из указанных вариантов крышка может иметь окно, продолжающееся по меньшей мере на часть длины крышки, с прозрачной пластиковой пленкой, продолжающейся через окно и прикрепленной к нижней стороне крышки, для возможности рассмотрения содержимого контейнера.
Кроме того, в любом из указанных вариантов треугольные торцевые стенки коробки могут иметь линии сгиба, продолжающиеся от их вершин к основаниям напротив, для возможности складывания контейнера в плоскую форму для его хранения до использования.
В случае, когда крышка шарнирно соединена с одной треугольной торцевой стенкой контейнера, линия сгиба, продолжающаяся через эту торцевую стенку для ее складывания, проходит также через крышку для возможности складывания крышки вместе с торцевой стенкой.
Согласно дополнительному признаку настоящего изобретения язычок на крышке, шарнирно соединенной с одной торцевой стенкой, и язычки на бортах на другой торцевой стенке контейнера не приварены друг к другу, а сохраняются разделяемыми, чтобы пользователь мог захватить их обеими руками для оттягивания и отрывания крышки от бортов, окружающих отверстие, с разрушением сварного шва между крышкой и бортами для получения доступа к сандвичам или другому пищевому продукту в контейнере.
Далее приводится описание некоторых конкретных вариантов осуществления изобретения со ссылкой на сопровождающие чертежи, на которых:
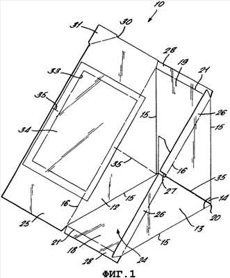
фиг.1 – вид в перспективе спереди контейнера для сандвича согласно изобретению с крышкой в открытом положении и с плоскими торцевыми стенками,
фиг.2 – вид, подобный виду на фиг.1 и показывающий крышку в открытом положении и изогнутые торцевые стенки контейнера,
фиг.3 – вид в перспективе сзади контейнера с закрытой крышкой,
фиг.4 – вид в плане заготовки, из которой образован контейнер по фиг.1-3,
фиг.5 – вид в перспективе спереди модифицированного контейнера, показанного с открытой крышкой и плоскими торцевыми стенками,
фиг.6 – вид, подобный виду на фиг.5 и показывающий крышку в открытом положении и изогнутые торцевые стенки,
фиг.7 – вид в перспективе сзади контейнера по фиг.5 и 6,
фиг.8 – вид в плане заготовки контейнера, из которой образован контейнер по фиг.5-8,
фиг.9 – вид в перспективе другого модифицированного контейнера, подобного контейнеру по фиг.1,
фиг.10 – вид в перспективе коробки для нескольких диагонально нарезанных сандвичей с крышкой, загнутой для ее приваривания к бортам, окружающим отверстие коробки,
фиг.11 – вид, подобный виду на фиг.10 и показывающий крышку, прикрепленную термосваркой к бортам, окружающим коробку, но с язычками для открывания на крышке и на борту, не скрепленными вместе,
фиг.12 – подобный виду на фиг.10 вид коробки с нижней стороны,
фиг.13-15 – виды еще одного варианта выполнения изобретения,
фиг.16 – модифицированный вариант конструкции, показанной на фиг.1-3, и
фиг.17 – модифицированный вариант конструкции, показанной на фиг.13-15.
Ссылаясь вначале на варианты выполнения по фиг.1-4, на которых показан контейнер в форме треугольной призмы, обозначенный в целом позицией 10, для содержания диагонально нарезанных сандвичей. Контейнер образован из заготовки в виде одного куска, изготовленной из термосвариваемого материала, такого как сгибаемый картон для коробок (FBB) толщиной 400 мкм с 15 г полиэтиленовым покрытием на внутренней поверхности для термосварки. Альтернативно для обеспечения термосварки картон может иметь полиэфирное покрытие. Пригодны также и другие виды упаковочного материала, например твердый отбеленный картон SBS с жиростойким покрытием, например полипропиленовым, акриловым или т.п. Контейнер имеет две торцевые стенки 12, 13 в форме равнобедренного треугольника, имеющие прямоугольные вершины 14, боковые края 15 равной длины и основные края 16. Торцевые стенки 12, 13 удерживаются на расстоянии друг от друга посредством прямоугольных боковых стенок 18, 19, продолжающихся вдоль боковых краев 15 торцевых стенок. Боковые стенки 18, 19 контейнера соединены в верху 20 контейнера, а на других своих концах имеют концевые края 21, которые вместе с краями 16 оснований торцевых стенок ограничивают прямоугольное отверстие 24 в основании контейнера для введения и извлечения диагонально нарезанного сандвича или подобного пищевого продукта.
Отверстие 24 может быть закрыто крышкой 25, шарнирно соединенной вдоль одного основного края 16 для ее опускания на отверстие 24. Другой основной край 15 имеет отвернутый, выполненный за одно целое борт 26 с центральным разрезом 27, а смежные концевые края боковых стенок 18, 19 имеют отвернутые борта 28. В закрытом положении крышки периферия крышки налегает на борта 26 и 28 и приварена к этим бортам с использованием нагретых до 210°С зажимов под давлением 80 фунт/кв.дюйм при 1 с выдержке.
Контейнеры для сандвичей открывают, заполняют и запечатывают с использованием машины, которая имеет захваты с карманами для поддержания упаковок открытыми. Сандвич помещают в упаковку. Затем упаковку подают к месту сгибания бортов, где борта вокруг отверстия контейнера отвертывают наружу, чтобы они были готовы для приема крышки. Затем опускают крышку и подводят тепло, используя нагретые зажимы для закрывания и приваривания крышки. После этого упаковку извлекают.
Один угол 30 крышки, находящийся на расстоянии от линии шарнирного соединения с торцевой стенкой и противоположно этой линии, образован с выступающим треугольным язычком 31, который не приварен к бортам и который может быть поднят для отделения крышки от бортов, когда желательно открыть коробку.
Крышка коробки имеет большое прямоугольное центральное отверстие 33, по которому продолжается полоска 34 пленки, прикрепленная к внутренней стороне крышки для образования окна, в которое можно видеть содержимое контейнера.
Торцевые стенки контейнера образованы с линиями сгиба 35, проходящими от вершин этих стенок к краям оснований этих стенок. В случае торцевой стенки, с которой шарнирно соединена крышка, линия сгиба проходит через крышку. Эта линия сгиба позволяет складывать плоской коробку до ее использования. Когда коробка собрана, линии сгиба в торцевых стенках/крышке вызывают изгиб торцевых стенок наружу, как показано на фиг.2, чтобы оператор мог вложить сандвич в коробку, а потребитель соответственно мог извлечь сандвич из коробки.
На фиг.4 показана заготовка в виде одного куска, из которой образуют коробку по изобретению.
На фиг.5-8 показана подобная коробка, за исключением того, что в этом случае крышка шарнирно соединена с одной боковой стенкой, а противоположная боковая стенка образована с увеличенным клапаном 36, с которым сваривают соответствующий язычок 37 на свободном конце крышки. Основные края торцевых стенок коробки имеют отвернутые борта, и периферия крышки перекрывает основные края для их термосваривания с язычками, чтобы, как выше, получить герметично закрытую упаковку. Язычок 37 на крышке имеет сходящиеся линии 38 перфорации, продолжающиеся к центральному выступу 39, и центральная часть язычка не приварена или не приклеена к соответствующему клапану на корпусе контейнера. Следовательно, центральная часть язычка легко отрывается от остальной части язычка и может использоваться для подъема крышки от корпуса контейнера с разрывом сварного соединения крышки с отвернутыми бортами торцевых стенок контейнера.
Наконец, на фиг.9 показана коробка, подобная картонной коробке на фиг.1-4, за исключением того, что язычок для отделения крышки от отвернутых бортов, окружающих отверстие коробки, образован в центре крышки и с перекрытием термосварен с соответствующим язычком на противоположных бортах основного края коробки. В остальном этот вариант является таким же, как и вышеописанный вариант.
Понятно, что в пределах изобретения могут быть сделаны многочисленные модификации в отношении заготовки и способа сборки контейнера для сандвича. Например, вместо использования термосвариваемого картона для контейнера может быть использован обычный картон, а крышку можно приклеивать к бортам отверстия подходящим клеем.
Коробка, показанная на фиг.10-12, подобна коробке 10, показанной на фиг.9, за исключением того, что язычок 40 на крышке 25 и язычки 41 и 42 на частях 26 борта не соединены вместе термосваркой. Таким образом, язычок 40 может быть отделен от язычков 41 и 42, когда нужно открыть коробку, вручную отделяя язычки. Таким образом, разрывается сварной шов между крышкой и бортами, окружающими отверстие, и открывается крышка коробки. Этот вариант в остальном сходен с вариантом, описанным в нашей заявке 0228792.8.
Далее со ссылкой на фиг.13-15 описывается другая модифицированная конструкция коробки. Показанный вариант, в общем, подобен варианту на фиг.9. В модифицированном варианте отсутствуют все язычки 40, 41, 42; крышка 25 имеет полукруглый вырез 43 в центре ее свободного края и борт 26 имеет похожий вырез 44. Как и прежде, крышку 25 коробки прикрепляют термосваркой с отвернутыми бортами 26 и 28, окружающими отверстие коробки, но в этом случае, кроме того, использовано частично надрезанное соединение, известное как «Конкора». С помощью специальных комбинированных термосварочных/режущих приспособлений образуют линии частичного надреза 45 в бортах 26 и 28, когда крышку термосваривают с бортами с каждой стороны линий надреза. На фиг.14 можно видеть одну из линий надреза на одном из бортов 28. Кроме того, в центре борта 26 образована узкая прорезь 26а для облегчения отделения крышки от борта. Когда для открывания коробки крышку оттягивают так, как показано на фиг.13, борта 26 и 28 разрываются по линиям надреза 45, как показано на фиг.15, чтобы можно было открыть крышку. В остальном этот вариант подобен варианту на фиг.9.
Теперь рассмотрим фиг.16, на которой показан модифицированный вариант упаковки по фиг.1-3. Для облегчения отделения крышки от бортов в варианте прикрепления крышки к бортам 26 и 28, показанном на фиг.16, использована вышеописанная система «Конкора» из варианта, показанного на фиг.13-15. С этой целью борта 26 и 28 образованы с двойными параллельными линиями частичного надреза, и на нижних сторонах бортов можно видеть соответствующие вдавленные линии, обозначенные позициями 21 и 21а. Линия 21 также образует шарнир между бортами и стенкой контейнера. Когда отрывают крышку контейнера для его открывания, борта отделяются по линиям 21/21а, как это описано выше со ссылкой на фиг.13.
Еще один признак упаковки, показанной на фиг.16, заключается в том, что торцевая стенка 13 образована из двух треугольных частей 13а и 13b, которые сходятся у линии 35 шарнира. Часть 13а стенки имеет интегральный язычок (не показан), продолжающийся за линию 35 шарнира позади второй части 13b стенки, при этом язычок приклеен к задней стороне части 13b стенки для скрепления вместе частей стенки. Язычок продолжается вдоль третьей линии 35 до шарнирной линии 21, но не продолжается в борта 26а и 26b. Часть борта 26b между вдавленными линиями 21 и 21а образована с небольшим удлинением или выступом 50, который перекрывает прилегающую часть борта 26а и способствует термосварке с крышкой, когда упаковку закрывают. За вдавленной линией 21а борта 26а и 26b имеют небольшой зазор 51.
На фиг.17 показана другая модификация упаковки по фиг.13-15, в которой торцевая стенка 13 выполнена подобным образом, как и торцевая стенка, описанная выше со ссылкой на фиг.16. Таким образом, стенка 13 образована из двух частей 13а, 13b с язычком на части 13а, который приклеен позади части 13b. Часть борта 26b между шарнирной линией 21 и параллельной линией 21а немного выступает в месте 50, перекрывая смежную часть борта 26а, чтобы и здесь способствовать термосварке упаковки, когда закрывают крышку. Оставшиеся части бортов 26а и 26b находятся на небольшом расстоянии друг от друга, образуя, как и раньше, зазор 51 (щель).
Формула изобретения
1. Коробка для диагонально нарезанного сандвича или подобного пищевого продукта, образованная из картонной заготовки и имеющая треугольные торцевые стенки (12, 13), соединенные прямоугольными боковыми стенками (18, 19) с образованием контейнера с формой треугольной призмы, в котором одна боковая стенка контейнера (10) шарнирно соединена с другой стенкой контейнера, чтобы обеспечить отверстие (24) для введения/извлечения пищевого продукта и образовать крышку (25) для закрывания отверстия, причем края отверстия имеют отвернутые борта (26, 28), а периферия крышки налегает на отвернутые борта, окружающие отверстие, когда крышка находится в закрытом положении, причем крышка выполнена с возможностью прикрепления к бортам для герметизации содержимого коробки, при этом коробка образована из картона, который способен термосвариваться на поверхности, образующей внутреннюю сторону контейнера, а периферия крышки прикреплена термосваркой к отвернутым бортам, окружающим отверстие контейнера, для герметизации содержимого контейнера, отличающаяся тем, что термосварочное соединение крышки с указанными бортами выполнено с возможностью разрыва для открывания контейнера для доступа к сандвичу в нем путем обеспечения двойных параллельных линий частичного надреза (45) вдоль бортов, причем одна из указанных линий обеспечена в месте пересечения каждого борта со смежной стенкой, а другая линия обеспечена на расстоянии от первой линии, так что борта могут быть разорваны для открывания крышки.
2. Коробка по п.1, отличающаяся тем, что крышка (25) образована с выступающим язычком (31, 39, 40), продолжающимся за отвернутые борта (26, 28) отверстия (24) контейнера, для возможности отделения крышки от отвернутых бортов, к которым она прикреплена, для открывания контейнера.
3. Коробка по п.2, отличающаяся тем, что крышка (25) шарнирно соединена с основанием одной (13) из треугольных торцевых стенок, при этом смежные боковые стенки (18, 19) и противоположная торцевая стенка контейнера имеют отвернутые борта (26, 28), к которым прикреплена периферия крышки.
4. Коробка по п.1 или 2, отличающаяся тем, что крышка (25) шарнирно соединена с одной боковой стенкой (19) контейнера, а смежные треугольные торцевые стенки (12, 13) и противоположная боковая стенка (18) имеют отвернутые борта (26, 36), к которым прикреплена периферия крышки для герметизации содержимого контейнера.
5. Коробка по п.1 или 2, отличающаяся тем, что крышка (25) имеет окно (34), продолжающееся по меньшей мере на часть длины крышки, с прозрачной пластмассовой пленкой, продолжающейся через окно и прикрепленной к нижней стороне крышки, чтобы можно было видеть содержимое контейнера.
6. Коробка по п.1 или 2, отличающаяся тем, что треугольные торцевые стенки (12, 13) коробки образованы с линиями сгиба (35), продолжающимися от вершин к противоположным основаниям (16) для возможности складывания контейнера в плоскую форму для хранения до использования.
7. Коробка по п.6, отличающаяся тем, что в случае, когда крышка (25) шарнирно соединена с одной треугольной торцевой стенкой (13) контейнера, линия сгиба (35), продолжающаяся через эту торцевую стенку для возможности складывания торцевой стенки, также продолжается через крышку для возможности складывания крышки вместе с торцевой стенкой.
8. Коробка по п.6, отличающаяся тем, что указанные линии сгиба (35) делят пополам торцевые стенки (12, 13) контейнера.
9. Коробка по п.1, отличающаяся тем, что термосвариваемый картон, из которого выполнен контейнер, имеет покрытие на его внутренней поверхности, образованное из полиэтилена, полиэфира, полипропилена, акрила или т.п.
РИСУНКИ
|
|