|
|
(21), (22) Заявка: 2007130026/11, 06.08.2007
(24) Дата начала отсчета срока действия патента:
06.08.2007
(46) Опубликовано: 20.05.2009
(56) Список документов, цитированных в отчете о поиске:
RU 2004139277 А, 10.07.2005. ЕР 1396744 А2, 10.03.2004. RU 65281 U1, 27.07.2007. RU 43679 U1, 27.01.2005.
Адрес для переписки:
428015, Чувашская республика, г.Чебоксары, Московский пр-кт, 40, Открытое акционерное общество “Научно-производственный комплекс “ЭЛАРА” имени Г.А. Ильенко”
|
(72) Автор(ы):
Полутов Андрей Геннадьевич (RU), Самсонов Константин Игоревич (RU)
(73) Патентообладатель(и):
Открытое акционерное общество “Научно-производственный комплекс “ЭЛАРА” имени Г.А. Ильенко” (RU)
|
(54) СПОСОБ ФОРМИРОВАНИЯ СВЕТОВОГО ПОТОКА В СВЕТОВОЙ ПАНЕЛИ И СВЕТОВАЯ ПАНЕЛЬ ДЛЯ ЕГО ОСУЩЕСТВЛЕНИЯ
(57) Реферат:
Группа изобретений предназначена для использования в области светотехники при реализации световых панелей. Световая панель содержит два светопровода: листовую деталь (ЛД) из оптически прозрачного материала, одна из поверхностей которой гладкая, и основание. На гладкой поверхности ЛД формируют знаки комбинированием непрозрачной эмали и эмали, частично пропускающей свет. Затем измеряют коэффициент поглощения света и цветовые координаты ЛД. Основание имеет участок для размещения ЛД, на который наносят частично пропускающую свет белую эмаль до достижения необходимого уровня яркости с учетом коэффициента поглощения ЛД. После этого основание покрывают эмалью (кроме участка для установки ЛД и ее поверхности), после чего ЛД и основание соединяют. Затем повторно измеряют цветовые координаты совокупного светового потока и выполняют их корректировку в ЛД. Техническим результатом является улучшение светотехнических характеристик, а также обеспечение требуемых цветовых координат совокупного светового потока в течение всего периода эксплуатации световой панели. 2 н. и 10 з.п. ф-лы, 3 ил.
Группа изобретений предназначена для использования в области светотехники в качестве объектов различного назначения: информационных и рекламных световых панелей, световых табло, транспарантов световой сигнализации, в том числе для летательных аппаратов, особенно для полетов в сложных метеорологических условиях (повышенная влажность, перепады давления и температуры). Возможно также использование изобретения в качестве светового прибора в помещениях и на автотранспорте.
Техническим результатом изобретений является улучшение светотехнических характеристик (яркость, равномерность свечения символов, знаков, надписей и т.п.), а также обеспечение требуемых цветовых координат совокупного светового потока в течение всего периода эксплуатации световой панели. Кроме того, благодаря предлагаемой конструкции панели обозначения защищены от истирания и загрязнения, что увеличивает срок ее службы.
Анализ применения световых панелей в различных областях техники выявил широкое использование составных световых панелей, построенных по схеме: основание – пространственный модулятор света (знакообразующий слой или деталь) – защитный колпачок.
Однако в случае возникновения конденсата под защитным колпачком проявляются как разделительные линии в месте плотного прилегания составных частей световой панели друг к другу, так и участки отслоения. Это приводит к цветовым изменениям и появлению известного оптического явления – колец Ньютона. Вследствие этого происходит постепенное загрязнение и последующее разрушение пространственного модулятора света.
Известны способы обеспечения светотехнических характеристик световых панелей и транспарантов световой сигнализации с применением методов сеткографии ОСТ1 80213 и фотопечати ОСТ1 80304. Они заключаются в нанесении обозначений (символов, знаков, надписей и т.п.) на световую панель, доводке светотехнических характеристик посредством дополнительной подкраски или зачистки поверхностей световой панели, а также ретуши знаков. Недостатком указанных способов является высокая трудоемкость изготовления световых панелей и необходимость выполнения дополнительных мероприятий по защите лицевой поверхности световых панелей от истирания и загрязнения: покрытие несколькими слоями лака, использование специальных защитных панелей или устройств и др.
Наиболее близкое по конструкции техническое решение известно из заявки РФ 2004139277, МПК F21V 1/00, опубл. 10.07.2005 г. Необходимые цветовые характеристики обеспечиваются путем формирования средств совокупного светового потока: светопровод, рассеивающая среда, флуоресцентные красители. К недостаткам аналога относится то, что светопровод по преимуществу имеет цилиндрическую форму и для него задается определенное положение относительно источников света. Кроме того, флуоресцентные красители частично поглощают свет от источника света и сами излучают свет определенной длины волны. В результате свет, излучаемый светорассеивающей средой, расположенной вблизи источника света, представляет собой совокупное световое излучение с множеством доминирующих длин волн (спектральных максимумов люминофора красителей и исходного света). Кроме того, координаты цвета определяются выбором люминофора, что затрудняет обеспечение высокой точности координат цвета светового потока. К тому же при длительной эксплуатации люминофоры деградируют, что находит отражение в изменении цветовых координат совокупного светового потока.
Наиболее близким к заявленному способу формирования светового потока в световой панели является техническое решение по патенту ЕПВ 1396744, МПК G02B 6/00; G02B 5/02; G02B 6/02; G02B 6/122; G02B 6/28; G02B 6/42; G02F 1/13357; G02B 6/00; G02B 5/02; G02B 6/02; G02B 6/122; G02B 6/28; G02B 6/42; G02F 1/13, опубл. 10.03.2004 г., в котором содержатся следующие этапы способа обеспечения светотехнических характеристик: измерение качества выходных характеристик световой панели, расчет параметров доводки светотехнических характеристик, выполнение доводки за счет нанесения светорассеивающей среды рассчитанной оптической плотности.
Недостатком прототипа является сложность управления светотехническими характеристиками среды, которое осуществляется посредством увеличения или уменьшения концентрации рассеивающих частиц и их размеров. Регулировка цветовых координат техническим решением не предусмотрена, поэтому этот способ не может обеспечить повторяемость цвета совокупного светового потока в изделиях, поскольку она зависит от партии светодиодов, времени изготовления, от отклонений технологических параметров при изготовлении и др.
Задачей настоящих изобретений является обеспечение стабильности (постоянства) светотехнических характеристик световой панели в течение периода эксплуатации в условиях высокой влажности, перепадов температуры и давления, а также постоянство цветовых характеристик изделий, изготовленных в разные периоды времени. Другой задачей является увеличение срока службы световой панели.
Техническим результатом изобретений является улучшение светотехнических характеристик (яркость, равномерность свечения символов, знаков, надписей и т.п.), а также обеспечение требуемых цветовых координат совокупного светового потока в течение всего периода эксплуатации световой панели. Кроме того, благодаря предлагаемой конструкции световой панели символы, знаки, надписи и т.п. защищены от истирания и загрязнения, что увеличивает срок ее службы и устойчивость обозначений по отношению к агрессивным средам.
Это достигается за счет того, что световая панель, содержащая основание, выполненное из оптически прозрачного материала, пространственный модулятор света, выполненный из светопропускающего материала, поверхность входа светового потока которого покрыта комбинацией частично пропускающего свет красителя и непрозрачного красителя, отличается тем, что пространственный модулятор света выполнен в виде листовой детали, одна поверхность которой является гладкой, покрыта красителем и соединена с основанием, а другая – текстурированной, а основание содержит участок, покрытый частично пропускающим световой поток красителем для установки и центрирования листовой детали.
В качестве непрозрачного красителя используют эмаль цветом фона, а в качестве красителя, частично пропускающего световой поток, – белую эмаль. Листовая деталь выполняется из оргстекла или поликарбоната. Участок для установки и центрирования листовой детали имеет форму углубления. Соединение этой детали с основанием может осуществляться сплошным оптически прозрачным клеевым швом либо установкой упомянутых конструктивных элементов в обойму в виде рамки, выполненной из упругого материала, например резины.
Способ формирования светового потока в заявляемой световой панели включает этапы формирования пространственного распределения светового потока на светопроводе, измерения выходных характеристик, выполнения доводки по его результатам. Отличительной особенностью способа является формирование пространственного распределения светового потока на двух светопроводах, на первом из которых формируют пространственное распределение света и выполняют измерение коэффициента поглощения света и значения цветовых координат, а на втором светопроводе обеспечивают яркость и равномерность светового потока с учетом проведенного измерения, после чего светопроводы соединяют, производят измерение цветовых координат совокупного светового потока и корректировку цветовых координат в первом светопроводе.
Эта корректировка осуществляется известным способом, например добавлением пигментов, поглощающих цветовые составляющие светового потока первым светопроводом (пространственным модулятором света), совместно с корректировкой поглощения света в нем. Яркость и равномерность светового потока обеспечиваются дополнительным нанесением на поверхность второго светопровода частично пропускающей свет белой эмали.
Заявленные способ формирования светового потока в световой панели и световая панель для его осуществления имеют отличия от наиболее близких аналогов, соответственно заявленные решения удовлетворяют условию патентоспособности изобретения «новизна».
Заявленные изобретения взаимосвязаны настолько, что образуют единый изобретательский замысел. Использование предложенной конструкции световой панели, реализующей заявленный способ, позволяет решить поставленную задачу с получением требуемого технического результата.
На чертежах изображена конструкция световой панели.
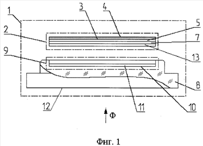
Фиг.1 – конструкция световой панели, в которой светопроводы соединены посредством оптически прозрачного клея.
Фиг.2 – вид сверху на световую панель.
Фиг.3 – конструкция световой панели, в которой светопроводы соединены посредством обоймы.
Заявляемая световая панель 1 (Фиг.1) состоит из двух частей, представляющих собой два светопровода. Первый – пространственный модулятор света в виде листовой детали 2, выполненной из светопропускающего материала, например оргстекла или поликарбоната. Причем поверхность 3 листовой детали 2 со стороны входа светового потока Ф является гладкой, а поверхность 4 со стороны выхода светового потока Ф – текстурированной. На гладкую поверхность 3 листовой детали 2 наносят эмаль 5 цветом фона, формирующую контуры символов, знаков и надписей 6 (Фиг.2), и частично пропускающую свет белую эмаль 7 любым известным способом (литография, растровая печать, лазерная гравировка и пр.).
Второй светопровод представляет собой основание 8, например, в виде прямоугольника (форма основания определяется местом установки световой панели: на приборной доске – прямоугольная, на потолке – трапециевидная или скругленная и т.п., и объемом высвечиваемой информации) с участком 9 (например, в виде углубления) для установки и центрирования листовой детали 2. В зависимости от назначения световой панели источники света могут находиться как внутри тела основания 8, так и за его пределами (как показано на Фиг.1).
На поверхность 10 основания 8 нанесена белая, частично пропускающая свет эмаль 11, определяющая яркость и равномерность свечения символов, знаков, надписей 6 и т.п. На основание 8 за исключением его поверхности 10 и поверхности 12 входа светового потока Ф нанесена не пропускающая свет эмаль 5 цвета фона.
Оба светопровода световой панели 1 соединены друг с другом. В частности, они могут быть склеены сплошным прозрачным швом 13 посредством слоя оптически прозрачного клея, который нанесен на гладкую поверхность листовой детали 2 поверх эмали 7.
Также светопроводы могут быть соединены посредством обоймы 14 (Фиг.3) из упругого материала, например резины.
Устройство работает следующим образом.
Световой поток Ф, в общем случае не обладающий равномерностью, проходит через основание 8 световой панели 1. Далее световой поток Ф, рассеянный и частично поглощенный эмалью 11 на поверхности 10 основания 8, через слой прозрачного клеевого шва 13 попадает в слои эмали 5, 7 листовой детали 2.
В случае применения обоймы 14 световой поток Ф при выходе из основания 8 попадает непосредственно в слои эмали 5, 7.
Внутрь листовой детали 2 световой поток Ф проникает, повторяя символы, знаки, надписи 6 и т.п., которые наблюдаются на контрастном фоне листовой детали 2 и основания 8.
Способ формирования светового потока в световой панели осуществляется следующим образом.
Символы, знаки, надписи 6 и т.п., сформированные эмалями 5 и 7 на листовой детали 2, характеризуются коэффициентом поглощения светового потока Ф и цветовыми координатами. Посредством колориметра измеряют коэффициент поглощения света символами, знаками, надписями 6 и т.п. и значение цветовых координат при освещении белым светом.
Деталь 2 формирует световой поток Ф, повторяя форму символов, знаков, надписей и т.п., и обеспечивает корректировку цветовых координат исходного светового потока Ф.
На участок 9 основания 8, предназначенный для установки листовой детали 2, наносят светорассеивающее вещество (например, белую, частично пропускающую свет эмаль 11), производя при этом последовательное измерение яркости и равномерности свечения символов до достижения необходимого уровня с учетом коэффициента поглощения света листовой детали 2.
После этого основание 8 покрывают не пропускающей свет эмалью 5 цвета фона за исключением участка для установки листовой детали 2 и поверхности 12 входа светового потока Ф основания 8, затем листовую деталь 2 и основание 8 соединяют (например, оптически прозрачным сплошным клеевым швом 13) и проводят измерение значений цветовых координат совокупного светового потока и корректировку цветовых координат в листовой детали 2.
В случае необходимости частой замены листовой детали 2 в конструкции светопровода, вызванной, например, изменениями требований к языку надписей: китайский, русский, английский и т.п., соединение детали 2 и основания 8 производят посредством обоймы 14 из упругого материала, например резины.
Подстройка цветовых координат благодаря листовой конструкции пространственного модулятора света может осуществляться на стандартном типографском оборудовании, имеющем контроль цветовых координат.
Цвет исходного светового потока определяется цветом источника света, например светодиода, который приближенно определяет цветовую область на диаграмме CIE, которая в общем случае не совпадает с требуемой областью. Пространственный модулятор света (знакообразующие слои), выполненный на листовой детали 2, обеспечивает избирательное поглощение некоторых цветовых составляющих светового потока, что приводит к более точному получению требуемых цветовых координат и устраняет влияние отклонения от технологических параметров. Возможность осуществления тонкой подстройки цветовых координат обеспечивает повторяемость цвета в изделиях, изготовленных в различное время, на различной элементной базе с применением различных материалов.
В настоящее время имеется возможность выбора узкой цветовой области внутри широкой области диаграммы CIE. Например, с использованием цветовой диаграммы CIE внутри зеленой области можно выбрать светодиоды verde, green, true green, real green.
Заявленные технические решения явным образом не следуют из уровня техники. Кроме того, в процессе патентного поиска не выявлены технические решения, имеющие признаки, совпадающие с отличительными признаками заявленных решений, и, следовательно, они удовлетворяют условию патентоспособности изобретения «изобретательский уровень».
Предложенные изобретения могут быть применены в области светотехники. Проведенные испытания подтверждают работоспособность изделия и достижение заявленного технического результата. В описании содержатся материальные средства для изготовления световой панели, реализующей способ формирования в ней светового потока. В связи с этим группа изобретений соответствует критерию патентоспособности изобретения «промышленная применимость». Заявленная группа изобретений предполагается к использованию в качестве световых панелей для самолетов Ил-96 и Ил-114, а также в качестве кнопок клавиатуры пультов управления.
Формула изобретения
1. Световая панель, содержащая основание, выполненное из оптически прозрачного материала, пространственный модулятор света, выполненный из светопропускающего материала, поверхность входа светового потока которого покрыта комбинацией частично пропускающего свет красителя и непрозрачного красителя, отличающаяся тем, что пространственный модулятор света выполнен в виде листовой детали, одна поверхность которой является гладкой, покрыта красителем и соединена с основанием, а другая – текстурированной, а основание содержит участок для установки и центрирования листовой детали, покрытый частично пропускающим световой поток красителем.
2. Световая панель по п.1, отличающаяся тем, что в качестве непрозрачного красителя используют эмаль цветом фона.
3. Световая панель по п.2, отличающаяся тем, что в качестве красителя, частично пропускающего световой поток, используют белую эмаль.
4. Световая панель по п.3, отличающаяся тем, что листовая деталь выполнена из оргстекла.
5. Световая панель по п.3, отличающаяся тем, что листовая деталь выполнена из поликарбоната.
6. Световая панель по п.4 или 5, отличающаяся тем, что участок основания для установки и центрирования пространственного модулятора света имеет форму углубления.
7. Световая панель по п.6, отличающаяся тем, что листовая деталь соединена гладкой поверхностью с основанием посредством оптически прозрачного клея.
8. Световая панель по п.6, отличающаяся тем, что листовая деталь соединена гладкой поверхностью с основанием посредством обоймы в виде рамки.
9. Световая панель по п.8, отличающаяся тем, что рамка выполнена из упругого материала.
10. Световая панель по п.9, отличающаяся тем, что в качестве упругого материала используют резину.
11. Способ формирования светового потока в световой панели, включающий этапы формирования пространственного распределения светового потока на светопроводе, измерения выходных светотехнических характеристик, выполнения доводки по его результатам, отличающийся тем, что формирование пространственного распределения светового потока осуществляют на двух светопроводах, на первом из которых формируют пространственное распределение света, выполняют измерение цветовых координат и коэффициента поглощения света, а на втором обеспечивают яркость и равномерность светового потока с учетом проведенного измерения, после чего светопроводы соединяют, производят измерение значения цветовых координат совокупного светового потока и корректировку цветовых координат в первом светопроводе.
12. Способ по п.11, отличающийся тем, что корректировку цветовых координат осуществляют одновременно с корректировкой коэффициента поглощения света в первом светопроводе.
РИСУНКИ
|
|