|
|
(21), (22) Заявка: 2006114557/11, 27.04.2006
(24) Дата начала отсчета срока действия патента:
27.04.2006
(43) Дата публикации заявки: 20.11.2007
(46) Опубликовано: 20.05.2009
(56) Список документов, цитированных в отчете о поиске:
US 6029928 А, 29.02.2000. RU 29032 U1, 04.11.2002. RU 2099250 C1, 20.12.1997. RU 2085449 C1, 27.07.1997. JP 4103498 A, 06.04.1992. US 5088663 A, 18.02.1992.
Адрес для переписки:
456300, Челябинская обл., г. Миасс, Тургоякское ш., 1, ОАО “ГРЦ Макеева”
|
(72) Автор(ы):
Данилкин Вячеслав Андреевич (RU), Дегтярь Владимир Григорьевич (RU), Сабуренко Валерий Васильевич (RU), Шевалдина Лариса Витальевна (RU)
(73) Патентообладатель(и):
Открытое акционерное общество “Государственный ракетный центр имени академика В.П. Макеева” (RU)
|
(54) АВИАЦИОННЫЙ РАКЕТНЫЙ КОМПЛЕКС
(57) Реферат:
Изобретение относится к области авиационно-космической техники и может быть использовано в авиационных ракетных комплексах космического назначения оснащенных, например, жидкостными ракетными двигателями и запускаемых в воздухе с целью выведения космических аппаратов на орбиты. Авиационный ракетный комплекс содержит самолет, баллистическую ракету-носитель, устройство сопряжения ракеты-носителя с самолетом и системы, обеспечивающие их функционирование, наземную транспортно-разгонную платформу, оснащенную двигателями. При этом на корпусе ракеты-носителя дополнительно смонтированы обтекатель с установленным на нем крылом, обтекатели носовой и хвостовой, на котором установлены стабилизатор и вертикальное оперение. Обтекатели выполнены с возможностью отделения их от корпуса ракеты-носителя, а сопряженные между собой трос-фал, крыло, центроплан крыла и его обтекатель образуют устройство сопряжения ракеты-носителя с самолетом. Наземная транспортно-разгонная платформа представляет собой самолет, имеющий остаточные ресурс и срок службы, доработанный под размещение и наземное транспортирование на нем ракеты-носителя. Изобретение направлено на увеличение габаритов и стартового веса ракеты-носителя и, как следствие этого, увеличение выводимых на орбиты масс космических аппаратов. 2 з.п. ф-лы, 3 ил.
Изобретение относится к области авиационной ракетно-космической техники. Оно может быть использовано в авиационных ракетных комплексах (АРК) космического назначения, преимущественно с тяжелыми баллистическими ракетами (массой 100 т и более), оснащенными, например, жидкостными ракетными двигателями (ЖРД) и запускаемыми в воздухе с целью выведения космических аппаратов (КА), например, ИСЗ на орбиты.
Известен аналог АРК с тяжелой ракетой-носителем (РН), размещаемой вне фюзеляжа самолета, представленный в информационных выпусках 20, 21, 31, 32, 38-41, 45, 46 1988 года “Ракетно-космическая техника” по материалам иностранной печати, экспресс-информация, серия 1, издание “Центрального научно-исследовательского института машиностроения”, г.Москва по АРК с ракетой-носителем (РН) “Пегас” (США).
Указанный аналог, как наиболее близкий по технической сути, может быть принят за прототип.
Основными недостатками прототипа в том числе являются:
– необходимость выполнения больших объемов научно-исследовательских и опытно-конструкторских работ (НИОКР) по созданию наземного средства (НС), обеспечивающего взлет ракеты-носителя, оснащенной крылом, стабилизатором и, например, вертикальным оперением, путем буксировки ее самолетом;
– большие финансовые затраты и сроки выполнения работ, необходимые для создания вышеупомянутого НС.
– малая эффективность использования технических возможностей самолетов-буксировщиков ракеты-носителя (РН);
– малые надежность и безопасность АРК при его создании и штатной эксплуатации, в том числе при полете самолета в район пуска РН и при ее пуске.
Задачами, на решение которых направлено изобретение, в том числе являются:
– уменьшение объемов выполнения НИОКР по созданию вышеупомянутого НС (далее по тексту читать: транспортно-разгонной платформы (ТРП) ) и, следовательно, АРК в целом;
– повышение безопасности экипажа самолета при взлете;
– повышение безопасности и надежности самолета при взлете;
– существенное снижение затрат на создание АРК в целом;
– существенное снижение технических и других рисков при создании АРК и при его эксплуатации, а также сроков разработки АРК.
Это достигается, в том числе за счет:
– применения наземной ТРП, на которой смонтирована РН;
– применения РН, на корпусе которой дополнительно установлены обтекатель со смонтированным на нем крылом, обтекатели передний (носовой) и хвостовой со стабилизирующими поверхностями с возможностью их отделения от корпуса РН;
– исполнения наземной ТРП на базе существующего отработанного самолета, принятого к летной эксплуатации, например, самолета Ил-76МТ (МД, МФ), имеющего остаточные ресурс и срок службы, доработанного под размещение и наземное транспортирование на нем РН, а также под обеспечение эксплуатации его в составе АРК, при этом этот базовый самолет дорабатывается под размещение на нем ракеты-носителя (РН) в минимальном объеме и с максимальным использованием всех его штатных агрегатов, узлов и систем (шасси, двигатели, фюзеляж, системы управления, электропитания, связи и т.д.).
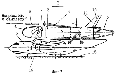
Сущность изобретения поясняется фиг.1-3, на которых показаны общий вид размещения ракеты-носителя на наземной ТРП и ее сопряжение с самолетами, выполняющими функции буксировщиков.
РН 1 со смонтированными на ее корпусе обтекателем 2 с крылом 3, передним (носовым) обтекателем 4, хвостовым обтекателем 5 размещена на наземной ТРП 6. Крыло 3 с помощью его центроплана 7 и обтекателя 2 закреплено на корпусе РН 1, буксировочный трос-фал 8 соединен с центропланом 7 крыла 3 РН 1 и самолетом 9. Передний обтекатель 4 и хвостовой обтекатель 5 смонтированы на передней и хвостовой частях РН 1 соответственно. На хвостовом обтекателе 5 смонтированы стабилизирующие поверхности, образующие управляемые стабилизатор 10 и, например, вертикальное хвостовое оперение 11. Крыло 3 снабжено элеронами 12, стабилизатор 10, например, рулями высоты 13, а оперение 11, например, рулями направления 14. В крыле 3 и его центроплане 7, в обтекателях 2, 4, 5 при необходимости могут быть выполнены полости под размещение элементов систем управления, энергоснабжения крыла 3, стабилизатора 10, хвостового оперения 11, РН 1 и др. систем, обеспечивающих функционирование АРК (не показаны).
Сопряженные между собой трос-фал 8, крыло 3, центроплан 7 крыла 3, обтекатель 2 крыла 3 образуют устройство сопряжения РН1 с самолетом 9, выполняющим функции самолета-буксировщика.
Эта система, включающая РН 1, самолет 9 и другие вышеупомянутые элементы, функционирует следующим образом.
Перед запуском космического аппарата наземная ТРП 6 подается на техническую позицию авиационного ракетного комплекса, где на нее производится погрузка снаряженной РН 1, например, не заправленной компонентами топлива, со смонтированными на ней вышеупомянутыми элементами.
После погрузки снаряженной ракеты-носителя 1 на наземную ТРП 6 производятся заправка РН 1 топливом и проверки ее систем, а также систем ТРП 6 на функционирование.
После завершения всех работ по подготовке авиационного ракетного комплекса к запуску космического аппарата, снаряженная ТРП 6 буксируется на взлетно-посадочную полосу (ВПП) 15 в точку начала движения ТРП 6 при взлете самолета 9 на пуск РН 1, где производится сцепление самолета 9 с центропланом 7 крыла 3 РН 1 с помощью буксировочного троса-фала 8. В результате чего самолеты 9 и ТРП 6 приведены в стартовое положение на ВПП 15.
Функционирование комплекса производится в следующей последовательности.
По команде от системы управления АРК на вылет в район пуска РН 1 одновременно на самолете 9 и ТРП 6 запускаются двигатели (для разгона ТРП 6 на ней установлены, например, двигатели 16 от вышеупомянутого базового самолета, например, Ил-76МТ (МД, МФ)). Тяги двигателей самолета 9 и ТРП 6 обеспечивают равные ускорения при движении их по ВПП 15.
По достижении заданных уровней тяг двигателей самолета-буксировщика 9 и ТРП 6 подается команда на взлет (начало движения их по ВПП 15).
При этом обеспечиваются уровни тяг двигателей самолета 9 двигателей 16 ТРП 6, исключающие провисание троса-фала 8 до недопустимого уровня.
При движении самолета 9 и ТРП 6 по ВПП 15 на самолет 10 и РН 1 действуют подъемные силы, которые обеспечивают отрыв самолета 9 от ВПП 15 и снаряженной РН 1 от ТРП 6 при достижении ими заданной скорости движения (~280-300 км/час).
При отрыве самолета 9 от ВПП 15 одновременно от ТРП 6 производится отделение РН 1 по команде, например, от системы управления АРК (РН 1 или ТРП 6) и начало полета самолета 9 в район пуска РН 1. При этом пуск РН 1 производится по команде системы управления АРК после отделения смонтированных на ее корпусе обтекателя 2 с крылом 3, переднего обтекателя 4 и хвостового обтекателя 5 с помощью использования, например, удлиненных детонирующих зарядов смонтированных в обтекателях 2, 4, 5.
Таким образом, представленный выше технический облик АРК с новыми отличительными признаками в сравнении с прототипом позволяет, в том числе:
– при меньших финансовых затратах и сроках, необходимых для создания АРК, увеличить его эффективность;
– повысить безопасность и надежность эксплуатации АРК;
– упростить технологию изготовления и отработки систем АРК при их создании;
– уменьшить технические, экономические и другие риски при создании АРК и его эксплуатации.
Предложенное в изобретении техническое решение открывает перспективное направление разработки АРК.
Формула изобретения
1. Авиационный ракетный комплекс, включающий самолет, ракету-носитель воздушного запуска, устройство сопряжения ракеты-носителя с самолетом, системы, обеспечивающие их функционирование, отличающийся тем, что содержит дополнительно смонтированные на корпусе ракеты-носителя обтекатель, на котором смонтировано крыло с центропланом, оснащенное элеронами, обтекатели носовой и хвостовой, на котором установлены стабилизирующие поверхности, образующие управляемые стабилизатор и, например, вертикальное хвостовое оперение, при этом обтекатели выполнены с возможностью отделения их от корпуса ракеты-носителя, наземную транспортно-разгонную платформу, оснащенную двигателями, на которой смонтирована ракета-носитель с установленными на ее корпусе обтекателями, трос-фал, при этом сопряженные между собой трос-фал, крыло, центроплан крыла и его обтекатель образуют устройство сопряжения ракеты-носителя с самолетом, а наземная транспортно-разгонная платформа представляет собой самолет, имеющий остаточные ресурс и срок службы, доработанный под размещение и наземное транспортирование на нем ракеты-носителя.
2. Авиационный ракетный комплекс по п.1, отличающийся тем, что в полостях, смонтированных на ракете-носителе носового и хвостового обтекателей, обтекателя крыла и его центроплана размещены элементы систем управления ракеты-носителя, крыла, стабилизирующих поверхностей и их энергоснабжения, например электроаккумуляторы.
3. Авиационный ракетный комплекс по п.1, отличающийся тем, что наземная транспортно-разгонная платформа снабжена системой управления.
РИСУНКИ
|
|