|
|
(21), (22) Заявка: 2006137374/12, 23.03.2005
(24) Дата начала отсчета срока действия патента:
23.03.2005
(30) Конвенционный приоритет:
24.03.2004 GB 0406642.9
(43) Дата публикации заявки: 27.04.2008
(46) Опубликовано: 20.05.2009
(56) Список документов, цитированных в отчете о поиске:
US 5435657 А, 25.07.1995. US 6522349 B1, 18.02.2003. US 2002/031388 A1, 14.03.2002. GB 2161754 A, 22.01.1986. RU 2074822 С1, 10.03.1997.
(85) Дата перевода заявки PCT на национальную фазу:
24.10.2006
(86) Заявка PCT:
IB 2005/000919 20050323
(87) Публикация PCT:
WO 2005/092629 20051006
Адрес для переписки:
103735, Москва, ул.Ильинка, 5/2, ООО “Союзпатент”, пат.пов. С.В.Истомину
|
(72) Автор(ы):
ВАНДЕРМЁЛЕН Крис (BE)
(73) Патентообладатель(и):
ДАЙМО (BE)
|
(54) ЛЕНТОЧНЫЙ ПРИНТЕР
(57) Реферат:
Изобретение относится к ленточному принтеру, в частности к портативному ленточному принтеру, предназначенному для использования с кассетой. Ленточный принтер для использования с кассетой с лентой и кассетой с красящей лентой содержит корпус и печатную головку, на которой сформирована линия печатаных элементов, в котором принтер содержит, по меньшей мере, один участок установки кассеты в корпусе, предназначенный для установки в него кассеты с лентой и кассеты с красящей лентой, так чтобы эти кассеты можно было установить в направлении, по существу, перпендикулярном линии печатных элементов на печатной головке, когда печатная головка находится в положении печати, в котором используются два участка установки кассеты в корпусе, первый участок установки кассеты, предназначенный для установки кассеты с лентой, и второй участок установки кассеты, предназначенный для установки кассеты с красящей лентой. Также предложена система печати на ленте, содержащая указанный ленточный принтер, в комбинации кассеты с лентой, в которой расположен запас ленты, и кассеты с красящей лентой, в которой расположен запас красящей ленты; кассета с красящей лентой для ленточного принтера; способ загрузки кассеты с лентой и кассеты с красящей лентой в ленточный принтер. 5 н. и 17 з.п. ф-лы, 29 ил.
Область техники, к которой относится изобретение
Настоящее изобретение относится к ленточному принтеру. В частности, но не исключительно, настоящее изобретение относится к портативному ленточному принтеру, предназначенному для использования с кассетой, в которой установлен носитель для приема печатного изображения, и с отдельной кассетой, в которой установлен носитель формирования печатного изображения, такой как лента переноса изображения.
Уровень техники
Известные ленточные принтеры могут быть разделены на два типа: ленточные принтеры, предназначенные для использования с кассетой, в которой установлен как носитель для приема печатного изображения (ниже называется лентой, которая может представлять собой непрерывную ленту или может содержать полотно, на котором размещены выштампованные этикетки) и носитель формирования печатного изображения (ниже называется красящей лентой), а также ленточные принтеры, которые предназначены для использования с кассетой, в которой установлена лента, и отдельной кассетой, в которой установлена красящая лента. Преимущество последней компоновки состоит в том, что кассету с красящей лентой можно заменять другой кассетой, содержащей красящую ленту, такого же или другого типа, без замены кассеты с лентой. Это является предпочтительным, например, при многоцветной печати, при которой кассета с красящей лентой может быть заменена другой кассетой, содержащей красящую ленту другого цвета. В качестве альтернативы кассета с лентой может быть заменена без замены кассеты с красящей лентой. Это свойство является предпочтительным, если требуется использовать ленту разного типа, такую, как ленту разной ширины, или ленту, содержащую другой материал. Кроме того, отдельную кассету с красящей лентой можно использовать для множества кассет с лентой, в которых красящая лента в кассете с красящей лентой имеет большую длину, чем лента в кассете с лентой.
В настоящем описании системы, в которых используется кассета, содержащая как ленту, так и красящую ленту, называются системами типа D1, и системы, в которых используют отдельную кассету с лентой и кассету с красящей лентой, называются системами типа D2.
Наиболее часто используемая компоновка как для системы типа D1, так и для системы D2, содержит ленточный принтер, имеющий участок установки кассеты на его верхней поверхности. На участке установки кассеты расположены печатная головка и валик.
В известных системах типа D1 кассету, в которой установлена лента и красящая лента, вставляют в участок установки с верхней стороны в направлении, параллельном оси вращения валика и также параллельном линии печатных элементов печатной головки, так чтобы, когда кассета устанавливается на участке установки, лента и красящая лента проходили с наложением друг на друга между печатной головкой и валиком, при этом красящая лента находилась бы с той же стороны ленты, что и печатная головка. После установки кассеты на участке установки кассеты печатную головку и/или валик можно перемещать для зажима красящей ленты и ленты между ними для печати.
В известных компоновках типа D2 принтер содержит участок установки кассеты, предназначенный для установки кассеты с лентой и кассеты с красящей лентой. На участке установки кассеты расположен валик и печатная головка, и кассету с лентой и кассету с красящей лентой вставляют с верхней стороны в направлении, параллельном направлению оси вращения валика, а также параллельно линии печатных элементов печатной головки. После установки на участке установки кассеты лента и красящая лента перемещаются с наложением друг на друга между печатаной головкой и валиком, при этом печатная головка и/или валик выполнены подвижными, что позволяет зажимать ленту и красящую ленту между ними для печати.
Недостаток такого типа компоновки с вертикальной загрузкой состоит в том, что лента и/или красящая лента может захватывать элементы принтера, такие как печатная головка и/или валик, что может привести к повреждению ленты и/или красящей ленты. Кроме того, в кассетах, используемых в таких компоновках, имеются участки, на которых лента/красящая лента продолжаются наружу из корпуса кассеты. Из-за этого ленту и/или красящую ленту можно повредить во время хранения, а также при использовании.
Компоновка типа D1, в которой была сделана попытка решения указанной выше проблемы, раскрыта в US-5,435,657. В этом патенте раскрыт принтер, предназначенный для использования с картриджем, в котором расположена красящая лента и лента. Внутри кассеты установлен валик, который взаимодействует с лентой и красящей лентой, причем лента находится на стороне, расположенной ближе к валику относительно красящей ленты. На боковой стороне принтера сформировано отверстие для установки кассеты, которую можно вставлять в поперечном направлении в принтер. При поперечной вставке в принтер валик кассеты взаимодействует с печатной головкой в принтере, и зубчатое колесо на валике взаимодействует с зубчатым колесом в принтере для перемещения ленты и красящей ленты.
В публикации WO 99/44834 раскрыт принтер типа D2, в котором кассету с красящей лентой можно вставлять в поперечном направлении на его боковой стороне. Ленту поставляют в виде катушки, которую можно вставлять на участок установки катушки с верхней стороны принтера. В принтере установлена печатная головка и валик, которые взаимодействуют с лентой и красящей лентой, проходящими между ними. В компоновке, раскрытой в публикации WO 99/44834, валик и печатная головка расположены таким образом, что ось вращения валика и линия печатных элементов в печатной головке располагаются параллельно направлению вставки кассеты с красящей лентой. В соответствии с этим описанная выше проблема, когда красящая лента захватывает валик и/или печатную головку, сохраняется в этой компоновке. Кроме того, поскольку лента не находится внутри кассеты, она может быть повреждена во время хранения и использования.
Сущность изобретения
Описанные ниже варианты выполнения предназначены для решения указанных выше проблем.
В соответствии с настоящим изобретением предложен ленточный принтер, предназначенный для использования с кассетой с лентой и кассетой с красящей лентой, причем указанный принтер содержит корпус и печатную головку, на которой сформирована линия печатных элементов, в котором указанный принтер содержит, по меньшей мере, один участок установки кассеты в указанном корпусе, предназначенный для установки в него кассеты с лентой и кассеты с красящей лентой, так чтобы эти кассеты можно было установить в направлении, по существу, перпендикулярном линии печатных элементов на печатной головке, когда печатная головка находится в положении печати.
В соответствии с другим аспектом настоящего изобретения предложена система печати на ленте, содержащая ленточный принтер, такой как определено выше, в комбинации с кассетой с лентой, в которой расположен запас ленты, и кассетой с красящей лентой, в которой расположен запас красящей ленты.
В соответствии с другим аспектом настоящего изобретения предложена кассета с красящей лентой для ленточного принтера, причем указанная кассета содержит корпус, имеющий участок подачи красящей ленты, на котором расположена катушка подачи красящей ленты, участок приема красящей ленты, в котором расположена катушка приема красящей ленты, и элемент, соединяющий указанные два участка, в котором предусмотрено отверстие в корпусе между участком подачи красящей ленты и участком приема красящей ленты, которое продолжается через всю ширину корпуса кассеты от задней стороны до передней стороны в направлении, перпендикулярном осям вращения указанных катушек, причем красящая лента продолжается от указанного участка подачи красящей ленты до указанного участка приема красящей ленты через указанное отверстие, причем указанная кассета с красящей лентой дополнительно содержит зубчатое колесо, соединенное с указанной катушкой приема красящей ленты на ее верхнем или нижнем участках, предназначенное для соединения с приводящим зубчатым колесом ленточного принтера.
В соответствии с другим аспектом настоящего изобретения предложен способ загрузки кассеты с лентой и кассеты с красящей ленты в ленточный принтер, причем указанный ленточный принтер содержит печатную головку, на которой сформирована линия печатных элементов, причем указанный способ содержит этап вставки указанной кассеты с лентой и указанной кассеты с красящей лентой в указанный ленточный принтер в направлении, которое, по существу, перпендикулярно линии печатных элементов на печатной головке, когда печатная головка находится в положении для печати.
Варианты выполнения настоящего изобретения позволяют решить указанные выше проблемы благодаря использованию ленточного принтера, предназначенного для использования с кассетой с лентой и кассетой с красящей лентой, в котором кассета с лентой и кассета с красящей лентой могут быть вставлены в поперечном направлении в принтер, в направлении, которое перпендикулярно оси вращения валика и линии печатных элементов на печатной головке принтера. В соответствии с этим варианты выполнения образуют систему типа D2, в которой кассета с лентой и кассета с красящей лентой могут быть загружены в принтер так, что исключается вероятность захвата лентой и красящей лентой таких элементов принтера, как печатная головка и/или валик. Варианты выполнения настоящего изобретения выполнены удобными для пользователя и обеспечивают возможность простой загрузки кассет в ленточный принтер и извлечения их из него. Кроме того, варианты выполнения настоящего изобретения имеют преимущество по сравнению с компоновками типа D1, состоящее в том, что кассета с лентой или кассета с красящей лентой могут быть заменены индивидуально в соответствии с требованиями пользователя.
В соответствии с другим аспектом настоящего изобретения предложена кассета с лентой, предназначенная для ленточного принтера, причем кассета с лентой содержит корпус, имеющий основание, верхнюю часть и стороны, продолжающиеся от основания к верхней части, в корпусе установлен рулон носителя для приема печатного изображения, ось вращения которого продолжается в первом направлении, корпус имеет направляющий элемент на каждой из двух противоположных сторон, продолжающийся вдоль указанных сторон во втором направлении, перпендикулярном первому направлению, и предназначенный для направления кассеты с лентой в ленточном принтере во втором направлении.
Два удлиненных направляющих элемента способствуют направлению кассеты с лентой в ленточный принтер, а также совмещению кассеты с лентой с печатной головкой ленточного принтера. Направляющие элементы также предотвращают движение кассеты после вставки ее в ленточный принтер для обеспечения более качественной печати. Благодаря установке удлиненного направляющего элемента с противоположных сторон предотвращается вращательное движение кассеты.
Предпочтительно кассета с лентой дополнительно содержит катушку подачи, продолжающуюся в первом направлении, причем рулон носителя для приема печатного изображения установлен на катушке подачи. Кассета с лентой также может содержать валик, продолжающийся в первом направлении и установленный в отверстие корпуса, предназначенный для взаимодействия с печатной головкой ленточного принтера при использовании.
Предпочтительно направляющие элементы должны быть выполнены с возможностью предотвращения движения кассеты как в вертикальном, так и горизонтальном направлениях после вставки ее в ленточный принтер. Одна такая компоновка обеспечивается с помощью направляющих элементов, содержащих первый удлиненный элемент, расположенный в плоскости, перпендикулярной боковым стенкам кассеты, и второй удлиненный элемент, расположенный в плоскости, параллельной боковым стенкам, для предотвращения движения, как в вертикальном, так и в горизонтальном направлениях, когда кассета вставлена в принтер. Направляющие элементы, таким образом, имеют, по существу, Т-образное поперечное сечение. При такой компоновке кассета очень точно устанавливается в отсек установки кассеты относительно печатной головки для обеспечения высококачественной печати.
Краткое описание чертежей
Для лучшего понимания настоящего изобретения, а также для того, чтобы показать, как его можно использовать на практике, будет сделана ссылка, в качестве примера, на прилагаемые чертежи, на которых:
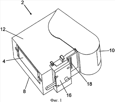
На фиг.1 показана схема печатной системы типа D2 в соответствии с первым вариантом выполнения настоящего изобретения;
На фиг.2а показана схема, иллюстрирующая загрузку кассеты с красящей лентой в варианте выполнения, показанном на фиг.1;
На фиг.2b показано увеличенное изображение фиксирующего механизма, представленного на фиг.2а;
На фиг.3а показана схема, дополнительно иллюстрирующая загрузку кассеты с красящей лентой по фиг.2, когда кассета с красящей лентой установлена в крышке принтера;
На фиг.3b показан принтер по фиг.3а, когда крышка принтера находится в закрытом положении;
На фиг.4 показана схема печатной системы типа D2 в соответствии со вторым вариантом выполнения настоящего изобретения;
На фиг.5 показан другой вид варианта выполнения, представленного на фиг.4;
На фиг.6а показана схема, иллюстрирующая загрузку кассеты с красящей лентой в варианте выполнения по фиг.4 и 5;
На фиг.6b показан увеличенный участок фиг.6а, иллюстрирующий элементы совмещения в держателе кассеты с красящей лентой и на кассете с красящей лентой.
На фиг.7а показана схема, дополнительно иллюстрирующая загрузку кассеты с красящей лентой по фиг.6, когда кассета с красящей лентой находится в держателе кассеты с красящей лентой и крышка находится в открытом положении;
На фиг.7b показан принтер по фиг.7а, в котором крышка находится в закрытом положении;
На фиг.8 показан вариант выполнения по фиг.4-7 с альтернативным режущим модулем;
На фиг.9 показана схема печатной системы типа D2 в соответствии с третьим вариантом выполнения настоящего изобретения;
На фиг.10 показан другой вид варианта выполнения, показанного на фиг.9;
На фиг.11 показана схема, иллюстрирующая загрузку кассеты с красящей лентой в варианте выполнения по фиг.9 и 10;
На фиг.12 показан другой вид, аналогичный представленному на фиг.11, но с корпусом, представленным прозрачным, чтобы показать внутренние детали принтера;
На фиг.13а показана схема, иллюстрирующая движение печатной головки в положение для печати в варианте выполнения, показанном на фиг.9-12, когда печатная головка находится в положении не для печати;
На фиг.13b показан принтер по фиг.13а с печатной головкой в промежуточном положении между положением не для печати и положением печати;
На фиг.14 показана схема печатной головки в положении печати с корпусом принтера, представленным прозрачным для ясности изображения;
На фиг.15 показана схема по фиг.14, но с непрозрачным корпусом принтера;
На фиг.16 показана схема печатной системы типа D2 в соответствии с четвертым вариантом выполнения настоящего изобретения;
На фиг.17 показан другой вид четвертого варианта выполнения настоящего изобретения;
На фиг.18 показана схема, иллюстрирующая загрузку кассеты с красящей лентой в варианте выполнения по фиг.16 и 17;
На фиг.19 показана схема по фиг.18, при этом корпус принтера представлен прозрачным для ясности изображения;
На фиг.20 показана схема, иллюстрирующая кассету с красящей лентой и печатную головку в компоновке, представленной на фиг.16-19;
На фиг.21а показана схема, иллюстрирующая движение печатной головки между положением не для печати и положением печати в четвертом варианте выполнения, причем печатная головка находится в положении не для печати;
На фиг.21b показана печатная головка в промежуточном положении между положением не для печати и положением печати;
На фиг.22 показана схема, поясняющая четвертый вариант выполнения в компоновке для печати, когда обе кассеты загружены, и печатная головка находится в положении печати, причем корпус принтера представлен прозрачным для ясности изображения;
На фиг.23 показана схема, представленная на фиг.22, но здесь представлен непрозрачный корпус;
На фиг.24 показана схема, иллюстрирующая кассету с лентой;
На фиг.25 показана кассета с лентой по фиг.24 с удаленной верхней стороной для иллюстрации внутренней компоновки кассеты с лентой;
На фиг.26 показан вид с покомпонентным представлением деталей кассеты с лентой по фиг.24 и 25;
На фиг.27 показана схема, иллюстрирующая кассету с красящей лентой;
На фиг.28 показана кассета с красящей лентой по фиг.27 с удаленной передней стороной для иллюстрации внутренней компоновки кассеты с красящей лентой;
На фиг.29 показан вид с покомпонентным представлением деталей кассеты с красящей лентой по фиг.27 и 28.
На чертежах одинаковые детали обозначены одинаковыми ссылочными позициями. Кроме того, следует отметить, что чертежи представлены только схематично. В частности, на чертежах показана часть установки кассеты принтеров в соответствии с вариантами выполнения настоящего изобретения. Для ясности, другие части принтера, такие как клавиатура и дисплей, не были представлены. Предполагается, что части установки кассеты, представленные на чертежах, могут быть внедрены в портативном принтере или в принтере для ПК. Например, в одном варианте выполнения, участок принтера, содержащий клавиатуру и дисплей, продолжается со стороны части установки кассеты, противоположной механизму резака в представленных вариантах выполнения.
Подробное описание изобретения
На фиг.1-3 схематично показана система печати типа D2 в соответствии с первым вариантом выполнения настоящего изобретения. Система печати содержит принтер 2, кассету 4 с лентой (вариант выполнения которой более подробно показан на фиг.24-26 и описан ниже) и кассету 6 красящей ленты (вариант выполнения которой более подробно показан на фиг.27-29 и описан ниже). Принтер 2 имеет корпус, содержащий две части, которые можно поворачивать относительно друг друга. В представленном варианте выполнения корпус содержит крышку 10, которую можно поворачивать относительно корпуса 12 принтера 2. На стороне корпуса 12 предусмотрено отверстие 8 для вставки кассеты с лентой 4 в поперечном направлении. Кассета 4 с лентой дополнительно содержит валик 11. Крышка 10 содержит печатную головку 14, установленную на нее. В открытом положении, как показано на фиг.2а, крышка 10 расположена так, что в нее устанавливается кассета 6 с красящей лентой. При закрывании крышки 10, на которой установлена кассета 6 с красящей лентой, печатная головка 14 соединяется с валиком 11, установленным в кассете 4 с лентой так, что красящая лента и лента располагаются между ними. Операция закрывания показана на фиг.3а и 3b. Резак 16 предусмотрен на стороне ленточного принтера 2 рядом с выходом 18 ленты и предназначен для отрезания этикеток.
В альтернативной компоновке кассета с лентой устанавливается на крышку, и кассета с красящей лентой устанавливается в корпус принтера. При такой компоновке печатная головка расположена в корпусе принтера.
Вариант выполнения кассеты с лентой представлен на фиг.24-26. Кассета 4 с лентой содержит корпус, который имеет верхнюю сторону 5, нижнюю сторону 7 и боковые стороны 9, 11, 13, 15. Нижняя сторона 7 и боковые стороны 9, 11, 13, 15 выполнены как единая деталь, а верхняя сторона 5 выполнена съемной для упрощения конструкции. Нижняя сторона 7 имеет изогнутую стенку 17 на ее внутренней поверхности для установки в нее ленты 19. Две противоположные боковые стороны 9, 11 имеют направляющие элементы 21, предназначенные для направления кассеты с лентой при вставке ее в принтер для обеспечения хорошего совмещения кассеты с печатной головкой принтера. Внутри указанного корпуса предусмотрена катушка 23 подачи ленты, и в ней установлен запас ленты 19. Верхняя и нижние стороны имеют сквозное отверстие 25, расположенное так, чтобы оно соответствовало положению катушки 23, когда она загружена в корпус. Одна из указанных сторон 15 имеет отверстие 27, обеспечивающее выход ленты на углу корпуса. Рядом с выходом ленты расположен валик 29, предназначенный для взаимодействия с печатной головкой 14 принтера 2. Валик установлен рядом с указанным отверстием между указанными верхней и нижней сторонами для обеспечения вращательного движения, причем ось вращения указанного валика расположена перпендикулярно указанной верхней и нижней поверхностям, а также перпендикулярно направлению вставки указанной кассеты 4 в указанный принтер 2. Лента расположена так, что она проходит от указанной катушки подачи и вокруг участка указанного валика так, что участок ленты, расположенной на валике, открывается в отверстии в корпусе для печати на нем.
Вариант выполнения кассеты с красящей лентой показан на фиг.27-29. Кассета 6 с красящей лентой содержит корпус, имеющий переднюю и заднюю части 31, 33, которые могут соединяться друг с другом для простоты изготовления. Корпус имеет участок 20 подачи красящей ленты, участок 22 приема красящей ленты и отверстие 24 между ними. На участке 20 подачи красящей ленты установлена катушка 35 подачи красящей ленты, в то время как на участке 22 приема красящей ленты расположена катушка 37 приема красящей ленты. Катушка 35 подачи красящей ленты содержит запас красящей ленты 39. Красящая лента 39 проходит через прорезь 41 на участке 20 подачи красящей ленты корпуса и через отверстие 24 между участком 20 подачи красящей ленты и участком 22 приема красящей ленты в корпусе. Красящая лента проходит через прорезь 43 на участке 22 приема красящей ленты корпуса в катушку 37 приема красящей ленты, установленную в нем. Участок 20 подачи красящей ленты корпуса и участок 22 приема красящей ленты корпуса соединены на верхней и нижней сторонах верхним и нижним поперечными элементами 26, 28. В конкретном варианте выполнения, представленном на фиг.2, верхний поперечный элемент 28 выполнен как единая деталь с верхней поверхностью 30 корпуса. Верхняя поверхность продолжается через отверстие 24 между двумя участками 20, 22 корпуса и обеспечивает дополнительную прочность для предотвращения поломки поперечных элементов при работе с ними. Как показано на фиг.27-29, также может быть предусмотрена нижняя поверхность 45, которая продолжаются под отверстием 24, между двумя участками корпуса, что дополнительно усиливает корпус кассеты.
Поперечные элементы 26, 28 образуют, по существу, прямоугольное окно со сторонами участка 20 подачи красящей ленты и участка 22 приема красящей ленты корпуса. Отверстие 24 в корпусе кассеты продолжается через всю ширину корпуса кассеты, от задней стороны до передней стороны, в направлении, перпендикулярном осям вращения катушек 35, 37. Красящая лента 39 продолжается через, по существу, прямоугольное окно, в результате чего при использовании печатная головка 14 в принтере 2 проходит через отверстие 24 в корпусе и взаимодействует с красящей лентой в окне для печати.
Корпус кассеты с красящей лентой дополнительно содержит фиксирующий механизм 32, как показано на фиг.2b, который взаимодействует с корпусом принтера для удержания кассеты 6 на месте. В варианте выполнения, показанном на фиг.2, фиксирующий механизм 32 содержит отверстие на стороне корпуса кассеты, которое взаимодействует с выступом 34, сформированным на корпусе принтера 2, образуя элемент удержания с защелкой. В представленном варианте выполнения выступ расположен на крышке 10 принтера 2 и предназначен для удержания кассеты 6 на участке установки кассеты на крышке принтера.
Кассета с красящей лентой дополнительно содержит зубчатое колесо 23, соединенное с указанной катушкой 37 приема красящей ленты на ее нижнем участке для соединения с приводящим зубчатым колесом ленточного принтера во время печати. Кассета с красящей лентой дополнительно содержит зубчатое колесо 25, соединенное с указанной катушкой 35 подачи красящей ленты на ее нижнем участке для соединения с приводящим зубчатым колесом ленточного принтера. Этот механизм обеспечивает возможность перемотки красящей ленты, и его также можно использовать для предварительного натяжения красящей ленты перед печатью. Кассета с красящей лентой дополнительно содержит две звездочки 47, 49 с фланцами 51, 53, причем эти звездочки соединены с катушкой 35 подачи красящей ленты и катушкой 37 приема красящей ленты соответственно. Звездочки подпружинены с помощью спиральных пружин 55, 57, так что образуется тормоз обратной перемотки.
Участок установки кассеты на крышке содержит две полости 36, 38, при этом участок 40 установки печатной головки располагается между ними. Участок 40 установки печатной головки продолжается от нижней поверхности крышки 10 до положения, расположенного на расстоянии от верхней поверхности крышки 10. Таким образом, образуется зазор между участком 40 установки печатной головки и верхней поверхностью крышки 10 для установки в него верхней поверхности 30 кассеты 6 с красящей лентой. В альтернативном варианте выполнения, в котором кассета с красящей лентой предусмотрена на нижней поверхности, также предусмотрен зазор между участком установки печатной головки и нижней поверхностью крышки для установки в него нижней поверхности кассеты с красящей лентой.
Печатная головка 14 установлена на участке 40 установки печатной головки. Когда кассету 6 с красящей лентой вставляют в участок установки кассеты, участок 20 подачи красящей ленты корпуса кассеты устанавливается в одной из полостей 36 участка установки кассеты, и участок 22 приема красящей ленты корпуса кассеты устанавливается в другой из полостей 38 участка установки кассеты. Участок 40 установки печатной головки продолжается через отверстие 24 между двумя участками кассеты 20, 22, в результате чего печатная головка 14 располагается прямо напротив красящей ленты в окне корпуса кассеты. Механизм 32, 34 защелки удерживает кассету 6 на участке установки кассеты в этом положении. Когда крышка 10 закрыта, как показано на фиг.3а и 3b, печатная головка 14 взаимодействует с валиком в кассете 4 с лентой так, что лента и красящая лента располагаются между ними для печати.
Лента проходит через выход 18 для ленты, содержащий отверстие сбоку корпуса 12 принтера 2, и после печати лента с нанесенным печатным изображением отрезается от ленты в результате использования механизма 16 резака, расположенного рядом с выходом 18 для ленты.
На фиг.4-7 показаны схемы печатной системы типа D2 в соответствии со вторым вариантом выполнения настоящего изобретения. Печатная система содержит структуру, аналогичную представленной в первом варианте выполнения. Второй вариант выполнения отличается от первого варианта выполнения тем, что кассета 106 с красящей лентой не устанавливается непосредственно на крышке 10, на которой установлена печатная головка 14, а вместо этого ее устанавливают в держателе 42 для кассеты с красящей лентой, который перемещается вместе с крышкой 10 при открывании крышки, но с ограниченным поворотом относительно крышки. При закрывании крышки 10 держатель 42 кассеты с красящей лентой, удерживающий кассету 106 с красящей лентой, захватывается крышкой 10 и выдвигается в закрытое положение так, что печатная головка 14 проходит через отверстие в держателе 42, и кассета 106 с красящей лентой взаимодействует с валиком в кассете 4 с лентой.
На фиг.4 и 5 представлены два вида принтера 2 с кассетой 4 с лентой и кассетой 106 с красящей лентой, установленными в нем. На фиг.6 показано, как кассету 106 с красящей лентой устанавливают в принтер 2.
Кассета 106 с красящей лентой аналогична по конструкции описанной выше в первом варианте выполнения. Корпус имеет два участка одинаковой конструкции с отверстием между ними. В варианте выполнения, показанном на фиг.6а и 6b, кассета имеет верхнюю поверхность 30, продолжающуюся над отверстием между двумя участками корпуса, и нижнюю поверхность 44, продолжающуюся под отверстием между двумя участками корпуса. Один или несколько выравнивающих элементов 46 предусмотрены в корпусе кассеты и предназначены для взаимодействия с выравнивающими элементами 48 в держателе кассеты с красящей лентой принтера для правильного выравнивания кассеты с красящей лентой. В представленном варианте выполнения выравнивающие элементы 46 содержат канавки на верхней и нижней поверхностях кассеты, которые взаимодействуют с ребрами 48 держателя кассеты принтера. В качестве альтернативы могли бы быть предусмотрены ребра на кассете и канавки на держателе кассеты.
Держатель кассеты с красящей лентой содержит верхнюю поверхность 50, нижнюю поверхность 52 и два участка 54 стенки, расположенные между ними с одной стороны держателя. Между двумя участками стенки предусмотрено отверстие на указанной одной стороне, через которое проходит печатная головка, когда крышка закрыта.
В другом варианте выполнения два дополнительных участка стенки могут быть предусмотрены на стороне держателя, противоположной указанным участкам 54 стенки с отверстием между ними, через которое печатная головка может проходить, когда крышка закрыта. Держатель 42 кассеты установлен в корпусе 12 принтера с возможностью ограниченного вращения относительно корпуса, в результате чего, когда крышка 10 открыта, держатель кассеты поворачивается на угол поворота меньший, чем угол поворота крышки. Держатель 54 кассеты и крышка 10 установлены на общей оси с возможностью вращения. Крышка 10 может поворачиваться на угол до приблизительно 90°, но чаще до 70° и еще чаще до 50°. Держатель 54 может поворачиваться на угол до 45°, но чаще до 35° и еще чаще до 25°, то есть приблизительно на половину угла поворота крышки.
Крышка 10 имеет конструкцию, аналогичную описанной выше при описании первого варианта выполнения. Таким образом, крышка 10 содержит участок установки, имеющий две полости 36, 38 с участком 40 установки печатной головки между ними. Между участком установки печатной головки и нижней поверхностью крышки предусмотрен зазор, предназначенный для установки в него нижней поверхности держателя кассеты с красящей лентой и нижней поверхности кассеты 106 с красящей лентой. Другой зазор предусмотрен между участком установки печатной головки и верхней поверхностью крышки для установки в него верхней поверхности держателя кассеты с красящей лентой и верхней поверхности кассеты 106 с красящей лентой.
На фиг.7а и 7b показана работа при закрывании крышки 10. На фиг.7а показан принтер в открытом положении. При закрывании крышка поворачивается в направлении по часовой стрелке, в результате чего печатная головка 14, установленная на участке 40 установки печатной головки, проходит через отверстие в держателе 42 кассеты и через отверстие в кассете 106 с красящей лентой. По мере поворота крышки 10 она взаимодействует с держателем 42 кассеты, в результат чего держатель кассеты и кассета устанавливаются в участке установки, и держатель проталкивает кассету в положение печати. В этом закрытом положении, показанном на фиг.7b, печатная головка взаимодействует с валиком внутри кассеты 4 с лентой, причем лента и красящая лента располагаются между ними. Крышка 10 удерживает кассету 106 с красящей лентой в этом положении после закрывания.
Хотя первый вариант выполнения имеет более простую конструкцию, чем второй вариант выполнения, и поэтому он является более простым и более дешевым при производстве, держатель в соответствии со вторым вариантом выполнения может обеспечить улучшенное совмещение кассеты с красящей лентой в положении печати, что улучшает качество печати. Второй вариант выполнения также может обеспечить более простую и более удобную для пользователя компоновку при загрузке кассеты с красящей лентой в принтер.
На фиг.8 показан вариант выполнения, представленный на фиг.4-7, с альтернативным узлом 116 резака, который выполнен более компактным.
На фиг.9-15 показана схема системы печати типа D2 в соответствии с третьим вариантом выполнения настоящего изобретения. Система печати содержит кассету 4 с лентой, ленточный принтер и кассету 106 с красящей лентой. Ленточный принтер имеет отверстие 8 на его боковой стороне для вставки кассеты 4 с лентой в поперечном направлении. Ленточный принтер имеет другое отверстие 58 для вставки кассеты 206 с красящей лентой в поперечном направлении. Ленточный принтер, кроме того, содержит печатную головку 14, установленную на поворотном механизме 60, предназначенном для поворота печатной головки в положение для печати через рычаг 56, установленный для вращения принтера. Печатная головка 14 продолжается через отверстие в кассете 206 с красящей лентой для взаимодействия с валиком, установленным в кассете 4 с лентой так, что лента и красящая лента располагаются между ними.
Конструкция кассеты 4 с лентой и кассеты 206 с красящей лентой аналогична описанным выше в первом и втором вариантах выполнения.
Принтер отличается от описанного в первом и втором вариантах выполнения тем, что кассета 206 с красящей лентой не установлена на крышке, а вместо этого установлена непосредственно в корпусе 12 принтера. Корпус принтера не содержит две части, которые вращаются относительно друг друга, а вместо этого он содержит один корпус 12. В корпусе предусмотрен участок 58 установки кассеты с красящей лентой. Это аналогично структуре держателя кассеты с красящей лентой, описанной в отношении второго варианта выполнения и представленной на фиг.11 и 12.
На фиг.11 и 12 представлен механизм 60 поворота, на котором установлена печатная головка 14. В первом положении, представленном на фиг.11 и 12, печатная головка 14 расположена с противоположной стороны указанного участка 58 установки кассеты с красящей лентой относительно участка 8 установки кассеты с лентой. После вставки кассеты 206 с красящей лентой в участок установки в принтере механизм 60 поворачивается в направлении по часовой стрелке с помощью рычага 56, в результате чего печатная головка 14, установленная на рычаге 62 механизма 60, проходит через отверстие в кассете с красящей лентой, как показано на фиг.13, для взаимодействия с валиком на кассете 4 с лентой, при этом лента и красящая лента располагаются между ними. В положении для печати механизм поворота удерживает/зажимает кассету с красящей лентой в положении, как показано на фиг.14 и 15.
Поскольку в третьем варианте выполнения не используется корпус из двух частей, по сравнению с первым и вторым вариантами выполнения он может быть более простым и более дешевым в производстве. Кроме того, поскольку в третьем варианте выполнения участок установки кассеты с красящей лентой является фиксированным, а не подвижным относительно корпуса принтера, такая компоновка может обеспечить более плотное совмещение.
На фиг.16-23 показана схема системы печати тапа D2 в соответствии с четвертым вариантом выполнения настоящего изобретения. Четвертый вариант выполнения аналогичен по конструкции третьему варианту выполнения, при этом различие состоит в конструкции механизма, на котором установлена печатная головка 14. В третьем варианте выполнения печатная головка установлена на механизме 60 поворота. В отличие от этого в четвертом варианте выполнения печатная головка установлена на механизме 64, который перемещается вдоль прямой линии в направлении, перпендикулярном линии печатаных элементов на печатной головке и перпендикулярном оси вращения валика в кассете с лентой, когда кассета с лентой загружена в принтер. Механизм содержит рычаг 64, который выполнен подвижным, который может перемещаться в отверстие на корпусе 12 ленточного принтера и из него. После вставки кассеты 306 с красящей лентой и кассеты 4 с лентой в принтер, проталкивание рычага 64 в направлении внутрь приводит к тому, что печатная головка 14 проходит через отверстие в кассете 306 с красящей лентой и взаимодействует с валиком в кассете с лентой, при этом лента и красящая лента располагаются между ними.
На фиг.16 и 17 показаны два общих вида системы печати в компоновке для печати, когда кассета 4 с лентой и кассета 306 с красящей лентой установлены в принтере, и механизм 64 печатной головки расположен в фиксированном положении для печати.
На фиг.18-23 более подробно показана процедура вставки кассеты с красящей лентой. Вначале, как показано на фиг.18 и 19, ручку/рычаг 64, на которой установлена печатная головка 14, перемещают из ее фиксированного положения, в котором печатная головка находится в положении печати, в положение на противоположной стороне участка 304 установки кассеты с красящей лентой от указанного участка 8 установки кассеты с лентой. Кассета 306 с красящей лентой может затем быть вставлена на участок 304 установки кассеты с красящей лентой. После вставки кассеты 306 с красящей лентой пользователь активирует механизм 64 печатной головки, в результате чего печатная головка 14 перемещается в положение печати и фиксируется в этом положении с помощью фиксирующего механизма. В этом положении механизм 64 печатной головки также удерживает на месте кассету с красящей лентой. Печатная головка может быть зафиксирована в этом положении с помощью системы выталкиваемого фиксатора.
Кассета с красящей лентой может быть аналогична по структуре описанной выше. Кассета 306, показанная на фиг.19-23, имеет модифицированную конструкцию. Однако эта кассета также содержит корпус, имеющий структуры двух участков с отверстием между ними, как описано выше.
Четвертый вариант выполнения имеет более простой механизм печатной головки, чем третий вариант выполнения, и поэтому он может быть более простым и более дешевым в производстве. Кроме того, поскольку на механизм печатной головки не воздействуют крутящие силы во время использования, снижается вероятность повреждения механизма с течением времени. Однако, поскольку рычаг 64 в четвертом варианте выполнения продолжается из корпуса принтера в положении, показанном на фиг.18 и 19, этот рычаг может быть поврежден, например, при падении принтера.
В пятом варианте выполнения, который не показан на чертеже, принтер может быть снабжен корпусом, содержащим одно отверстие, через которое можно вставлять как кассету с красящей лентой, так и кассету с лентой. В такой компоновке в принтере может быть установлена фиксированная печатная головка. Кассету с красящей лентой, аналогичную представленной на фиг.2а, загружают в принтер вначале в поперечном направлении, в результате чего печатная головка принтера проходит через отверстие в кассете и взаимодействует с красящей лентой. Кассету с лентой, аналогичную описанной выше, затем вставляют через то же отверстие до тех пор, пока валик в кассете с лентой не войдет во взаимодействие с печатной головкой так, что красящая лента и лента располагаются между ними. В модификации такой процедуры загрузки частично вставляют красящую ленту, а затем кассета с лентой, собственно, выталкивает кассету с красящей лентой в положение для печати при вставке кассеты с лентой. В другом варианте кассета с красящей лентой может быть прикреплена к кассете с лентой перед вставкой комбинированных кассет с лентой и красящей лентой, аналогично описанному выше.
Хотя изобретение было частично представлено и описано со ссылкой на предпочтительные варианты его выполнения, для специалистов в данной области техники будет понятно, что различные изменения по форме и деталях могут быть выполнены в нем без отхода от объема изобретения, которое определено приложенной формулой изобретения.
Формула изобретения
1. Ленточный принтер, предназначенный для использования с кассетой с лентой и кассетой с красящей лентой, причем указанный принтер содержит корпус и печатную головку, на которой сформирована линия печатаных элементов, в котором указанный принтер содержит, по меньшей мере, один участок установки кассеты в указанном корпусе, предназначенный для установки в него кассеты с лентой и кассеты с красящей лентой, так чтобы эти кассеты можно было установить в направлении, по существу, перпендикулярном линии печатных элементов на печатной головке, когда печатная головка находится в положении печати, в котором используются два участка установки кассеты в корпусе, первый участок установки кассеты, предназначенный для установки кассеты с лентой, и второй участок установки кассеты, предназначенный для установки кассеты с красящей лентой.
2. Ленточный принтер по п.1, в котором указанная печатная головка может перемещаться между положением не для печати и положением печати.
3. Ленточный принтер по п.2, в котором корпус содержит две части, одна из частей выполнена подвижной относительно другой.
4. Ленточный принтер по п.3, в котором указанная печатная головка установлена на указанной подвижной части.
5. Ленточный принтер по п.4, в котором указанная подвижная часть выполнена с возможностью поворота относительно указанной другой части между первым положением и вторым положением, причем указанная подвижная часть находится в положении печати в указанном первом положении и в положении не для печати в указанном втором положении.
6. Ленточный принтер по любому из пп.3-5, в котором указанная подвижная часть содержит второй участок установки кассеты и указанная вторая часть содержит указанный первый участок установки кассеты.
7. Ленточный принтер по любому из пп.3-5, в котором ленточный принтер дополнительно содержит держатель кассеты, причем указанный держатель кассеты содержит второй участок установки кассеты и выполнен с возможностью перемещения между первым закрытым положением и вторым открытым положением, причем указанный держатель кассеты выполнен с возможностью установки на него кассеты с красящей лентой, когда указанный держатель находится в указанном втором положении.
8. Ленточный принтер по п.7, в котором указанный держатель кассеты выполнен с возможностью перемещения из указанного первого положения в указанное второе положение, когда указанная подвижная часть открыта, и указанный участок установки кассеты выполнен с возможностью перемещения из указанного второго положения в указанное первое положение, когда указанная подвижная часть закрыта.
9. Ленточный принтер по п.8, в котором указанную подвижную часть можно поворачивать на первый угол, и указанный держатель кассеты можно поворачивать на второй угол между первым и вторым положениями, причем указанный первый угол больше, чем указанный второй угол.
10. Ленточный принтер по п.9, в котором указанная подвижная часть и указанный держатель кассеты установлены на указанной другой части на общей оси.
11. Ленточный принтер по п.7, в котором указанный держатель кассеты содержит верхнюю стенку и нижнюю стенку, между которыми может быть вставлена кассета с красящей лентой.
12. Ленточный принтер по п.11, в котором держатель кассеты дополнительно содержит два участка боковой стенки на одной стороне указанного держателя, расположенные между верхней и нижней стенками, причем между указанными двумя участками стенок предусмотрен зазор.
13. Ленточный принтер по п.11, в котором направляющие элементы предусмотрены на, по меньшей мере, одной из верхней и нижней стенках.
14. Ленточный принтер по п.3, в котором указанная подвижная часть содержит верхнюю стенку, нижнюю стенку и первую и вторую полость, причем между ними расположен участок установки печатной головки, на котором установлена печатная головка.
15. Система печати на ленте, содержащая ленточный принтер по любому из пп.1-14, в комбинации кассеты с лентой, в которой расположен запас ленты, и кассеты с красящей лентой, в которой расположен запас красящей ленты.
16. Система печати на ленте по п.15, в которой кассета с красящей лентой содержит корпус, имеющий участок подачи красящей ленты, в котором расположена катушка подачи красящей ленты, участок приема красящей ленты, в котором расположена катушка приема красящей ленты, и в которой предусмотрено отверстие между участком подачи красящей ленты и участком приема красящей ленты, которое продолжается через всю ширину корпуса кассеты от задней стороны до передней стороны, в направлении, перпендикулярном осям вращения указанных катушек, причем красящая лента продолжается от указанного участка подачи красящей ленты до указанного участка приема красящей ленты через указанное отверстие, причем указанная кассета с красящей лентой дополнительно содержит зубчатое колесо, соединенное с указанной катушкой приема красящей ленты на верхнем или нижнем участках, предназначенное для соединения с приводящим зубчатым колесом ленточного принтера.
17. Система печати на ленте по п.15 или 16, в которой кассета с лентой содержит корпус, в котором установлена катушка подачи ленты, и валик, установленный в отверстии указанного корпуса, предназначенный для взаимодействия с указанной печатной головкой при использовании.
18. Кассета с красящей лентой для ленточного принтера, содержащая корпус, имеющий участок подачи красящей ленты, на котором расположена катушка подачи красящей ленты, участок приема красящей ленты, на котором расположена катушка приема красящей ленты, и элемент, соединяющий указанные два участка, в котором предусмотрено отверстие в корпусе между участком подачи красящей ленты и участком приема красящей ленты, которое продолжается через всю ширину корпуса кассеты от задней стороны до передней стороны, в направлении, перпендикулярном осям вращения указанных катушек, причем красящая лента продолжается от указанного участка подачи красящей ленты до указанного участка приема красящей ленты через указанное отверстие, причем указанная кассета с красящей лентой дополнительно содержит зубчатое колесо, соединенное с указанной катушкой приема красящей ленты ее на верхнем или нижнем участках, предназначенное для соединения с приводящим зубчатым колесом ленточного принтера.
19. Способ загрузки кассеты с лентой и кассеты с красящей лентой в ленточный принтер, причем указанный ленточный принтер содержит печатную головку, на которой сформирована линия печатных элементов, причем указанный способ содержит этап вставки указанной кассеты с лентой и указанной кассеты с красящей лентой в указанный ленточный принтер в направлении, которое, по существу, перпендикулярно линии печатных элементов на печатной головке, когда печатная головка находится в положении печати.
20. Кассета с лентой, предназначенная для ленточного принтера, причем кассета с лентой содержит корпус, имеющий основание, верхнюю часть и стороны, продолжающиеся от основания к верхней части, в корпусе установлен рулон носителя для приема печатного изображения, ось вращения которого продолжается в первом направлении, корпус имеет направляющий элемент на каждой из двух противоположных сторон, продолжающийся вдоль указанных сторон во втором направлении, перпендикулярном первому направлению, предназначенный для направления кассеты с лентой в ленточном принтере во втором направлении и расположения кассеты с лентой в ленточном принтере, при этом каждый направляющий элемент содержит первый удлиненный элемент, расположенный в плоскости, перпендикулярной противоположным сторонам, и второй удлиненный элемент, расположенный в плоскости, параллельной противоположным сторонам.
21. Кассета с лентой по п.20, дополнительно содержащая катушку подачи, продолжающуюся в первом направлении, причем рулон носителя для приема печатного изображения установлен на катушке подачи.
22. Кассета с лентой по п.20 или 21, дополнительно содержащая валик, продолжающийся в первом направлении и установленный в отверстие корпуса, предназначенный для взаимодействия с печатной головкой ленточного принтера при использовании.
РИСУНКИ
|
|