|
|
(21), (22) Заявка: 2007122574/02, 15.06.2007
(24) Дата начала отсчета срока действия патента:
15.06.2007
(43) Дата публикации заявки: 20.12.2008
(46) Опубликовано: 20.05.2009
(56) Список документов, цитированных в отчете о поиске:
SU 445570 A1, 23.09.1975. SU 660828 A1, 15.05.1979. RU 2179109 C1, 10.02.2002. RU 27519 U1, 10.02.2003. DE 3150603 A1, 13.10.1983.
Адрес для переписки:
160022, г.Вологда, Пошехонское ш., 9Б, кв.6, Д.А.Хачирову
|
(72) Автор(ы):
Хачиров Давид Акимович (RU)
(73) Патентообладатель(и):
Хачиров Давид Акимович (RU)
|
(54) ВЕРТИКАЛЬНЫЙ ПРЕСС ДЛЯ КЛЕЕНЫХ ДЕРЕВЯННЫХ ИЗДЕЛИЙ
(57) Реферат:
Изобретение относится к деревообрабатывающей промышленности и может быть использовано в производстве клееных деревянных изделий. Вертикальный пресс для клееных деревянных изделий содержит каркас с нижней опорной балкой, верхней балкой, на которой установлены вертикальные прижимы, и боковые прижимы. Каркас содержит ряд отдельных прямоугольных рам, жестко связанных с нижней опорной балкой и состоящих из передних и задних вертикальных стоек и нижних и верхних горизонтальных перекладин. Верхняя балка установлена на направляющих на верхних перекладинах. Задние вертикальные стойки жестко связаны между собой нижней опорной балкой и нижними горизонтальными перекладинами. Передние вертикальные стойки связаны с нижними горизонтальными перекладинами посредством осей, а с верхними горизонтальными перекладинами – посредством замков, связанных между собой и с каркасом механизмом замыкания. Боковые прижимы установлены в направляющих задних вертикальных стоек и связаны с ними механизмами прижима. Верхняя балка с вертикальными прижимами связана с прямоугольными рамами механизмами поперечного перемещения. Вертикальные прижимы выполнены в виде гидроцилиндров и прижимных плит. Механизмы прижима выполнены в виде гидроцилиндров и прижимных балок. Механизмы поперечного перемещения выполнены в виде винтовых механизмов, связанных между собой цепными передачами. В результате достигается механизация процесса загрузки, запрессовки и выгрузки различных по габаритам клееных изделий. 3 з.п. ф-лы, 2 ил.
Изобретение относится к деревообрабатывающей промышленности и может быть использовано в производстве клееных деревянных изделий.
Известен пресс для склеивания бруса и щита, содержащий основание со стойками, верхнюю опорную и нижнюю базовую горизонтальные балки, закрепленные на основании, гидросистему, нажимные гидроцилиндры с нажимными башмаками для перемещения в направлении базовой балки, средства прижима в виде подвижных балок, имеющих прижимные гидроцилиндры, соединенные с упорами, и систему управления (см. патент РФ на изобретение 2205103 по кл. МКИ В27М 3/00, 2003).
Недостатком данной конструкции пресса является невозможность механизации процесса загрузки, запрессовки и выгрузки, трудоемкость данного процесса.
Наиболее близким по технической сущности к предлагаемому решению является гидравлический пресс для склеивания деревянных балок, включающий раму со смонтированными на ней гидросистемой и гидроприжимами, боковой прижим, прижимную штангу. На раме пресса по ее торцам установлены стойки с направляющими, например П-образными, а на торцовых стенках кассеты закреплены соответствующие форме направляющих выступы-ловители. Элементы склеиваемой балки укладывают в специальную кассету, которую устанавливают в гидравлический пресс (см. А.с. 445570 по кл. МКИ B27m 1/02, B30b 15/04, 1974).
Недостатком указанного решения является невозможность механизировать процесс загрузки, запрессовки и выгрузки изделий. Кроме того, невозможность использования данного пресса для габаритных изделий в виду отсутствия механизированных боковых прижимов и использования специальных кассет для загрузки изделий в пресс.
Задача, поставленная предлагаемым решением, заключается в механизации процесса загрузки, запрессовки и выгрузки различных по габаритам клееных изделий.
Поставленная задача решается тем, что вертикальный пресс для клееных деревянных изделий выполнен из каркаса с нижней опорной балкой, верхней балки, на которой установлены вертикальные прижимы, и боковых прижимов. Каркас дополнен рядом отдельных прямоугольных рам, жестко связанных с нижней опорной балкой и состоящих из передних и задних вертикальных стоек и нижних и верхних горизонтальных перекладин. Верхняя балка установлена на направляющих, на верхних перекладинах. Задние вертикальные стойки прямоугольных рам жестко связаны между собой нижней опорной балкой и жестко связаны с нижними горизонтальными перекладинами. Передние вертикальные стойки связаны с нижними горизонтальными перекладинами посредством осей, а с верхними горизонтальными перекладинами – посредством замков, связанных между собой и с каркасом механизмом замыкания. Боковые прижимы установлены в направляющих задних вертикальных стоек и связаны с ними механизмами прижима. Верхняя балка с вертикальными прижимами связана с прямоугольными рамами механизмами поперечно перемещения.
При этом вертикальные прижимы выполнены в виде гидроцилиндров и прижимных плит.
При этом механизмы прижима выполнены в виде гидроцилиндров и прижимных балок.
При этом механизмы поперечного перемещения выполнены в виде винтовых механизмов, связанных между собой цепными передачами.
Новым в устройстве является то, каркас дополнен рядом отдельных прямоугольных рам, жестко связанных с нижней опорной балкой и состоящих из передних и задних вертикальных стоек и нижних и верхних горизонтальных перекладин. Верхняя балка установлена на направляющих, на верхних перекладинах. Задние вертикальные стойки прямоугольных рам жестко связаны между собой нижней опорной балкой и жестко связаны с нижними горизонтальными перекладинами. Передние вертикальные стойки связаны с нижними горизонтальными перекладинами посредством осей, а с верхними горизонтальными перекладинами – посредством замков, связанных между собой и с каркасом механизмом замыкания. Боковые прижимы установлены в направляющих задних вертикальных стоек и связаны с ними механизмами прижима. Верхняя балка с вертикальными прижимами связана с прямоугольными рамами механизмами поперечно перемещения.
При этом вертикальные прижимы выполнены в виде гидроцилиндров и прижимных плит.
При этом механизмы прижима выполнены в виде гидроцилиндров и прижимных балок.
При этом механизмы поперечного перемещения выполнены в виде винтовых механизмов, связанных между собой цепными передачами.
Технический результат предлагаемого решения заключается в применении фронтальной загрузки. Предлагаемая конструкция пресса позволяет выиграть в скорости формирования бруса, а также совместить загрузочное устройство и пресс. Кроме того, предложенное решение позволяет механизировать процесс загрузки, запрессовки и выгрузки различных по габаритам клееных изделий.
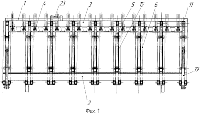
На фиг.1 показан вертикальный пресс, вид спереди, на фиг.2 – то же, вид сбоку.
Вертикальный пресс для клееных деревянных изделий выполнен из каркаса 1 с нижней опорной балкой 2 и верхней балкой 3, на которой установлены вертикальные прижимы 4, и с боковыми прижимами 5. Каркас 1 дополнен рядом отдельных прямоугольных рам 6, жестко связанных с нижней опорной балкой 2 и состоящих из передних 7 и задних 8 вертикальных стоек и нижних 9 и верхних 10 горизонтальных перекладин. Верхняя балка 3 установлена на направляющих 11 на верхних перекладинах 10. Задние вертикальные стойки 8 прямоугольных рам 6 жестко связаны между собой нижней опорной балкой 2 и жестко связаны с горизонтальными перекладинами 9 и 10. Передние вертикальные стойки 7 связаны с нижними горизонтальными перекладинами 9 посредством осей 12, с верхними горизонтальными перекладинами 10 – посредством замков 13, а между собой жестко связаны дополнительной балкой 14. Боковые прижимы 5 установлены в направляющих 15 задних вертикальных стоек 8 и связаны с ними механизмами прижима 16, которые выполнены в виде гидроцилиндров 17 и прижимных балок 18. В качестве механизмов поворота использованы гидроцилиндры 19. Верхняя балка с вертикальными прижимами 4 связана с прямоугольными рамами 6 механизмами поперечно перемещения 20. Механизм поперечного перемещения 20 выполнен в виде винтовых механизмов 21, связанных между собой цепными передачами 22. Замки 13 прямоугольных рам 6 связаны между собой и с каркасом механизмом замыкания 23. Вертикальные прижимы 4 выполнены в виде гидроцилиндров 24 и прижимных плит 25.
Устройство работает следующим образом.
В исходном положении прижимные плиты 25 подняты гидроцилиндрами 24 в верхнее положение. Прижимные балки 18 боковых прижимов 5 перемещены гидроцилиндрами 17 внутрь задних вертикальных стоек 8, а передние вертикальные стойки 7 установлены гидроцилиндрами 19 в наклонное положение. Заготовки с нанесенным на них клеем поступают на наклонную плоскость, образованную передними вертикальными стойками 7, где и формируются в пакет заготовок 26 для запрессовки. Затем передние вертикальные стойки 7 с набранным пакетом заготовок 26 поднимаются в вертикальное положение, при этом пакет 26 устанавливается на плоскость нижней опорной балки 2. Посредством механизма замыкания 23 замки 13 замыкают прямоугольные рамы 6. Прижимные балки 18 прижимов 5 выравнивают пакет заготовок 26, прижимая его к передним вертикальным стойкам 7. Механизмом поперечного перемещения 20 верхняя балка 3 перемещается в положение, когда ее плоскость симметрии совмещается с плоскостью симметрии пакета заготовок 26, после чего прижимные плиты 25 вертикальных прижимов 4 посредством гидроцилиндров 24 запрессовывают пакет заготовок 26.
После выдержки, необходимой для полимеризации клея, вертикальные прижимы 4 и боковые прижимы 5 освобождают пакет 26, открывая замки 13, и пакет 26 с готовыми клееными изделиями опускается на стойках 7 в горизонтальное положение для транспортировки его с помощью выносного конвейера.
Предлагаемая конструкция пресса позволяет выиграть в скорости формирования бруса, а также совместить загрузочное устройство и пресс. Кроме того, предложенное решение позволяет механизировать процесс загрузки, запрессовки и выгрузки различных по габаритам клееных изделий.
Формула изобретения
1. Вертикальный пресс для клееных деревянных изделий, содержащий каркас с нижней опорной балкой, верхнюю балку, на которой установлены вертикальные прижимы, и боковые прижимы, отличающийся тем, что каркас снабжен рядом отдельных прямоугольных рам, жестко связанных с нижней опорной балкой и состоящих из передних и задних вертикальных стоек и нижних и верхних горизонтальных перекладин, причем верхняя балка установлена на направляющих на верхних горизонтальных перекладинах, задние вертикальные стойки прямоугольных рам жестко связаны между собой посредством нижней опорной балки и с нижними горизонтальными перекладинами, передние вертикальные стойки связаны с нижними горизонтальными перекладинами посредством осей, а с верхними горизонтальными перекладинами – посредством замков, связанных между собой и с каркасом посредством механизма замыкания, боковые прижимы установлены в направляющих задних вертикальных стоек и связаны с ними посредством механизмов прижима, а верхняя балка с вертикальными прижимами связана с прямоугольными рамами механизмами поперечного перемещения.
2. Пресс по п.1, отличающийся тем, что вертикальные прижимы выполнены в виде гидроцилиндров и прижимных плит.
3. Пресс по п.1, отличающийся тем, что вертикальные и боковые прижимы выполнены в виде гидроцилиндров и прижимных балок.
4. Пресс по п.1, отличающийся тем, что механизмы поперечного перемещения выполнены в виде винтовых механизмов, связанных между собой цепными передачами.
РИСУНКИ
MM4A – Досрочное прекращение действия патента СССР или патента Российской Федерации на изобретение из-за неуплаты в установленный срок пошлины за поддержание патента в силе
Дата прекращения действия патента: 16.06.2009
Извещение опубликовано: 20.06.2010 БИ: 17/2010
|
|