|
|
(21), (22) Заявка: 2007122156/02, 13.06.2007
(24) Дата начала отсчета срока действия патента:
13.06.2007
(43) Дата публикации заявки: 20.12.2008
(46) Опубликовано: 20.05.2009
(56) Список документов, цитированных в отчете о поиске:
БАНКЕТОВ А.Н. и др. Кузнечно-штамповочное оборудование. – М.: Машиностроение, 1970, с.384-385, рис.164 (б). SU 637278 А, 19.12.1978. SU 751650 А, 30.07.1980. US 3695090 А, 03.10.1972.
Адрес для переписки:
152934, Ярославская обл., г. Рыбинск, ул. Пушкина, 53, РГАТА, служба интеллектуальной собственности
|
(72) Автор(ы):
Корнилов Владимир Владимирович (RU), Смирнов Дмитрий Павлович (RU), Батаруева Ольга Юрьевна (RU), Моисеев Павел Михайлович (RU), Кутыкова Анна Сергеевна (RU)
(73) Патентообладатель(и):
Рыбинская государственная авиационная технологическая академия имени П.А. Соловьева (RU)
|
(54) ПРЕСС ЛИСТОШТАМПОВОЧНЫЙ КРИВОШИПНЫЙ ДВОЙНОГО ДЕЙСТВИЯ
(57) Реферат:
Изобретение относится к кузнечно-штамповочному оборудованию, в частности к механическим прессам. Листоштамповочный пресс двойного действия содержит станину, главный исполнительный кривошипно-шатунный механизм, механизм листоприжима, привод и систему включения. Механизм листоприжима представляет собой два четырехзвенных механизма с общим выходным звеном в виде наружного ползуна. На станине закреплены подвижные упоры и фиксирующие устройства. Каждый из четырехзвенных механизмов содержит входное звено в виде коромысел, закрепленных на валу, который жестко связан с выходным валом мотор-редуктора. Фиксирующее устройство выполнено в виде фиксатора, пружины, электромагнита и закрепленного на валу диска с углублениями по форме фиксатора. В результате обеспечивается уменьшение количества подвижных звеньев и сопряжений, точный выстой наружного ползуна и возможность отключения механизма листоприжима во время настройки вытяжного штампа. 1 з.п. ф-лы, 4 ил.
Изобретение относится к кузнечно-штамповочному оборудованию, в частности к конструкциям механических прессов.
Известен пресс листоштамповочный двойного действия, содержащий станину, главный исполнительный кривошипно-шатунный механизм, механизм листоприжима в виде наружного ползуна, привод и систему включения (Банкетов А.Н. и др., Кузнечно-штамповочное оборудование, М.: Машиностроение, 1970, с.384-385, рис.164 (б)).
Недостатки известного пресса
1. Большое число звеньев и подвижных сопряжений механизма листоприжима.
2. Значительное число параллельных кинематических цепей, что приводит к возникновению паразитных нагрузок и повышенному износу подвижных сопряжений.
3. Невозможность регулировки продолжительности выстоя.
4. Выстой наружного ползуна является приблизительным, что вызывает колебания усилия прижима и повышенный износ подвижных сопряжений.
Техническим результатом является уменьшение количества подвижных высокоточных звеньев (с 16 до 9) и подвижных сопряжений (поступательных с 2 до 1, вращательных – с 19 до 12), обеспечение точного выстоя наружного ползуна, а также возможность отключения механизма листоприжима во время настройки вытяжного штампа, связанного с внутренним ползуном.
Технический результат достигается тем, что пресс листоштамповочный двойного действия снабжен закрепленными на станине подвижными упорами и фиксирующими устройствами. Каждый из упомянутых механизмов выполнен четырехзвенным и содержит входное звено в виде коромысел, закрепленных на валу, жестко связанном с выходным валом мотор-редуктора, а фиксирующее устройство выполнено в виде фиксатора, пружины, электромагнита и закрепленного на валу диска с углублениями по форме фиксатора. Пресс также снабжен системой управления механизмом листоприжима, содержащей регулятор частоты тока с микропроцессором, датчик положения кривошипа главного исполнительного кривошипно-шатунного механизма и датчик угла поворота коромысла механизма листоприжима.
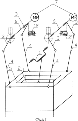
Кинематическая схема предлагаемого пресса приведена на фиг.1. Пресс содержит главный исполнительный механизм с входным звеном-кривошипом 1 и выходным звеном – внутренним ползуном 2. Механизм листоприжима состоит из двух механизмов с общим выходным звеном – наружным ползуном. Каждый из механизмов содержит входные звенья коромысла 3, шатуны 4, наружный ползун 5. Коромысла 3 установлены на валы 6, к каждому из которых присоединен выходной вал мотор-редуктора 7.
Схема управления механизмом листоприжима представлена на фиг.2, где 8 – регулятор частоты тока, 9 – микропроцессор, 10 – датчик угла поворота главного кривошипа, 11 – датчик угла поворота коромысла 3.
На станине пресса установлены подвижные упоры 12 и фиксирующие устройства, состоящие из фиксаторов 13, дисков 14, пружин 15 и электромагнитов 16.
Пресс работает следующим образом.
При включении муфты (не показана) приходит во вращение кривошип 1 и в заданном его положении (по завершении верхнего выстоя) вблизи крайней верхней точки хода внутреннего ползуна 2 датчик 10 угла поворота вала 1 подает команду на микропроцессор 9, который с этого момента начинает выполнять программу управления регулятором частоты 8 в функции угла поворота вала 1.
Графики перемещений ползунов внутреннего 2 и наружного 5 показаны на фиг.3. В крайнем нижнем положении наружного ползуна 5 упоры 12 фиксируют звенья 3 и 4 в вертикальном положении.
Схема фиксирующего устройства показана на фиг.4. В крайнем верхнем положении наружного ползуна 5 пружины 15 вводят фиксаторы 13 в углубления, выполненные в дисках 14, благодаря чему исключается самопроизвольный поворот валов 6. Перед началом следующего хода наружного ползуна 5 вниз включаются электромагниты 16, и фиксаторы 13 отводятся от дисков 14, после чего включается мотор-редуктор 7. Наружный ползун 5 начинает перемещаться вниз в соответствии с программой, заложенной в микропроцессор 9.
Взаимосвязь перемещений внутреннего 2 и наружного 5 ползунов в функции угла поворота кривошипа 1 показана графиками на фиг.3,
где А – график перемещений внутреннего ползуна,
Б – график перемещений наружного ползуна.
Участки 1, 2 и 7, 8 – верхний выстой наружного ползуна. На участках 2, 3 и 5, 6 происходит плавный разгон наружного ползуна, а на участках 3, 4 и 6, 7 – плавное торможение. Участок 4, 5 – нижний выстой наружного ползуна. Положения точек 1, 2, 5, 6, 7, 8 фиксированы, а положения точек 3 и 4 изменяются в случае регулировки продолжительности нижнего выстоя. При повороте дисков 14 на заданный угол электромагниты 16 обесточиваются и пружины 15 поджимают фиксаторы 13 к дискам 1. После прихода наружного ползуна 5 в крайнее нижнее положение отключаются мотор-редукторы 7 и наружный ползун остается неподвижным до момента подачи команды на ход вверх. Продолжительность выстоя наружного ползуна 5 в нижнем положении может регулироваться путем ввода значения циклового угла выстоя в микропроцессор 9 через его интерфейс при настройке пресса.
Формула изобретения
1. Пресс листоштамповочный двойного действия, содержащий станину, главный исполнительный кривошипно-шатунный механизм, механизм листоприжима в виде двух механизмов с общим выходным звеном в виде наружного ползуна, привод и систему включения, отличающийся тем, что он снабжен закрепленными на станине подвижными упорами и фиксирующими устройствами, каждый из упомянутых механизмов выполнен четырехзвенным и содержит входное звено в виде коромысел, закрепленных на валу, жестко связанном с выходным валом мотор-редуктора, а фиксирующее устройство выполнено в виде фиксатора, пружины, электромагнита и закрепленного на валу диска с углублениями по форме фиксатора.
2. Пресс по п.1, отличающийся тем, что он снабжен системой управления механизмом листоприжима, содержащей регулятор частоты тока с микропроцессором, датчик положения кривошипа главного исполнительного кривошипно-шатунного механизма и датчик угла поворота коромысла механизма листоприжима.
РИСУНКИ
|
|