|
|
(21), (22) Заявка: 2006101146/12, 07.06.2004
(24) Дата начала отсчета срока действия патента:
07.06.2004
(30) Конвенционный приоритет:
13.06.2003 FR 03/07162
(43) Дата публикации заявки: 10.08.2007
(46) Опубликовано: 20.05.2009
(56) Список документов, цитированных в отчете о поиске:
RU 2169030 C1, 20.06.2001. FR 1038106 A, 25.09.1953. CH 559133 A, 28.02.1975. US 6489006 B1, 03.12.2002. US 2002161388 A1, 31.10.2002. FR 2548587 A1, 11.01.1985. US 2002136858 A1, 26.09.2002.
(85) Дата перевода заявки PCT на национальную фазу:
13.01.2006
(86) Заявка PCT:
FR 2004/001409 20040607
(87) Публикация PCT:
WO 2005/002836 20050113
Адрес для переписки:
103735, Москва, ул.Ильинка, 5/2, ООО”Союзпатент”, А.А.Силаевой
|
(72) Автор(ы):
ЛЭМПЕН Марк (FR)
(73) Патентообладатель(и):
ПЕННЕЛЬ Э ФЛИПО (FR)
|
(54) СПОСОБ НЕПРЕРЫВНОГО ИЗГОТОВЛЕНИЯ ОБОЛОЧКИ ИЗ ТКАНИ С ПОКРЫТИЕМ И ОБОЛОЧКА ИЗ ТКАНИ С ПОКРЫТИЕМ, ИЗГОТОВЛЕННАЯ С ПОМОЩЬЮ ТАКОГО СПОСОБА
(57) Реферат:
Изобретение относится к способу непрерывного изготовления оболочки из ткани с покрытием, а также к оболочке из ткани с покрытием, изготовленной с помощью такого способа. Способ непрерывного изготовления оболочки из ткани с покрытием включает наложение второго полотна на первое полотно. При этом оболочка содержит, по меньшей мере, одну газонепроницаемую трубу, образованную двумя наложенными друг на друга полотнами из ткани с покрытием, образованной нитями основы и нитями утка, или полотнами из нетканого материала. Оба полотна жестко соединяют друг с другом путем скрепления этих полотен в соединительных зонах, не содержащих средства, препятствующего прилипанию. Трубу наполняют воздухом для ее разворачивания, образуя на уровне каждого соединения обоих полотен каждой из полос уголок, обеспечивающий механические свойства и герметичность. Затем, по меньшей мере, из одного другого полотна ткани, содержащего нанесенное на одну сторону покрытие, вырезают, по меньшей мере, две полосы ткани, образованной нитями основы и нитями утка, определенной ширины и длиной, по существу равной длине изготавливаемой трубы. На сторону каждой из полос, противоположную сторонам, содержащим покрытие, наносят адгезивный материал. Каждую из полос складывают вдвое, загибая друг на друга две половины сторон с нанесенным на них адгезивным материалом для удержания этих полос в сложенном виде. Каждую из сложенных полос закрепляют в продольном направлении на первом полотне, размещая линии разделения двух половин сторон каждой из указанных полос друг против друга, чтобы получить, по меньшей мере, одну зону формирования трубы. В зоне и на сторону первого полотна, заключенную между двумя смежными полосами, наносят средство, препятствующее прилипанию. Достигаемый при этом технический результат заключается в создании газонепроницаемой трубы, исключающей утечку воздуха. 2 н. и 15 з.п. ф-лы, 9 ил.
Настоящее изобретение относится к способу непрерывного изготовления оболочки из ткани с покрытием, а также к оболочке из ткани с покрытием, изготовленной с помощью такого способа.
Оболочки из ткани с покрытием используют во многих областях, например для изготовления надувных труб для надувных конструкций, таких как спасательные плотики, или для изготовления надувных балок или конструкций, или для изготовления, например, нефтезаградительных плавучих бонов.
Оболочка такого типа содержит, по меньшей мере, одну трубчатую зону и состоит из двух полотен ткани с нанесенным на них односторонним или двухсторонним покрытием. Покрытие представляет собой, по меньшей мере, один слой каучука или, по меньшей мере, один слой пластика. Оболочку получают путем наложения друг на друга двух полотен ткани с покрытием и путем жесткого соединения обоих полотен, по меньшей мере, в двух продольных и параллельных зонах, отделенных друг от друга, по меньшей мере, одной не соединенной зоной, для получения, по меньшей мере, одной продольной трубы.
Однако основным недостатком изготовленных таким образом оболочек является то, что каждая линия соединения между двумя полотнами образует внутри трубы зону наименьшего сопротивления, особенно в случае, когда на оболочку действуют напряжения сдвига, поэтому механические свойства не являются одинаковыми по всей трубе.
Для изготовления таких оболочек известен также другой способ, который состоит в выполнении тканой полосы, содержащей нити основы и нить утка и, по меньшей мере, на одной из своих сторон – нанесенное покрытие.
По меньшей мере, в одной продольной зоне формируют нижнее полотно и верхнее полотно, пропуская нить утка поочередно между нитями основы нижнего полотна и поочередно между нитями основы верхнего полотна и пропуская с двух сторон от указанной продольной зоны поочередно нить утка между всеми нитями основы для формирования соединительных зон и для получения полосы текстиля, содержащей, по меньшей мере, одну трубчатую зону, содержащую с двух сторон указанные соединительные зоны.
Однако в этом случае линии соединения внутри трубы или труб образуют зоны утечки воздуха, содержащегося в этой трубе или в этих трубах, вследствие чего они постепенно сдуваются.
Задачей настоящего изобретения является устранение этих недостатков путем создания способа непрерывного изготовления оболочки из ткани с покрытием, содержащей, по меньшей мере, одну газонепроницаемую трубу, а также путем выполнения оболочки из ткани с покрытием, изготовленной при помощи этого способа.
В связи с этим объектом настоящего изобретения является способ непрерывного изготовления оболочки из ткани с покрытием, содержащей, по меньшей мере, одну газонепроницаемую трубу, образованную двумя наложенными друг на друга полотнами ткани с покрытием, образованной нитями основы и нитями утка, или полотнами нетканого материала, отличающийся тем, что:
– по меньшей мере, из одного другого полотна ткани, содержащего нанесенное на одну сторону покрытие, вырезают, по меньшей мере, две полосы ткани, образованной нитями основы и нитями утка, определенной ширины и длиной, по существу равной длине указанной изготавливаемой трубы;
– на сторону каждой из полос, противоположную сторонам, содержащим покрытие, наносят адгезивный материал;
– каждую из указанных полос складывают вдвое, загибая друг на друга две половины сторон с нанесенным адгезивным материалом для удержания этих полос в сложенном виде;
– каждую из указанных сложенных полос закрепляют в продольном направлении на первом полотне, размещая линию разделения двух половин сторон каждой из указанных полос друг против друга, чтобы образовать, по меньшей мере, одну зону формирования трубы;
– в указанной зоне и на сторону первого полотна, заключенную между двумя смежными полосами, наносят средство, препятствующее прилипанию;
– второе полотно накладывают на первое полотно и оба полотна жестко соединяют друг с другом путем склеивания этих полотен в соединительных зонах, не содержащих средства, препятствующего прилипанию; и
– указанную трубу заполняют воздухом, чтобы развернуть обе половины сторон каждой из полос, образуя внутри указанной трубы на уровне каждого соединения обоих полотен уголок, обеспечивающий механические свойства и герметичность.
Согласно другим отличительным признакам настоящего изобретения:
– на одну сторону ткани каждого полотна наносят покрытие;
– покрытие наносят на обе стороны ткани каждого полотна;
– покрытие представляет собой, по меньшей мере, один слой каучука или, по меньшей мере, один слой пластического материала;
– закрепление каждой сложенной полосы на первом полотне осуществляют при помощи легкого прижатия и нагрева каждой сложенной полосы;
– закрепление каждой сложенной полосы на первом полотне осуществляют при помощи приклеивания каждой сложенной полосы к указанному первому полотну;
– средство, препятствующее прилипанию, представляет собой вещество, несовместимое с материалом покрытия полотен, например неплавкую пленку, порошок, или дисперсию, или раствор, препятствующие прилипанию;
– склеивание двух полотен в зонах, не содержащих средства, препятствующего прилипанию, осуществляют путем прижатия и одновременного нагрева указанных полотен;
– нити основы обоих полотен имеют направление, параллельное продольной оси соответствующего полотна, а нити утка имеют направление, перпендикулярное к указанным нитям основы;
– нити основы обеих полос имеют направление, параллельное продольной оси соответствующей полосы, а нити утка имеют направление, перпендикулярное к указанным нитям основы;
– нити основы первого полотна имеют наклон по отношению к продольной оси этого первого полотна, а нити утка первого полотна имеют направление, перпендикулярное к указанным нитям основы, и после наложения второго полотна на первое полотно нити основы второго полотна имеют наклон по отношению к продольной оси этого второго полотна в направлении, противоположном направлению наклона нитей основы первого полотна, и нити утка второго полотна имеют направление, перпендикулярное к указанным нитям основы этого второго полотна; и
– нити основы и нити утка обеих полос расположены идентично нитям основы и нитям утка первого полотна перед складыванием указанных полос.
После накачивания труба (2) является прямолинейной.
После накачивания труба (2) имеет форму тора.
Объектом настоящего изобретения является также оболочка из ткани с покрытием,
отличающаяся тем, что изготовлена в соответствии с упомянутым выше способом.
Оболочка из ткани с покрытием содержит n трубчатых зон и n+1 соединительных зон.
Отличительные признаки и преимущества настоящего изобретения будут более очевидны из нижеследующего описания, представленного в качестве примера, со ссылками на прилагаемые чертежи, на которых:
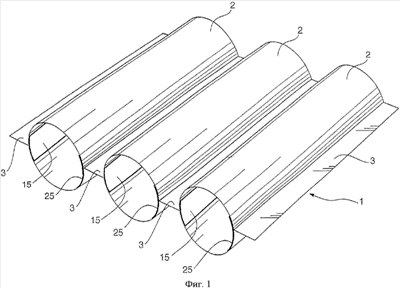
Фиг.1 – схематичный вид в перспективе примера выполнения оболочки из ткани с нанесенным покрытием, полученной при помощи способа в соответствии с настоящим изобретением.
Фиг.2 – схематичный вид в перспективе различных составных элементов оболочки в соответствии с настоящим изобретением.
Фиг.3-6 – схематичный вид в поперечном разрезе, иллюстрирующий различные этапы способа изготовления оболочки в соответствии с настоящим изобретением.
Фиг.7 – схематичный вид в перспективе, показывающий первое расположение нитей основы и нитей утка обоих полотен и обеих полос, образующих оболочку, полученную при помощи способа в соответствии с настоящим изобретением.
Фиг.8 – схематичный вид в перспективе, показывающий второе расположение нитей основы и нитей утка обоих полотен и обеих полос, образующих оболочку, полученную при помощи способа в соответствии с настоящим изобретением.
Фиг.9 – схематичный вид участка оболочки с расположением нитей, показанным на фиг.8.
На фиг.1 схематично в перспективе показан пример выполнения оболочки, обозначенной общей позицией 1.
Согласно этому примеру выполнения, показанному на фиг.1, оболочка 1 содержит несколько продольных зон 2 трубчатой формы и по обе стороны от этих продольных зон 2 – соединительную продольную зону 3, закрывающую с обеих сторон каждую центральную трубчатую зону 2.
Далее со ссылкой на фиг.2-6 следует описание различных элементов, образующих оболочку 1, а также способа изготовления этой оболочки 1, состоящей из трубчатой зоны 2 и из двух соединительных зон 3, расположенных по обе стороны от трубчатой зоны 2, при этом элементы и способ изготовления оболочки 1, состоящей из нескольких параллельных трубчатых зон 2, разделенных соединительной зоной 3, являются аналогичными.
На фиг.2-6 толщина различных элементов, образующих оболочку 1, произвольно увеличена для большей наглядности.
Оболочка 1 содержит первое полотно 10, содержащее тканую или нетканую ткань 11, выполненную из полиамидных или полиэфирных волокон или из других волокон. Ткань 11 образована нитями основы 11а и нитями утка 11b (фиг.7 и 8). По меньшей мере, на одну из сторон ткани 11, а в представленном примере выполнения – на каждую из ее сторон, наносят слой 12 покрытия.
Между тканью 11 и покрытием 12 наносят клей для хорошего сцепления между этими двумя элементами. Нанесение клея осуществляют, например, на шпрединг-машине, а клей выбирают таким образом, чтобы обеспечить хорошее сцепление между тканью 11 и покрытием 12.
Оболочка 1 содержит также второе полотно 20, содержащее тканую или нетканую ткань 21, выполненную из полиамидных или полиэфирных волокон или из других волокон. Ткань 21 образована нитями основы 21а и нитями утка 21b (фиг.7 и 8). По меньшей мере, на одну из сторон ткани 21, а в представленном примере выполнения на каждую из ее сторон, наносят слой 22 покрытия.
Между тканью 21 и покрытием 22 наносят клей для хорошего сцепления между этими двумя элементами. Нанесение клея осуществляют, например, на шпрединг-машине, а клей выбирают таким образом, чтобы обеспечить хорошее сцепление между тканью 21 и покрытием 22.
Покрытие 12 и 22, нанесенное на ткань 11 и 21, содержит, по меньшей мере, один слой каучука или, по меньшей мере, один слой пластического материала. Нанесение слоев покрытия 12 и 22 осуществляют классическим способом при помощи промазки, или каландрирования, или экструзии.
Оболочка 1 содержит также две полосы соответственно 15 и 25, вырезанные, по меньшей мере, из одного другого полотна ткани, не показанного на чертеже.
Полоса 15 содержит ткань 16 с нанесенным на одну из ее сторон покрытием 17 в виде слоя каучука или слоя пластического материала. На сторону ткани 16, противоположную стороне с покрытием 17, наносят адгезивный материал 18. Аналогично, полоса 25 содержит ткань 26 с нанесенным на одну из ее сторон покрытием в виде, по меньшей мере, одного слоя каучука или слоя пластического материала. На сторону ткани 26, противоположную стороне с покрытием 27, наносят адгезивный материал 28.
Ткани 16 и 26 полос соответственно 15 и 25 также образованы нитями основы соответственно 16а и 26а и нитями утка соответственно 16b и 26b (фиг.7 и 8).
После этого каждую из полос 15 и 25 складывают, чтобы загнуть друг на друга обе половины сторон, покрытых адгезивным материалом соответственно 18 и 28 для удержания этих полос соответственно 15 и 25 в сложенном виде, как показано на фиг.3. Сложенные таким образом полосы 15 и 25 закрепляют в продольном направлении на первом полотне 10, размещая линии 15а и 25а разделения половин сторон каждой из полос 15 и 25 друг против друга, чтобы получить, по меньшей мере, одну зону А формирования трубы 2, как показано на фиг.4. Расстояние, разделяющее обе сложенные полосы 15 и 25, зависит от диаметра изготавливаемой трубы 2.
Если между покрытием 12 полотна 10 и покрытием 17 и 27 полос 15 и 25 сцепление является достаточным, в частности в случае покрытия, образованного слоем каучука, то сложенные полосы 15 и 25 закрепляют на первом полотне 10 путем легкого прижатия и нагрева каждой сложенной полосы.
Если же сцепление является недостаточным, как в случае покрытий, образованных слоем пластического материала, то между каждым сложенным полотном 15 и 25 и первым полотном точечно наносят клей.
В зоне А, расположенной между линиями 15а и 25а разделения половин сторон каждой из полос 15 и 25, на сторону первого полотна 10 наносят средство 30, препятствующее прилипанию. Это средство 30, препятствующее прилипанию, должно быть абсолютно не совместимым с покрытием, нанесенным на полотна 10 и 20, и не должно плавиться при температуре соединения двух полотен 10 и 20, что будет пояснено ниже. Это средство, препятствующее прилипанию, может быть либо неплавкой пленкой, либо порошком, таким, например, как тальк или бентонит, или дисперсией, или раствором, препятствующими прилипанию.
После этого оба полотна 10 и 20 соединяют, накладывая второе полотно 20 на сторону первого полотна 10, содержащую сложенные полосы 15 и 25, как показано на фиг.5. Оба полотна 10 и 20 жестко соединяют между собой при помощи сцепления в соединительных зонах В, расположенных по обе стороны от зоны А формирования трубы 2, то есть в зонах, не покрытых средством 30, препятствующим прилипанию. Это сцепление обеспечивают, прижимая друг к другу и одновременно нагревая оба полотна 10 и 20.
В случае, когда покрытием является каучук, нагревом обеспечивают его вулканизацию, а в случае покрытия из пластического материала – его расплавление. Прижатием обеспечивают сцепление и закрепление между тканью, покрытием полотен 10 и 20 и покрытием полос 15 и 25. Эту операцию выполняют в непрерывном режиме на машине, содержащей один или несколько нагреваемых валков, оборудованных силовыми цилиндрами для осуществления прижатия.
После выполнения этих операций соединения в зону А, расположенную между линиями 15а и 25а разделения сложенных полос 15 и 25, закачивают газ, в результате чего эта зона раздувается и образуется труба 2. Во время этого накачивания полосы 15 и 25 раскладываются и образуют внутри трубы на уровне каждого соединения между двумя полотнами 10 и 20 уголок, обеспечивающий механические свойства и герметичность, как показано на фиг.6. В результате этого каждое соединение между двумя полотнами 10 и 20 оказывается усиленным полосой, образующей уголок, находящийся внутри трубы, и, таким образом, получают соединения, обладающие хорошим сопротивлением сдвигу, причем механические качества являются одинаковыми по всей трубе.
На фиг.7 и 8 показаны только ткани 11, 21, 16 и 26 полотен 10 и 20 и полос 15 и 25, при этом промежуток между нитями основы и нитями утка этих тканей показан произвольно увеличенным для большей наглядности.
Согласно первому варианту выполнения, показанному на фиг.7, нити основы 11а ткани 11 полотна 10 имеют направление, параллельное продольной оси этого полотна 10, а нити утка 11b имеют направление, перпендикулярное к указанным нитями основы 11а. Точно так же нити основы 21а ткани 21 полотна 20 имеют направление, параллельное продольной оси этого полотна 20, а нити утка 21b имеют направление, перпендикулярное к указанным нитями основы 21а. Аналогично, нити основы 16а и 26а тканей 16 и 26 полос, соответственно 15 и 25, имеют направление, параллельное продольной оси этих полос 15 и 25, а нити утка 16b и 26b имеют направление, перпендикулярное к указанным нитями основы 16а и 26а.
В этом варианте выполнения ткани, образующие полотна 10 и 20, а также полосы 15 и 25, являются тканями, называемыми тканями с прямым расположением нитей.
За счет такого расположения нитей основы и нитей утка тканей полотен 10 и 20 и полос 15 и 25 труба или трубы 2, образующие оболочку 1 после накачивания, являются прямолинейными, как показано на фиг.1.
Согласно второму варианту выполнения, показанному на фиг.8, нити основы 11а ткани 11 первого полотна 10 имеют наклон под углом + по отношению к продольной оси этого первого полотна 10, а нити утка 11b ткани 11 указанного первого полотна 10 имеют направление, перпендикулярное к указанным нитям основы 11а.
После наложения второго полотна 20 на первое полотно 10 нити основы 21а ткани 21 этого второго полотна 20 имеют наклон под углом – по отношению к продольной оси этого второго полотна 20, то есть имеют направление, противоположное направлению наклона нитей основы 11а первого полотна 10, тогда как нити утка 21b указанного второго полотна 20 имеют направление, перпендикулярное к указанным нитям основы 21а этого второго полотна 20.
Нити основы 16а и 26а и нити утка 16b и 26b тканей 16 и 26 полос 15 и 25 расположены идентично нитям основы 11а и нитям утка 11b ткани 11 первого полотна 10. Так, нити основы 16а и 26а образуют угол + с продольной осью соответствующей полосы 15 или 25.
После складывания полос 15 и 25 нити основы 16а и 26а и нити утка 16b и 26b нижней половины полосы имеют такое же расположение, что и нити основы 11а и нити утка 11b полотна 10, и эти нити основы 16а и 26а и нити утка 16b и 26b верхней половины полосы имеют такое же расположение, что и нити основы 21а и нити утка 21b полотна 20.
С учетом направления этих нитей основы и этих нитей утка труба или трубы 2 оболочки 1 после накачивания имеют тороидальную форму, как показано на фиг.9.
Диаметр полученного таким образом тора регулируют в зависимости от значения угла . Этот угол находится в пределах от значения, большего 0°, до 45°.
Таким образом, ткань, используемая для полотен 10 и 20 и для полос 15 и 25 в этом последнем варианте выполнения, является тканью, называемой тканью с косым расположением нитей.
Способ в соответствии с настоящим изобретением применяют для изготовления, например, надувных труб, предназначенных для получения надувных конструкций, таких, например, как спасательные плотики, надувные лодки, мягкие емкости или нефтезаградительные плавучие боны, и в целом – для изготовления любых устройств, в которых используют развернутые цилиндрические и надувные формы.
Этот способ позволяет получать оболочку из ткани с покрытием, содержащую n трубчатых зон, образующих трубы, и n+1 соединительных зон. В случае необходимости для отделения труб друг от друга осуществляют непрерывную операцию разрезания в соединительных зонах.
Формула изобретения
1. Способ непрерывного изготовления оболочки (1) из ткани с покрытием, содержащей, по меньшей мере, одну газонепроницаемую трубу (2), образованную двумя наложенными друг на друга полотнами (10; 20) из ткани (11; 21) с покрытием, образованной нитями основы (11а; 21а) и нитями утка (11b; 21b), или полотнами из нетканого материала, при котором второе полотно (20) накладывают на первое полотно (10) и оба полотна (15; 25) жестко соединяют друг с другом путем скрепления этих полотен (15; 25) в соединительных зонах, не содержащих средства (30), препятствующего прилипанию; и трубу (2) заполняют воздухом, чтобы развернуть обе половины сторон каждой из полос (15; 25), образуя внутри указанной трубы (2) на уровне каждого соединения обоих полотен (10; 20) уголок, обеспечивающий механические свойства и герметичность; отличающийся тем, что: по меньшей мере, из одного другого полотна ткани, содержащего нанесенное на одну сторону покрытие, вырезают, по меньшей мере, две полосы (15; 25) ткани (16; 26), образованной нитями основы (16а; 26а) и нитями утка (16b; 26b), определенной ширины и длиной, по существу равной длине изготавливаемой трубы (2); на сторону каждой из полос (15; 25), противоположную сторонам, содержащим покрытие (17; 27), наносят адгезивный материал (18; 28); каждую из полос (15; 25) складывают вдвое, загибая друг на друга две половины сторон с нанесенным на них адгезивным материалом (18; 28) для удержания этих полос (15; 25) в сложенном виде; каждую из сложенных полос (15; 25) закрепляют в продольном направлении на первом полотне (10), размещая линии (15а; 25а) разделения двух половин сторон каждой из указанных полос (15; 25) друг против друга, чтобы получить, по меньшей мере, одну зону формирования трубы (2); в зоне и на сторону первого полотна (10), заключенную между двумя смежными полосами (15; 25), наносят средство (30), препятствующее прилипанию.
2. Способ по п.1, отличающийся тем, что на ткань (11; 21) каждого полотна (10; 20) наносят покрытие (12; 22) с одной стороны.
3. Способ по п.1, отличающийся тем, что на ткань (11; 21) каждого полотна (10; 20) наносят покрытие (12; 22) с двух сторон.
4. Способ по одному из пп.1-3, отличающийся тем, что покрытие (12; 22. 16; 26) содержит, по меньшей мере, один слой каучука.
5. Способ по одному из пп.1-3, отличающийся тем, что покрытие (12; 22. 16; 26) содержит, по меньшей мере, один слой пластического материала.
6. Способ по п.1, отличающийся тем, что закрепление каждой сложенной полосы (15; 25) на первом полотне (10) осуществляют путем легкого прижатия и нагрева каждой сложенной полосы.
7. Способ по п.1, отличающийся тем, что крепление каждой сложенной полосы (15; 25) на первом полотне (10) осуществляют путем приклеивания каждой сложенной полосы на первом полотне.
8. Способ по п.1, отличающийся тем, что в качестве средства (30), препятствующего прилипанию, используют вещество, несовместимое с покрытием (12; 22) полотен (10; 20), такое, например, как неплавкая пленка, порошок, или дисперсия, или раствор, препятствующие прилипанию.
9. Способ по п.1, отличающийся тем, что сцепление между двумя полотнами (10; 20) в зонах, не содержащих средство (30), препятствующее прилипанию, получают путем прижатия и одновременного нагрева полос.
10. Способ п.1, отличающийся тем, что нити основы (11а; 21а) тканей (11; 21) двух полотен (10, 20) имеют направление, параллельное продольной оси соответствующего полотна (10; 20), а нити утка (11b; 21b) имеют направление, перпендикулярное к нитям основы (11а; 21а).
11. Способ по п.1, отличающийся тем, что нити основы (16а; 26а) тканей (16; 26) двух полос (15; 25) имеют направление, параллельное продольной оси соответствующей полосы (15; 25), а нити утка (16b; 26b) имеют направление, перпендикулярное к нитям основы (16а; 26а).
12. Способ по п.1, отличающийся тем, что после накачивания труба (2) является прямолинейной.
13. Способ по п.1, отличающийся тем, что нити основы (11а) ткани (11) первого полотна (10) имеют наклон по отношению к продольной оси этого первого полотна (10), а нити утка (11b) первого полотна (10) имеют направление, перпендикулярное к нитям основы (11а), причем после наложения второго полотна (20) на первое полотно (10) нити основы (21а) ткани (21) второго полотна (20) имеют наклон по отношению к продольной оси этого второго полотна (20) в направлении, противоположном направлению наклона нитей основы (11а) первого полотна (10), а нити утка (21b) первого полотна (10) и нити утка (21b) ткани (21) второго полотна (20) имеют направление, перпендикулярное к нитям основы (21а) второго полотна (20).
14. Способ по п.1, отличающийся тем, что нити основы (16а; 26а) и нити утка (16b; 26b) тканей (16; 26) двух полос (15; 25) расположены идентично нитям основы (11а) и нитям утка (11b) первого полотна (10) перед складыванием полос (15; 25).
15. Способ по п.1 или 14, отличающийся тем, что после накачивания труба (2) имеет форму тора.
16. Оболочка из ткани с покрытием, отличающаяся тем, что она выполнена при помощи способа по одному из пп.1-15.
17. Оболочка из ткани с покрытием по п.16, отличающаяся тем, что содержит n трубчатых зон и n+1 соединительных зон.
РИСУНКИ
|
|