|
(21), (22) Заявка: 2007106177/02, 23.07.2005
(24) Дата начала отсчета срока действия патента:
23.07.2005
(30) Конвенционный приоритет:
02.08.2004 DE 102004038815.6
(43) Дата публикации заявки: 10.09.2008
(46) Опубликовано: 20.05.2009
(56) Список документов, цитированных в отчете о поиске:
DE 10054174 A1, 06.06.2002. RU 2080089 C1, 27.05.1997. RU 2110204 C1, 10.05.1998. EP 1264669 A1, 11.12.2002. DE 3500959 A1, 17.07.1986.
(85) Дата перевода заявки PCT на национальную фазу:
02.03.2007
(86) Заявка PCT:
EP 2005/008053 20050723
(87) Публикация PCT:
WO 2006/015712 20060216
Адрес для переписки:
101000, Москва, М.Златоустинский пер., 10, кв.15, “ЕВРОМАРКПАТ”
|
(72) Автор(ы):
БЁРНЕР Юрген (DE)
(73) Патентообладатель(и):
БЁРНЕР КУНСТШТОФФ-УНД МЕТАЛЛЬВАРЕНФАБРИК ГМБХ (DE)
|
(54) ВСТАВКА ДЛЯ КУХОННОЙ ЛОМТЕРЕЗКИ
(57) Реферат:
Изобретение относится к режущим устройствам и может быть использовано для резки фруктов и овощей. Вставка содержит пластину-основу, первые крепежные средства и вторые крепежные средства. Одна сторона пластины-основы выполнена в виде опорной поверхности, которая в положении вставки первой стороной кверху направляет движение нарезаемого материала, перемещаемого в продольном направлении к режущей кромке ножа ломтерезки. Первые крепежные средства выполнены для фиксации вставки на корпусе ломтерезки в положении первой стороной кверху. Вторые крепежные средства выполнены для фиксации вставки на корпусе ломтерезки в положении второй стороной кверху и расположены с обеспечением закрывания сверху режущей кромки ножа при положении вставки второй стороной кверху. В результате обеспечивается уменьшение травмоопасности. 2 н. и 8 з.п. ф-лы, 4 ил.
Настоящее изобретение относится к переворачиваемой вставке для кухонной ломтерезки, предназначенной для измельчения поддающегося резке, или нарезаемого, материала, такого как фрукты, овощи и т.п., содержащей пластину-основу, одна сторона которой выполнена как опорная поверхность, которая в положении вставки первой стороной кверху направляет движение нарезаемого материала, перемещаемого в продольном направлении к режущей кромке ножа ломтерезки, первые крепежные средства для фиксации вставки на корпусе ломтерезки в положении первой стороной кверху и вторые крепежные средства для фиксации вставки на корпусе ломтерезки в положении второй стороной кверху.
Настоящее изобретение относится также к кухонной ломтерезке с такой вставкой.
Подобная переворачиваемая вставка для кухонной ломтерезки известна, например, в отношении ломтерезки с так называемым V-образным ножом, разработанной фирмой-заявителем (см. модель “Тренд” на Web-сайте сети Интернет www.boerner-germany.de).
Кухонная ломтерезка служит для измельчения нарезаемого материала, такого как фрукты, овощи и т.п.При этом нарезаемый материал обычно перемещают по опорной поверхности к ножу. За ножом располагается выходная поверхность, на которую “выезжает” остаток нарезаемого материала. Отрезанные ломтики (под ломтиком по смыслу настоящего изобретения понимается отрезанный кусочек материала любой формы, например пластинчатой, в виде полоски, бруска или кубика) падают с нижней стороны ломтерезки. Особенно хорошие результаты при нарезке дают указанные выше ломтерезки с V-образным ножом.
В упомянутой выше модели “Тренд” ломтерезки с V-образным ножом вставка фиксируется в корпусе как в положении первой стороной кверху, так и в положении второй стороной кверху, т.е. после переворота на 180°. Корпус служит опорой для ножа и образует выходную поверхность. Вставка имеет опорную поверхность, по которой нарезаемый материал перемещается к ножу. При этом, переворачивая вставку, изменяют толщину нарезаемых ломтиков.
В другой кухонной ломтерезке (см. модель V4 на Web-сайте сети Интернет www.boerner-germany.de) вставка также располагается на корпусе. Однако для изменения толщины нарезаемых ломтиков вставку в целом необходимо переставлять, фиксируя ее с защелкиванием во множестве положений на корпусе и не переворачивая ее.
Проблемой, возникающей при пользовании кухонными ломтерезками, является безопасность, поскольку в них используются очень острые ножи. В процессе нарезки обычно используют так называемый плододержатель, исключающий опасность травмирования ножом при резании. Однако немалая опасность сохраняется и в том случае, когда кухонная ломтерезка находится в собранном для хранения или в разобранном состоянии. В этом случае ломтерезка представляет особую опасность для детей.
Ломтерезку модели “Тренд” предусмотрено хранить в специальном чехле или мультибоксе, благодаря которому нож становится недоступным снаружи. В ломтерезке модели V4 предусмотрено такое положение вставки в корпусе, в котором вставка прилегает непосредственно к режущей кромке. При этом вставка может также незначительно закрывать сверху режущую кромку в этом положении ее защиты с целью дополнительно понизить риск причинения травмы.
В основу настоящего изобретения была положена задача предложить переворачиваемую вставку для кухонной ломтерезки, а также снабженную такой вставкой кухонную ломтерезку, усовершенствованные с целью дальнейшего уменьшения травмоопасности.
Указанная задача решается в отношении указанной в начале описания переворачиваемой вставки за счет расположения вторых крепежных средств таким образом, чтобы вставка в положении второй стороной кверху закрывала сверху режущую кромку ножа.
В отношении кухонной ломтерезки указанного в начале описания типа задача изобретения решается комбинированием такой ломтерезки с подобной вставкой. Решение расположить вторые крепежные средства таким образом, чтобы вставка в положении второй стороной кверху закрывала сверху режущую кромку ножа, позволяет реализовать значительно более высокую защиту от травмирования. Даже если при нахождении вставки в положении второй стороной кверху надавить на вставку сверху, вставку невозможно сместить относительно режущей кромки, обнажив последнюю. Кроме того, находясь в положении второй стороной кверху, вставка расположена таким образом, чтобы закрывать режущую кромку сверху, что не позволяет продавить вставку.
Понятно, что когда вставка установлена в положении второй стороной кверху, ее невозможно использовать для резания. Кухонную ломтерезку с предлагаемой в изобретении вставкой в положении второй стороной кверху можно хранить, не создавая опасности причинения травмы, например в выдвижном ящике, куда может неосторожно забраться рука ребенка.
Таким образом, поставленная задача решена полностью.
В предпочтительном варианте вставка в положении второй стороной кверху прилегает к ножу сверху.
Благодаря этому при нажатии на вставку она опирается на расположенный снизу нож, что препятствует прохождению вставки мимо режущей кромки с обнажением последней.
В еще одном предпочтительном варианте вторые крепежные средства расположены таким образом, чтобы пластина-основа вставки в положении второй стороной кверху закрывала сверху режущую кромку ножа или опирается на нож или прилегала к ножу сверху.
В этом варианте форма пластины-основы может быть согласована с профилем режущей кромки ножа. Кроме того, на вставке не требуется предусматривать какую-либо собственную насадку или участок, выполненный специально с таким расчетом, чтобы в положении вставки второй стороной кверху закрывать сверху нож.
Кроме того, первые крепежные средства предпочтительно выполнить в виде первых защелкивающихся элементов с возможностью фиксации ими вставки в положении первой стороной кверху с защелкиванием на корпусе.
Соответственно, вторые крепежные средства предпочтительно выполнить в виде вторых защелкивающихся элементов с возможностью фиксации ими вставки в положении второй стороной кверху с защелкиванием на корпусе.
Это упрощает обращение с кухонной ломтерезкой и вставкой.
Целесообразно также предусмотреть продольные направляющие, позволяющие перемещать вставку на корпусе кухонной ломтерезки в продольном направлении по меньшей мере между положением фиксации с защелкиванием и свободным положением вставки.
Предпочтительно использовать вторые защелкивающиеся элементы, имеющие продольные фиксаторы, предназначенные для фиксации вставки с защелкиванием на корпусе от продольного перемещения
Это решение особенно рационально, если также предусмотрены продольные направляющие, которые позволяют устанавливать вставку в положение ее фиксации с защелкиванием путем простого перемещения вставки вдоль корпуса.
Кроме того, предпочтительно использовать вторые защелкивающиеся элементы, имеющие поперечные упоры, которые в положении вставки второй стороной кверху препятствуют перемещению вставки относительно корпуса в направлении, проходящем перпендикулярно плоскости резания ножа.
При этом можно предусмотреть вариант, в котором поперечные упоры препятствуют перемещению вставки вниз. Взамен этого варианта или дополнительно к нему поперечные упоры можно также использовать для предотвращения перемещения вставки вверх. При этом поперечные упоры могут представлять собой часть вторых фиксаторов, т.е. могут обеспечивать фиксацию с защелкиванием вставки в корпусе.
Кроме того, в целом первые и вторые крепежные средства целесообразно разместить на вставке на расстоянии друг от друга в направлении резания.
Это позволяет использовать для фиксации вставки с защелкиванием в положении как первой, так и второй стороной кверху один и тот же участок на корпусе.
При этом в наиболее предпочтительном варианте взаимное расположение крепежных средств таково, что вставка в положении второй стороной кверху сдвинута дальше вперед, т.е. дальше в направлении ножа, что позволяет ей преимущественно перекрыть режущую кромку ножа.
В положении же первой стороной кверху передняя кромка вставки примерно совпадает с проекцией режущей кромки, благодаря чему через отверстие между ними могут легко выпадать отрезанные ломтики.
Очевидно, что представленные выше, а также рассматриваемые ниже признаки можно использовать, не отходя от сущности изобретения, не только в соответствующих комбинациях, но и в других комбинациях или по отдельности.
Ниже изобретение более подробно рассмотрено на примере вариантов его осуществления со ссылкой на прилагаемые чертежи, на которых показано:
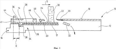
на фиг.1 – схематичный вид в сечении кухонной ломтерезки в первом варианте осуществления изобретения, при этом вставка расположена первой стороной кверху,
на фиг.2 – вид, соответствующий фиг.1, со вставкой в положении второй стороной кверху,
на фиг.3 – вид сверху предлагаемой в изобретении вставки для кухонной ломтерезки в еще одном варианте ее выполнения и
на фиг.4 – вид вставки в сечении плоскостью IV-IV, показанной на фиг.3.
На фиг.1 и 2 показана предлагаемая в изобретении кухонная ломтерезка в первом варианте осуществления изобретения, обозначенная в целом позицией 10.
Кухонная ломтерезка имеет корпус 12 и вставку 14.
Корпус 12 и вставку 14 можно изготавливать из пластмассы. В альтернативном варианте корпус 12 и вставку 14 можно также изготавливать из металла, например из высококачественной стали.
Корпус 12 обычно имеет два параллельных продольных ребра (не показаны). Между продольными ребрами на заднем конце выполнена ручка 16. К ней примыкает предусмотренная между продольными ребрами опорная пластина 17, на которую опирается вставляемая в корпус 12 вставка 14 в ее положении первой стороной кверху. На переднем конце корпуса продольные ребра соединены между собой выходной поверхностью 18. Выходная поверхность 18 смещена относительно опорной пластины 17 и расположена параллельно ей. На задней кромке выходной поверхности 18 расположен нож 20, в качестве которого можно использовать, например, V-образный нож. Режущая кромка ножа 20 обозначена позицией 22.
Вставка 14 имеет пластину-основу 23. Верхняя сторона пластины-основы 23 выполнена как опорная поверхность 24. При установленной в корпус вставке нижняя сторона 26 пластины-основы 23 прилегает к верхней стороне 28 опорной пластины 17.
Для резания или шинкования нарезаемого материала 30 его перемещают в направлении S от задней к передней части ломтерезки, прижимая его к опорной поверхности 24. При этом от нарезаемого материала 30 отделяются ломтики 32, а остаток нарезаемого материала, продолжая движение в направлении S, выезжает на выходную поверхность 18.
Такое принципиальное устройство кухонной ломтерезки 10, а также принцип ее работы широко известны.
На фиг.1 показана вставка 14 в положении первой стороной кверху, в котором опорная поверхность 24 расположена относительно ножа 20 таким образом, что возможно резание нарезаемого материала 30.
В положении первой стороной кверху вставка 14 фиксируется в корпусе 12 первым защелкивающимся замком 34.
Защелкивающийся замок 34 имеет первый выступ 36 (используемый в качестве первого защелкивающегося элемента) на нижней стороне пластины-основы 23 вставки 14. В корпусе 12 предусмотрено соответствующее углубление 38, в которое заскакивает выступ 36 в положении фиксации вставки. Кроме того, на корпусе 12 предусмотрен поперечный упор 40, выполненный с таким расчетом, чтобы фиксировать пластину-основу 23 от перемещения в направлении, перпендикулярном плоскости резания. При этом опорная пластина 17 вместе с поперечным упором 40 образует своего рода продольную направляющую. Для введения вставки 14 в корпус 12 пластину-основу 23 вводят в эту продольную направляющую и перемещают до заскакивания выступа 36 в углубление 38. В этом состоянии вставка 14 установлена на корпусе 12 с защелкиванием. Для отсоединения вставки 14 ее нужно приподнять за задний конец, выведя выступ 36 из углубления 38, и затем вытащить назад.
Выступ 36, углубление 38, а также поперечный упор 40 показаны соответственно как отдельные элементы. Однако эти элементы обычно предусмотрены в зоне как первого, так и второго продольных ребер, что обеспечивает направленное движение вставки 14 между продольными ребрами.
Кроме того, как показано на фиг.1, от пластины-основы 23 отходит по меньшей мере одна стенка 41, выступающая вверх. Высота стенки 41 примерно соответствует расстоянию между пластиной-основой 23 и ножом 20.
На верхней стороне вертикальной стенки 41 предусмотрен второй выступ 44, расположенный на расстоянии D от первого выступа 36 в продольном направлении.
Выступ 44 образует второй защелкивающийся элемент, входящий в состав второго замка-защелки 42, стопорящего вставку 14, когда та установлена на корпусе 12 в положении второй стороной кверху, как это показано на фиг.2. В положении второй стороной кверху вставка 14 зафиксирована на корпусе 12 в перевернутом на 180° положении. При этом второй выступ 44 входит в углубление 38. Кроме того, в стенке 41 предусмотрен вырез 46, в который заходит поперечный упор 40.
В положении второй стороной кверху кромка стенки 41, отстоящая от пластины-основы 23, прилегает к опорной пластине 17 корпуса ломтерезки, благодаря чему пластина-основа 23 располагается на таком расстоянии от опорной пластины 17, чтобы находиться над выходной поверхностью 18, как это показано на фиг.2.
Благодаря расстоянию D вставка 14, находясь в положении второй стороной кверху, зафиксирована на корпусе 12 со смещением вперед, благодаря чему пластина-основа 23 закрывает сверху режущую кромку 22 ножа 20, точнее говоря, прилегает к ножу 20 сверху.
Следовательно, в положении вставки второй стороной кверху кухонную ломтерезку 10 нельзя использовать для резки. Более того, положение вставки второй стороной кверху представляет собой безопасное положение, в котором вставка 14 закрывает сверху нож 20 (или его режущую кромку 22).
Очевидно, что в предпочтительном варианте конструкции по бокам пластины-основы 23 предусмотрено по одной стенке 41, и каждая такая стенка имеет по второму выступу 44 или вырезу 46.
В этом случае в положении вставки второй стороной кверху между пластиной-основой 23 вставки и опорной пластиной 17 корпуса образуется пространство, которое можно использовать, например, для помещения в него других принадлежностей кухонной ломтерезки.
Извлечение вставки 14, установленной в положении второй стороной кверху, осуществляют аналогично, приподнимая вставку 14 за ее задний конец для вывода второго выступа 44 из углубления 38, и затем вытягивая вставку 14 назад, в результате чего вырез 46 отходит от поперечного упора 40.
Очевидно, что нож 20 может представлять собой обычный нож, расположенный перпендикулярно направлению S резания. Однако в качестве ножа 20 можно также использовать V-образный нож, V-образно сходящийся к центру в направлении S резания, как это известно из уровня техники.
Вставка 14 может использоваться в качестве принадлежности в уже известной ломтерезке модели “Тренд”, разработанной фирмой-заявителем.
Вместе с тем, применение предлагаемой в изобретении вставки в том или ином варианте ее выполнения возможно также в составе ломтерезки модели V4, разработанной фирмой-заявителем.
Вместо фиксации вставки 14 на корпусе 12 с защелкиванием вставку 14 можно фиксировать на корпусе 12 с защемлением. Такое крепление можно обеспечить соответствующим подбором размеров вставки 14 и корпуса 12. В этом случае первые и вторые защелкивающиеся элементы (углубление 38 и выступы 36, 44) были бы не нужны.
На фиг.3 и 4 предлагаемая в изобретении вставка 14′ для кухонной ломтерезки представлена в еще одном варианте выполнения. Принципиальное устройство и принцип работы вставки 14′ соответствуют принципиальному устройству и принципу работы вставки 14, показанной на фиг.1 и 2. По этой причине ниже рассматриваются лишь отличия этих вариантов. Кроме того, конструктивно и функционально одинаковые элементы обозначены одними и теми же позициями.
Вставка 14′, показанная на фиг.3 и 4, рассчитана прежде всего на применение в ломтерезке модели “Тренд”, разработанной фирмой-заявителем. Пластина-основа 23 имеет множество ребер 50, проходящих в направлении S резания. Верхняя сторона ребер или выступов образует в этом случае опорную поверхность, направляющую движение перемещаемого по ней нарезаемого материала 30. Вставка 14′ выполнена в передней части V-образно сходящейся. В зоне вершины V-образной формы имеется эллиптическая поверхность, верхняя сторона которой совпадает с верхней стороной ребер 50.
Таким образом, под эллиптической поверхностью 52 образовано углубление 54 размером примерно с палец. Это углубление может быть предназначено для выведения вставки 14′, установленной в положении второй стороной кверху, из соответствующего корпуса, для чего необходимо надавить на скос 56, выполненный между эллиптической поверхностью 52 и пластиной-основой 23.
Вырезы 46 предусмотрены по бокам в стенках 41 снаружи, благодаря чему в эти вырезы могут заходить поперечные упоры 40, предусмотренные на внутренних боковых поверхностях двух продольных ребер корпуса (не показаны).
Стенки 41 клиновидно сходятся вперед, благодаря чему в зоне вырезов 46 имеется достаточно места для выполнения этих вырезов. При этом в стенках 41 предусмотрены дополнительные боковые выемки 58, наличие которых обусловлено особенностями технологии литья под давлением (вставка 14′ изготовлена из пластмассы).
В задней части стенки отделены от пластины-основы 23 прорезями 62, благодаря чему стенки 41 в их задней части выполнены по типу язычка 60. Такое их исполнение упрощает обращение со вставкой, поскольку второй выступ 44 выполнен на язычке 60, что облегчает его введение в положение защелкивания.
Формула изобретения
1. Переворачиваемая вставка (14) для кухонной ломтерезки (10), предназначенной для измельчения нарезаемого материала (30), такого как фрукты, овощи, содержащая пластину-основу (23), одна сторона которой выполнена в виде опорной поверхности (24), для обеспечения в положении вставки (14) первой стороной кверху направления движения нарезаемого материала (30), перемещаемого в продольном направлении к режущей кромке (22) ножа (20) ломтерезки (10), первые крепежные средства (34, 36, 38, 40) для фиксации вставки (14) на корпусе (12) ломтерезки (10) в положении первой стороной кверху и вторые крепежные средства (42, 38, 44) для фиксации вставки (14) на корпусе (12) ломтерезки (10) в положении второй стороной кверху, отличающаяся тем, что вторые крепежные средства (42, 38, 44) расположены с обеспечением закрытия вставкой (14) в ее положении второй стороной кверху режущей кромки (22) ножа (20) ломтерезки.
2. Вставка по п.1, отличающаяся тем, что в положении второй стороной кверху она прилегает к ножу (20) ломтерезки сверху.
3. Вставка по п.1, отличающаяся тем, что вторые крепежные средства (42, 38, 44) расположены с обеспечением закрытия пластиной-основой (23) вставки (14) в положении вставки второй стороной кверху режущей кромки (22) ножа (20) ломтерезки сверху или с обеспечением прилегания к упомянутому ножу (20) сверху.
4. Вставка по любому из пп.1-3, отличающаяся тем, что первые крепежные средства (34, 36, 38, 40) выполнены в виде первых защелкивающихся элементов (34, 36, 38, 40), обеспечивающих возможность фиксации ими вставки (14) в положении первой стороной кверху с защелкиванием на корпусе (12).
5. Вставка по любому из пп.1-3, отличающаяся тем, что вторые крепежные средства (42, 38, 44) выполнены в виде вторых защелкивающихся элементов (42, 38, 44), обеспечивающих возможность фиксации ими вставки (14) в положении второй стороной кверху с защелкиванием на корпусе (12).
6. Вставка по любому из пп.1-3, отличающаяся тем, что она имеет продольные направляющие (26, 28, 40) для перемещения вставки (14) на корпусе (23) кухонной ломтерезки (10) в продольном направлении по меньшей мере между положением фиксации с защелкиванием и свободным положением вставки.
7. Вставка по любому из пп.1-3, отличающаяся тем, что вторые защелкивающиеся элементы (42, 38, 44) имеют продольные фиксаторы (42, 38, 44) для фиксации вставки (14) с защелкиванием на корпусе (12) от продольного перемещения.
8. Вставка по любому из пп.1-3, отличающаяся тем, что вторые защелкивающиеся элементы (42, 38, 44) имеют поперечные упоры для препятствия в положении вставки (14) второй стороной кверху перемещению вставки относительно корпуса (12) в направлении, проходящем перпендикулярно плоскости резания ножа (20).
9. Вставка по любому из пп.1-3, отличающаяся тем, что первые (34, 36, 38, 40) и вторые (42, 38, 44) крепежные средства расположены на вставке (14) на расстоянии (D) друг от друга в направлении резания.
10. Кухонная ломтерезка (10), содержащая корпус (12) и вставку (14), выполненную по любому из пп.1-9.
РИСУНКИ
|