|
|
(21), (22) Заявка: 2007135377/02, 24.09.2007
(24) Дата начала отсчета срока действия патента:
24.09.2007
(46) Опубликовано: 20.05.2009
(56) Список документов, цитированных в отчете о поиске:
SU 171293 A1, 22.06.1965. SU 1333485 A1, 30.08.1987. RU 2185270 C2, 20.07.2002. SU 1581567 A1, 30.07.1990. SU 1641597 A1, 15.04.1991. GB 272750 A, 23.06.1927.
Адрес для переписки:
302020, г.Орел, Наугорское ш., 29, Орловский государственный технический университет (ОрелГТУ)
|
(72) Автор(ы):
Степанов Юрий Сергеевич (RU), Киричек Андрей Викторович (RU), Соловьев Дмитрий Львович (RU), Афанасьев Борис Иванович (RU), Фомин Дмитрий Сергеевич (RU), Сотников Владимир Ильич (RU), Василенко Юрий Валерьевич (RU), Тиняков Алексей Иванович (RU), Самойлов Николай Николаевич (RU)
(73) Патентообладатель(и):
Государственное образовательное учреждение высшего профессионального образования “Орловский государственный технический университет” (ОрелГТУ) (RU)
|
(54) ДЕФОРМИРУЮЩИЙ ИНСТРУМЕНТ ДЛЯ ИМПУЛЬСНОГО УПРОЧНЕНИЯ ОТВЕРСТИЙ
(57) Реферат:
Изобретение относится к технологии машиностроения, в частности к отделочно-упрочняющей обработке отверстий деталей поверхностным пластическим деформированием. Деформирующий инструмент содержит собранные в пакет тарельчатые пружины, шток, на котором расположены тарельчатые пружины с возможностью их продольного перемещения и изменения угла конуса их торцевой поверхности и боек. Тарельчатые пружины выполнены с торцевой конической поверхностью, радиальными пазами и центральным отверстием. Тарельчатые пружины выполнены с возможностью восприятия импульсной нагрузки от бойка, прогиба на величину f, увеличения их диаметра и обеспечения направления импульсной нагрузки по нормали к обрабатываемой поверхности. Величину прогиба тарельчатых пружин f определяют из математического выражения. В результате чего расширяются технологические возможности, увеличивается производительность и снижаются расходы. 6 ил.
Изобретение относится к технологии машиностроения, в частности к отделочно-упрочняющей обработке отверстий деталей из сталей и сплавов поверхностным пластическим деформированием с импульсным нагруженном инструмента.
Известен деформирующий инструмент для импульсного упрочнения отверстий, содержащий единичные деформирующие элементы (поверхность тарельчатых пружин, контактирующая с обрабатываемой поверхностью), расположенные на радиальных толкателях в виде тарельчатых пружин, выполненных с радиальными углублениями – выемками, и боек в виде штока (поз.5 для передачи импульсной нагрузки тарельчатым пружинам, при этом тарельчатые пружины консольно расположены под острым углом к продольной оси деформирующего инструмента, имеют центральное отверстие для установки на оправке, собраны в пакет и установлены с возможностью продольного перемещения и изменения упомянутого угла их наклона при перемещении штока-бойка в осевом направлении, тарельчатые пружины выполнены с возможностью восприятия на себя продольной периодической импульсной нагрузки штока-бойка прогиба, увеличения диаметра и направления импульсной нагрузки в момент их сжатия по нормали к обрабатываемой поверхности [1].
Известный деформирующий инструмент отличается ограниченными возможностями управления в создании упрочненных слоев и регулярного микрорельефа обрабатываемой поверхности, а также сложностью конструкции и низкой производительностью.
Известен способ и устройство для статико-импульсного раскатывания отверстий, содержащее оправку, на центральной продольной оси которой размещены выполненные в виде стержней волновод и боек, последний из которых установлен с возможностью воздействия на волновод для передачи периодической импульсной нагрузки, причем оно снабжено сменными деформирующими инструментами, закрепленными на радиально расположенных плунжерах, смонтированными на плунжерах пакетами тарельчатых пружин для обеспечения приложения статической нагрузки нормально к обрабатываемой поверхности и винтовой цилиндрической пружиной сжатия для воздействия на свободный торец волновода, поверхность которого выполнена конической и расположена в контакте со свободными торцами плунжеров [2].
Известный сменный деформирующий инструмент отличается ограниченными возможностями управления в создании гетерогенных упрочненных слоев и регулярного микрорельефа обрабатываемой поверхности, а также сложностью конструкции и низкой производительностью из-за малого количества деформирующих элементов.
Задачей изобретения является расширение технологических возможностей импульсной обработки поверхностным пластическим деформированием за счет использования деформирующего инструмента с большим количеством деформирующих элементов, равномерно расположенных по всей окружности обрабатываемого отверстия, что позволяет увеличить производительность обработки, улучшить качество обрабатываемой поверхности, управлять глубиной упрочненного слоя и микрорельефом внутренней поверхности и снизить расходы на изготовление благодаря простоте конструкции.
Поставленная задача решается с помощью предлагаемого деформирующего инструмента для импульсного упрочнения отверстий, содержащий собранные в пакет тарельчатые пружины, выполненные с торцевой конической поверхностью, радиальными пазами и центральным отверстием, шток, на котором расположены тарельчатые пружины с возможностью их продольного перемещения и изменения угла конуса их торцевой поверхности и боек, при этом тарельчатые пружины выполнены с возможностью восприятия импульсной нагрузки от бойка, прогиба на величину f, увеличения их диаметра и обеспечения направления импульсной нагрузки по нормали к обрабатываемой поверхности, при этом величина прогиба тарельчатых пружин f определена из следующего выражения:
F=0,5(DЗ-2h-d)tg р-0,5(DT-d)tg CB,
где DЗ – диаметр обрабатываемого отверстия заготовки, мм;
h – натяг при упрочнении, мм;
d – диаметр отверстия тарельчатой пружины, мм;
р и СВ – угол конуса торцевой поверхности тарельчатой пружины соответственно в рабочем нагруженном и свободном состояниях, град.;
DT – наружный диаметр тарельчатой пружины в свободном ненагруженном состоянии, мм.
Сущность предлагаемой конструкции деформирующего инструмента поясняется чертежами.
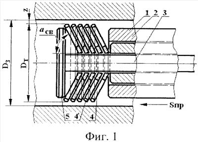
На фиг.1 представлена схема обработки импульсного упрочнения с помощью предлагаемого деформирующего инструмента, продольный разрез, деформирующий инструмент – тарельчатые пружины в свободном ненагруженном состоянии; на фиг.2 – то же, тарельчатые пружины в нагруженном состоянии; на фиг.3 – то же, совмещенный продольный разрез, тарельчатые пружины в свободном ненагруженном (вверху) и нагруженном (внизу) состояниях; на фиг.4 – деформирующий инструмент – тарельчатая пружина с радиальными пазами и центральным отверстием, продольный разрез и вид с торца, пунктирной линией показано положение пружины в нагруженном рабочем состоянии; на фиг.5 – вариант конструкции тарельчатой пружины с меньшей жесткостью по сравнению с пружиной, представленной на фиг.4; на фиг.6 – вариант конструкции тарельчатой пружины с меньшей площадью периферийной рабочей поверхности по сравнению с пружиной, представленной на фиг.4.
Предлагаемый деформирующий инструмент служит для поверхностного пластического деформирования внутренней поверхности отверстий заготовок с использованием периодической импульсной нагрузки на инструмент.
Предлагаемый инструмент устанавливается на оправку 1 в виде втулки, в отверстии которой размещен боек 2 с возможностью свободного продольного перемещения в ней. Боек 2 свободно по скользящей посадке установлен на центральном штоке 3. Оправка 1 и шток 3 жестко связаны друг с другом (не показано) и совершают синхронное продольное перемещение SПР при обработке отверстия заготовки. На штоке 3 с возможностью продольного перемещения установлен деформирующий инструмент, состоящий из пакета тарельчатых пружин 4 с радиальными пазами и центральным отверстием.
Деформирующий инструмент изготовлен из тарельчатых пружин 4 путем прорезания радиальных пазов с образованием консольно расположенных под острым углом к продольной оси толкателей, с установленными на их периферии деформирующих элементов 4/ (см. фиг.1-3, 6). Деформирующие элементы 4/ изготовлены из твердого сплава или другого износостойкого материала, закреплены на толкателях известными способами и имеют закругленные вершины. Как вариант, деформирующими элементами 4/ могут служить закаленные периферийные окончания толкателей (см. фиг.4-5).
Торцевая поверхность тарельчатых пружин 4 выполнена конической с углом наклона СВ к центральной оси, когда пружина находится в свободном ненагруженном состоянии. Тарельчатые пружины 4 располагаются на штоке между торцом фланца 5, жестко закрепленного на штоке 3, и бойком 2. При перемещении бойка 2 справа налево, согласно фиг.1-3, тарельчатые пружины 4 воспринимают на себя периодическую импульсную нагрузку Рим бойка 2, благодаря которой они перемещаются к фланцу 5 и прогибаются на величину f, увеличиваясь по наружному диаметру DT.
Общая продольная периодическая импульсная нагрузка РИМ бойка воспринимается всем пакетом тарельчатых пружин и равномерно распределяется на каждую пружину. Это значит, что каждая тарельчатая пружина 4 через толкатели оказывает упрочняющее воздействие с импульсной нагрузкой РИМ H, направленной по нормали к обрабатываемой поверхности (см. фиг.3).
Максимально достижимый наружный диаметр DТ max деформированной тарельчатой пружины равен
DT max=DT+2z+2h,
где DT – наружный диаметр тарельчатой пружины в свободном ненагруженном состоянии, мм;
z – гарантированный зазор, необходимый для свободного ввода устройства в обрабатываемое отверстие, мм;
h – натяг, необходимый для упрочнения, мм.
Однако деформирующие элементы пружины не достигают максимального диаметра DT max, ввиду того, что последний больше диметра обрабатываемого отверстия DЗ, благодаря этому создается натяг h, при этом все деформирующие элементы пружины контактируют с обрабатываемой поверхностью, т.е. пружина становится в распор и реализуется упрочнение внутренней поверхности заготовки.
В качестве механизма импульсного нагружения тарельчатых пружин применяется гидравлический генератор импульсов [2-3] или другой известной конструкции (не показан).
Тарельчатые пружины 4 могут быть выполнены по ГОСТ 3057-79 из стали 60С2А (или другой пружинной стали по ГОСТ 14963-78) с различным расположением радиальных пазов (см. фиг.4-6) и различными размерами контактирующих с заготовкой частей периферийной поверхности деформирующих элементов. Чем больше радиальных пазов имеет тарельчатая пружина, тем меньше ее жесткость и сопротивляемость прогибу и тем меньше площадь контакта деформирующих элементов с обрабатываемой поверхностью.
Величина прогиба тарельчатых пружин f в зависимости от геометрических размеров устройства и обрабатываемого отверстия и определяется по формуле
f=0,5(DЗ-2h-d)tg Р-0,5(DT-d)tg CB,
где DЗ – диаметр обрабатываемого отверстия заготовки, мм;
h – натяг, необходимый для упрочнения, мм;
d – диаметр отверстия тарельчатой пружины, мм;
р и CB – угол конуса тарельчатой пружины, соответственно в рабочем нагруженном и свободном состояниях, град.;
DT – наружный диаметр тарельчатой пружины в свободном ненагруженном состоянии.
При обработке заготовка получает вращение Vз, а деформирующий инструмент для упрочнения – движение продольной подачи Sпр вдоль оси обрабатываемой заготовки. Во время ввода деформирующего инструмента в обрабатываемое отверстие деформирующие тарельчатые пружины 4 находятся в свободном состоянии и их наружный диаметр меньше внутреннего диаметра обрабатываемого отверстия; количество тарельчатых пружин 4 в пакете зависит от конкретных условий обработки и технических требований, предъявляемых к обрабатываемой поверхности, устанавливается экспериментально с учетом конструктивных особенностей. С целью уменьшения трения между торцами соседних тарельчатых пружин 4 могут быть установлены тонкие прокладки, например, из фторопласта (не показаны).
На крайнюю к бойку 2 тарельчатую пружину 4 воздействует боек 2, соединенный с механизмом импульсного нагружения (не показан) в виде гидравлического генератора импульсов [3-4].
Периодическую импульсную Рим нагрузку прикладывают в направлении продольной подачи и благодаря особенностям конструкции тарельчатых пружин направляют ее по нормали к обрабатываемой поверхности.
Периодическая импульсная нагрузка Рим должна быть больше суммарной силы, требуемой для деформации тарельчатых пружин и силы, необходимой для упрочнения. Отвод бойка после удара в первоначальное положение (согласно фиг.1-3, вправо) осуществляется за счет упругости тарельчатых пружин и возвращения их в первоначальное свободное состояние.
В результате удара бойка 2 по торцу пакета тарельчатых пружин последние воздействуют на обрабатываемую поверхность с цикличностью, задаваемой гидравлическим генератором импульсов. Возможность рационального использования энергии ударных волн определяется размерами инструмента.
Глубина упрочненного слоя обработанного предлагаемым деформирующим инструментом достигает 1,5 2,5 мм, что значительно (в 3 4 раза) больше, чем при традиционном статическом упрочнении. Наибольшая степень упрочнения составляет 15 30%. В результате импульсной обработки по сравнению с традиционным раскатыванием эффективная глубина слоя, упрочненного на 20% и более, возрастает в 1,8 2,7 раза, а глубина слоя, упрочненного на 10% и более, – в 1,7 2,2 раза.
Пример. Для оценки параметров качества поверхностного слоя, упрочненного предлагаемым деформирующим инструментом, проведены экспериментальные исследования обработки гильзы с использованием специального стенда. Значения технологических факторов (частоты ударов, величины подачи) выбирались таким образом, чтобы обеспечить кратность ударного воздействия на элементарную площадку обрабатываемой поверхности в диапазоне 6 10. Дальнейшее увеличение кратности деформирующего воздействия ведет к разупрочнению. Величина импульсной силы, действующей на инструмент, составляла Рим=255 400 кН. Заготовки из стали 40Х; исходная твердость «сырых» образцов – HV 270 280. Глубина упрочненного импульсной обработкой слоя в 3 4 раза выше, чем при традиционном раскатывании. Упрочненный слой при традиционном статическом раскатывании формируется в условиях длительного действия больших статических усилий. Предлагаемым деформирующим инструментом аналогичная глубина упрочненного слоя достигается в результате кратковременного воздействия на очаг деформации пролонгированного импульса энергии.
Исследования напряженного состояния упрочненного поверхностного слоя импульсной обработкой показали, что максимальные остаточные напряжения находятся близко к поверхности, как при чеканке, что благоприятно для большинства сопрягаемых деталей механизмов и машин. Сравнение глубины напряженного и упрочненного слоя, градиента напряжений и градиента наклепа показывает, что глубина напряженного слоя в 1,1 1,3 раза больше, чем глубина наклепанного слоя, что согласуется с теорией поверхностного пластического деформирования. Достигаемая в процессе обработки предельная величина шероховатости составляет Ra=0,08 мкм, возможно снижение исходной шероховатости в 4 раза.
Микровибрации в процессе обработки благоприятно сказываются на условиях работы инструмента – тарельчатых пружин. Наложение малого по амплитуде колебательного движения приводит к более равномерному распределению нагрузки на инструмент, вызывает дополнительные циклические перемещения контактных поверхностей инструмента и заготовки, облегчает формирование упрочняемой поверхности. Колебания способствуют лучшему проникновению смазочно-охлаждающей жидкости (СОЖ) в зону обработки. При наложении колебаний деформирующая поверхность инструмента периодически «отдыхает», что способствует увеличению ее стойкости. Обработка в условиях колебаний резко увеличивает эффективность охлаждающего, диспергирующего и пластифицирующего действия СОЖ вследствие облегчения ее доступа в зону контакта инструмента и заготовки.
Предлагаемый инструмент расширяет технологические возможности импульсной обработки поверхностным пластическим деформированием за счет управления глубиной упрочненного слоя и микрорельефом внутренней поверхности путем использования инструмента специальной формы с большим количеством деформирующих элементов, что позволяет увеличить производительность и снизить расходы на изготовление, благодаря простоте конструкции.
Источники информации
1. А.с. СССР 171293 А1, МКП В24В 39/02, 22.06.1965 – прототип.
2. Патент РФ 2283748, МКИ В24В 39/02. Степанов Ю.С., Киричек А.В., Соловьев Д.Л., Афанасьев Б.И., Фомин Д.С., Афонин А.Н., Самойлов Н.Н. Устройство для статико-импульсного раскатывания. 2005121091/02, 05.07.2005; 20.09.2006. Бюл. 26.
6. – С.20-24.
Формула изобретения
Деформирующий инструмент для импульсного упрочнения отверстий, содержащий собранные в пакет тарельчатые пружины, выполненные с торцевой конической поверхностью, радиальными пазами и центральным отверстием, шток, на котором расположены тарельчатые пружины с возможностью их продольного перемещения и изменения угла конуса их торцевой поверхности и боек, при этом тарельчатые пружины выполнены с возможностью восприятия импульсной нагрузки от бойка, прогиба на величину f, увеличения их диаметра и обеспечения направления импульсной нагрузки по нормали к обрабатываемой поверхности, отличающийся тем, что величина прогиба тарельчатых пружин f определена из следующего выражения: f=0,5(D3-2h-d)tg p-0,5(DT-d)tg CB, где D3 – диаметр обрабатываемого отверстия заготовки, мм; h – натяг при упрочнении, мм; d – диаметр отверстия тарельчатой пружины, мм;
р и СВ – угол конуса торцевой поверхности тарельчатой пружины соответственно в рабочем нагруженном и свободном состоянии, град.; DT – наружный диаметр тарельчатой пружины в свободном ненагруженном состоянии.
РИСУНКИ
|
|