|
(21), (22) Заявка: 2007145541/02, 10.12.2007
(24) Дата начала отсчета срока действия патента:
10.12.2007
(46) Опубликовано: 20.05.2009
(56) Список документов, цитированных в отчете о поиске:
SU 1586880 А1, 23.08.1990. SU 1258661 A1, 23.09.1986. SU 821101 А1, 15.04.1981. RU 22086 U1, 10.03.2002. JP 56136290 А, 24.10.1981.
Адрес для переписки:
121165, Москва, Г-165, а/я 15, ООО “ППФ-ЮСТИС”, пат.пов. Л.С. Пилишкиной, рег. 895
|
(72) Автор(ы):
Люшинский Анатолий Владимирович (RU), Чуклинов Сергей Владимирович (RU), Билык Андрей Викторович (RU), Константинов Виктор Вениаминович (RU), Соколов Юрий Алексеевич (RU), Джанджгава Гиви Ивлианович (RU)
(73) Патентообладатель(и):
Люшинский Анатолий Владимирович (RU)
|
(54) УСТАНОВКА ДЛЯ ДИФФУЗИОННОЙ СВАРКИ
(57) Реферат:
Изобретение относится к получению неразъемных соединений деталей и узлов из жаропрочных сплавов между собой и с другими сталями и сплавами и может быть использовано в авиационно-космической промышленности при изготовлении, прежде всего, ротора турбины газотурбинных двигателей, а также в газовой отрасли промышленности. Камера сварки имеет средства вакуумирования и создания давления. В рабочей вакуумной камере смонтированы средства для размещения свариваемых деталей и их перемещения в позицию сварки в виде четырех съемных рабочих столов, установленных на планшайбе с возможностью их вертикального перемещения с помощью штоков. Рабочая вакуумная камера имеет отверстия, к которым снаружи пристыкованы камера загрузки, камера сварки и камера выгрузки свариваемых деталей, расположенные над рабочими столами. Механизм вращения планшайбы и механизм вертикального перемещения штоков рабочих столов выполнены с возможностью поочередного совмещения столов с отверстиями рабочей вакуумной камеры. Установка снабжена системой контроля и управления процессом сварки. Технический результат заключается в обеспечении непрерывного цикла производства сварных деталей, точного регулирования сварочного давления для сведения к минимуму пластической деформации деталей с обеспечением прочностных свойств соединения при исключении изменений в структуре свариваемых материалов. 4 з.п. ф-лы, 1 ил.
Изобретение относится к оборудованию для получения неразъемных соединений деталей и узлов из жаропрочных сплавов между собой и с другими сталями и сплавами и может быть использовано в авиационно-космической промышленности при изготовлении, прежде всего, ротора турбины газотурбинных двигателей, а также в газовой отрасли промышленности.
Известны устройства для соединения материалов с применением технологии диффузионной сварки, содержащие в качестве основных узлов: корпус, вакуумную камеру, вакуумную систему, механизм сжатия, приборы контроля и управления (см. КАЗАКОВ Н.Ф. Диффузионная сварка материалов. – М.: Машиностроение, 1976, с.89-99). Установки могут быть однопозиционными и многопозиционными. Однако известные установки не позволяют регулировать давление сварки с необходимой точностью, что отрицательно сказывается на свойствах получаемых изделий.
Наиболее близким аналогом (прототипом) предлагаемого изобретения является установка для диффузионной сварки, содержащая камеру сварки, имеющую средства вакуумирования и создания давления, средства для размещения свариваемых деталей и их перемещения в позицию сварки – см. SU 1586880 А1, 23.08.1990.
Данное устройство обеспечивает снижение удельного сварочного давления, однако, не может обеспечить его точное регулирование, что особенно важно при сварке жаропрочных сплавов через промежуточную прокладку. Пластическая деформация деталей свыше 10% приводит к нарушению исходной структуры материалов, что требует последующей термомеханической обработки для придания деталям необходимых геометрических размеров и свойств.
Задачей предлагаемого изобретения является повышение качества соединений и производительности процесса диффузионной сварки.
Технический результат заключается в обеспечении непрерывного цикла производства сварных деталей, точного регулирования сварочного давления для сведения к минимуму пластической деформации деталей с обеспечением прочностных свойств соединения при исключении изменений в структуре свариваемых материалов.
Указанный технический результат достигается за счет того, что установка для диффузионной сварки, включающая камеру сварки, имеющую средства нагрева и создания сварочного давления, средство вакуумирования и средства для размещения свариваемых деталей и их перемещения в позицию сварки, дополнительно снабжена камерой загрузки и камерой выгрузки свариваемых деталей, рабочей вакуумной камерой, которая соединена со средством вакуумирования и в которой смонтированы средства для размещения свариваемых деталей и их перемещения в позицию сварки, выполненные в виде рабочих столов, установленных на планшайбе с возможностью их вращения совместно с планшайбой вокруг ее оси и вертикального перемещения с помощью штоков, при этом рабочая вакуумная камера имеет отверстия, к которым снаружи пристыкованы камера загрузки, камера сварки и камера выгрузки свариваемых деталей, расположенные над рабочими столами, при этом механизм вращения планшайбы и механизм вертикального перемещения штоков рабочих столов выполнены с возможностью поочередного совмещения столов с отверстиями рабочей вакуумной камеры.
Кроме того, камеры загрузки, сварки и выгрузки свариваемых деталей снабжены колпаками с возможностью вакуумирования подколпачного пространства.
Кроме того, установка имеет четыре рабочих стола, расположенных по окружности с центром на оси вращения и с интервалом 90 градусов, а камера загрузки и камера выгрузки расположены по той же окружности с центром на оси вращения с интервалами по 90 градусов по отношению к камере сварки.
Средство создания сварочного давления включает силовой упор с силоизмерительным устройством.
Кроме того, установка снабжена системой управления и контроля, включающей элементы регистрации и хранения данных о параметрах технологического процесса по отношению к конкретному изделию и обеспечивающих управление средствами нагрева, создания давления и вакуумирования.
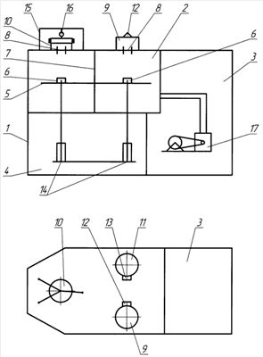
Принципиальная схема установки (вид сбоку и вид сверху) показана на чертеже.
Установка включает размещенную внутри силовой рамы 1 рабочую вакуумную камеру 2, со смонтированными в ней средствами для размещения свариваемых деталей и их перемещения в позицию сварки и соединенную со средством вакуумирования, камеру 3 для размещения системы вакуумирования и системы управления и контроля, камеру 4 для размещения механизмов перемещения свариваемых деталей. Планшайба 5 для размещения на ней четырех съемных рабочих столов 6, расположенных по окружности с центром на оси планшайбы и с интервалом 90 градусов, служащих для сборки деталей под сварку имеет возможность вращения относительно оси 7. Строго над рабочими столами 6 в камере 2 выполнены отверстия 8 для перемещения рабочих столов из камеры 2 в камеры загрузки 9, сварки 10 и выгрузки 11, пристыкованным снаружи к отверстиям 8 рабочей камеры 2. При этом камера 9 загрузки и камера 11 выгрузки свариваемых деталей расположены под углом 90 градусов относительно камеры 10 сварки. Камеры закрыты перемещающимися вертикально колпаками. Камеры загрузки 9 и выгрузки 11 имеют механизмы подъема 12 и опускания 13, соответственно. В камере 4 расположен механизм 14 перемещения штоков, механизм вращения планшайбы (не показан) и механизм приложения нагрузки (не показан), который выполняет две функции: перемещает рабочие столы в вертикальном направлении и обеспечивает передачу сварочного давления к деталям во время сварки. Снаружи камеры 10 сварки расположен силовой упор 15 средства создания сварочного давления, а также силоизмерительное устройство 16 для обеспечения контроля давления. В камере 10 сварки установлены средства нагрева и создания сварочного давления. В камере 3 размещены вакуумные насосы 17 системы вакуумирования.
Установка работает следующим образом.
При включении установки все рабочие столы 6 подняты вверх до полного соприкосновения с верхними отверстиями 8 рабочей камеры 2. При этом в камере начинают откачивать воздух для создания вакуума. Колпак камеры 9 загрузки поднят и на первый рабочий стол 6 устанавливают приспособление со свариваемыми деталями, после чего колпак опускают и производят откачку воздуха из-под колпака. Когда давление в рабочей камере 2 и камере 9 загрузки выровняется, первый рабочий стол 6 с деталями штоком опускают на планшайбу 5. Стол 6 фиксируется на планшайбе 5, а шток опускают ниже уровня планшайбы 5, чтобы не мешать ее вращению. Производят поворот планшайбы 5 на 90 градусов и переносят первый рабочий стол 6 с деталями под камеру 10 сварки. Вторым штоком поднимают первый рабочий стол 6 с деталями в зону сварки под нагреватели. Детали упираются в верхнюю крышку камеры 10 сварки, на которой снаружи установлено силоизмерительное устройство 16, контролирующее заданное сварочное давление. Специальное устройство ввода термопары обеспечивает ее касание с деталями для измерения и регулирования температуры в зоне сварки. Включают нагрев и начинают процесс сварки.
В то же время шток камеры 9 загрузки поднимает с планшайбы 5 второй рабочий стол 6 до полного касания его с отверстием рабочей камеры 2 таким образом, чтобы изолировать камеру 9 загрузки от внутреннего объема рабочей камеры 6. Поднимают колпак камеры 9 загрузки и на второй рабочий стол 6 устанавливают второе приспособление с собранными деталями под сварку. Колпак опускают и вакуумируют подколпачное пространство. Затем шток опускает второй рабочий стол 6 на планшайбу 5, а сам перемещается ниже ее уровня.
За время работы оператора в камере 9 загрузки по размещению деталей на втором рабочем столе 6 в камере 10 сварки прошел процесс сварки. Выключают нагрев, отводят термопару от деталей. Шток опускает первый рабочий стол 6 со сваренными деталями на планшайбу 5 и поворачивает ее на 90 градусов так, что первый рабочий стол 6 располагается над штоком, который перемещает его в камеру 11 охлаждения и выгрузки. Одновременно второй рабочий стол 6 поступает в камеру 10 сварки, где с ним повторяют те же операции, что и с первым рабочим столом 6.
Вместе с этим на шток под камеру 9 загрузки на планшайбе 5 поступает третий рабочий стол 6. Каждый из трех штоков занимает свою позицию. В камере 9 загрузки шток поднимает третий рабочий стол 6 и перекрывает доступ атмосферы в рабочую камеру 2. В камере 10 сварки шток поднимает второй рабочий стол 6 с деталями к нагревателям. В камере 11 выгрузки детали охлаждают в вакууме до комнатной температуры.
Таким образом, в камере 9 загрузки приступают к ее разгерметизации, подъему колпака и загрузке приспособления со следующей сборкой. В камере 10 сварки с деталями на втором рабочем столе 6 проводят диффузионную сварку. В камере 11 выгрузки после охлаждения деталей напускают воздух, поднимают колпак и извлекают сваренные детали. Колпак опускают, герметизируют подколпачное пространство, перемещают шток с первым рабочим столом 6 в нижнее положение.
В это же время в камере 9 загрузки опускают колпак, создают вакуум и шток с третьим рабочим столом 6 опускают на планшайбу 5. После проведения сварки деталей на втором сварочном столе 6 в камере 10 сварки выключают нагрев, отводят термопару, шток переносит стол 6 на планшайбу 5. Вращают планшайбу 5 на 90 градусов так, чтобы третий рабочий стол 6 с деталями под сварку попал в камеру 10 сварки, второй стол 6 из камеры 10 сварки – в камеру 11 выгрузки, а четвертый рабочий стол 6 – в камеру 9 загрузки для сборки новой партии деталей под сварку.
Описанные манипуляции всех механизмов и устройств выполняются в полном соответствии с программой, заложенной в промышленном компьютере, который является неотъемлемым элементом конструкции установки. Нужно отметить, что предусмотрена работа установки и в ручном режиме, что важно на этапе отработки режимов диффузионной сварки новых материалов и изделий.
Установка оснащена в полном объеме контролирующими приборами и устройствами, а именно:
– в пяти точках вакуумной системы осуществляется контроль наличия и поддержания вакуума;
– имеется силоизмерительное устройство для измерения и обеспечения заданного сварочного давления на свариваемые детали;
– термопара контролирует и обеспечивает поддержание заданной температуры в зоне сварки.
Измерение давления в различных точках вакуумной системы установки обеспечивает сертифицированный прибор “МЕТАКОН-562”.
Вакуумная система установки состоит из двух линий: низковакуумной и высоковакуумной.
Форвакуумный режим откачки обеспечивается механическим насосом типа АВЗ-20 и роторным насосом ДВН-150.
Высоковакуумный режим обеспечивается диффузионным паромасляным насосом НД-250 и механическим насосом НВР-5.
Две линии связаны между собой через клапан. Вакуумная система оснащена измерительными средствами давления типа ПМТ-2, а также автономной системой водяного охлаждения и контроля.
Терминал «ТВ-003/05 Д» обеспечивает измерение сжимающего усилия (преобразованием сигнала с тензодатчика в цифровой код), отображение результатов измерения, обмен информацией с программируемым контроллером.
Система управления (СУ) УДС-1, построенная по структуре PLC – PC, включает логический программируемый контроллер семейства DL-205 компании PCL Direct by Koyo Inc (нижний уровень) и персональный компьютер (верхний уровень).
СУ конструктивно состоит из следующих частей:
– шкафа силовой автоматики;
– шкафа управления нагревом, усилием сжатия и вакуумной откачкой;
– автоматизированного рабочего места оператора на базе персонального компьютера.
Функции распределены между контроллером и компьютером. Контроллер выполняют функции управления технологическим процессом, компьютер выполняет только терминальную задачу управления – ввод, редактирование и запись программ диффузионной сварки, визуализация состояния элементов технологического оборудования, хранение файлов истории технологического процесса, событий и ошибок.
Аппаратные средства СУ позволяют реализовать закон автоматического регулирования температурой с программируемым участком нарастания и спада температуры, усилия, поворота планшайбы.
Система управления во время работы производит регистрацию и хранение параметров технологического процесса с привязкой к конкретному изделию и реальному времени, контроль событий, ошибок и аварийных ситуаций с записью на электронный носитель с функциями «черного» ящика» посредством создания архивного файла, файла параметров нагрева, файла событий, файла ошибок.
Запись в архивный файл происходит с заданной периодичностью. Данные хранятся в формате EXCEL.
Файл содержит:
– данные о регистрации,
– текущую программу нагрева (если она загружена, в противном случае выводится надпись «управляющая программа не загружена!»),
– архивируемые данные (общее время и время от включения системы управления, вакуум, температура).
На основании файла архива, сохраненного в формате Excel, оператор имеет возможность построить графики основных технологических параметров для дальнейшего анализа рабочего цикла установки.
Запись в файл событий происходит в момент их происхождения: включение-выключение устройств, изменение вакуума на каждую степень, изменение температуры на каждые 100 градусов и т.д.
Файл событий содержит дату запуска программы, время события (общее время и время от включения установки) и его описание.
Запись в файл ошибок происходит в момент возникновения ошибки. В этот файл фиксируют дату, время, код и описание ошибки. Файл хранится в текстовом формате.
Оператор имеет возможность в реальном масштабе времени просмотреть график температуры или усилия. Обновление данных происходит с заданной периодичностью. Задание управляющих воздействий и ввод программируемых параметров технологического процесса осуществляется с помощью клавиш.
Таким образом, автоматизированное рабочее место оператора позволяет собирать и обрабатывать информацию о процессе сварки.
Полностью автоматическое управление сварочным циклом позволяет исключить влияние человеческого фактора на производственный процесс.
Представленная установка позволяет реализовать технологии диффузионной сварки самых различных материалов. Ее эксплуатация наиболее эффективна на серийных заводах, она позволяет повысить производительность по сравнению с ранее выпускавшимися установками в 2-3 раза.
Формула изобретения
1. Установка для диффузионной сварки, включающая камеру сварки, имеющую средства нагрева и создания сварочного давления, средство вакуумирования и средства для размещения свариваемых деталей и их перемещения в позицию сварки, отличающаяся тем, что она снабжена камерой загрузки и камерой выгрузки свариваемых деталей, рабочей вакуумной камерой, которая соединена со средством вакуумирования и в которой смонтированы средства для размещения свариваемых деталей и их перемещения в позицию сварки, выполненные в виде рабочих столов с возможностью их вращения вокруг вертикальной оси и вертикального перемещения с помощью штоков, при этом рабочая вакуумная камера имеет отверстия, к которым снаружи пристыкованы камера загрузки, камера сварки и камера выгрузки свариваемых деталей, расположенные над рабочими столами, при этом механизм вращения рабочих столов и механизм вертикального перемещения штоков рабочих столов выполнены с возможностью поочередного совмещения столов с отверстиями рабочей вакуумной камеры.
2. Установка по п.1, отличающаяся тем, что камеры загрузки, сварки и выгрузки свариваемых деталей снабжены колпаками с возможностью вакуумирования подколпачного пространства.
3. Установка по п.1, отличающаяся тем, что она имеет четыре рабочих стола, расположенных по окружности с центром на оси вращения и с интервалом 90°, а камера загрузки и камера выгрузки расположены по той же окружности с центром на оси вращения с интервалами по 90° по отношению к камере сварки.
4. Установка по п.1, отличающаяся тем, что средство создания сварочного давления включает силовой упор с силоизмерительным устройством.
5. Установка по п.1, отличающаяся тем, что она снабжена системой управления и контроля, включающей элементы регистрации и хранения данных о параметрах технологического процесса по отношению к конкретному изделию и обеспечивающие управление средствами нагрева, создания давления и вакуумирования.
РИСУНКИ
|